|
|
(21), (22) Заявка: 2008130090/28, 22.12.2006
(24) Дата начала отсчета срока действия патента:
22.12.2006
(30) Конвенционный приоритет:
22.12.2005 KR 10-2005-0128220 22.12.2005 KR 10-2005-0128229
(43) Дата публикации заявки: 27.01.2010
(46) Опубликовано: 10.06.2010
(56) Список документов, цитированных в отчете о поиске:
ЕР 0942274 А2, 15.09.1999. JP 2003177011 А, 27.06.2003. JP 2002156215 А, 31.05.2002. KR 100430026 В1, 21.04.2004. RU 2005108581 А, 10.09.2005.
(85) Дата перевода заявки PCT на национальную фазу:
22.07.2008
(86) Заявка PCT:
KR 2006/005652 20061222
(87) Публикация PCT:
WO 2007/073114 20070628
Адрес для переписки:
129090, Москва, ул.Б.Спасская, 25, стр.3, ООО “Юридическая фирма Городисский и Партнеры”, пат.пов Ю.Д.Кузнецову
|
(72) Автор(ы):
ЧАНГ Ки-тае (KR)
(73) Патентообладатель(и):
ДжиЭмДжи КО., ЛТД. (KR)
|
(54) УСТРОЙСТВО И ДАТЧИК ДЛЯ ИЗМЕРЕНИЯ ДЕФОРМАЦИИ ПОДЗЕМНОЙ ТРУБЫ
(57) Реферат:
Изобретение относится к устройству измерения деформации подземной трубы. Заявленное устройство измерения деформации подземной трубы содержит измерительный датчик, включающий в себя, по меньшей мере, одно оптическое волокно измерения смещения и, по меньшей мере, одно оптическое волокно измерения температуры, которые расположены под подземной трубой, скрытой под землей, в направлении подземной трубы. Также содержит измерительный модуль, включающий в себя генератор-источник света, присоединенный к одному концу, по меньшей мере, одного оптического волокна измерения смещения и к одному концу, по меньшей мере, одного оптического волокна измерения температуры, предназначенный для излучения света, анализатор измерения деформации для измерения длины волны светового излучения, отраженного, по меньшей мере, от одного оптического волокна измерения смещения в реальном времени, предназначенный для анализа изменения, по меньшей мере, одного оптического волокна измерения смещения, и анализатор измерения температуры для измерения длины волны светового излучения, отраженного, по меньшей мере, от одного оптического волокна измерения температуры в реальном времени, предназначенный для анализа изменения, по меньшей мере, одного оптического волокна измерения температуры. Технический результат – способность быстро анализировать на земле деформацию подземной трубы и утечку из нее по секциям, не повреждая внешнюю часть подземной трубы, посредством использования измерительного датчика. 2 н. и 13 з.п. ф-лы, 12 ил.
ОБЛАСТЬ ИЗОБРЕТЕНИЯ
Настоящее изобретение относится к устройству измерения деформации подземной трубы, к способу установки и использования указанного устройства и к измерительному датчику, используемому в таком устройстве, и, более конкретно, к устройству измерения деформации подземной трубы, которое способно осуществлять быстрое измерение деформации подземной трубы на земле, не повреждая подземную трубу, к способу установки и использования упомянутого устройства и к измерительному датчику, используемому в таком устройстве.
УРОВЕНЬ ТЕХНИКИ
В основном, подземные трубы используются для доставки флюидов. Подземные трубы классифицируются в зависимости от типов используемых флюидов, которые они переносят. Например, подземные трубы могут классифицироваться на коммерческие трубы, такие как водопровод и канализация, относящиеся к жизнеобеспечению, и промышленные трубы, такие как нефтепроводы, используемые для доставки нефти, связанные с промышленностью трубы и трубы для доставки химических веществ.
Когда происходит утечка из подземной трубы или когда в подземной трубе возникают трещины, требуется замена или ремонт подземной трубы. Однако подземная труба скрыта под землей, в результате чего очень трудно подтвердить утечку из подземной трубы или трещины в подземной трубе.
Чтобы решить вышеупомянутую проблему, были разработаны устройства для измерения деформации подземной трубы или повреждения подземной трубы без наблюдения невооруженным глазом. Их пример раскрыт в KR 339634, озаглавленном “A measuring method and apparatus using an optical fiber”, который был зарегистрирован на имя заявителя настоящего патентного описания и зарегистрирован как патент.
Конкретно, известный способ измерения отличается тем, что оптическое волокно, которое проявляет изменение проходящего света в зависимости от деформации трубы, интегрально прикреплено к трубе по всей длине трубы вдоль областей, где оптическое волокно не контактирует с флюидом, текущим по трубе, и свет, проходящий по оптическому волокну, отражается от конечной точки оптического волокна. Следовательно, известный способ измерения способен измерять величину деформации трубы, основываясь на отраженном свете.
Также, известное устройство измерения включает в себя оптическое волокно, интегрально прикрепленное к трубе по всей длине трубы вдоль областей, где оптическое волокно не контактирует с флюидом, текущим по трубе, оптическое волокно, отражающее свет от его конечной точки, генератор-источник света для излучения света на начальную точку оптического волокна и измерительный модуль для приема света, отраженного от конечной точки оптического волокна. Следовательно, известный способ измерения может измерять величину деформации трубы, основываясь на отраженном свете.
Таким образом, используя вышеописанные способ и устройство, можно измерять деформацию подземной трубы или повреждения под землей без наблюдения невооруженным глазом.
Однако, при изготовлении трубы, на которую наматывается оптическое волокно, необходимо формировать спиралевидную канавку вдоль внешней поверхности трубы по всей длине трубы и надежно размещать оптическое волокно в канавках. В противном случае необходимо применять клеящее вещество, например эпоксидную смолу, к внешней поверхности трубы и наматывать оптическое волокно на трубу. В результате такую трубу очень трудно изготавливать.
В частности, при изготовлении трубы, с формированием спиралевидной канавки на трубе и размещением оптического волокна в канавке, как описано выше, большая часть стоимости и трудозатрат требуется в процессе формирования на трубе спиралевидной канавки.
Кроме того, когда на трубе формируется канавка вдоль внешней поверхности трубы, суммарная прочность трубы уменьшается, в результате чего трубу легко повредить.
С другой стороны, когда трубу изготавливают посредством нанесения клеящего вещества, как, например, эпоксидной смолы, на внешнюю поверхность трубы и посредством наматывания оптического волокна на трубу, большая часть стоимости и трудозатрат необходимы в процессе нанесения клеящего вещества на внешнюю поверхность трубы и наматывания оптического волокна на трубу.
СУЩНОСТЬ ИЗОБРЕТЕНИЯ
Таким образом, настоящее изобретение было выполнено, принимая во внимание вышеупомянутые проблемы, и задача настоящего изобретения состоит в том, чтобы обеспечить устройство измерения деформации подземной трубы, которое способно быстро анализировать на земле деформацию подземной трубы и утечку из подземной трубы, не повреждая внешнюю часть подземной трубы, посредством использования измерительного датчика, расположенного под подземной трубой, для измерения деформации и температуры подземной трубы, тем самым делая шаг для предотвращения повреждения подземной трубы и измерительного датчика, используемого в упомянутом устройстве.
Другой аспект настоящего изобретения заключается в обеспечении устройства измерения деформации подземной трубы, которое способно точно анализировать деформацию подземной трубы и утечку из подземной трубы по секциям, и измерительного датчика, используемого в упомянутом устройстве.
Согласно одному аспекту настоящего изобретения вышеупомянутые и другие задачи могут быть выполнены, обеспечивая устройство измерения деформации подземной трубы, содержащее: измерительный датчик, включающий в себя, по меньшей мере, одно оптическое волокно измерения смещения и, по меньшей мере, одно оптическое волокно измерения температуры, которые расположены под подземной трубой, скрытой под землей, в направлении подземной трубы; и измерительный модуль, включающий в себя генератор-источник света, присоединенный к одному концу, по меньшей мере, одного оптического волокна измерения смещения и к одному концу, по меньшей мере, одного оптического волокна измерения температуры, предназначенный для излучения света; анализатор измерения деформации для измерения длины волны света, отраженного, по меньшей мере, от одного оптического волокна измерения смещения в реальном масштабе времени, предназначенный для анализа изменения, по меньшей мере, одного оптического волокна измерения смещения, тем самым анализируя деформацию подземной трубы; и анализатор измерения температуры для измерения длины волны света, отраженного, по меньшей мере, от одного оптического волокна измерения температуры в реальном масштабе времени, предназначенный для анализа изменения, по меньшей мере, одного оптического волокна измерения температуры, тем самым анализируя утечку из подземной трубы.
Согласно другому аспекту настоящего изобретения обеспечивается измерительный датчик, расположенный под подземной трубой, скрытой под землей, предназначенный для измерения деформации подземной трубы через измерительный модуль, измерительный датчик, содержащий: по меньшей мере, одно оптическое волокно измерения смещения и, по меньшей мере, одно оптическое волокно измерения температуры, которые расположены под подземной трубой, скрытой под землей, в направлении подземной трубы; и ленточный кожух, имеющий множество вставных отверстий, в которые вставляются, по меньшей мере, одно оптическое волокно измерения смещения и, по меньшей мере, одно оптическое волокно измерения температуры.
КРАТКОЕ ОПИСАНИЕ ЧЕРТЕЖЕЙ
В дальнейшем изобретение поясняется описанием конкретных вариантов его осуществления со ссылками на сопровождающие чертежи, на которых:
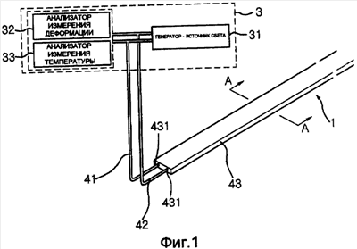
фиг.1 – перспективный вид, иллюстрирующий конструкцию устройства измерения деформации подземной трубы в целом согласно первому предпочтительному варианту осуществления настоящего изобретения;
фиг.2 – вид в разрезе, взятом вдоль линии A-A фиг.1;
фиг.3 – вид в поперечном разрезе, иллюстрирующий скрытое под землей устройство измерения согласно первому предпочтительному варианту осуществления настоящего изобретения;
фиг.4 – вид в разрезе, взятом вдоль линии B-B фиг.3;
фиг.5 – вид в поперечном разрезе, иллюстрирующий модификацию скрытого под землей устройства измерения согласно первому предпочтительному варианту осуществления настоящего изобретения;
фиг.6 – вид в разрезе, взятом вдоль линии C-C фиг.5;
фиг.7 – перспективный вид, иллюстрирующий целую конструкцию устройства измерения деформации подземной трубы согласно второму предпочтительному варианту осуществления настоящего изобретения;
фиг.8 – вид в разрезе, взятом вдоль линии D-D фиг.7;
фиг.9 – вид в поперечном разрезе, иллюстрирующий скрытое под землей устройство измерения согласно второму предпочтительному варианту осуществления настоящего изобретения;
фиг.10 – вид в разрезе, взятом вдоль линии E-E фиг.9;
фиг.11 – вид в поперечном разрезе, иллюстрирующий модификацию скрытого под землей устройства измерения, согласно второму предпочтительному варианту осуществления настоящего изобретения; и
фиг.12 – вид в разрезе, взятом вдоль линии F-F фиг.11.
ПОДРОБНОЕ ОПИСАНИЕ ПРЕДПОЧТИТЕЛЬНЫХ ВАРИАНТОВ ОСУЩЕСТВЛЕНИЯ
Далее будут описаны предпочтительные варианты осуществления изобретения со ссылками на сопровождающие чертежи.
Фиг.1 – перспективный вид, иллюстрирующий конструкцию устройства измерения деформации подземной трубы в целом согласно первому предпочтительному варианту осуществления настоящего изобретения, фиг.2 – вид в разрезе, взятом вдоль линии A-A фиг.1, фиг.3 – вид в поперечном разрезе, иллюстрирующий скрытое под землей устройство измерения согласно первому предпочтительному варианту осуществления настоящего изобретения, и фиг.4 – вид в разрезе, взятом вдоль линии B-B фиг.3.
Устройство измерения деформации подземной трубы согласно первому предпочтительному варианту осуществления настоящего изобретения содержит измерительный датчик 4, включающий в себя, по меньшей мере, одно оптическое волокно 41 измерения смещения и, по меньшей мере, оптическое волокно 42 измерения температуры, которые расположены под подземной трубой 1, скрытой под землей, в направлении подземной трубы 1; и измерительный модуль 3, подсоединенный к одному концу оптического волокна 41 измерения смещения и к одному концу оптического волокна 42 измерения температуры, предназначенный для излучения света для измерения длины волны света, отраженного от оптического волокна 41 измерения смещения и от оптического волокна 42 измерения температуры в реальном масштабе времени, и для проведения анализа изменения оптического волокна 41 измерения смещения и оптического волокна 42 измерения температуры, чтобы анализировать деформацию подземной трубы 1 и утечку из подземной трубы 1.
Измерительный датчик 4 дополнительно включает в себя ленточный кожух 43, имеющий множество вставных отверстий 431, в которые вставляются оптическое волокно 41 измерения смещения и оптическое волокно 42 измерения температуры, которые расположены под подземной трубой 1, скрытой под землей, в направлении подземной трубы 1.
Ленточный кожух 43, который входит в состав измерительного датчика 4, изготавливается из материала, форма которого может изменяться, когда подземная труба 1 деформируется.
Оптическое волокно 41 измерения смещения и оптическое волокно 42 измерения температуры представляют собой оптические волокна, предназначенные для связи, сконфигурированные так, что когда световое излучение на некоторой длине волны направлено на один конец каждого оптического волокна, световое излучение отражается от другого конца каждого оптического волокна.
Измерительный модуль 3 включает в себя генератор-источник 31 света, присоединенный к одному концу оптического волокна 41 измерения смещения и к одному концу оптического волокна 42 измерения температуры, предназначенный для излучения света; анализатор 32 измерения деформации для измерения длины волны света, отраженного от оптического волокна 41 измерения смещения в реальном масштабе времени, предназначенный для анализа изменения оптического волокна 41 измерения смещения, тем самым анализируя деформацию подземной трубы 1; и анализатор 33 измерения температуры для измерения длины волны света, отраженного от оптического волокна 42 измерения температуры в реальном масштабе времени, предназначенный для анализа изменения оптического волокна 42 измерения температуры, анализируя, тем самым, утечку из подземной трубы 1.
То есть измерительный модуль 3 конструируется так, что длина волны света, отраженного от оптического волокна 41 измерения смещения и вводимого в него, анализируется, чтобы анализировать изменение оптического волокна 41 измерения смещения, тем самым анализируя деформацию подземной трубы 1, и длина волны света, отраженного от оптического волокна 42 измерения температуры и вводимого в него, анализируется, чтобы анализировать изменение оптического волокна 42 измерения температуры, тем самым анализируя утечку из подземной трубы 1.
Далее здесь будет подробно описываться измерительный модуль вышеописанной конструкции.
Генератор-источник 31 света измерительного модуля 3 конструируется, чтобы излучать свет на один конец оптического волокна 41 измерения смещения и на один конец оптического волокна 42 измерения температуры. Хорошо известно несколько видов генераторов-источников света.
Анализатор 32 измерения деформации измерительного модуля 3 анализирует длину волны света, отраженного от оптического волокна 41 измерения смещения и вводимого в анализатор 32 измерения деформации, чтобы анализировать изменение оптического волокна 41 измерения смещения, тем самым анализируя деформацию подземной трубы 1. Также, анализатор 33 измерения температуры измерительного модуля 3 анализирует длину волны света, отраженного от оптического волокна 42 измерения температуры и вводимого в анализатор 33 измерения температуры, чтобы анализировать изменение оптического волокна 42 измерения температуры.
Далее здесь будет описываться процесс установки устройства измерения деформации подземной трубы с вышеизложенной конструкцией согласно первому предпочтительному варианту осуществления настоящего изобретения и работа установленного устройства измерения деформации подземной трубы.
При установке устройства измерения деформации подземной трубы согласно настоящему изобретению выполняется подземное углубление, в котором должна быть скрыта подземная труба 1, и затем оптическое волокно 41 измерения смещения и оптическое волокно 42 измерения температуры, подсоединенные к измерительному модулю 3, располагаются в нижней части подземного углубления, как показано на фиг.1-4. Впоследствии подземное углубление частично заполняется грунтом так, чтобы оптическое волокно 41 измерения смещения и оптическое волокно 42 измерения температуры были покрыты грунтом, и затем подземную трубу кладут на грунт, покрывающий оптическое волокно 41 измерения смещения и оптическое волокно 42 измерения температуры, на этом заканчивая процесс установки устройства измерения деформации подземной трубы согласно настоящему изобретению.
Устройство измерения деформации подземной трубы работает следующим образом. Когда земля оседает по внешним причинам, и, следовательно, подземная труба 1 двигается вниз, оптическое волокно 41 измерения смещения, расположенное под подземной трубой 1, деформируется, как показано на фиг.1-4.
В результате положение длины волны светового излучения, отраженного от оптического волокна 41 измерения смещения, изменяется, и изменение положения длины волны отраженного светового излучения анализируется анализатором 32 измерения деформации, входящим в состав измерительного модуля 3, чтобы быстро подтвердить деформацию подземной трубы 1.
Следовательно, можно быстро подтверждать деформацию подземной трубы 1 на начальной стадии, на которой деформируется подземная труба 1, тем самым делая шаг для предотвращения повреждения подземной трубы 1.
Кроме того, когда часть подземной трубы 1 повреждается из-за внутреннего давления или осадки земли, и, следовательно, происходит утечка из подземной трубы 1, температура оптического волокна 42 измерения температуры, расположенного под подземной трубой 1, изменяется из-за утечки, как показано на фиг.1-4.
В результате амплитуда светового излучения на некоторой длине волны, отраженного от оптического волокна 42 измерения температуры, изменяется, и изменение амплитуды отраженного светового излучения на некоторой длине волны анализируется анализатором 33 измерения температуры, входящим в состав измерительного модуля 3, чтобы быстро подтвердить утечку из подземной трубы 1.
Следовательно, можно быстро подтверждать утечку из подземной трубы 1 на начальной стадии, на которой возникает утечка из подземной трубы 1, тем самым минимизируя распространение утечки из подземной трубы 1.
Фиг.5 – вид в поперечном разрезе, иллюстрирующий модификацию скрытого под землей устройства измерения согласно первому предпочтительному варианту осуществления настоящего изобретения, и фиг.6 – вид в разрезе, взятом вдоль линии C-C фиг.5.
Модификация устройства измерения согласно указанному предпочтительному варианту осуществления настоящего изобретения включает в себя такие же компоненты, как устройство измерения согласно первому предпочтительному варианту осуществления настоящего изобретения. Кроме того, на ленточном кожухе 43 расположен нагревательный провод 35 над вставным отверстием 431, в которое вставляется оптическое волокно 42 измерения температуры, тогда как нагревательный провод 35 находится в плотном контакте с ленточным кожухом 43, и измерительный модуль 3 дополнительно включает в себя источник 34 питания для подачи энергии на нагревательный провод 35 для повышения температуры оптического волокна 42 измерения температуры.
Когда температура оптического волокна повышается, среда оптического волокна изменяется. При анализе сигнала, отраженного в это время, ширина вариации температуры увеличивается. Следовательно, при повышении температуры оптического волокна 42 измерения температуры амплитуда отраженного светового излучения на некоторой длине волны увеличивается. В результате, когда возникает утечка из подземной трубы, следовательно, температура оптического волокна понижается или повышается, ширина вариации температуры оптического волокна изменяется по сравнению с окружающей средой.
Следовательно, можно точно анализировать утечку из подземной трубы, основываясь на изменении температуры оптического волокна 42 измерения температуры.
Фиг.7 – перспективный вид, иллюстрирующий целую конструкцию устройства измерения деформации подземной трубы согласно второму предпочтительному варианту осуществления настоящего изобретения, фиг.8 – вид в разрезе, взятом вдоль линии D-D фиг.7, фиг.9 – вид в поперечном разрезе, иллюстрирующий скрытое под землей устройство измерения согласно второму предпочтительному варианту осуществления настоящего изобретения, и фиг.10 – вид в разрезе, взятом вдоль линии E-E фиг.9.
Устройство измерения деформации подземной трубы согласно второму предпочтительному варианту осуществления настоящего изобретения содержит измерительный датчик 4, включающий в себя, по меньшей мере, одно оптическое волокно 41 измерения смещения и, по меньшей мере, оптическое волокно 42 измерения температуры, которые расположены под подземной трубой 1, скрытой под землей, в направлении подземной трубы 1; и измерительный модуль 3, подсоединенный к одному концу оптического волокна 41 измерения смещения и к одному концу оптического волокна 42 измерения температуры, предназначенный для излучения света для измерения длины волны света, отраженного от оптического волокна 41 измерения смещения и от оптического волокна 42 измерения температуры в реальном масштабе времени, и для проведения анализа изменения оптического волокна 41 измерения смещения и оптического волокна 42 измерения температуры, чтобы анализировать деформацию подземной трубы 1 и утечку из подземной трубы 1.
Измерительный датчик 4 согласно второму предпочтительному варианту осуществления настоящего изобретения идентичен по конструкции измерительному датчику 4 согласно предыдущему варианту осуществления настоящего изобретения, за исключением оптического волокна 41 измерения смещения и оптического волокна 42 измерения температуры.
В частности, оптическое волокно 41 измерения смещения и оптическое волокно 42 измерения температуры являются оптическими волокнами распределенного типа (решетчатого типа), сконструированными так, что когда множество излучений, имеющих различные частоты, направлены на один конец каждого оптического волокна, излучения отражаются по секциям.
Измерительный модуль 3 включает в себя генератор-источник 31 света, присоединенный к одному концу оптического волокна 41 измерения смещения и к одному концу оптического волокна 42 измерения температуры, предназначенный для излучения света, имеющего различные частоты; анализатор 32 измерения деформации для измерения длин волн секционных излучений, отраженных от оптического волокна 41 измерения смещения в реальном масштабе времени, предназначенный для анализа изменения оптического волокна 41 измерения смещения, тем самым анализируя деформацию подземной трубы 1; и анализатор 33 измерения температуры для измерения длин волн секционных излучений, отраженных от оптического волокна 42 измерения температуры в реальном масштабе времени, предназначенный для анализа изменения оптического волокна 42 измерения температуры, тем самым анализируя утечку из подземной трубы 1.
Также, по меньшей мере, одно оптическое волокно 41 измерения смещения содержит множество оптических волокон 41 измерения смещения. В этом случае измерительный датчик 4 дополнительно включает в себя ленточный кожух 43, имеющий множество вставных отверстий 431, в которые вставляются оптические волокна 41 измерения смещения и оптическое волокно 42 измерения температуры. Вставные отверстия 431, в которые вставляются оптические волокна 41 измерения смещения, имеют различные диаметры, так что оптические волокна 41 измерения смещения могут линейно вставляться в соответствующие вставные отверстия 431 с различными длинами измерительных секций.
В частности, измерительный модуль 3 конструируется так, что длины волн излучений, имеющих различные частоты, излучаемых на соответствующие оптические волокна 41 измерения смещения, отраженных по секциям от соответствующих оптических волокон 41 измерения смещения и вводимых в него, анализируются, чтобы анализировать изменение по секциям соответствующих оптических волокон 41 измерения смещения, тем самым анализируя деформацию по секциям подземной трубы 1. Измерительный модуль 3 конструируется так, что длины волн излучений, отраженных по секциям, по меньшей мере, от одного оптического волокна 42 измерения температуры и вводимых в него, анализируются, чтобы анализировать изменение по секциям оптического волокна 42 измерения температуры, тем самым анализируя утечку из подземной трубы 1.
Далее здесь будет подробно описываться измерительный модуль с вышеизложенной конструкцией.
Генератор-источник 31 света измерительного модуля 3 конструируется, чтобы излучать множество излучений, имеющих различные частоты, на соответствующие оптические волокна 41 измерения смещения, и чтобы излучать множество излучений, имеющих различные частоты, на один конец, по меньшей мере, одного оптического волокна 42 измерения температуры. Хорошо известно несколько видов генераторов-источников света.
Анализатор 32 измерения деформации измерительного модуля 3 анализирует длины волн излучений, имеющих различные частоты, отраженных по секциям от соответствующих оптических волокон 41 измерения смещения и вводимых в анализатор 32 измерения деформации, чтобы анализировать изменение по секциям соответствующих оптических волокон 41 измерения смещения, тем самым анализируя деформацию подземной трубы 1. Также анализатор 33 измерения температуры измерительного модуля 3 анализирует длины волн излучений, имеющих различные частоты, отраженных, по меньшей мере, от одного оптического волокна 42 измерения температуры и вводимых в анализатор 33 измерения температуры, чтобы анализировать изменение по секциям оптического волокна 42 измерения температуры.
Далее здесь будет описываться процесс установки устройства измерения деформации подземной трубы с вышеизложенной конструкцией согласно второму предпочтительному варианту осуществления настоящего изобретения и работа установленного устройства измерения деформации подземной трубы.
При установке устройства измерения деформации подземной трубы согласно настоящему изобретению выполняется подземное углубление, в котором должна быть скрыта подземная труба 1, и затем оптические волокна 41 измерения смещения и оптическое волокно 42 измерения температуры, подсоединенные к измерительному модулю 3, располагаются в нижней части подземного углубления, как показано на фиг.7-10. Впоследствии подземное углубление частично заполняется грунтом так, чтобы оптические волокна 41 измерения смещения и оптическое волокно 42 измерения температуры были покрыты грунтом, и затем подземную трубу 1 кладут на грунт, покрывающий оптические волокна 41 измерения смещения и оптическое волокно 42 измерения температуры, на этом заканчивая процесс установки устройства измерения деформации подземной трубы согласно настоящему изобретению.
Установленное устройство измерения деформации подземной трубы согласно второму предпочтительному варианту осуществления настоящего изобретения работает следующим образом. Когда грунт оседает по внешним причинам, и, следовательно, подземная труба 1 двигается вниз, оптические волокна 41 измерения смещения решетчатого типа, расположенные под подземной трубой 1, деформируются, как показано на фиг.7-10.
В результате положения длин волн излучений, отраженных по секциям от оптических волокон 41 измерения смещения, изменяются, и изменения положений длин волн, отраженных по секциям излучений, анализируются анализатором 32 измерения деформации, входящим в состав измерительного модуля 3, чтобы быстро подтвердить изменения по секциям соответствующих оптических волокон 41 измерения смещения.
Следовательно, можно быстро подтверждать деформацию по секциям подземной трубы 1 на начальной стадии, на которой деформируется подземная труба 1, тем самым предотвращая повреждение подземной трубы 1.
Кроме того, когда часть подземной трубы 1 повреждается вследствие внутреннего давления или осадки грунта, и, следовательно, происходит утечка из подземной трубы 1, температура, по меньшей мере, одного оптического волокна 42 измерения температуры, расположенного под подземной трубой 1, изменяется из-за утечки, как показано на фиг.7-10.
В результате амплитуды световых излучений на некоторых длинах волн, отраженных по секциям от оптического волокна 42 измерения температуры распределенного типа, изменяются, и изменения амплитуд отраженных световых излучений на некоторых длинах волн анализируются анализатором 33 измерения температуры, входящим в состав измерительного модуля 3, чтобы быстро подтвердить утечку из подземной трубы 1.
Следовательно, можно быстро подтверждать утечку из подземной трубы 1 на начальной стадии, на которой возникает утечка из подземной трубы 1, тем самым минимизируя распространение утечки из подземной трубы 1.
Между тем, когда оптические волокна 41 измерения смещения распределенного типа линейно вставляются в соответствующие вставные отверстия 431, имеющие различные размеры, сформированные в ленточном кожухе 43, как показано на фиг.7 и 8, происходит следующее явление.
В случае, когда оптическое волокно 41 измерения смещения распределенного типа вводится во вставное отверстие 431 малого диаметра, контакт между оптическим волокном 41 измерения смещения распределенного типа и внутренней поверхностью вставного отверстия 431 увеличивается, даже когда ленточный кожух 43 слегка изогнут, в результате чего оптическое волокно 41 измерения смещения распределенного типа слегка изогнуто в каждой секции.
С другой стороны, в случае, когда оптическое волокно 41 измерения смещения распределенного типа вставляется во вставное отверстие 431 большого диаметра, оптическое волокно 41 измерения смещения распределенного типа не входит в контакт с внутренней поверхностью вставного отверстия 431, когда ленточный кожух 43 слегка изогнут. Оптическое волокно 41 измерения смещения распределенного типа деформируется, только когда ленточный кожух 43 сильно изогнут.
Следовательно, когда расстояние между внутренними поверхностями вставных отверстий и соответствующими оптическими волокнами 41 измерения смещения распределенного типа изменяется, возможно измерять начальное смещение (до точки перелома оптического волокна) подземной трубы посредством изменений длин волн по секциям оптического волокна 41 измерения смещения распределенного типа, вставленного во вставное отверстие 431 малого диаметра. Также можно измерять смещение подземной трубы вне диапазона измерения оптического волокна 41 измерения смещения распределенного типа, вставленного во вставное отверстие 431 малого диаметра, посредством изменений длин волн по секциям оптического волокна 41 измерения смещения распределенного типа, вставленного во вставное отверстие большого диаметра, тем самым измеряя большую деформацию подземной трубы 1 и, таким образом, более точно измеряя деформацию подземной трубы 1.
Фиг.11 – вид в поперечном разрезе, иллюстрирующий модификацию скрытого под землей устройства измерения согласно второму предпочтительному варианту осуществления настоящего изобретения, и фиг.12 – вид в разрезе, взятом вдоль линии F-F фиг.11.
Модификация устройства измерения согласно упомянутому предпочтительному варианту осуществления настоящего изобретения включает в себя такие же компоненты, как устройство измерения согласно второму предпочтительному варианту осуществления настоящего изобретения. Кроме того, на ленточном кожухе 43 расположен нагревательный провод 35 над вставным отверстием 431, в которое вставляется, по меньшей мере, одно оптическое волокно 42 измерения температуры решетчатого типа, тогда как нагревательный провод 35 находится в плотном контакте с ленточным кожухом 43, и измерительный модуль 3 дополнительно включает в себя источник 34 питания для подачи энергии на нагревательный провод 35 для повышения температуры оптического волокна 42 измерения температуры.
Когда температура оптического волокна повышается, среда оптического волокна изменяется. При анализе сигнала, отраженного в это время, ширина вариации температуры увеличивается. Следовательно, при повышении температуры оптического волокна 42 измерения температуры амплитуда отраженного светового излучения на некоторой длине волны увеличивается. В результате, когда возникает утечка из подземной трубы, температура оптического волокна понижается или повышается, ширина вариации температуры оптического волокна изменяется по сравнению с окружающей средой.
Следовательно, можно точно анализировать утечку из подземной трубы, основываясь на изменении температуры оптического волокна 42 измерения температуры.
Как очевидно из вышеприведенного описания, настоящее изобретение способно быстро, на земле, анализировать деформацию подземной трубы и утечку из подземной трубы, не повреждая внешнюю поверхность подземной трубы и таким образом предотвращая уменьшение прочности подземной трубы. Следовательно, настоящее изобретение направлено на предотвращение возникновения катастрофы вследствие деформации подземной трубы и утечки из подземной трубы.
Более того, настоящее изобретение способно точно анализировать деформацию подземной трубы и утечку из подземной трубы по секциям. Следовательно, настоящее изобретение имеет эффект минимизации времени, необходимого для ремонта подземной трубы.
Формула изобретения
1. Устройство измерения деформации подземной трубы, содержащее: измерительный датчик, включающий в себя, по меньшей мере, одно оптическое волокно измерения смещения и, по меньшей мере, одно оптическое волокно измерения температуры, которые расположены под подземной трубой, скрытой под землей, в направлении подземной трубы; и измерительный модуль, включающий в себя генератор-источник света, присоединенный к одному концу, по меньшей мере, одного оптического волокна измерения смещения и к одному концу, по меньшей мере, одного оптического волокна измерения температуры, предназначенный для излучения света; анализатор измерения деформации для измерения длины волны светового излучения, отраженного, по меньшей мере, от одного оптического волокна измерения смещения в реальном времени, предназначенный для анализа изменения, по меньшей мере, одного оптического волокна измерения смещения, тем самым анализируя деформацию подземной трубы; и анализатор измерения температуры для измерения длины волны светового излучения, отраженного, по меньшей мере, от одного оптического волокна измерения температуры в реальном времени, предназначенный для анализа изменения, по меньшей мере, одного оптического волокна измерения температуры, тем самым анализируя утечку из подземной трубы.
2. Устройство измерения по п.1, в котором, по меньшей мере, одно оптическое волокно измерения смещения и, по меньшей мере, одно оптическое волокно измерения температуры представляют, собой оптические волокна, предназначенные для связи, выполненные так, что когда световое излучение направлено на один конец каждого оптического волокна, световое излучение на некоторой длине волны отражается от другого конца каждого оптического волокна.
3. Устройство измерения по п.2, в котором измерительный датчик дополнительно включает в себя ленточный кожух, имеющий множество вставных отверстий, в которые вставляются, по меньшей мере, одно оптическое волокно измерения смещения и, по меньшей мере, одно оптическое волокно измерения температуры.
4. Устройство измерения по п.2 или 3, в котором измерительный модуль анализирует длину волны светового излучения, отраженного, по меньшей мере, от одного оптического волокна измерения смещения и вводимого в него, чтобы анализировать деформацию подземной трубы, и измерительный модуль анализирует длину волны светового излучения, отраженного, по меньшей мере, от одного оптического волокна измерения температуры и вводимого в него, чтобы анализировать утечку из подземной трубы.
5. Устройство измерения по п.4, дополнительно содержащее: нагревательный провод, расположенный на ленточном кожухе над вставным отверстием, в которое вставляется, по меньшей мере, одно оптическое волокно измерения температуры, тогда как нагревательный провод находится в плотном контакте с ленточным кожухом; и включенный в измерительный модуль источник питания для подачи энергии на нагревательный провод для повышения температуры по меньшей мере одного оптического волокна измерения температуры.
6. Устройство измерения по п.1, в котором, по меньшей мере, одно оптическое волокно измерения смещения и, по меньшей мере, одно оптическое волокно измерения температуры являются оптическими волокнами, сконструированными так, что когда множество световых излучений, имеющих различные частоты, светят на один конец каждого оптического волокна, световые излучения отражаются секциями соответствующего оптического волокна.
7. Устройство измерения по п.6, в котором, по меньшей мере, одно оптическое волокно измерения смещения содержит множество оптических волокон измерения смещения, измерительный датчик дополнительно включает в себя ленточный кожух, имеющий множество вставных отверстий, в которые вставляются множество оптических волокон измерения смещения и, по меньшей мере, одно оптическое волокно измерения температуры, и вставные отверстия, в которые вставляются оптические волокна измерения смещения, имеют различные диаметры, так что оптические волокна измерения смещения могут линейно вставляться в соответствующие вставные отверстия с различными длинами измерительных секций.
8. Устройство измерения по п.6 или 7, в котором измерительный модуль анализирует длины волн излучений, имеющих различные частоты, излучаемых на соответствующие оптические волокна измерения смещения, отраженных по секциям от ‘соответствующих оптических волокон измерения смещения и вводимых в него, чтобы анализировать по секциям деформацию подземной трубы, и измерительный модуль анализирует длины волн излучений, отраженных по секциям, по меньшей мере, от одного оптического волокна измерения температуры и вводимых в него, чтобы анализировать по секциям утечку из подземной трубы.
9. Устройство измерения по п.8, дополнительно содержащее: нагревательный провод, расположенный на ленточном кожухе над вставным отверстием, в которое вставляется, по меньшей мере, одно оптическое волокно измерения температуры, тогда как нагревательный провод находится в плотном контакте с ленточным кожухом; и источник питания, включенный в измерительный модуль для подачи энергии на нагревательный провод для повышения температуры, по меньшей мере, одного оптического волокна измерения температуры.
10. Измерительный датчик, расположенный под подземной трубой, скрытой под землей, предназначенный для измерения деформации подземной трубы через измерительный модуль, содержащий: по меньшей мере, одно оптическое волокно измерения смещения и, по меньшей мере, одно оптическое волокно измерения температуры, которые расположены под подземной трубой, скрытой под землей, в направлении подземной трубы; и ленточный кожух, имеющий множество вставных отверстий, в которые вставляются, по меньшей мере, одно оптическое волокно измерения смещения и, по меньшей мере, одно оптическое волокно измерения температуры.
11. Измерительный датчик по п.10, в котором, по меньшей мере, одно оптическое волокно измерения смещения и, по меньшей мере, одно оптическое волокно измерения температуры представляют собой оптические волокна, предназначенные для связи, выполненные так, что когда световое излучение направлено на один конец каждого оптического волокна, световое излучение на некоторой длине волны отражается от другого конца каждого оптического волокна.
12. Измерительный датчик по п.10, дополнительно содержащий: нагревательный провод, расположенный на ленточном кожухе над вставным отверстием, в которое вставляется, по меньшей мере, одно оптическое волокно измерения температуры, тогда как нагревательный провод находится в плотном контакте с ленточным кожухом, причем нагревательный провод выделяет тепло, когда на нагревательный провод подается питание.
13. Измерительный датчик по п.10, в котором, по меньшей мере, одно оптическое волокно измерения смещения и, по меньшей мере, одно оптическое волокно измерения температуры являются оптическими волокнами, сконструированными так, что когда множество световых излучений, имеющих различные частоты, светят на один конец каждого оптического волокна, световые излучения отражаются секциями.
14. Измерительный датчик по п.13, в котором, по меньшей мере, одно оптическое волокно измерения смещения содержит множество оптических волокон измерения смещения, измерительный датчик дополнительно включает в себя ленточный кожух, имеющий множество вставных отверстий, в которые вставляются множество оптических волокон измерения смещения и, по меньшей мере, одно оптическое волокно измерения температуры, и вставные отверстия, в которые вставляются оптические волокна измерения смещения, имеют различные диаметры, так что оптические волокна измерения смещения могут линейно вставляться в соответствующие вставные отверстия с различными длинами измерительных секций.
15. Измерительный датчик по п.14, дополнительно содержащий: нагревательный провод, расположенный на ленточном кожухе над вставным отверстием, в которое вставляется, по меньшей мере, одно оптическое волокно измерения температуры, тогда как нагревательный провод находится в плотном контакте с ленточным кожухом, причем нагревательный провод выделяет тепло, когда на нагревательный провод подается питание.
РИСУНКИ
|
|