|
| На основании пункта 1 статьи 1366 части четвертой Гражданского кодекса Российской Федерации патентообладатель обязуется заключить договор об отчуждении патента на условиях, соответствующих установившейся практике, с любым гражданином Российской Федерации или российским юридическим лицом, кто первым изъявил такое желание и уведомил об этом патентообладателя и федеральный орган исполнительной власти по интеллектуальной собственности. |
|
(21), (22) Заявка: 2009109542/06, 16.03.2009
(24) Дата начала отсчета срока действия патента:
16.03.2009
(46) Опубликовано: 10.06.2010
(56) Список документов, цитированных в отчете о поиске:
RU 2275563 C1, 27.04.2006. RU 2338978 C2, 20.11.2008. RU 2185726 C1, 27.07.2002. RU 25785 U1, 20.10.2002.
Адрес для переписки:
390044, г.Рязань, ул. Вишневая, 29, кв.32, Д.Е. Каширину
|
(72) Автор(ы):
Каширин Дмитрий Евгеньевич (RU)
(73) Патентообладатель(и):
Каширин Дмитрий Евгеньевич (RU)
|
(54) УСТАНОВКА ДЛЯ СУШКИ ПЕРГИ
(57) Реферат:
Изобретение относится к сельскому хозяйству, в частности к устройствам для сушки перги. Установка для сушки перги содержит расположенный в корпусе сушильный канал с сетчатыми полками, вентиляторами и датчиками температуры и влажности, электронный блок управления и воздухопровод, подсоединяемый своим входом по направлению воздушного потока к выходу сушильного канала, а выходом к его входу. Воздухопровод размещен внутри корпуса и разделен с сушильным каналом перегородкой, сетчатые полки, выполненные в виде противней, устанавливаемых в корпус, снабжены вибровозбудителями, при этом каждый противень включает две, расположенные одна в другой, подпружиненные между собой рамки, на внутренней из которых установлен вибровозбудитель. Кроме того, сушильная камера дополнительно снабжена, по крайней мере, одним внедряемым в продукт датчиком температуры, установленным на растягивающемся в длину кабеле. Сушильная установка позволяет сушить пергу, находящуюся в сотах на рамках, в отделенных от рамок кусках перговых сотов или в виде россыпи гранул, имеет сниженное энергопотребление и возможности применения осциллирующих режимов сушки. 2 з.п. ф-лы, 5 ил.
Изобретение относится к сельскому хозяйству, в частности к устройствам для сушки перги.
Известна установка для сушки перги в сотах, содержащая сушильный канал, образованный горизонтально расположенным воздуховодом и вертикально расположенными один над другим корпусами ульев, электрокалорифер, вентилятор и терморегулятор (1).
Недостатком данной сушильной установки являются значительные потери энергии при сушке перги, так как энергия затрачивается на разогревание атмосферного воздуха, который после однократного взаимодействия с высушиваемым продуктом выбрасывается в атмосферу разогретым и практически сухим, а также отсутствие возможности санирования продукта и невозможность сушить пергу в виде гранул и куски сотов, отделенные от рамок.
Известна установка для сушки перги в сотах, содержащая сушильный канал с электрокалорифером и вентилятором, расположенными в потоке воздуха, воздуховоды, вентиляторы создающие поток атмосферного воздуха, датчики температуры и влажности, связанные с блоком управления (2).
Недостатком данной сушильной установки является высокая энергоемкость процесса сушки, возникающая вследствие потери части теплоносителя при прохождении его через атмосферный воздух, а также невозможность осуществлять сушку перги в виде гранул или находящуюся в соторамках, отсутствие возможностей регулирования режимов сушки и обеззараживания продукта.
Задача, на решение которой направлено изобретение, заключается в создании установки, позволяющей сушить пергу, находящуюся в соторамках, в отделенных от рамок кусках перговых сотов или в виде россыпи гранул, а также в снижении энергоемкости процесса сушки и возможности использования различных режимов работы сушильной установки.
Технический результат от использования изобретения заключается в сокращении потерь теплоносителя благодаря исключению его прохождения через атмосферный воздух, возможности размещения в сушильной камере как соторамок, так и противней, снабженных вибровозбудителями, позволяющих сушить гранулы перги россыпью или в кусках перговых сотов, и возможности применения осциллирующих режимов сушки.
Технический результат достигается тем, что в установке для сушки перги, содержащей расположенный в корпусе сушильный канал с сетчатыми полками, вентиляторами и датчиками температуры и влажности, электронный блок управления и воздухопровод, подсоединяемый своим входом по направлению воздушного потока к выходу сушильного канала, а выходом – к его входу, воздухопровод размещен внутри корпуса и разделен с сушильным каналом перегородкой, сетчатые полки, выполненные в виде противней, устанавливаемых в корпус, снабжены вибровозбудителями, при этом каждый противень включает две, расположенные одна в другой, подпружиненные между собой рамки, на внутренней из которых установлен вибровозбудитель. Кроме того, сушильная камера дополнительно снабжена, по крайней мере, одним внедряемым в продукт датчиком температуры, установленным на растягивающемся в длину кабеле.
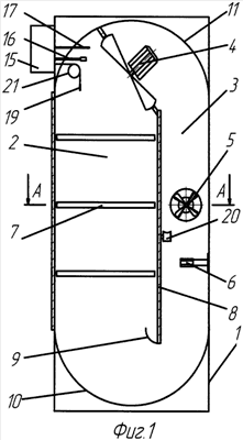
На фиг.1 изображена установка для сушки перги, поперечный разрез, вида сбоку, на фиг.2 – вид спереди, на фиг.3 – разрез вида сверху, на фиг.4 – представлен противень, вид сбоку, на фиг.5 – противень, вид сверху.
Установка состоит из корпуса 1, внутренний объем которого посредством перегородки 8, установленного под углом к горизонту вентилятора 4 и направляющих воздушного потока 9, 10, 11 разделен на сушильную камеру 2 и обратный воздухопровод 3. Сушильная камера представляет собой вертикально расположенный воздушный канал, на боковых стенках которого изнутри поярустно размещены направляющие планки 7. Передняя стенка сушильной камеры выполнена в виде двери 18, снабженной замками 14 и ручкой 13. Обратный воздухопровод представляет собой воздушный канал, на боковых стенках которого в отверстиях установлены вентиляторы 5, 12. Внутри канала установлен ТЭН 6 и озонатор 20. В сушильной камере размещены воздушные датчики влажности 17, температуры 16 и внедряемый в продукт датчик температуры 19, снабженный растягивающимся в длину кабелем 21.
Противень, используемый в установке, состоит из внешней рамки 25 и внутренней рамки 23, которые соединены между собой пружинными подвесами 26. Внутренняя рамка имеет сетчатое дно 22, в середине которого закреплен электрический вибровозбудитель 24. Электронный блок управления 15, связанный с датчиками и вибровозбудителями, установлен на внешней части корпуса.
Рабочий процесс происходит следующим образом. Подготовленный к сушке продукт помещают в установку для сушки перги. Для этого соторамки с пергой располагают на направляющих планках 7 сушильной камеры 2 на расстоянии 30…40 мм друг от друга на каждом ярусе. При сушке перги в виде гранул, или кусков перговых сотов, отделенных от рамок, продукт размещают на противнях, которые вместо соторамок закрепляют на направляющих планках. После чего дверь 18 закрывают и обеспечивают ее плотное прилегание посредствам замков 14. Выбирают необходимую программу сушки в блоке управления 15 и включают его в работу, при этом вентилятор 4 создает воздушный поток, который устремляется вниз по воздухопроводу 3 в зону действия ТЭНа 6, где разогревается и поступает в сушильную камеру 2. Циркуляцию теплоносителя внутри сушильной установки обеспечивают направляющие воздушного потока 9, 10, 11. В процессе сушки влага из продукта испаряется, а температура, утрачиваемая теплоносителем, поддерживается благодаря датчику температуры 16, замыкающему и размыкающему цепь питания ТЭНа. Периодически, когда влажность теплоносителя достигает запрограммированных значений, контролируемых датчиком влажности 17, блок управления отключает ТЭН 6 и включает вентиляторы 5 и 12, при этом атмосферный воздух вентилятором 5 подается в воздухопровод, а влажный теплоноситель удаляется из воздухопровода вентилятором 12. По окончанию продувки электронный блок управления отключает вентиляторы 5, 12 и опять вводит в работу ТЭН 6. Сушка прекращается при достижении влажности перги 13-14%, после чего, при необходимости, проводят озонирование. Для этого продукт охлаждают до температуры атмосферного воздуха посредствам продолжительной продувки сушильной камеры и включают в работу электрический озонатор 20 и вентилятор 4, при этом ТЭН 6 и вентиляторы 5 и 12 остаются выключенными. Воздух, циркулирующий в сушильной камере, обогащаемый озоном, санирует продукт в течение 35-40 минут, после чего озонатор отключают, проводят окончательную продувку атмосферным воздухом и извлекают содержимое из сушильной установки. Санирование перги озоном исключает ее порчу при хранении (3).
При использовании для сушки противней на протяжении всей сушки через каждые 5-15 минут, в зависимости от заданной посредствам блока управления программы, на 5-10 секунд включается электрический вибровозбудитель 24. Создаваемая вибрация распространяется на сетчатое дно 22 рамки 23, при этом благодаря пружинному подвесу 26 рамка 25 остается плотно закрепленной в стенках корпуса установки. Гранулы перги и куски сотов, находящиеся на вибрирующем дне, меняют свое месторасположение, что препятствует их слипанию и способствует более равномерному контакту с теплоносителем.
Для избавления сотов от заражения восковой молью используются осциллирующие режимы сушки (4, 5). Для их выполнения необходимо, чтобы температура теплоносителя достигала 50-60°С, а температура перги внутри ячеек сота не превышала 42°С (4, 5). Для этого перед сушкой продукта в осциллирующем режиме кабель 22 растягивают на требуемую длину и внедряют датчик 19 в любую перговую гранулу, по возможности находящуюся в центре соторамки. Посредством блока управления задают требуемую программу сушки, которая проходит по вышеописанной схеме с той разницей, что теплоноситель разогревается до температуры 50-60°С, а продувка атмосферным воздухом производится при разогревании гранул перги до 42°С. По завершению сушки датчик аккуратно извлекают и возвращают на штатное место.
Источники информации
1. Свидетельство на ПМ 25785, МПК 7 F26B 9/02, 2002.
2. Патент на изобретение 2275563, МПК 7 F26B 3/04; F26B 21/04, 2004.
3. Патент на изобретение 2140169, МПК A 23L1/076; А61К 35/64, 1999.
4. Бронников В.И. и др. Осциллирующий режим сушки перговых сотов и установка для его исследования. Совершенствование средств механизации и мобильной энергетики в сельском хозяйстве: Сб. науч. тр. 11-ой научно-практической конференции ВУЗов Поволжья и Юго-Нечерноземной зоны Российской Федерации. – Рязань, 2000. – С.321-322.
5. Патент на изобретение 2185726, МПК А01К 59/00, 2002.
Формула изобретения
1. Установка для сушки перги, содержащая расположенный в корпусе сушильный канал с сетчатыми полками, вентиляторами и датчиками температуры и влажности, электронный блок управления и воздухопровод, подсоединяемый своим входом по направлению воздушного потока к выходу сушильного канала, а выходом к его входу, отличающаяся тем, что воздухопровод размещен внутри корпуса и разделен с сушильным каналом перегородкой, сетчатые полки, выполненные в виде противней, устанавливаемых в корпус, снабжены вибровозбудителями.
2. Установка по п.1, отличающаяся тем, что каждый противень включает две расположенные одна в другой подпружиненные между собой рамки, на внутренней из которых установлен вибровозбудитель.
3. Установка по п.1, отличающаяся тем, что сушильная камера дополнительно снабжена, по крайней мере, одним внедряемым в продукт датчиком температуры, установленным на растягивающемся в длину кабеле.
РИСУНКИ
|
|