|
|
(21), (22) Заявка: 2008141174/06, 16.10.2008
(24) Дата начала отсчета срока действия патента:
16.10.2008
(46) Опубликовано: 10.06.2010
(56) Список документов, цитированных в отчете о поиске:
RU 2079057 C1, 10.05.1997. RU 2258871 C1, 20.08.2005. RU 2280817 C2, 27.07.2006. US 5301518 A, 12.04.1994. FR 2544841 A1, 26.10.1984.
Адрес для переписки:
300004, г.Тула, Щегловская засека, 33, ФГУП “ГНПП “Сплав”, патентный отдел
|
(72) Автор(ы):
Макаровец Николай Александрович (RU), Кобылин Рудольф Анатольевич (RU), Костин Владимир Евгеньевич (RU), Зайцев Виктор Дмитриевич (RU), Барычева Тамара Петровна (RU), Анохин Виктор Александрович (RU), Анохин Валерий Викторович (RU)
(73) Патентообладатель(и):
Федеральное Государственное унитарное предприятие “Государственное научно-производственное предприятие “Сплав” (RU)
|
(54) УСТРОЙСТВО КОСВЕННО-ИСПАРИТЕЛЬНОГО ОХЛАЖДЕНИЯ ВОЗДУХА
(57) Реферат:
Устройство предназначено для охлаждения воздуха в помещениях жилого и производственного назначения, в метрополитене. Установка содержит корпус с поддоном и патрубками для подвода общего и отвода основного и вспомогательного потоков воздуха, подпитывающий узел с магнитным умягчителем воды, выполненным в виде двух узлов магнитной обработки воды, и пакет теплообменных пластин из влагонепроницаемого и капиллярно-пористого материала. Каждый из узлов магнитной обработки воды содержит цилиндрический ферромагнитный корпус с магнитным стержнем и турбулизатор, выполненный в виде усеченного конуса. По сигналу датчика минимального уровня воды, подключенного к блоку управления, через узел магнитной обработки воды, расположенный на линии подачи воды, в резервуар подпитывающего узла поступает вода. Насыщенную кислородом воду из резервуара через насос и второй узел магнитной обработки воды направляют в поддон для смачивания капиллярно-пористых пластин. Поток воздуха проходит через эти пластины и охлаждается испаряемой водой. Устройство обеспечивает повышение скорости испаряемости воды, тем самым повышается его холодопроизводительность, надежность и сокращаются эксплуатационные затраты. 3 ил.
Изобретение относится к технике кондиционирования, вентиляции и охлаждения воздуха в помещениях жилого и производственного назначения, метрополитене.
Конструкция устройств косвенно-испарительного охлаждения воздуха, в которых для охлаждения потока воздуха используется эффект испарения воды с поверхности капиллярно-пористых пластин, для обеспечения стабильности холодопроизводительности устройства в процессе эксплуатации и увеличения ресурса его работы должна исключать возможность отложения солей жесткости воды в капиллярах и порах пластин, приводящей к их облитерации, а также на рабочих поверхностях узлов и элементов.
Известно устройство для косвенно-испарительного охлаждения воздуха (см. патент РФ 2258871, МПК F24F 3/14, опубл. 20.08.2005, бюл. 23), содержащее корпус с поддоном, размещенные в корпусе пластины из капиллярно-пористого и водонепроницаемого материалов, образующие открытые с обоих торцов сухие и закрытые с входного торца мокрые каналы. Капиллярно-пористые пластины выполнены из проницаемого магнитного материала, состоящего из связующей клеевой основы и пространственно ориентированных частиц ферромагнитного наполнителя, имеющих высокие теплопроводность, коррозионную устойчивость и намагничиваемость.
Такая конструкция устройства за счет умягчения воды, проходящей по капиллярам, воздействием на нее магнитного поля, создаваемого ферромагнитными частицами, введенными в качестве наполнителя в капиллярно-пористые пластины, при котором диполи воды и ионы солей переходят в возбужденное энергетическое состояние, препятствующее отложению солей жесткости, позволяет уменьшить интенсивность засоления пор и капилляров, но не обеспечивает этого процесса по всей высоте пластин из-за малого времени воздействия магнитного поля на воду в верхней части пластин и его малой напряженности, а также не исключает отложения солей жесткости на поверхности поддона и устройств, подводящих к нему воду.
Наиболее близким по технической сути и достигаемому техническому результату является устройство для косвенно-испарительного охлаждения воздуха (см. патент РФ 2079057, МПК F24F 3/14, опубл. 10.05.1997, бюл. 13), принятое авторами за прототип.
Известное устройство для косвенно-испарительного охлаждения воздуха содержит корпус с поддоном и патрубками для подвода и отвода основного и вспомогательного потоков воздуха, пластины из капиллярно-пористого и водонепроницаемого материалов, размещенные в корпусе, подпитывающий узел с магнитным умягчителем воды, выполненный в виде емкости с размещенным на ее поверхности умягчителем воды, и блок управления. Емкость посредством капиллярного отверстия и трубки сообщается с поддоном.
К недостаткам этого устройства следует отнести то, что не удается полностью исключить процесс отложения солей жесткости воды в капиллярах, в поддоне и подпитывающей емкости из-за низкой эффективности магнитной обработки воды, обусловленной низкой скоростью прохождения воды в магнитном поле умягчителя воды, расположенного на поверхности емкости подпитывающего узла, недостаточной напряженности магнитного поля во всем объеме воды, находящейся в емкости, и отсутствием в ней достаточного количества растворенного кислорода, что является необходимым условием эффективной обработки воды в магнитном поле, влияющим на процесс отложения солей жесткости.
Задачей предлагаемого изобретения является повышение холодопроизводительности, надежности и ресурса работы узлов и агрегатов, снижение времени и материальных затрат на их техническое обслуживание.
Указанный технический результат достигается тем, что устройство содержит корпус с поддоном и патрубками для подвода и отвода основного и вспомогательного потоков воздуха, пакет теплообменных пластин из влагонепроницаемого и капиллярно-пористого материала, размещенный в корпусе, блок управления, подпитывающий узел с магнитным умягчителем воды, выполненный в виде открытого резервуара с датчиками минимального и максимального уровня воды, установленного под поддоном и сообщающегося через соленоидный клапан с линией подачи воды, а через отсасывающий насос – с поддоном, в боковой стенке которого образован горизонтальный паз на уровне смачивания пластин из капиллярно-пористого материала, магнитный умягчитель воды выполнен в виде двух независимых функционально узлов магнитной обработки воды, один из которых размещен перед соленоидным клапаном, а второй – после отсасывающего насоса, причем датчики минимального и максимального уровня воды и соленоидный клапан соединены с блоком управления.
За счет выполнения емкости подпитывающего узла в виде резервуара открытого типа, обеспечивающего постоянный контакт водной поверхности с воздухом, размещения ее под поддоном, выполнения в поддоне горизонтального паза на уровне смачивания капиллярно-пористых пластин и подачи воды из нее в поддон, достигается постоянный уровень воды в поддоне, исключается необходимость применения автоматической системы поддержания уровня воды в поддоне, а ее постоянный слив по воздуху в открытый резервуар обеспечивает повышение концентрации в ней кислорода, улучшающего эффективность магнитной обработки в узле магнитной обработки, размещенном после отсасывающего насоса, улучшается процесс капиллярного подъема воды в капиллярно-пористых пластинах, что увеличивает холодопроизводительность установки.
За счет размещения узла магнитной обработки воды перед соленоидным клапаном исключается отложение солей жесткости в соленоидном клапане, в резервуаре и отсасывающем насосе, что повышает ресурс работы установки и снижает затраты на техническое обслуживание.
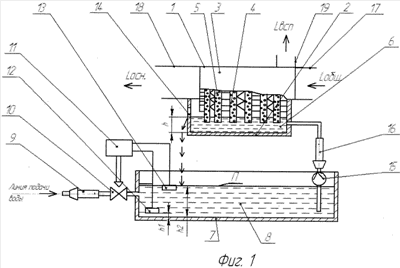
Сущность предлагаемого изобретения поясняется чертежами, где на фиг.1 изображена схема установки косвенно-испарительного охлаждения воздуха, на фиг.2 приведена зависимость высоты hв капиллярного подъема воды из капиллярно-пористого материала 5 от времени для воды без магнитной обработки (график 1) и для воды после магнитной обработки (график 2), на фиг.3 показана зависимость максимальной высоты hв max подъема воды в пластинах из капиллярно-пористого материала 5 от эффективности магнитной обработки воды Э=Rуд м/Rуд, где Rуд и Rуд м – удельное электрическое сопротивление воды до и после магнитной обработки соответственно.
Устройство косвенно-испарительного охлаждения воздуха содержит корпус 1 с поддоном 2, пакет 3 теплообменных пластин из влагонепроницаемого материала 4 и капиллярно-пористого материала 5. Поддон 2 заполнен водой 6. Подпитывающий узел выполнен в виде открытого резервуара 7, заполненнного водой 8, с узлом магнитной обработки 9 воды и с соленоидным клапаном 10. Блок управления 11 соединен с датчиком минимального уровня воды 12, с датчиком максимального уровня воды 13 и с соленоидным клапаном 10. В поддоне 2 образован горизонтальный паз 14. Через насос 15 и узел магнитной обработки 16 воды подпитывающий узел сообщается с поддоном 2. Корпус 1 снабжен патрубками 17, 18 и 19 для подвода общего Lобщ и отвода основного Lосн и вспомогательного Lвсп. потоков воздуха соответственно, расстояние от дна поддона 2 до уровня смачивания капиллярно-пористых пластин – h, минимальный уровень воды в резервуаре 7 – h1 максимальный уровень воды в резервуаре 7 – h2; поверхность воды в резервуаре, соприкасающаяся с воздухом – П, подаваемый поток воздуха – Lобщ, поток охлажденного воздуха – Lосн., вспомогательный поток воздуха – Lвсп..
Устройство работает следующим образом.
По сигналу датчика минимального уровня воды 12, поступающему на вход блока управления 11, открывается соленоидный клапан 10, и вода через узел магнитной обработки воды 9, например, типа «МПВ MWS» ТУ 3697-001-47091406-2000 и через соленоидный клапан 10 поступает в резервуар 7. При достижении водой 8 максимального уровня h2 соленоидный клапан 10 по сигналу датчика максимального уровня 13 закрывается, прекращая поступление воды в резервуар 7. Вода 8, подвергнутая магнитной обработке в узле 9, контактирует поверхностью П с окружающим воздухом и насыщается кислородом. Вода 8 отсасывающим насосом 15 через второй узел магнитной обработки воды 16 подается в поддон 2, где, достигнув уровня h смачивания капиллярно-пористых пластин 5, через горизонтальный паз 14 в стенке поддона 2 переливается в резервуар 7, дополнительно насыщаясь кислородом вследствие контакта с окружающим воздухом. Вода 6, поднимаясь по капиллярам капиллярно-пористых пластин 5, смачивает их и испаряется с поверхности. В корпус 1 подают поток охлаждаемого воздуха Lобщ., где, проходя через влажные каналы, вспомогательный поток воздуха Lвсп. охлаждается испаряемой водой и, соприкасаясь со стенками сухих каналов из влагонепроницаемого материала 4, охлаждает основной поток воздуха и выталкивается в атмосферу. Основной поток охлажденного воздуха Lосн. поступает потребителю.
Выполнение устройства косвенно-испарительного охлаждения воздуха в соответствии с изобретением позволило за счет повышения скорости капиллярного подъема воды в пластинах капиллярно-пористого материала и ее испаряемости (что обеспечено магнитной обработкой воды и насыщением ее кислородом) повысить холодопроизводительность устройства, за счет исключения отложения солей жесткости в капиллярно-пористом материале и на поверхности элементов устройства, увеличить надежность системы, сократить эксплуатационные затраты.
Формула изобретения
Устройство косвенно-испарительного охлаждения воздуха, содержащее корпус с поддоном и патрубками для подвода и отвода основного и вспомогательного потоков воздуха, пакет теплообменных пластин из влагонепроницаемого и капиллярно-пористого материала, размещенный в корпусе, подпитывающий узел с магнитным умягчителем воды, сообщающийся с поддоном корпуса, и блок управления, отличающееся тем, что подпитывающий узел выполнен в виде открытого резервуара с датчиками минимального и максимального уровня воды, установленного под поддоном и сообщающегося через соленоидный клапан с линией подачи воды, а через отсасывающий насос – с поддоном, в боковой стенке которого образован горизонтальный паз на уровне смачивания пластин из капиллярно-пористого материала, магнитный умягчитель воды выполнен в виде двух независимых функционально узлов магнитной обработки воды, один из которых размещен перед соленоидным клапаном, а второй – после отсасывающего насоса, причем датчики минимального и максимального уровня воды, соленоидный клапан соединены с блоком управления.
РИСУНКИ
|
|