|
|
(21), (22) Заявка: 2008122312/06, 03.06.2008
(24) Дата начала отсчета срока действия патента:
03.06.2008
(43) Дата публикации заявки: 10.12.2009
(46) Опубликовано: 10.06.2010
(56) Список документов, цитированных в отчете о поиске:
SU 240154 А, 23.09.1985. SU 1682720 А2, 07.10.1991. SU 1467319 А1, 23.03.1989. DE 29522177 U1, 14.09.2000.
Адрес для переписки:
660073, г.Красноярск, а/я 2484, Л.Т. Жуковой
|
(72) Автор(ы):
Ярыгин Леонид Анатольевич (RU), Ермаков Игорь Германович (RU)
(73) Патентообладатель(и):
Ярыгин Леонид Анатольевич (RU), Ермаков Игорь Германович (RU)
|
(54) ГАЗОВАЯ ГОРЕЛКА
(57) Реферат:
Изобретение относится к устройствам для сжигания низкокалорийных газов. Газовая горелка включает корпус, газовое сопло с насадкой в передней части, трубку для подвода компрессорного воздуха, установленную на оси газового сопла, механизм для перемещения трубки подвода компрессорного воздуха и механизм для перемещения сопла в корпусе горелки, газовое сопло выполнено из жестко соединенных цилиндрического патрубка и конфузора, на трубке для подвода компрессорного воздуха перед насадкой горелки жестко закреплены четыре направляющие пластины прямоугольной формы, две пластины – вертикально, а две – горизонтально, а в конце трубки установлено сопло в виде конфузора с цилиндрической насадкой, механизм перемещения трубки подвода компрессорного воздуха выполнен в виде шарового соединения, состоящего из усеченного цельнометаллического шара со сквозным отверстием и полой полусферы с отверстием в центре, причем шар по сквозному отверстию жестко соединен с трубкой, а полусфера жестко соединена с цилиндрическим патрубком и с его боковым отверстием, отверстия полусферы и цилиндрического патрубка соосны, соединение шара и полусферы выполнено посредством фланца, жестко закрепленного на усеченной части шара, четырех шпилек, жестко закрепленных на цилиндрическом патрубке газового сопла, и гаек, механизм перемещения газового сопла выполнен в виде шарового соединения, состоящего из полого сквозного усеченного шара и полой полусферы с отверстием в центре, причем шар усеченной частью жестко и соосно соединен с корпусом, полусфера жестко и соосно соединена с цилиндрическим патрубком газового сопла, соединение шара с полусферой выполнено при помощи двух фланцев, один из которых жестко закреплен на корпусе, а другой фланец – на цилиндрическом патрубке газового сопла, фланцы соединены между собой при помощи болтов и гаек. Технический результат использования газовой горелки заключается в возможности полного сжигания низкокалорийных газов с предварительным и тонким регулированием длины и ориентации факела в теплотехническом аппарате и с тепловой производительностью, необходимыми, например, для сушки, прокалки и обжига различных материалов, простота конструкции обеспечивает повышенную надежность горелки в эксплуатации, а конструктивно обусловленное наличие газовоздушной смеси только в насадке горелки обеспечивает взрывобезопасность горелки. 4 ил.
Изобретение относится к устройствам для сжигания низкокалорийных газов.
Наиболее близким техническим решением является газовая горелка для сжигания природного газа, включающая корпус, газовое сопло с резьбовой нарезкой в средней части и сменной насадкой, установленной в передней части сопла, трубку для подвода компрессорного воздуха с резьбовой нарезкой на конце, расположенную по оси газового сопла и имеющую возможность перемещаться как совместно с газовым соплом, так и самостоятельно – вдоль оси сопла, механизм для перемещения трубки подвода компрессорного воздуха и механизм для перемещения газового сопла в корпусе горелки (Авт. свид. СССР 240154, М.кл. F23D 14/00, 1966 г.).
Недостатками известного устройства являются невозможность сжигания низкокалорийного газа с требуемыми тепловой производительностью и длиной факела, отсутствие возможности оперативного регулирования длины и ориентации факела в теплотехническом аппарате, необходимость одновременного использования вентиляторного и компрессорного воздуха, а также опасность возникновения взрыва газовоздушной смеси в объеме газового сопла.
Задачей предлагаемого изобретения является создание газовой горелки для сжигания низкокалорийных газов с высокой надежностью в эксплуатации и взрывобезопасности, с использованием только одного компрессорного воздуха, с требуемой тепловой производительностью и оперативно регулируемыми длиной факела и ориентацией его внутри теплотехнического аппарата.
Поставленная задача достигается тем, что в газовой горелке, включающей корпус, газовое сопло с насадкой в передней части, трубку для подвода компрессорного воздуха, установленную на оси газового сопла, механизм для перемещения трубки подвода компрессорного воздуха и механизм для перемещения сопла в корпусе горелки, новым является то, что газовое сопло выполнено из жестко соединенных цилиндрического патрубка и конфузора, на трубке для подвода компрессорного воздуха перед насадкой горелки жестко закреплены четыре направляющие пластины прямоугольной формы, две пластины – вертикально, а две – горизонтально, в конце трубки установлено сопло в виде конфузора с цилиндрической насадкой, механизм перемещения трубки подвода компрессорного воздуха выполнен в виде шарового соединения, состоящего из усеченного цельнометаллического шара со сквозным отверстием и полой полусферой с отверстием в центре, причем шар по сквозному отверстию жестко соединен с трубкой, а полусфера жестко соединена с цилиндрическим патрубком и с его боковым отверстием, отверстия полусферы и цилиндрического патрубка соосны, соединение шара и полусферы выполнено посредством фланца, жестко закрепленного на усеченной части шара, четырех шпилек, жестко закрепленных на цилиндрическом патрубке газового сопла, и гаек, механизм перемещения газового сопла выполнен в виде шарового соединения, состоящего из полого сквозного усеченного шара и полой полусферы с отверстием в центре, причем шар усеченной частью жестко и соосно соединен с корпусом, полусфера жестко и соосно соединена с цилиндрическим патрубком газового сопла, соединение шара с полусферой выполнено при помощи двух фланцев, один из которых жестко закреплен на корпусе, а другой фланец – на цилиндрическом патрубке газового сопла, фланцы соединены между собой при помощи болтов и гаек.
В газовой горелке конструкция сопла выполнена из жестко соединенных цилиндрического патрубка и конфузора для минимизации ее гидравлического сопротивления и максимизации длины факела внутри теплотехнического аппарата.
В газовой горелке на трубке для подвода компрессорного воздуха перед насадкой горелки жестко закреплены четыре направляющие пластины прямоугольной формы, две пластины – вертикально, а две – горизонтально для возможности регулирования ориентации факела внутри теплотехнического аппарата в вертикальной и горизонтальной плоскостях с минимальным увеличением гидравлического сопротивления.
В газовой горелке в конце трубки для подвода компрессорного воздуха установлено сопло в виде конфузора с цилиндрической насадкой для минимизации гидравлического сопротивления и максимизации длины факела в теплотехническом аппарате.
В газовой горелке механизм перемещения трубки подвода компрессорного воздуха выполнен в виде шарового соединения, состоящего из усеченного цельнометаллического шара со сквозным отверстием и полой полусферой с отверстием в центре, причем шар по сквозному отверстию жестко соединен с трубкой, а полусфера жестко соединена с цилиндрическим патрубком и с его боковым отверстием, отверстия полусферы и цилиндрического патрубка соосны, соединение шара и полусферы выполнено посредством фланца, жестко закрепленного на усеченной части шара, четырех шпилек, жестко закрепленных на цилиндрическом патрубке газового сопла, и гаек – такая конструкция механизма перемещения трубки дает возможность изменять расположение трубки с соплом и пластинами с целью оперативного и тонкого регулирования ориентации и длины факела сжигания низкокалорийного газа внутри теплотехнического аппарата.
В газовой горелке механизм перемещения газового сопла выполнен в виде шарового соединения, состоящего из полого сквозного усеченного шара и полой полусферы с отверстием в центре, причем шар усеченной частью жестко и соосно соединен с корпусом, полусфера жестко и соосно соединена с цилиндрическим патрубком газового сопла, соединение шара с полой полусферой выполнено при помощи двух фланцев, один из которых жестко закреплен на корпусе, а другой фланец закреплен на цилиндрическом патрубке газового сопла, фланцы соединены между собой при помощи болтов и гаек – такая конструкция механизма перемещения газового сопла позволяет измененять расположения газового сопла для предварительного регулирования ориентации факела низкокалорийного газа внутри теплотехнического аппарата.
Предлагаемая газовая горелка поясняется чертежами:
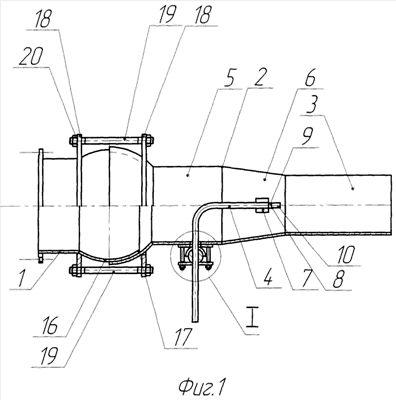
на фиг.1 изображен общий вид газовой горелки;
фиг.2 – трубка подвода компрессорного воздуха с соплом, насадкой и пластинами, жестко соединенными с трубкой;
фиг.3 – разрез трубки с пластинами;
фиг.4 – механизм перемещения трубки.
Газовая горелка состоит из корпуса 1, газового сопла 2 с насадкой 3 в передней части, трубки 4 для подвода компрессорного воздуха, установленной на оси газового сопла 2, механизма для перемещения сопла 2 в корпусе 1 горелки и механизма для перемещения трубки 4 подвода компрессорного воздуха, причем газовое сопло 2, выполненное из жестко соединенных цилиндрического патрубка 5 и конфузора 6, на трубке 4 для подвода компрессорного воздуха перед насадкой 3 жестко закреплены четыре направляющие пластины 7 прямоугольной формы, две пластины – вертикально, а две – горизонтально, а в конце трубки установлено сопло 8 в виде конфузора 9 с цилиндрической насадкой 10, механизм перемещения трубки 4 подвода компрессорного воздуха выполнен в виде шарового соединения, состоящего из усеченного цельнометаллического шара 11 со сквозным отверстием и полой полусферы 12 с отверстием в центре, шар 11 по оси жестко соединен с трубкой 4, а полусфера 12 жестко соединена с цилиндрическим патрубком 5 с его боковым отверстием, соединение шара 11 и полусферы 12 выполнено посредством фланца 13, жестко закрепленного на усеченной части шара 11, четырех шпилек 14, жестко закрепленных на цилиндрическом патрубке 5 газового сопла 2, и гаек 15, механизм перемещения газового сопла 2 выполнен в виде полого сквозного усеченного шара 16 и полой полусферы 17 с отверстием в центре, шар 16 усеченной частью жестко и соосно соединен с корпусом 1, полусфера 17 жестко и соосно соединена с цилиндрическим патрубком 5 газового сопла 2, соединение шара 16 с полусферой 17 выполнено при помощи двух фланцев 18, один фланец 18 жестко закреплен на корпусе 1, а другой фланец 18 – на цилиндрическом патрубке 5 газового сопла 2, фланцы 18 соединены между собой при помощи болтов 19 и гаек 20.
Газовая горелка работает следующим образом.
Газ в насадку 3 горелки подается через корпус 1, полый сквозной усеченный шар 16 и полую полусферу 17 с отверстием в центре механизма перемещения газового сопла, цилиндрический патрубок 5 и конфузор 6 газового сопла 2, воздух одновременно подается в насадку 3 через трубку 4 подачи компрессорного воздуха с конфузором 9 и насадкой 10 сопла 8, где воздушный и газовый потоки турбулизуются и перемешиваются, причем благодаря конфузору 6 и конфузору 9 происходит ускорение газовоздушной смеси с минимальным гидравлическим сопротивлением; в насадке 3 газового сопла 2 смесь за счет ее цилиндрической формы образует удлиненный факел горелки; в насадке 10 сопла 8 трубки 4 компрессорный воздух дополнительно ускоряется и за счет ее цилиндрической формы образуется удлиненный воздушный факел на выходе из насадки 10, что способствует удлинению факела горелки и снижению гидравлического сопротивления для газового потока за счет эжектирующего действия воздушного факела на газовый поток в насадке 3 газового сопла 2; предварительное ориентирование факела горелки в технологическом аппарате производится посредством частичного откручивания гаек 20 болтов 19 фланцев 18 механизма для перемещения сопла 2 в корпусе 1 горелки, после чего свободно перемещается газовое сопло 2 вместе с полусферой 17 вокруг полого шара 16 и тем самым предварительно устанавливается направление факела в аппарате, далее закручиванием гаек 20 болтов 19 фланцев 18 фиксируют это направление факела; тонкое ориентирование факела горелки в теплотехническом аппарате производится посредством частичного откручивания гаек 15 шпилек 14 фланца 13 механизма для перемещения трубки 4 с цельнометаллическим шаром 11 в полусфере 12, после чего свободно перемещается трубка 4 с пластинами 7, конфузором 9 и насадкой 10 сопла 8 вместе с шаром 11 вокруг полусферы 12, благодаря пластинам 7 и изменению направления воздушного факела в насадке 3 меняется направление факела в теплотехническом аппарате, а закручиванием гаек 15 на шпильках 14 фланца 13 фиксируют направление факела.
Технический результат использования газовой горелки заключается в возможности полного сжигания низкокалорийных газов с предварительным и тонким регулированием длины и ориентации факела в теплотехническом аппарате и с тепловой производительностью, необходимыми, например, для сушки, прокалки и обжига различных материалов, простота конструкции обеспечивает повышенную надежность горелки в эксплуатации, а конструктивно обусловленное наличие газовоздушной смеси только в насадке горелки обеспечивает взрывобезопасность горелки.
Формула изобретения
Газовая горелка, включающая корпус, газовое сопло с насадкой в передней части, трубку для подвода компрессорного воздуха, установленную на оси газового сопла, механизм для перемещения трубки подвода компрессорного воздуха и механизм для перемещения сопла в корпусе горелки, отличающаяся тем, что газовое сопло выполнено из жестко соединенных цилиндрического патрубка и конфузора, на трубке для подвода компрессорного воздуха перед насадкой горелки жестко закреплены четыре направляющие пластины прямоугольной формы, две пластины – вертикально, а две – горизонтально, а в конце трубки установлено сопло в виде конфузора с цилиндрической насадкой, механизм перемещения трубки подвода компрессорного воздуха выполнен в виде шарового соединения, состоящего из усеченного цельнометаллического шара со сквозным отверстием и полой полусферы с отверстием в центре, причем шар по сквозному отверстию жестко соединен с трубкой, а полусфера жестко соединена с цилиндрическим патрубком и с его боковым отверстием, отверстия полусферы и цилиндрического патрубка соосны, соединение шара и полусферы выполнено посредством фланца, жестко закрепленного на усеченной части шара, четырех шпилек, жестко закрепленных на цилиндрическом патрубке газового сопла, и гаек, механизм перемещения газового сопла выполнен в виде шарового соединения, состоящего из полого сквозного усеченного шара и полой полусферы с отверстием в центре, причем шар усеченной частью жестко и соосно соединен с корпусом, полусфера жестко и соосно соединена с цилиндрическим патрубком газового сопла, соединение шара с полусферой выполнено при помощи двух фланцев, один из которых жестко закреплен на корпусе, а другой фланец – на цилиндрическом патрубке газового сопла, фланцы соединены между собой при помощи болтов и гаек.
РИСУНКИ
|
|