|
|
(21), (22) Заявка: 2008139383/06, 06.10.2008
(24) Дата начала отсчета срока действия патента:
06.10.2008
(46) Опубликовано: 10.06.2010
(56) Список документов, цитированных в отчете о поиске:
DE 10119257 A1, 25.10.2001. RU 2177095 C2, 20.12.2001. US 3711060 A, 16.01.1973. DE 3431289 A1, 06.03.1986. DE 19510530 A1, 26.09.1996. DE 3336224 A1, 05.04.1984. DE 2711412 A1, 21.09.1978. CH 483589 A, 31.12.1969.
Адрес для переписки:
107076, Москва, ул. Атарбекова, 4, Закрытое акционерное общество “Тепловодоэнергосберегающие технологии”, директору В.Д. Салихову
|
(72) Автор(ы):
Лузгачев Михаил Васильевич (RU), Денисов Евгений Вячеславович (RU)
(73) Патентообладатель(и):
Закрытое акционерное общество “Тепловодоэнергосберегающие технологии” (RU)
|
(54) ТЕРМОСТАТИЧЕСКИЙ ВЕНТИЛЬ
(57) Реферат:
Изобретение относится к регулирующей арматуре и предназначено для использования в качестве термостатического вентиля в отопительных приборах (радиаторах, конвекторах и т.п). Термостатический вентиль содержит расположенный в нежидкостной полости подвижный шток, взаимодействующий с термостатической головкой и пропущенный через фитинг, и клапан, установленный с зазором по отношению к седлу. Ось симметрии подвижного штока совпадает с осью симметрии термостатической головки и фитинга. Нежидкостная полость герметизирована гибкой гофрированной мембраной. Вентиль снабжен усилителем хода в виде рычага, установленного на оси, расположенной в нежидкостной полости. Меньшее плечо рычага взаимодействует с подвижным штоком. Его большее плечо находится под действием пружины и связано с клапаном. Большее плечо рычага пропущено через гофрированную мембрану. Изобретение направлено на повышение точности регулирования расхода теплоносителя термостатическим вентилем за счет исключения влияния давления теплоносителя, а также повышение надежности за счет уменьшения усилий на подвижных элементах как следствие применения для герметизации гибкой гофрированной мембраны. 1 ил.
Изобретение относится к регулирующей арматуре, в частности к термостатическим вентилям для отопительных приборов (радиаторов конвекторов и т.п).
Известны термостатические вентили, например, по патентам РФ  2182998, 2112270, 2191943, 2191310, патентам ФРГ 3529614 (Danfoss F/S), 19510530 (Thodor Heimeier Metall Werk RG).
Так, например, термостатический клапан из описания патента ФРГ DE 3529614, содержит корпус, на котором установлен шток, выступающий наружу через сальник для приведения в действие закрывающего элемента клапана, верхнюю термостатическую часть, содержащую термостатический элемент (ТСЭ) и перемещаемый им толкатель, при этом головка толкателя взаимодействует со штоком.
ТСЭ может иметь наполнения в виде насыщенного пара и работает в зависимости от давления пара (которое зависит от температуры), в виде жидкости (и, следовательно, работает в зависимости от ее температурного расширения), а также в виде воскообразных материалов.
Шток совершает возвратно-поступательные движения под действием ТСЭ, перемещая клапан от открытого положения до закрытого. Компенсационная пружина предохраняет клапан от разрушения. Учитывая ресурс клапана (а ведущие производители заявляют ~1 млн срабатываний), уплотнения штока, выполняемые в виде резиновых колец круглого сечения, являются наиболее уязвимым местом по причине их износа из-за трения резины о металл штока, что усугубляется содержащимися в теплоносителе примесями. Поскольку выход из строя уплотнений приводит к протечке теплоносителя и заливу помещения, то такие термовентили необходимо периодически обслуживать, а именно заменять эти уплотнения. Их замена требует перекрытия магистрали теплоносителя, хотя бы частичного его слива и квалифицированного разбора клапана.
Важную роль для выполнения регулирующей функции играет величина перемещения клапана относительно седла при изменении температуры в помещении на 1°С. Чем больше перемещение, тем более плавным получается процесс регулирования и тем больше экономия энергии и удобство эксплуатации термоклапана. Перемещение клапана, главным образом, зависит от используемого материала наполнения термостатической головки, но также зависит от размера и типа анероидной коробки, например, сильфона. Наилучшие показатели усиления имеющихся термостатических клапанов около 0,35 мм/1°С при паровом наполнителе и от 0,2 до 0,28 мм/1°С – при жидкостном.
Из патента РФ 2112270 известен термоклапан для радиатора, аналогичный описанному, но имеющий большее перемещение клапана относительно седла, чем перемещение толкателя ТСЭ. В нем задача решается введением между толкателем ТСЭ и штоком термовентиля усилителя хода. Осевое перемещение толкателя используется для перемещения усилительного элемента в направлении, в котором он податлив.
Вместе с тем, при требованиях к поддержанию температуры в помещении с точностью 2°С существенным фактором становится влияние поджатия пружины внутренним давлением теплоносителя. Стандартом DS/EN 215-1 п.5.2.8. нормируется зависимость характеристики от статического давления, которая не должна превышать значения Т=1°С/10 бар, что при Р=10 бар уже является 50%-ной погрешностью выполнения режима 2°С. Подобное техническое решение также не лишено недостатков в части уплотнения штока, что влечет возможность появления негерметичности, кроме того, появляется зависимость характеристики клапана от величины рабочего давления.
Таким образом, для всех аналогов характерен общий недостаток – они ненадежны вследствие большой изнашиваемости уплотнения штока и, кроме того, их характеристики зависят от перепадов давления в магистрали теплоносителя.
Наиболее близким к заявляемому техническому решению является патент DE 10119257, А1 от 25.10.2001, взятый за прототип.
Прототип содержит расположенный в нежидкостной полости подвижный шток, взаимодействующий с термостатической головкой и пропущенный через фитинг, и клапан, установленным с зазором по отношению к седлу, при этом ось симметрии подвижного штока совпадает с осью симметрии термостатической головки и фитинга, а нежидкостная полость герметизирована гибкой гофрированной мембраной.
Однако в известном техническом решении подвижный шток, перемещаясь вместе с мембранной на ход, равный ходу штока, отрывается от опоры, на которой она лежала в крайнем верхнем положении, и на часть «оторвавшейся» мембраны начинает действовать сила от давления жидкости, а так как давление может достигать 10 атм, то через подвижный шток на термостатическую головку начинает действовать значительное усилие, что в силу конструктивной особенности головки не позволяет ей закрывать клапан.
Задачей изобретения является повышение точности регулирования расхода теплоносителя термостатическим вентилем за счет исключения влияния давления теплоносителя и разгрузки подвижного штока от прямого действия давления жидкости.
Технический результат достигается тем, что в термостатический вентиль, содержащий расположенный в нежидкостной полости подвижный шток, взаимодействующий с термостатической головкой и пропущенный через фитинг, и клапан, установленный с зазором по отношению к седлу, при этом ось симметрии подвижного штока совпадает с осью симметрии термостатической головки и фитинга, а нежидкостная полость герметизирована гибкой гофрированной мембраной, вентиль снабжен усилителем хода в виде рычага, установленного на оси, расположенной в нежидкостной полости, причем меньшее плечо рычага взаимодействует с подвижным штоком, а его большее плечо находится под действием пружины и связано с клапаном, при этом большее плечо рычага пропущено через гофрированную мембрану.
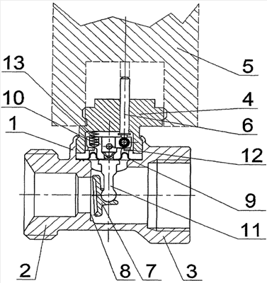
На чертеже изображен предлагаемый термостатический вентиль.
Термостатический вентиль содержит корпус 1, входной патрубок 2, выходной патрубок 3, фитинг 4, термостатическую головку 5, подвижный шток 6, клапан 7, седло 8, гофрированную мембрану 9, пружину 10, усилитель хода 11 в виде рычага с разными плечами, ось 12, нежидкостная полость 13.
В предлагаемом термостатическом вентиле подвижный шток 6, взаимодействующий с термостатической головкой 5, пропущен чрез фитинг 4, при этом ось симметрии подвижного штока 6 совпадает с осью симметрии термостатической головки 5 и фитинга 4.
Подвижный шток 6, взаимодействует с меньшим плечом рычага усилителя хода 11, установленного на оси 12, расположенной в нежидкостной полости 13. На большем плече рычага усилителя хода 11 с зазором относительно седла 8 закреплен клапан 7, что обеспечивает его большее перемещение, чем перемещение подвижного штока 6.
Ось 12 воспринимает возникающее на гофрированной мембране 9 усилие от давления жидкости (теплоносителя), тем самым разгружая подвижный шток 6 от прямого действия давления жидкости.
Поскольку коэффициент трения качения не превышает 0,05, то сила, с которой рычаг 11 давит на ось 12, создает незначительный момент трения при вращении рычага вокруг оси и, следовательно, незначительно нагружает термостатическую головку, что существенно повышает ресурс как термостатической головки, так и самого термовентиля.
При повороте рычага 11 мембрана 9 в месте герметичной связи ее с рычагом не совершает никаких перемещений вдоль своей оси, происходит лишь деформация гофра мембраны.
Данный термостатический вентиль функционирует следующим образом.
При увеличении температуры в помещении термостатическая головка 5 воздействует на подвижный шток 6, перемещая его в вертикальном направлении. Подвижный шток 6, взаимодействуя с меньшим плечом рычага усилителя хода 11, передает перемещение подвижного штока 6 большему плечу рычага усилителя хода 11, сообщая перемещение клапана 7 в сторону седла 8, уменьшая зазор между ними. Расход жидкости (теплоносителя) через термостатический вентиль, а следовательно, и через прибор отопления уменьшается и температура в помещении восстанавливается в соответствии с заданным значением. При понижении температуры относительно заданной, термоголовка 5 перестает воздействовать на подвижный шток 6 и система «клапан – рычаг усилителя хода – подвижный шток» приходит в исходное положение под действием пружины 10, передающей усилие через рычаг усилителя хода 11 на подвижный шток 6 и клапан 7.
Герметизация нежидкостной полости 13 в корпусе 1 по подвижному элементу (большему плечу рычага усилителя хода) осуществляется гибкой гофрированной мембраной 9, позволяющей минимизировать возникающие на рычаге усилителя хода 11 усилие.
Промышленное исполнение предложенного термостатического вентиля несложно, при этом используются апробированные конструктивные элементы и отработанные технологии.
Формула изобретения
Термостатический вентиль, содержащий расположенный в нежидкостной полости подвижный шток, взаимодействующий с термостатической головкой и пропущенный через фитинг, и клапан, установленный с зазором по отношению к седлу, при этом ось симметрии подвижного штока совпадает с осью симметрии термостатической головки и фитинга, а нежидкостная полость герметизирована гибкой гофрированной мембраной, отличающийся тем, что он снабжен усилителем хода в виде рычага, установленного на оси, расположенной в нежидкостной полости, причем меньшее плечо рычага взаимодействует с подвижным штоком, а его большее плечо находится под действием пружины и связано с клапаном, при этом большее плечо рычага пропущено через гофрированную мембрану.
РИСУНКИ
|
|