|
|
(21), (22) Заявка: 2008153049/06, 30.12.2008
(24) Дата начала отсчета срока действия патента:
30.12.2008
(46) Опубликовано: 10.06.2010
(56) Список документов, цитированных в отчете о поиске:
RU 72268 U1, 10.04.2008. RU 56940 U1, 27.09.2006. RU 70544 U1, 27.01.2008. SU 313963 A, 29.11.1971. AU 750243 B2, 11.07.2002. US 5829952 A, 03.11.1998.
Адрес для переписки:
191119, Санкт-Петербург, ул. Роменская, 9, кв.17, В.А. Чигряю
|
(72) Автор(ы):
Чигряй Владимир Александрович (RU)
(73) Патентообладатель(и):
Чигряй Владимир Александрович (RU)
|
(54) ОБРАТНЫЙ КЛАПАН
(57) Реферат:
Изобретение относится к нефтяной промышленности, в частности к внутрискважинному эксплутационному оборудованию, и может быть использовано при добыче нефти, промывке и освоении скважин. Обратный клапан содержит корпус с верхней и нижней внутренними присоединительными резьбами, служащими для встраивания клапана в колонну насосно-компрессорных труб. Подвижный элемент имеет сквозные отверстия. Муфта служит для регулировки поджатия пружины. Защитное уплотнение поджато пробкой. Подвижный элемент выполнен в виде ступенчатого стакана, допускающего перемещение в осевом направлении в направляющих и центрирующих сквозных отверстиях муфты и пробки, в котором выполнено осевое ступенчатое сквозное отверстие. В месте сопряжения разных диаметров отверстия выполнена фаска, являющаяся седлом для запорного элемента. Запорный элемент в виде шарика имеет возможность перемещения внутри отверстия большего диаметра. Снижаются затраты на дополнительную промывку и ремонт оборудования. 3 ил., 5 з.п.ф-лы.
Изобретение относится к нефтяной промышленности, в частности к внутрискважинному эксплуатационному оборудованию, и может использоваться при добыче нефти, промывке и освоении скважин.
В процессе эксплуатации трубопроводных систем, в том числе относящихся к нефтяной промышленности, может возникнуть технологическое снижение давления на каком-то участке, аварийная остановка насоса, при этом поток среды изменит направление на обратное. Для того чтобы исключить эту возможность применяются обратные клапаны, которые пропускают рабочую среду только в одном нужном направлении.
Известны установки скважинных электроцентробежных насосов, в которых на выходе устанавливается обратный клапан, цель которого при остановке насоса сохранить в колонне насосно-компрессорных труб столб жидкости и, таким образом, обеспечить потребление минимальной мощности в момент запуска двигателя (Богданов А.А. Погружные центробежные электронасосы для добычи нефти. – М: Недра, 1968, с.52-54).
Известен обратный клапан скважинного электроцентробежного насоса, содержащий модуль-головку с посадочным седлом и запорный элемент, выполнен в виде пробки из пластикового материала с шлицевыми пазами, при этом наружный диаметр шлицевых пазов верхнего торца пробки больше внутреннего диаметра трубы НКТ, ввернутой в модуль-головку, а внутренний диаметр пазов меньше внутреннего диаметра этой трубы, причем внутренний диаметр шлицевых пазов нижнего торца пробки больше диаметра отверстия посадочного седла модуль-головки, а нижний торец пробки выполнен в виде конуса, усеченных конуса, шара или эллипсоида, при этом высота пробки меньше расстояния от отверстия посадочного седла до трубы колонны насосно-компрессорных труб [патент РФ 2187709 МПК F04D 15/02, опубл. 2002.08.20].
Известен шариковый обратный клапан для скважинных центробежных насосов, содержащий корпус с верхней внутренней и нижней наружной резьбой для присоединения к насосно-компрессорным трубам и к головке насоса. В корпусе клапана образован цилиндрический канал с ограничителем осевого перемещения запорного элемента, выполненным за одно целое с корпусом, и содержащим отверстия для прохода жидкости в напорном трубопроводе. Шариковый запорный элемент заперт в седле клапана жестко зафиксированном в корпусе посредством гайки и резьбовой втулки (патент на полезную модель 56940, МПК E21B 34/06, бюл. 27, 27.09.06.)
Известен клапан скважинного центробежного насоса, содержащий корпус с внутренней и внешней присоединительной резьбой и закрепленным в нем седлом и размещенный в канале ограничителя осевого перемещения шариковый запорный элемент, согласно полезной модели седло клапана снабжено посадочной проточкой под уплотнительное кольцо и зафиксировано относительно корпуса цилиндрической втулкой и шайбой с отверстиями для прохода пластовой жидкости, причем в верхней части корпуса клапана установлен патрубок с ввинченной в него трубой шламоуловителя, снабженной радиальными отверстиями для прохода пластовой жидкости. Шайба с отверстиями для прохода пластовой жидкости зафиксирована от осевого перемещения относительно корпуса клапана посредством пружинного кольца, а патрубок монтируется в корпусе посредством шпонки с пружинным кольцом (патент на полезную модель 72268, МПК E21B 34/06, опубл. 2008.04.10] В процессе эксплуатации данных клапанов в составе насосного агрегата происходит засорение верхней насосной секции механическими примесями, что увеличивает количество ремонтов и затраты на промывку оборудования. Также данные конструкции не позволяют производить промывку оборудования скважины через устройство в случаях отложений парафина, солей и прочих загрязнений.
Задачей настоящего изобретения является сокращение эксплуатационных затрат и создание эффективной и надежной системы для перекрытия жидкости в скважине без глушения для оперативного управления разработкой месторождений и эффективного выполнения ремонтов в скважине.
Данная задача решается за счет того, что в обратном клапане, содержащем корпус с верхней и нижней внутренними присоединительными резьбами, служащими для встраивания клапана в колонну насосно-компрессорных труб, подвижный элемент со сквозными отверстиями, муфту для регулировки поджатия пружины, защитное уплотнение, поджатое пробкой, запорный элемент в виде шарика, подвижный элемент выполнен в виде ступенчатого стакана, допускающего перемещение в осевом направлении в направляющих и центрирующих сквозных отверстиях муфты и пробки, в котором выполнено осевое ступенчатое сквозное отверстие, в месте сопряжения разных диаметров отверстия выполнена фаска, являющаяся седлом для запорного элемента, при этом запорный элемент в виде шарика имеет возможность перемещения внутри отверстия большего диаметра. Дополнительно на наружной поверхности меньшего диаметра ступенчатого стакана выполнена кольцевая проточка, в которой установлена эластомерная кольцевая прокладка.
Дополнительно в ступенчатом стакане выше эластомерной кольцевой прокладки расположены радиальные сквозные отверстия.
Дополнительно на участке большего диаметра в ступенчатом стакане выполнены сквозные продольные отверстия.
Дополнительно на верхнем торце ступенчатого стакана установлена крышка со сквозным отверстием, фаска которого является седлом для запорного элемента.
Дополнительно на фаски нанесен твердый сплав.
Изобретение поясняется чертежами.
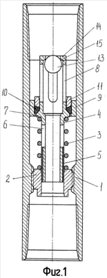
Фиг.1 – общий вид клапана в рабочем положении.
Фиг.2 – общий вид клапана при остановке насоса.
Фиг.3 – общий вид клапана в положении промывки.
Клапан содержит полый цилиндрический корпус 1 с верхней и нижней внутренними присоединительными резьбами, которые служат для встраивания клапана в колонну насосно-компрессорных труб. На внутренней поверхности корпуса имеется выступ с резьбой для установки муфты 2, предназначенной для регулирования усилия сжатия пружины 3. Внутреннее сквозное отверстие муфты 2 является направляющим и центрирующим для подвижного элемента в виде ступенчатого стакана 4, допускающего перемещение в осевом направлении. На наружной поверхности ступенчатого стакана 4, имеющей меньший диаметр, выполнена кольцевая проточка, в которой установлена эластомерная кольцевая прокладка 5. Выше эластомерной прокладки расположены радиальные сквозные отверстия 6. Данная поверхность ограничена кольцевым буртиком 7, одна сторона которого служит упором для пружины 3. На участке большего диаметра выполнены сквозные продольные отверстия 8. В корпусе 1 закреплен неподвижно корпус 9 защитного уплотнения 10, поджатого пробкой 11, внутренне сквозное отверстие которой является направляющим и центрирующим для ступенчатого стакана 4, в котором выполнено осевое ступенчатое сквозное отверстие для прохода жидкости, нагнетаемой насосом, в месте сопряжения разных диаметров выполнена фаска, на которую нанесен твердый сплав, являющаяся седлом 12 для запорного элемента, выполненного, например, в виде шарика 13, имеющего возможность перемещения внутри отверстия большего диаметра. На верхнем торце ступенчатого стакана 4 установлена крышка 14 со сквозным отверстием, фаска которого является седлом 15 с нанесенным твердым сплавом. Обратный клапан функционирует следующим образом.
При включении насоса под действием восходящего потока добываемой жидкости, запорный элемент в виде шарика 13 садится на седло 15. При этом поток жидкости устремляется в сквозные продольные отверстия 8 и попадает далее в трубу (на чертеже не обозначена).
При остановке насоса (на чертеже не показан) возникает перепад давлений между зонами, расположенными до и после клапана, под действием столба пластовой жидкости шарик 13 опускается на седло 12, перекрывая обратный проход жидкости, при этом пространство ступенчатого отверстия образует две полости А и Б. Столб жидкости удерживается в колонне насосно-компрессорных труб, предотвращая обратное вращение рабочих органов насоса. При этом начальная нагрузка сжатия пружины 3 задана равной или больше осевой нагрузки и ступенчатый стакан 4 не меняет своего положения.
В процессе работы скважины происходит отложение солей, гидратов, парафинов и других нежелательных твердых образований на конструкциях, находящихся внутри скважины. Указанные отложения могут серьезно ухудшать характеристики насоса. Для растворения таких отложений могут быть поданы химические реагенты, которые выбираются в зависимости химического состава среды скважины и соответственно от химического состава твердых отложений и подаются под давлением в трубу.
При этом давление подаваемой жидкости давит на шарик 13, который находится в седле 12, и ступенчатый стакан 4 опускается вниз, скользя во внутреннем сквозном отверстии муфты 2, и внутреннем сквозном отверстии пробки 11, пружина 3 сжимается. При этом эластомерная кольцевая прокладка 5, установленная в зоне контакта муфты 2 и ступенчатого стакана 4, предназначена для надежного срабатывания клапана, так как исключает образование солеотложений и накипи в сопрягаемых деталях.
Промывочная жидкость через сквозные продольные отверстия 8 и полость А попадает во внутреннее пространство корпуса 1, расположенное между муфтой 1 и корпусом 9 защитного уплотнения 10, затем через отверстие 6 и полость Б подается к насосу, обеспечивая качественную прямую промывку.
После прекращения подачи промывочной жидкости давление в трубе падает, пружина 3 выпрямляется, возвращая ступенчатый стакан 4 в исходное положение, затем включается насос, шарик 13 поднимается в седло 15, при этом поток жидкости через полости А и Б устремляется в сквозные продольные отверстия 8 и попадает далее в трубу.
Предложенные технические решения обеспечивают более эффективную эксплуатацию скважинной штанговой насосной установки при подъеме высоковязкой нефти, снижают затраты на дополнительную промывку и ремонт оборудования.
Формула изобретения
1. Обратный клапан, содержащий корпус с верхней и нижней внутренними присоединительными резьбами, служащими для встраивания клапана в колонну насосно-компрессорных труб, подвижный элемент со сквозными отверстиями, муфту для регулировки поджатия пружины, защитное уплотнение, поджатое пробкой, запорный элемент в виде шарика, отличающийся тем, что подвижный элемент выполнен в виде ступенчатого стакана, допускающего перемещение в осевом направлении в направляющих и центрирующих сквозных отверстиях муфты и пробки, в котором выполнено осевое ступенчатое сквозное отверстие, в месте сопряжения разных диаметров отверстия выполнена фаска, являющаяся седлом для запорного элемента, при этом запорный элемент в виде шарика имеет возможность перемещения внутри отверстия большего диаметра.
2. Обратный клапан по п.1, отличающийся тем, что на наружной поверхности ступенчатого стакана меньшего диаметра выполнена кольцевая проточка, в которой установлена эластомерная кольцевая прокладка.
3. Обратный клапан по п.2, отличающийся тем, что в ступенчатом стакане выше эластомерной кольцевой прокладки расположены радиальные сквозные отверстия.
4. Обратный клапан по п.2, отличающийся тем, что в ступенчатом стакане на участке большего диаметра выполнены сквозные продольные отверстия.
5. Обратный клапан по п.1, отличающийся тем, что на верхнем торце ступенчатого стакана установлена крышка со сквозным отверстием, фаска которого является седлом для запорного элемента.
6. Обратный клапан по п.5, отличающийся тем, что на фаски нанесен твердый сплав.
РИСУНКИ
|
|