|
|
(21), (22) Заявка: 2008104148/11, 05.07.2006
(24) Дата начала отсчета срока действия патента:
05.07.2006
(30) Конвенционный приоритет:
05.07.2005 GB 0513721.1
(43) Дата публикации заявки: 10.08.2009
(46) Опубликовано: 10.06.2010
(56) Список документов, цитированных в отчете о поиске:
ЕР 1138981 А2, 04.10.2001. GB 1078791 A, 09.08.1967. RU 2096671 C1, 20.11.1997. RU 2001119082 A, 10.07.2003.
(85) Дата перевода заявки PCT на национальную фазу:
05.02.2008
(86) Заявка PCT:
EP 2006/063926 20060705
(87) Публикация PCT:
WO 2007/003657 20070111
Адрес для переписки:
129090, Москва, ул.Б.Спасская, 25, стр.3, ООО “Юридическая фирма Городисский и Партнеры”, А.В.Мицу
|
(72) Автор(ы):
МЮРРЕЙ Стефен Уилльям (GB)
(73) Патентообладатель(и):
ТОРОТРАК (ДИВЕЛОПМЕНТ) ЛИМИТЕД (GB)
|
(54) УСТРОЙСТВО, ОГРАНИЧИВАЮЩЕЕ ПЕРЕДАТОЧНОЕ ЧИСЛО
(57) Реферат:
Изобретение относится к устройству для ограничения приводного передаточного числа вариатора в бесступенчатой коробке передач. Ограничение приводного передаточного числа вариатора (8) обеспечивается с помощью муфты (22 или 24) свободного хода. Муфта (22 или 24) свободного хода соединена как с входом, так и с выходом вариатора (8) и предназначена для вхождения в зацепление (запирания), когда вариатор (8) достигает своего предела передаточного числа. Достигается повышение надежности устройства. 4 з.п. ф-лы, 1 ил.
Настоящее изобретение относится к устройству для ограничения приводного передаточного числа вариатора в бесступенчатой коробке передач.
В любой бесступенчатой коробке передач, такой как коробка передач транспортного средства, имеется устройство, называемое здесь вариатором, которое обеспечивает возможность бесступенчатого изменения передаточного числа. Вариаторы могут иметь различные формы. Например, в некоторых существующих автомобильных трансмиссиях используются вариаторы типа «ремень и шкив», в которых ремень проходит по расширяющимся роликам или шкивам. Другой хорошо известный тип вариатора имеет одну или несколько пар коаксиально установленных дорожек, которые имеют форму для совместного образования тороидальной полости. Приводное усилие передается с одной дорожки на другую с помощью набора роликов, расположенных внутри полости и бегущих по дорожкам. Наклон роликов можно изменять для изменения приводного передаточного числа вариатора.
Для вариатора обычно требуется некоторый механизм, называемый здесь «концевым ограничителем», для обеспечения невыхода вариатора за диапазон передаточных чисел, которые он может обеспечивать, что в противном случае может приводить к поломке. Например, в вариаторе с тороидальными дорожками, если приводное передаточное число и соответственно наклон роликов изменяются за допустимый диапазон, то ролики могут вообще выходить из тороидальных дорожек, что приводит к катастрофическому выходу из строя. Функция концевого ограничителя особенно важна в вариаторе типа «с управляемым крутящим моментом», в котором передаточное число изменяется под воздействием крутящего момента на входе и выходе коробки передач.
Можно представить, что простой механический ограничитель на пути движения соответствующих частей, например в наклоне роликов или расширении шкивов, может служить для этой цели. Однако это обычно не является идеальным решением. Для понимания причин этого, следует понимать, что внутри вариатора необходимо равновесие между крутящим моментом, который обрабатывает вариатор, и усилием контакта, с которым передающие крутящий момент элементы, такие как ремень и шкивы или ролики и диски, смещаются друг к другу. Если это усилие смещения слишком велико, то уменьшается эффективность и излишне повышается износ. Если оно не достаточно, то может происходить проскальзывание, что снижает не только эффективность, но также может приводить к поломке. Требуемое усилие изменяется в зависимости от обрабатываемого крутящего момента, так что обычно предусматривается средство для изменения усилия смещения в зависимости от крутящего момента. В вариаторе с тороидальными дорожками это можно осуществлять с помощью гидравлического механизма, в котором как усилие смещения, так и усилие реакции, прикладываемое к роликам, зависит от общего гидравлического давления. Механизм такого типа описан, например, в опубликованной международной патентной заявке РСТ/GB 2004/002139 (номер публикации WO 2005/015059) на имя Torotrak (Development) Ltd. Проблема, создаваемая механическим ограничителем, состоит в том, что когда он действует, то может создаваться внезапное изменение крутящего момента в вариаторе. До соответствующего согласования усилия смещения существует опасность проскальзывания внутри вариатора.
В указанном выше гидравлически управляемом вариаторе с тороидальными дорожками функцию концевого ограничителя можно осуществлять гидравлически, как указано в упомянутой выше международной патентной заявке. В данном случае усилие реакции прикладывается к роликам с помощью цилиндропоршневых механизмов. Подача рабочей гидравлической текучей среды в цилиндры осуществляется через боковые входы, которые закрываются поршнями, когда они достигают конца своего пути движения, с образованием гидравлического замка для блокирования перемещения поршней и соответствующих им роликов. Образующееся в результате повышенное гидравлическое давление в цилиндрах передается на гидравлический плунжер, обеспечивающий усилие смещения, которое тем самым автоматически увеличивается при необходимости.
Хотя такие концевые ограничители являются высоко эффективными, они не являются универсально применимыми и связаны с некоторыми трудностями в управлении гидравлическими средствами. Таким образом, необходимо иметь альтернативный концевой ограничитель.
В заявке на патент США US 2003/0083170 (Ooyama) раскрыта коробка передач, в которой цепной привод соединяет вход вариатора с муфтой свободного хода, наружная часть которой соединена с выходом вариатора. Муфта входит в зацепление для предотвращения превышения передаточным числом выбранного максимума. Устройство приводит к дополнительному усложнению конструкции за счет использования цепного привода для обеспечения требуемого передаточного числа и передачи приводного усилия с входа коробки передач на муфту свободного хода.
Автором было установлено, что в некоторых трансмиссиях можно использовать муфту свободного хода для осуществления функции концевого ограничителя передаточного числа вариатора более непосредственным образом.
Согласно первому варианту настоящего изобретения предложена бесступенчатая коробка передач, содержащая вращающийся вход коробки передач и вращающийся выход коробки передач, вариатор, имеющий вращающийся вход вариатора и вращающийся выход вариатора, между которыми он передает приводное усилие с бесступенчато изменяемым передаточным числом вариатора, зубчатую передачу, образующую первый приводной путь, который соединяет вход коробки передач через вариатор с первым валом, так что первое отношение скоростей между входом коробки передач и первым валом является функцией передаточного числа вариатора и уменьшается с увеличением передаточного числа вариатора, и зубчатую передачу, образующую второй приводной путь, который соединяет вход коробки передач со вторым валом, так что второе отношение скоростей между входом коробки передач и вторым валом является функцией передаточного числа вариатора и увеличивается с увеличением передаточного числа вариатора, при этом имеется определенное передаточное число вариатора («синхронизированное передаточное число»), при котором скорости первого и второго валов являются равными, при этом коробка передач дополнительно содержит избирательное устройство для избирательного соединения первого вала или второго вала с вращающимся выходом коробки передач для обеспечения первого и второго режимов коробки передач, и устройство муфты свободного хода, которое предотвращает превышение скорости первого вала скорости второго вала и тем самым предотвращает выход приводного передаточного числа вариатора за пределы синхронизированного передаточного числа.
Согласно более широкому второму варианту настоящего изобретения предложено устройство для ограничения передаточного числа вариатора в бесступенчатой коробке передач, при этом вариатор имеет входной и выходной валы, между которыми он передает приводное усилие с бесступенчато изменяемым передаточным числом, и устройство содержит муфту свободного хода, противоположные стороны которой соединены с возможностью передачи приводного усилия соответственно на вход и выход вариатора, при этом муфта свободного хода выполнена с возможностью свободного вращения, когда передаточное число вариатора находится внутри пределов передаточного числа, и вхождения в зацепление при необходимости предотвращения выхода вариатора за его пределы передаточного числа.
Поскольку муфта свободного хода соединена как с входом, так и с выходом вариатора, то при вхождении в зацепление она блокирует передаточное число вариатора в выбранных пределах.
Изобретение может быть реализовано с очень небольшим дополнительным усложнением конструкции в коробке передач многорежимного типа, которая обеспечивает верхний и нижний режимы и имеет синхронизированное передаточное число, при котором смена между верхним и нижним режимами не приводит к изменению передаточного числа коробки передач. Такие коробки передач хорошо известны. В этом контексте изобретение может быть реализовано посредством расположения муфты свободного хода для вхождения в зацепление при синхронизированном передаточном числе.
Имеется два пути для передачи приводного усилия через коробку передач, соответствующие верхнему и нижнему режимам соответственно коробки передач, при этом противоположные стороны муфты свободного хода приводятся во вращение по соответствующим путям, так что при синхронизированном передаточном числе обе стороны муфты свободного хода вращаются с одинаковой скоростью, вызывая ее вхождение в зацепление.
Там, где коробка передач имеет, по меньшей мере, одну муфту переключения режимов, используемую для включения одного или другого режима, то муфта свободного хода предпочтительно включается параллельно режимной муфте.
Более предпочтительно, коробка передач содержит две режимные муфты, при этом соответствующие муфты свободного хода соединяются параллельно с обеими режимными муфтами и обеспечивают функцию концевого ограничителя в верхнем и нижнем режимах соответственно.
В наиболее предпочтительном варианте выполнения коробка передач имеет (i) муфту нижнего режима, имеющую входную сторону, соединенную с вариатором, и выходную сторону, соединенную с выходом коробки передач, так что вхождение в зацепление муфты нижнего режима обеспечивает нижний режим коробки передач; и (ii) муфту верхнего режима, имеющую входную сторону, соединенную с вариатором, и выходную сторону, соединенную с выходом коробки передач, так что вхождение в зацепление муфты верхнего режима обеспечивает верхний режим коробки передач, при этом устройство ограничения передаточного числа содержит (a) первую муфту свободного хода, соединенную параллельно с муфтой нижнего режима, для предотвращения превышения ее входной скорости ее выходной скорости (в переднем направлении передачи); и (b) вторую муфту свободного хода, соединенную параллельно с муфтой верхнего режима, для предотвращения превышения ее выходной скорости ее входной скорости (в переднем направлении передачи).
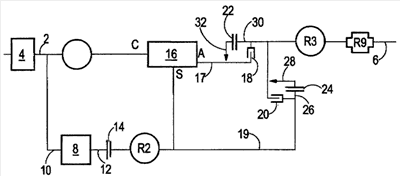
Ниже приводится подробное описание конкретных вариантов выполнения данного изобретения, лишь в качестве примера, со ссылками на прилагаемый чертеж, на котором схематично изображена бесступенчатая коробка передач согласно настоящему изобретению.
Как показано на чертеже, входной вал 2 коробки передач соединен с двигателем (4) (или любым другим вращающимся приводом, таким как электродвигатель), а выходной вал 6 коробки передач соединен с приводными колесами (не показаны) транспортного средства. В коробке передач используется вариатор 8, имеющий входной вал 10 вариатора и выходной вал 12 вариатора, между которыми передается приводное усилие с бесступенчато изменяемым передаточным числом. Входной вал 10 вариатора соединен с входным валом 2 коробки передач. Выходной вал 12 вариатора можно соединять с выходным валом 6 коробки передач по любому из двух путей, соответствующих двум различным режимам коробки передач, как поясняется ниже.
Оба указанных пути включают ограничивающую крутящий момент муфту 14, одна сторона которой соединена с выходным валом 12 вариатора, в то время как другая сторона соединена с зубчатой передачей R2. Первый путь, который соответствует нижнему режиму коробки передач, дополнительно содержит эпициклический шунт 16. Эпициклические зубчатые передачи хорошо известны специалистам в данной области техники. Шунт 16 имеет:
1. водило С, соединенное через зубчатую передачу R1 с входным валом 2 коробки передач;
2. солнечное колесо S, предназначенное для соединения с выходным валом 12 вариатора через ограничивающую крутящий момент муфту 18 и зубчатую передачу R2; и
3. кольцевое или неподвижное зубчатое колесо А, предназначенное для соединения через муфту нижнего режима и зубчатую передачу R3, Ra с выходным валом 6 коробки передач.
Когда выбран нижний режим коробки передач посредством замыкания муфты 18, то кольцевое зубчатое колесо А шунта соединяется через первый вал 17 и муфту 18 с выходом коробки передач. Образуется замкнутый контур циркуляции мощности, содержащий вариатор 8 и солнечное зубчатое колесо S, и водило С шунта 16, хорошо известный из уровня техники.
Второй путь соединения выходного вала 12 вариатора с выходом коробки передач проходит через второй вал 19 и муфту 20 верхнего режима, которая служит при замыкании для соединения выхода вариатора через ограничивающую крутящий момент муфту 14 и зубчатую передачу R2, R3, Ra с выходным валом 6 коробки передач. Когда выбран верхний режим коробки передач посредством замыкания муфты 20 верхнего режима и размыкания муфты 18 нижнего режима, то шунт 16 вращается свободно и не играет никакой роли в передаче приводного усилия через коробку передач.
Нижний режим обеспечивает нижний диапазон передаточных чисел коробки передач. Следует отметить, что передаточные числа коробки передач и вариатора задаются в данном случае как выходная скорость, деленная на входную скорость. Как хорошо известно из уровня техники, за счет использования шунта 16 этот диапазон может включать как передние, так и задние передачи, а также бесконечное уменьшение скорости (нулевое передаточное число коробки передач), называемое «включенной нейтралью». Верхний режим обеспечивает более высокие передние передаточные числа коробки передач. Следует отметить, что в верхнем режиме увеличение передаточного числа вариатора приводит к увеличению передаточного числа коробки передач, в то время как в нижнем режиме увеличение передаточного числа вариатора приводит к уменьшению передаточного числа коробки передач. Для прохода всего диапазона передаточных чисел коробки передач от заднего хода до ускоряющей передачи необходимо сначала включить нижний режим с передаточным числом вариатора в его максимуме. Затем вариатор проходит до своего минимального передаточного числа, переводя коробку передач через включенную нейтраль в переднюю передачу. При определенном «синхронизированном» передаточном числе включается верхний режим, а затем вариатор проходит обратно до своего максимального передаточного числа, приводя коробку передач в ее наивысшую передачу. «Синхронизированно» в данном контексте относится к передаточному числу (как вариатора, так и коробки передач), при котором переход от нижнего к верхнему режиму не вызывает изменения передаточного числа, так что при этом передаточном числе можно выполнять плавный переход из одного режима в другой. Синхронизированное передаточное число вариатора образует нижний предел передаточных чисел, требуемых от вариатора.
Согласно настоящему изобретению коробка передач содержит муфты свободного хода, которые обеспечивают ограничение передаточного числа вариатора. В частности, показанный вариант выполнения имеет:
1. первую муфту 22 свободного хода, параллельную, т.е. соединенную поперек, муфте 18 нижнего режима и предназначенную для предотвращения превышения выходной скорости муфты ее входной скорости; и
2. вторую муфту 24 свободного хода, параллельную муфте 20 верхнего режима и предназначенную для предотвращения превышения выходной скорости муфты ее входной скорости.
Концепция муфты свободного хода хорошо известна для специалистов в данной области техники. Она имеет первый и второй вращающиеся валы и обеспечивает относительное вращение двух валов в одном направлении, а не в другом. Муфты свободного хода можно реализовать с использованием, например, храпового механизма или механизма с заклинивающимся сухарем. Муфта с заклинивающимся сухарем является предпочтительной для данного изобретения, однако можно использовать другие типы.
Действие первой и второй муфт свободного хода состоит в предотвращении падения передаточного числа вариатора ниже синхронизированного передаточного числа. Рассмотрим сначала нижний режим. Муфта 18 нижнего режима находится в зацеплении. Первая муфта 22 свободного хода не имеет никакого действия, поскольку она блокирована муфтой нижнего режима. Муфта 20 верхнего режима разомкнута. Вторая муфта свободного хода обеспечивает функцию концевого ограничителя. Она приводится во вращение на своей входной стороне 26 через путь верхнего режима, т.е. через вариатор 8, ограничивающую крутящий момент муфту 14 и зубчатую передачу R2. Ее выходная сторона 28 приводится во вращение через путь нижнего режима, содержащего, среди прочего, вариатор 8, шунт 16 и замкнутую муфту 18 нижнего режима. При передаточных числах коробки передач ниже синхронизированного (соответствующих передаточным числам вариатора выше синхронизированного), входная сторона 26 вращается быстрее, чем выходная сторона 28, так что вторая муфта свободного хода размыкается. Однако, если передаточное число коробки передач повышается до величины синхронизированного передаточного числа, то, по определению, скорости, создаваемые с помощью путей верхнего и нижнего режима, являются одинаковыми. Поэтому две стороны второй муфты 24 свободного хода вращаются с одинаковой скоростью. Любое дальнейшее увеличение передаточного числа коробки передач будет вызывать превышение выходной скорости второй муфты 24 свободного хода ее входной скорости, однако это предотвращается замыканием муфты. Таким образом, предотвращается превышение передаточным числом коробки передач его синхронизированной величины, и соответственно передаточное число вариатора не может падать ниже его синхронизированной величины.
В случае верхнего режима первая муфта 22 свободного хода обеспечивает функцию концевого ограничителя. Ее выходная сторона 30 приводится во вращение через путь верхнего режима, содержащий вариатор 8, ограничивающую крутящий момент муфту 14, зубчатую передачу R2 и замкнутую муфту 20 верхнего режима. Ее входная сторона 32 приводится во вращение через рециркуляционный путь нижнего режима, содержащего, среди прочего, шунт 16 и вариатор 8. При передаточных числах коробки передач выше синхронизированного, ее выходная скорость превышает ее входную скорость, вызывая ее свободный ход. Однако, если передаточные числа вариатора и коробки передач падают до величины их синхронизированного передаточного числа, то, по определению, скорости, создаваемые с помощью путей верхнего и нижнего режима, являются одинаковыми. Любое дальнейшее падение этих передаточных чисел предотвращается замыканием первой муфты 22 свободного хода.
При нормальной работе одна или другая режимные муфты 18, 20 всегда находятся в зацеплении. Ограничивающая крутящий момент муфта 14 выполняет защитную функцию «предохранителя», при этом ее способность пропускания крутящего момента отрегулирована так, что она может передавать ожидаемый крутящий момент, но начинает проскальзывать в ответ на неожиданные «выбросы» крутящего момента (например, вследствие неожиданного торможения водителем) и тем самым предотвращает их воздействие на вариатор.
В случае, когда какая-либо неисправность приводит к размыканию обеих муфт 18, 20 переключения режимов, первая муфта 22 свободного хода будет обычно замыкаться, обеспечивая путь для приведения во вращение выхода коробки передач (и, возможно, способность аварийной поездки до дома). Если передаточное число достигает синхронизированной величины, то вторая муфта свободного хода замыкается, обеспечивая функцию концевого ограничителя.
Следует отметить, что представленное устройство служит для предотвращения падения передаточного числа вариатора ниже синхронизированной величины, но не предотвращает его увеличение свыше предельного значения. На практике достижение предела перекручивания является маловероятным, и защиту от этой опасности можно обычно обеспечивать с помощью электронного управления коробкой передач, однако может быть необходим какой-либо механический или гидравлический концевой ограничитель верхнего предела.
Формула изобретения
1. Бесступенчатая коробка передач, содержащая вращающийся вход коробки передач и вращающийся выход коробки передач, вариатор, имеющий вращающийся вход вариатора и вращающийся выход вариатора, между которыми он передает приводное усилие с бесступенчато изменяемым передаточным числом вариатора, зубчатую передачу, образующую первый приводной путь, который соединяет вход коробки передач через вариатор с первым валом, так что первое отношение скоростей между входом коробки передач и первым валом является функцией передаточного числа вариатора и уменьшается с увеличением передаточного числа вариатора, и зубчатую передачу, образующую второй приводной путь, который соединяет вход коробки передач через вариатор со вторым валом, так что второе отношение скоростей между входом коробки передач и вторым валом является функцией передаточного числа вариатора и увеличивается с увеличением передаточного числа вариатора, при этом имеется определенное передаточное число вариатора («синхронизированное передаточное число»), при котором скорости первого и второго валов являются равными, при этом коробка передач дополнительно содержит избирательное устройство для избирательного соединения первого вала или второго вала с вращающимся выходом коробки передач для обеспечения первого и второго режимов коробки передач и устройство муфты свободного хода, которое предотвращает превышение скорости первого вала скорости второго вала и тем самым предотвращает выход приводного передаточного числа вариатора за пределы синхронизированного передаточного числа.
2. Бесступенчатая коробка передач по п.1, отличающаяся тем, что избирательное устройство содержит, по меньшей мере, одну режимную муфту, и устройство муфты свободного хода содержит, по меньшей мере, одну муфту свободного хода, соединенную поперек режимной муфты, для предотвращения реверсирования относительного вращения ее входа и выхода.
3. Бесступенчатая коробка передач по п.1, отличающаяся тем, что избирательное устройство содержит первую режимную муфту для избирательного соединения первого вала с выходным валом коробки передач и вторую муфту для избирательного соединения второго вала с выходным валом коробки передач при этом устройство муфты свободного хода содержит первую муфту свободного хода, соединенную поперек первой режимной муфты, и вторую муфту свободного хода, соединенную поперек второй режимной муфты.
4. Бесступенчатая коробка передач по любому из пп.1-3, отличающаяся тем, что первый приводной путь включает эпициклическую зубчатую передачу.
5. Бесступенчатая коробка передач по любому из пп.1-3, отличающаяся тем, что оба приводные пути включают ограничивающую крутящий момент муфту.
РИСУНКИ
|
|