|
|
(21), (22) Заявка: 2008133390/11, 15.08.2008
(24) Дата начала отсчета срока действия патента:
15.08.2008
(43) Дата публикации заявки: 20.02.2010
(46) Опубликовано: 10.06.2010
(56) Список документов, цитированных в отчете о поиске:
RU 2138710 C1, 27.09.1999. RU 2091637 C1, 27.09.1997. SU 765571 A1, 27.09.1980. WO 0070241 A1, 23.11.2000.
Адрес для переписки:
125212, Москва, ул. Адмирала Макарова, 21, кв.14, Э.П. Скорнякову
|
(72) Автор(ы):
Гулиа Нурбей Владимирович (RU)
(73) Патентообладатель(и):
Закрытое акционерное общество “Комбарко” (RU)
|
(54) ДИСКОВЫЙ ПЛАНЕТАРНЫЙ ВАРИАТОР
(57) Реферат:
Изобретение относится к области машиностроения и может быть использовано для механических приводов как с автоматическим, так и с принудительным регулированием передаточного отношения. Дисковый планетарный вариатор включает внешние и внутренние центральные фрикционные диски (1) и (2), промежуточные конические фрикционные диски-сателлиты (3) и водило (5). Концы поворотных рычагов (4), противоположные тем, на которых закреплены сателлиты (3), снабжены толкателями-роликами (7), обкатывающимися по рабочим поверхностям профильных отверстий регуляторного звена-диска (10), связанного с выходным валом (11) вариатора. Поворотные рычаги подпружинены относительно водила так, чтобы сателлиты (3) под действием пружин (6) стремились к центру вариатора, что соответствует уменьшению передаточного отношения. Поворотные рычаги (4) связаны с корпусом (23) механическими связями, преобразующими поворот поворотных рычагов (4) на вращающемся водиле (5) в осевое перемещение втулки (21), которая приводится в движение рычажно-кулисным механизмом (12). Принудительное изменение передаточных отношений вариатора осуществляют поворотом рычага вручную или с помощью сервопривода. Вариатор позволяет осуществлять помимо автоматического режима работы также и режим работы с принудительным изменением передаточного отношения. 3 з.п. ф-лы, 4 ил.
Изобретение относится к области машиностроения и может быть использовано для механических приводов как с автоматическим, так и с принудительным регулированием передаточного отношения.
Из уровня техники известен дисковый планетарный вариатор, обладающий свойством автоматичности, обеспечиваемым регуляторным звеном-диском с вырезанными в нем профильными отверстиями, с рабочими поверхностями которых взаимодействуют толкатели в виде роликов, расположенные на поворотных рычагах и связанные с промежуточными коническими фрикционными дисками-сателлитами. При угловом перемещении регуляторного звена под действием крутящего момента на выходе вариатора меняется положение толкателей и связанных с ними сателлитов, что вызывает автоматическое изменение передаточного отношения вариатора (см. патент РФ 2091637, F16Н 15/50, 1997, автор – Н.В.Гулиа). Это устройство принято за аналог.
Устройству-аналогу присущ недостаток, заключающийся в том, что толкатели подгружены к рабочим поверхностям профильных отверстий центробежными силами, вызванными неуравновешенностью поворотного рычага относительно его оси вращения. Такое выполнение весьма ненадежно нагружает регуляторное звено, что ведет к неточности регулирования. При изменении частоты вращения тихоходного (выходного) вала, например, в пять раз (а это реальные условия эксплуатации устройства), центробежная сила меняется в 25 раз, а крутящий момент – всего в пять раз. Такое расхождение в изменении сил на регуляторном звене и момента резко снижает точность регулирования вариатора.
Описанный недостаток устранен в техническом решении-прототипе. За прототип принято техническое решение, обладающее максимальной совокупностью общих признаков (по патенту РФ 2138710, F16Н 15/50, 1999, автор – Н.В.Гулиа. Дисковый планетарный вариатор по патенту РФ 2138710, F16Н 15/50, 1999, автор – Н.В.Гулиа), включает внешние и внутренние центральные фрикционные диски, первые из которых закреплены в корпусе, а вторые – на входном валу, входящие в контакт с промежуточными коническими фрикционными дисками-сателлитами, зафиксированными с возможностью вращения на поворотных рычагах, закрепленных с возможностью поворота на вращающемся водиле, причем концы поворотных рычагов, противоположные тем, на которых закреплены сателлиты, снабжены толкателями-роликами, обкатывающимися по рабочим поверхностям профильных отверстий 1 регуляторного звена, выполненного в виде диска, связанного с выходным валом вариатора, а сами поворотные рычаги подпружинены относительно водила так, чтобы сателлиты под действием пружин стремились к центру вариатора, что соответствует уменьшению передаточного отношения.
Недостатком устройства-прототипа является невозможность, наряду с автоматическим, также и принудительного изменения передаточного отношения бесступенчатой передачи-вариатора, что ограничивает использование технического решения в мотор-вариаторах.
Задачей изобретения является создание универсального дискового планетарного вариатора, позволяющего использовать его как в автоматическом режиме, так и в режиме принудительного регулирования передаточного отношения.
Указанная задача решается тем, что предложен дисковый планетарный вариатор, включающий внешние и внутренние центральные фрикционные диски, первые из которых закреплены в корпусе, а вторые – на входном валу, входящие в контакт с промежуточными коническими фрикционными дисками-сателлитами, зафиксированными с возможностью вращения на поворотных рычагах, закрепленных с возможностью поворота на вращающемся водиле, причем концы поворотных рычагов, противоположные тем, на которых закреплены сателлиты, снабжены толкателями-роликами, обкатывающимися по рабочим поверхностям профильных отверстий регуляторного звена, связанного с выходным валом вариатора, а сами поворотные рычаги подпружинены относительно водила так, чтобы сателлиты под действием пружин стремились к центру вариатора, что соответствует уменьшению передаточного отношения, при этом поворотные рычаги на вращающемся водиле связаны с перемещающейся в осевом направлении без возможности вращения вокруг своей оси втулкой, установленной на осевой направляющей, неподвижно связанной с корпусом, механическими связями, преобразующими поворот поворотных рычагов на вращающемся водиле в осевое перемещение втулки, а сама втулка связана с механизмом, осуществляющим ее осевое перемещение.
Еще одним отличием предложенного вариатора является то, что механические связи, преобразующие поворот поворотных рычагов в осевое перемещение втулки, выполнены в виде рычажно-кулисных механизмов, кинематически связывающих упомянутые рычаги и втулку.
Следующим отличием предложенного вариатора является то, что механизм, приводящий втулку в осевое перемещение, выполнен в виде вала, закрепленного с возможностью поворота в корпусе, один из концов которого, расположенный внутри корпуса, содержит рычаг с вилкой, соединенный со втулкой штырями, сообщающими этому элементу осевое перемещение при повороте вала, а наружный конец вала снабжен рычагом, связанным с приводом управления описанным рычажным механизмом.
Следующим отличием предложенного вариатора является то, что привод управления рычажным механизмом содержит пружину, соединяющую рычажный механизм с корпусом, с возможностью регулирования ее натяжения и упруго подгружающую этот механизм относительно корпуса при автоматическом режиме работы вариатора, и механизм фиксации положения рычажного механизма относительно корпуса.
Технический результат изобретения состоит в том, что предложенный вариатор может осуществлять помимо автоматического режима работы, где передаточное отношение вариатора устанавливается автоматически в зависимости от крутящего момента (нагрузки) на выходном валу, также и режим работы с принудительным изменением передаточного отношения, причем последний режим устанавливается без устранения каких-либо деталей и механизмов, осуществляющих автоматический режим. Установленное вручную или с помощью сервопривода передаточное отношение фиксируется с прекращением автоматического режима работы вариатора, а при расфиксировании этого передаточного отношения вариатор самостоятельно возвращается к автоматическому режиму работы.
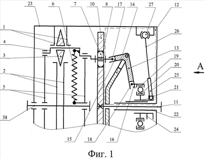
Сущность поясняется чертежами, где на фиг.1 и фиг.2 изображены схемы вариатора (продольные разрезы) в положениях, соответственно, максимального и минимального передаточного отношений; на фиг.3 изображен вид по А на фиг.1, а на фиг.4 – вид по Б на фиг.3.
Устройство состоит из центральных фрикционных дисков 1 и 2, соответственно, внешних и внутренних, входящих в контакт с промежуточными коническими фрикционными дисками-сателлитами 3, зафиксированными с возможностью вращения на поворотных рычагах 4, посаженных с возможностью поворота на водиле 5. Поворотные рычаги 4 подпружинены относительно водила 5 с помощью пружин 6 так, чтобы сателлиты 3 под действием пружин стремились к центру вариатора, что соответствует уменьшению его передаточного отношения. Поворотные рычаги 4 на своих концах, противоположных тем, где посажены сателлиты 3, содержат толкатели-ролики 7, закрепленные с возможностью вращения на осях 8 и контактирующие с рабочими поверхностями профильных отверстий 9 (см. фиг.3) регуляторного звена, выполненного в виде диска 10, связанного с выходным валом 11 вариатора. Механические связи 12 (выделены на фиг.1 и 2 штриховой линией) выполнены в виде изогнутых рычагов 13, по количеству равных числу поворотных рычагов 4, шарнирно закрепленных на диске 14, установленном с возможностью поворота вокруг оси вращения вала 11, причем сами рычаги 13 выполнены с прорезями-кулисами 15 и 16 на обоих концах. В кулису 15 входит палец 17 на оси 8, а в кулису 16 – палец 18 на вращающейся обойме 19, сидящей на подшипнике 20 на втулке 21, посаженной с возможностью скольжения, но без возможности вращения на направляющей, например, на цилиндрической трубе 22 на корпусе 23 вариатора. На втулке 21 закреплена кольцевая направляющая 24, в которую входит вилка 25 на рычаге 26, закрепленном с возможностью поворота на корпусе 23 на валу 27, на одном из концов которого закреплен рычаг 28 (фиг.3 и 4). Рычаг 28 подпружинен пружиной растяжения 29 в сторону кронштейна 30, прикрепленного к корпусу 23. На свободном конце рычага 28 в отверстии закреплен болт 31 с головкой 32 и гайкой 33 на резьбовом конце 34 болта 31. Болт 31 входит в дуговую прорезь 35 (фиг.4) в кронштейне 36, закрепленном на корпусе 23. Кронштейн 36 содержит шкалу 37 для определения передаточного отношения вариатора или частоты вращения выходного вала 11. Входной вал 38 (фиг.1 и 2) соединен с дисками 2 возможностью передачи крутящего момента.
Работа устройства происходит следующим образом. Вращение от входного вала 38 к выходному валу 11 передается через внутренние центральные фрикционные диски 2, закрепленные на входном валу 38, к сателлитам 3, также входящим в контакт с внешними центральными фрикционными дисками 1, неподвижно закрепленными в корпусе 23. Из-за планетарной схемы работы устройства вращение от сателлитов 3, установленных с возможностью вращения в поворотных рычагах 4, установленных с возможностью поворота относительно водила 5 и подпружиненных относительно него пружинами 6, передается к жестко связанному с выходным валом 11 регуляторному звену, выполненному в виде диска 10 с отверстиями 9, с профильными поверхностями которых контактируют ролики 7, установленные на осях 8, закрепленных на концах поворотных рычагов 4, противоположных тем, на которых установлены сателлиты 3. При использовании вариатора в автоматическом режиме ролики 7 занимают относительно рабочих поверхностей профильных отверстий 9 диска 10 положение, соответствующее силовому равновесию между действующим на выходной вал 11 крутящим моментом, стремящимся посредством рабочих поверхностей профильных отверстий 9 переместить ролики 7 к центру, а сателлиты 3 – от центра, что увеличивает передаточное отношение вариатора, и усилием пружин 6, и 29 и в меньшей степени прижимом сателлитов 3 внешними фрикционными дисками 1, переместить ролики 7 от центра, а сателлиты 3 – к центру, что уменьшает передаточное отношение вариатора. Таким образом, у вариатора автоматически устанавливается необходимое передаточное отношение на полном диапазоне их изменения, например, от 1,3 до 9, т.е. в диапазоне, равном примерно 7.
Для принудительного изменения передаточного отношения вариатора рычаг 28 вручную или с помощью сервопривода поворачивают, поворачивая вместе с ним вал 27, рычаг 26 и перемещают вилку 25 и кольцевую направляющую 24, а с ней и втулку 21 с подшипником 20, обоймой 19, пальцем 18, кулисой 16. При этом поворачиваются рычаги 13, шарнирно закрепленные на диске 14, и кулиса 15 перемещает в радиальном направлении палец 17 и ось 8 ролика 7, тем самым изменяя передаточное отношение вариатора, контролируемое шкалой 37 на кронштейне 36, а соответственно и частоту вращения входного вала 38. Рычаг 28 можно зафиксировать закруткой гайки 33 на резьбовой части 34 болта 31. При раскрутке гайки 33 рычаг 28 снова становится свободным, а вариатор снова приобретает свойство автоматичности.
Формула изобретения
1. Дисковый планетарный вариатор, включающий внешние и внутренние центральные фрикционные диски, первые из которых закреплены в корпусе, а вторые – на входном валу, входящие в контакт с промежуточными коническими фрикционными дисками-сателлитами, зафиксированными с возможностью вращения на поворотных рычагах, закрепленных с возможностью поворота на вращающемся водиле, причем концы поворотных рычагов, противоположные тем, на которых закреплены сателлиты, снабжены толкателями-роликами, окатывающимися по рабочим поверхностям профильных отверстий регуляторного звена, связанного с выходным валом вариатора, сами поворотные рычаги подпружинены относительно водила так, чтобы сателлиты под действием пружин стремились к центру вариатора, что соответствует уменьшению передаточного отношения, отличающийся тем, что поворотные рычаги на вращающемся водиле связаны с перемещающейся вдоль продольной оси вариатора без возможности вращения вокруг этой оси втулкой, установленной на осевой направляющей, неподвижно связанной с корпусом механическими связями, преобразующими поворот поворотных рычагов на вращающемся водиле в осевое перемещение втулки, а сама втулка связана с механизмом, осуществляющим ее осевое перемещение.
2. Вариатор по п.1, отличающийся тем, что механические связи, преобразующие поворот поворотных рычагов в осевое перемещение втулки, выполнены в виде рычажно-кулисных механизмов, кинематически связывающих упомянутые поворотные рычаги и втулку.
3. Вариатор по п.1 или 2, отличающийся тем, что механизм, приводящий втулку в осевое перемещение, выполнен в виде вала, закрепленного с возможностью поворота в корпусе, один из концов которого – расположенный внутри корпуса, содержит рычаг с вилкой, соединенный со втулкой штырями, сообщающими этому элементу осевое перемещение при повороте вала, а наружный конец вала снабжен рычагом, связанным с приводом управления описанным рычажным механизмом.
4. Вариатор по п.3, отличающийся тем, что привод управления рычажным механизмом содержит пружину, соединяющую рычажный механизм с корпусом, с возможностью регулирования ее натяжения и упруго подгружающую этот механизм относительно корпуса при автоматическом режиме работы вариатора и механизм фиксации положения рычажного механизма относительно корпуса.
РИСУНКИ
|
|