|
|
(21), (22) Заявка: 2008130281/11, 23.07.2008
(24) Дата начала отсчета срока действия патента:
23.07.2008
(43) Дата публикации заявки: 27.01.2010
(46) Опубликовано: 10.06.2010
(56) Список документов, цитированных в отчете о поиске:
US 4625588 А, 02.12.1986. DE 3424421 A, 09.01.1986. RU 2304735 C1, 20.08.2007. RU 2311714 C1, 27.11.2007.
Адрес для переписки:
346512, Ростовская обл., г. Шахты, пер. Кольчугина, д. 95 А, ООО “Таурус”
|
(72) Автор(ы):
Кузнецов Сергей Анатольевич (RU), Лысянский Вячеслав Анатольевич (RU), Владимиров Алексей Викторович (RU)
(73) Патентообладатель(и):
Общество с ограниченной ответственностью “Таурус” (RU)
|
(54) ВАРИАТОР МОМЕНТА НЕФРИКЦИОННОГО ТИПА
(57) Реферат:
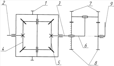
Изобретение относится к механизмам зубчатых бесступенчатых передач и может быть использовано в транспортном машиностроении, в станкостроении в качестве бесступенчатой коробки передач. Вариатор содержит дифференциал, водило (1) которого является входным звеном и двумя выходными центральными колесами (4, 5), и планетарный механизм, содержащий водило (6) с сателлитами и два центральных колеса. Второе выходное звено дифференциала соединено с водилом (6) планетарного механизма, на котором установлен с возможностью вращения блок сателлитов (7), образованный двумя соосными сателлитами с равным числом зубьев, попарно взаимодействующими с двумя центральными соосными зубчатыми колесами (8). Одно из центральных колес закреплено неподвижно, а второе установлено с возможностью вращения и к нему жестко прикреплен рычаг (9) управления. Изобретение обеспечивает возможность управления угловой скоростью и моментом выходного звена и направлено на упрощение конструкции. 1 ил.
Изобретение относится к механизмам зубчатых бесступенчатых передач и может быть использовано в транспортном машиностроении, в станкостроении и в качестве бесступенчатой коробки передач автомобилей и других транспортных средств.
Известны бесступенчатые приводы, содержащие фрикционные вариаторы, клиноременные или торовые. [Пронин Б.А. Бесступенчатые клиноременные и фрикционные передачи (вариаторы) [Текст] / А.Б.Пронин, Г.А.Ревков. – Изд. 3-е, перераб. и доп. – М.: Машиностроение, 1980. – 320 с., ил.].
Их недостатками являются сложность конструкции, большие потери на трение в фрикционной паре и недостаточная передаваемая мощность, ограниченная возможностями фрикционной пары.
Наиболее близким к предлагаемому техническому решению является устройство для бесступенчатого регулирования передачи между валами [Пат. 2146022 РФ, МПК 7 F16H 3/44], содержащее два дифференциальных механизма, кинематически связанные между собой зубчатыми передачами, и обгонную муфту на валу одного из центральных колес.
Недостатками данного устройства являются сложность конструкции и отсутствие звена, осуществляющего управление передаточным отношением, поэтому данное устройство можно лишь условно отнести к вариаторам.
Целью изобретения является упрощение конструкции вариатора и обеспечение возможности управления угловой скоростью и моментом выходного звена.
Для достижения поставленной цели в вариаторе, содержащем дифференциал с водилом в качестве входного звена и двумя выходными центральными колесами, одно из которых соединяется с планетарным механизмом, содержащим водило с сателлитами и два центральных колеса, второе выходное звено дифференциала соединяется с водилом планетарного механизма, который выполнен двухрядным, а на водиле установлен с возможностью вращения блок сателлитов, образованный двумя соосными сателлитами с равным числом зубьев, попарно взаимодействующими с двумя центральными соосными зубчатыми колесами, одно из которых закреплено неподвижно, а второе установлено с возможностью вращения и к нему жестко прикреплен рычаг управления вариатором.
Кинематическая схема вариатора представлена на чертеже.
Устройство состоит из дифференциального механизма, входным звеном которого является водило 1 с сателлитами и двумя центральными колесами 4 и 5, установленными на выходных валах 2 и 3 соответственно, один из которых соединен с водилом 6 планетарного механизма, который выполнен двухрядным, а на водиле 6 установлен с возможностью вращения блок сателлитов 7, образованный двумя соосными сателлитами с равным числом зубьев, взаимодействующими с двумя центральными соосными зубчатыми колесами 8, одно из которых закреплено неподвижно, а ко второму подвижному колесу жестко прикреплен рычаг управления 9 вариатором.
Вариатор работает следующим образом.
Вращение от двигателя подается на входное звено (водило) 1 дифференциала. Полученное водилом движение делится между выходными валами 2 и 3 с центральными колесами 4 и 5 соответственно. При неподвижном выходном валу 2 движение центрального колеса 5 передается на водило планетарного механизма 6, которое вместе с сателлитным блоком 7 свободно вращается вокруг центральных колес 8, которые остаются неподвижными, поскольку одно из них закреплено неподвижно, а передаточное отношение равно бесконечности при равных числах зубьев колес 8.
При приложении управляющего момента на рычаг 9 свободное движение водила 6 с блоком сателлитов 7 затормаживается, и возникающий момент торможения на валу водила 6 способствует возникновению крутящего момента на выходном валу 2 вариатора, причем этот момент пропорционален управляющему усилию. Угловая скорость выходного вала 2 также начинает увеличиваться по мере преодоления момента полезного сопротивления пропорционально управляющему воздействию. Диапазон регулирования угловой скорости выходного вала 2, таким образом, находится в пределах от нуля до значения, обусловленного передаточным отношением от водила 1 к центральному колесу 4.
Упрощение конструкции по сравнению с прототипом достигается за счет уменьшения количества подвижных звеньев с 11 до 8 и отсутствием обгонной муфты, а возможность регулирования момента и оборотов достигается путем воздействия на рычаг управления вариатором, связанный с одним из центральных колес планетарного механизма.
Формула изобретения
Вариатор, содержащий дифференциал с водилом в качестве входного звена и двумя выходными центральными колесами, одно из которых соединяется с планетарным механизмом, содержащим водило с сателлитами и два центральных колеса, отличающийся тем, что второе выходное звено дифференциала соединяется с водилом планетарного механизма, который выполнен двухрядным, а на водиле установлен с возможностью вращения блок сателлитов, образованный двумя соосными сателлитами с равным числом зубьев, попарно взаимодействующими с двумя центральными соосными зубчатыми колесами, одно из которых закреплено неподвижно, а второе установлено с возможностью вращения и к нему жестко прикреплен рычаг управления вариатором.
РИСУНКИ
|
|