|
|
(21), (22) Заявка: 2009111222/11, 22.08.2007
(24) Дата начала отсчета срока действия патента:
22.08.2007
(30) Конвенционный приоритет:
28.08.2006 JP 2006-231271
(46) Опубликовано: 10.06.2010
(56) Список документов, цитированных в отчете о поиске:
JP 2000249195 А, 12.09.2000. US 5047937 A, 10.09.1991. US 3949621 A, 13.04.1976. SU 359456 A1, 03.12.1972. SU 1459614 A3, 15.02.1989. SU 745379 A3, 30.06.1980.
(85) Дата перевода заявки PCT на национальную фазу:
30.03.2009
(86) Заявка PCT:
JP 2007/066710 20070822
(87) Публикация PCT:
WO 2008/026615 20080306
Адрес для переписки:
129090, Москва, ул.Б.Спасская, 25, стр.3, ООО “Юридическая фирма Городисский и Партнеры”, А.В.Мицу
|
(72) Автор(ы):
КОБАЯСИ Дайсуке (JP)
(73) Патентообладатель(и):
ТОЙОТА ДЗИДОСЯ КАБУСИКИ КАЙСЯ (JP)
|
(54) ПРИВОДНОЙ РЕМЕНЬ И УСТРОЙСТВО, И СПОСОБ ДЛЯ СБОРКИ ПРИВОДНОГО РЕМНЯ
(57) Реферат:
Изобретение относится к приводному ремню и к способу, и устройству сборки приводного ремня. В приводном ремне V два ряда бесконечных колец (8) размещены параллельно друг другу в пазе множества элементов (1). Элементы (1) сцеплены кольцеобразно так, чтобы паз раскрывался к внешней периферийной стороне. Элемент (1) содержит направляющую поверхность (9b), которая сформирована на торцевой поверхности (9а) выступающей части (9), для удержания кольца (8) так, чтобы не допустить отделения кольца (8) от паза (7). Направляющая поверхность (9b) формирует направленную внутрь составляющую толкающей силы, проталкивающей одно из колец (8) к одной из торцевых поверхностей (9а). Сформированная направленная внутрь составляющая толкающей силы прикладывается к внешней боковой стороне (8с) проталкиваемого кольца. Достигается повышение надежности приводного ремня и производительности сборки приводного ремня. 3 н. и 14 з.п. ф-лы, 14 ил.
Область техники
Изобретение относится к приводному ремню, в котором множество пластинчатых элементов, сцепленных друг с другом круговым способом, закреплено бесконечным охватывающим кольцом, и к устройству, и способу сборки приводного ремня.
Уровень техники
В предшествующем уровне техники трансмиссия с зубчатыми передачами, обеспечивающая бесступенчатое изменение ступеней зубчатого редуктора, и бесступенчатая трансмиссия, обеспечивающая бесступенчатое варьирование передаточного отношения, доступны в качестве трансмиссии для передачи мощности между вращающимися элементами. Например, в качестве бесступенчатой трансмиссии известны бесступенчатая трансмиссия ременного типа и бесступенчатая трансмиссия тороидального типа. В частности, бесступенчатая трансмиссия ременного типа – это трансмиссия, непрерывно варьирующая передаточное отношение с помощью пары ведущих шкивов и пары ведомых шкивов и приводного ремня, приложенного к этим шкивам. Известный бесконечный приводной ремень, используемый в такой бесступенчатой трансмиссии ременного типа, изготавливается посредством размещения множества пластинчатых элементов, называемых “элементом” или “блоком”, круговым способом, при этом пластинчатые элементы соединяются друг с другом, и сцепленные пластинчатые элементы закрепляются кольцеобразным ремнем, называемым “лентой” или “держателем”.
Когда приводной ремень этого вида, приложенный к ведущим и ведомым шкивам, приводится посредством вращения ведущего шкива, сила трения действует на контактирующую часть между элементом и ведущим шкивом, и сила сжатия прикладывается к элементам в направлении их размещения, т.е. в направлении их толщины согласно крутящему моменту ведущего шкива. Сила сжатия, приложенная к элементу, контактирующему с ведущим шкивом, передается на элемент, контактирующий с ведомым шкивом, через элементы, находящиеся между ведущими и ведомыми шкивами. Когда сила сжатия передана на элемент, контактирующий с ведомым шкивом, сила трения формируется в контактирующей части между элементом и ведомым шкивом, и согласно переданной силе сжатия возникает крутящий момент для вращения ведомого шкива. Тем самым между ведущим и ведомым шкивом через приводной ремень передается мощность.
Один пример вышеупомянутого приводного ремня раскрыт в публикации выложенной заявки на патент Японии JP 2000-249195. “Высоконагруженный приводной ремень”, представленный в указанной публикации, составлен из центрального ремня и блоков, упрочненных против бокового давления, и он используется в первичном движителе и вспомогательном движителе автомобилей и сельскохозяйственных машин. В частности, “высоконагруженный приводной ремень” содержит блок (т.е. элемент), который составлен таким образом, что две стороны для ремня, имеющие замковые части на верхнем конце, связаны друг с другом в своих нижних концах посредством соединительного элемента, и два ряда бесконечных держателей (т.е. колец) фиксировано входят в раскрытие зацепляющего углубления между замковыми частями. Ременная боковая часть элемента снабжена по отдельности выпуклой частью и вогнутой частью на каждой поверхности так, чтобы элементы могли сцепиться друг с другом. Следовательно, сцепленные элементы могут быть выровнены, даже когда ремень движется.
В дополнение к вышесказанному в публикации выложенной заявки на патент Японии JP 2001-193796 раскрывает изобретение, касающееся “Металлического ремня и элемента для металлического ремня” для бесступенчатых трансмиссий транспортных средств. Металлический ремень, представленный в этой публикации, содержит: металлическую бесконечную ленту (т.е. кольцо), приложенную к кольцевым углублениям ведущих и ведомых шкивов; множество металлических элементов, составленных из основной части, которая должна контактировать с кольцевым углублением шкива, пары стоек, установленных на основной части и обращенных друг к другу, зацепляющей выступающей части, сформированной на переднем краю стойки, и раскрытия для вставки ленты (т.е. углубленной части), сформированной между зацепляющими выступающими частями; и бесконечный металлический элемент для предотвращения выпадения, который несколько шире ленты. Элемент для предотвращения выпадения может быть изогнут так, чтобы сужаться, когда он вставлен между зацепляющими выступающими частями, чтобы не допустить выпадения ленты.
Согласно приводному ремню, описанному в JP 2000-249195, замковые части сформированы на обеих ременных сторонах элемента, установленного около держателей, чтобы крепить держатели на элементе, и выпуклая часть, и вогнутая часть сформированы по отдельности на верхнем углу каждой поверхности ременных сторон, чтобы сцепить смежные элементы. Таким образом, выпуклая часть и вогнутая часть, выступающие в качестве охватываемых и охватывающих соединений, сформированы симметрично на обоих верхних углах элемента. Держатели по отдельности входят в каждое зацепляющее углубление и удерживаются замковой частью так, чтобы два ряда ремней крепились в элементе.
Таким образом, согласно сконструированному приводному ремню, описанному в JP 2000-249195, держатели, размещенные параллельно друг другу, должны быть частично перекрывающимися, когда установлены на элементы или отсоединены от элементов. Таким образом, общая ширина держателей, размещенных параллельно друг другу, должна быть уменьшена до более узкой, чем ширина раскрытия между замковыми частями элемента, когда держатели установлены на элементы или отсоединены от элементов, посредством закручивания держателей так, чтобы частично перекрывались.
Чтобы закрутить держатели, размещаемые параллельно друг другу, тем самым частично перекрывая эти держатели, необходимо вращать сцепленные элементы, т.е. поворачивать элементы относительно друг друга. Тем не менее, согласно приводному ремню, описанному в JP 2000-249195, выпуклая часть и вогнутая часть для сцепления смежных элементов сформированы на обоих верхних углах элемента. Соответственно, поперечное движение элемента должно быть ограничено. Это затрудняет перекрывание держателей, размещенных параллельно друг другу, при сборке приводного ремня.
Чтобы разрешить вышеупомянутую проблему, заявитель подал заявку, связанную с приводным ремнем, в которой охватываемое соединение и охватывающее соединение по отдельности сформированы на каждой поверхности элемента, противостоящей соседнему элементу, по центру элемента. Следовательно, два ряда колец, выровненных в одну линию параллельно друг другу, могут легко перекрываться посредством поворотного перемещения элементов, чтобы разместиться в пазе элемента.
Тем не менее, как показано на фиг.14, торцевая поверхность Eb замковой части Ea элемента E и внешняя боковая поверхность Ra кольца R мешают друг другу при размещении перекрывающихся колец в пазе элемента E и выравнивании в одну линию колец параллельно друг другу в пазе. Таким образом, трудность размещения кольца R в пазе элемента E по-прежнему остается, и простота сборки приводного ремня тем самым уменьшается. Помимо этого внешняя периферийная поверхность Rb кольца R может быть повреждена посредством внутреннего края Ec замковой части Ea элемента E, когда установлена в пазе элемента E. Как результат, долговечность кольца, т.е. долговечность приводного ремня, может быть уменьшена.
Краткое описание изобретения
Настоящее изобретение разработано с учетом вышеописанных технических проблем, и его задачей является создание приводного ремня, устройства и способа его сборки, которые позволяют легко размещать кольцо в пазе и исключить повреждения кольца.
Для решения указанной задачи согласно настоящему изобретению создан приводной ремень, в котором множество элементов сцеплено кольцеобразно таким образом, чтобы расположить их паз так, чтобы он раскрывался к внешней периферийной стороне, и в котором два ряда бесконечных колец размещены параллельно друг другу в пазе элементов, содержащем: выступающие части для удержания колец, чтобы не допустить отделения колец от паза, которые выступают из внешней периферийной стороны внутренних стенок паза к центру по ширине элемента, чтобы уменьшить максимальный зазор между их торцевыми поверхностями до ширины, меньшей, чем общая ширина колец; и направляющую поверхность для формирования направленной внутрь составляющей толкающей силы, проталкивающей одно из колец на нее, которая сформирована, по меньшей мере, на одной из торцевых поверхностей выступающих частей.
Зазор между направляющей поверхностью и торцевой поверхностью другой выступающей части постоянно расширяется к внутренней периферийной стороне.
Более конкретно, направляющая поверхность – это наклонная поверхность, сформированная на торцевой поверхности выступающей части.
В дополнение к вышесказанному элемент содержит охватываемое соединение, выступающее к соседнему элементу на одной из поверхностей, противоположных соседнему элементу, и охватывающее соединение, в которое охватываемое соединение свободно входит, на поверхности, противоположной поверхности, где сформировано охватываемое соединение. Таким образом, каждый из элементов сцепляется с возможностью поворота с обоими из смежных элементов посредством охватываемых и охватывающих соединений.
Согласно изобретению охватываемое соединение и охватывающее соединение, соответственно, сформированы в одной точке поверхности, где охватываемое соединение и охватывающее соединение, соответственно, сформированы.
В частности, охватываемые и охватывающие соединения, соответственно, сформированы по центру ширины поверхности, где охватываемые и охватывающие соединения, соответственно, сформированы.
В дополнение к вышесказанному каждое из колец содержит внешний слой, который накладывается на его внешнюю поверхность в пазе и который расположен между выступающими частями.
Согласно другому аспекту изобретения создано устройство сборки приводного ремня, в котором множество элементов сцеплено кольцеобразно таким образом, чтобы расположить их паз так, чтобы он раскрывался к внешней периферийной стороне, и в котором два ряда бесконечных колец размещены параллельно друг другу в пазе элемента и удерживаются посредством выступающих частей, сформированных на стороне конца раскрытия внутренних стенок паза, чтобы предотвратить раскрепление колец, содержащее направляющее средство для направления кольца к внутренней периферийной стороне выступающей части при размещении колец в пазе.
Направляющее средство включает в себя средство формирования периферийной направленной внутрь составляющей толкающей силы, когда одно из колец проталкивается ближе к одной выступающей части в направлении ширины, и поперечная сторона проталкиваемого кольца соприкасается с ней.
Более конкретно направляющее средство содержит контактирующую поверхность, с которой контактирует поперечная сторона проталкиваемого кольца. Контактирующая поверхность сформирована таким образом, что расстояние между контактирующей поверхностью и торцевой поверхностью выступающей части, обращенной к центру по ширине, становится меньше согласно направлению от внешней периферийной стороны к внутренней периферийной стороне.
Помимо вышеуказанного контактирующая поверхность является наклонной плоской поверхностью, с которой контактирует с возможностью скольжения боковая сторона проталкиваемого кольца.
Согласно еще одному аспекту изобретения создан способ сборки приводного ремня, в котором множество элементов сцеплено кольцеобразно таким образом, чтобы расположить их паз так, чтобы он раскрывался к внешней периферийной стороне, и в котором два ряда бесконечных колец размещены параллельно друг другу в пазе элемента и удерживаются посредством выступающих частей, сформированных на стороне края раскрытия внутренних стенок паза, чтобы предотвратить раскрепление колец, включающий: перекрывание двух рядов колец; размещение внешней боковой стороны вовнутрь перекрывающегося кольца во внутренней периферийной стороне одной выступающей части в пазе; и последующее размещение наружного перекрывающего кольца во внутренней периферийной стороне другой выступающей части в пазе посредством проталкивания наружного перекрывающего кольца к другой выступающей части при применении направленной внутрь составляющей толкающей силы к внешней боковой стороне проталкиваемого кольца.
Помимо вышеозначенного способ сборки приводного ремня по изобретению характеризуется тем, что направленная внутрь составляющая толкающей силы, проталкивающей наружное перекрывающее кольцо, прикладывается к внешней боковой стороне проталкиваемого кольца посредством использования элемента, содержащего направляющую поверхность на торцевой поверхности, по меньшей мере, одной из выступающих частей, с тем, чтобы зазор между направляющей поверхностью и торцевой поверхностью другой выступающей части увеличивался от внешней периферийной стороны к внутренней периферийной стороне.
Более конкретно направляющая поверхность является наклонной плоской поверхностью, с которой контактирует с возможностью скольжения внешняя боковая сторона проталкиваемого кольца.
Помимо вышеозначенного способ сборки приводного ремня по изобретению характеризуется тем, что направленная внутрь составляющая толкающей силы, проталкивающей наружное перекрывающее кольцо, прикладывается к внешней боковой стороне проталкиваемого кольца, чтобы направлять проталкиваемое кольцо к внутренней периферийной стороне выступающей части в пазе, посредством использования устройства сборки, содержащего направляющее средство, имеющее контактирующую поверхность, сформированную таким образом, что расстояние до торцевой поверхности выступающей части, обращенной к центру по ширине, становится меньше согласно направлению от внешней периферийной стороны к внутренней периферийной стороне.
Более конкретно контактирующая поверхность является наклонной плоской поверхностью, с которой контактирует с возможностью скольжения внешняя боковая сторона проталкиваемого кольца.
Как пояснено выше, согласно изобретению максимальный зазор между торцевыми поверхностями выступающих частей, выступающих из внешней периферийной стороны внутренних стенок паза, меньше общей ширины двух рядов колец. Следовательно, два ряда колец, содержащихся в пазе, могут размещаться точно между нижней поверхностью паза и внутренней поверхностью выступающей части, и отделение колец от элемента тем самым предотвращается. Дополнительно, по меньшей мере, одна из выступающих частей содержит направляющую поверхность и торцевую поверхность. Направляющая поверхность помогает проталкиваемому кольцу размещаться в пазе элемента посредством приложения направленной внутрь составляющей толкающей силы к боковой стороне проталкиваемого кольца. Следовательно, кольцо может размещаться в пазе элемента легко и плавно. Как результат, повышается простота сборки приводного ремня. Более того, поскольку кольцо размещается в пазе элемента плавно, можно предотвратить повреждение поверхности кольца посредством края элемента. Как результат, может быть предотвращено снижение долговечности кольца.
В частности, расстояние между направляющей поверхностью, сформированной на торцевой поверхности одной выступающей части, и противостоящей торцевой поверхностью постоянно увеличивается от внешней периферийной стороны к внутренней периферийной стороне. По этой причине помехи между выступающей частью элемента и боковой стороной кольца, размещаемого в пазе элемента, могут быть исключены, и тем самым предотвращается повреждение поверхности кольца посредством края выступающей части.
Более конкретно направляющая поверхность, сформированная на торцевой поверхности одной выступающей части, является наклонной плоской поверхностью для способствования размещения кольца в пазе элемента, и расстояние между направляющей поверхностью и противостоящей торцевой поверхностью другой выступающей части постоянно увеличивается от внешней периферийной стороны к внутренней периферийной стороне. По этой причине помехи между выступающей частью элемента и боковой стороной кольца, размещаемого в пазе, могут быть эффективно исключены, и тем самым предотвращается повреждение поверхности кольца посредством края выступающей части.
Дополнительно к вышеизложенным преимуществам, как пояснено выше, охватываемые и охватывающие соединения сформированы по отдельности на каждой поверхности элемента, противоположной соседнему элементу, и элементы сцепляются с возможностью поворота относительно друг друга посредством соединения охватываемых и охватывающих соединений при сохранении заданного зазора. Следовательно, элементы, сцепленные круговым способом, могут быть точно размещены, и элементы могут поворачиваться относительно друг друга.
В частности, охватываемые и охватывающие соединения, соответственно, сформированы в одной точке поверхности, где охватываемые и охватывающие соединения, соответственно, сформированы. Следовательно, элементы, сцепленные круговым способом, могут быть точно размещены, и элементы могут легко поворачиваться вокруг соединенных охватываемых и охватывающих соединений.
Более конкретно оба из охватываемого соединения и охватывающего соединения, сформированных, соответственно, на каждой поверхности элемента, противоположного соседнему элементу, располагаются по существу в средней части элемента в направлении ширины. Следовательно, элементы, сцепленные круговым способом, могут быть точно позиционированы, и каждому элементу обеспечивается возможность поворачиваться одинаково в направлении ширины вокруг соединенных охватываемых и охватывающих соединений, расположенных в центре по ширине.
В дополнение к вышеупомянутому преимуществу согласно изобретению внешний слой может быть сформирован между выступающими частями на внешней поверхности каждого кольца, размещенного в пазе элемента. Следовательно, толщина кольца может быть увеличена, чтобы усилить прочность приводного ремня, при этом эффективно используя пространство между выступающими частями.
Согласно другому аспекту изобретения кольцо направляется посредством направляющего средства при размещении в пазе элемента. Следовательно, кольцо может быть легко и плавно размещено в пазе элемента, и простота сборки приводного ремня тем самым повышается. Кроме того, поверхность кольца может быть защищена от повреждения посредством края элемента. Как результат, может быть предотвращено снижение долговечности кольца.
В дополнение к вышеуказанным преимуществам согласно изобретению, когда одно из колец проталкивается к одной из выступающих частей, чтобы разместиться в пазе элемента, направляющее средство помогает проталкиваемому кольцу разместиться в пазе за счет приложения направленной внутрь составляющей толкающей силы к боковой стороне проталкиваемого кольца. По этой причине помехи между выступающей частью элемента и внешней боковой стороной кольца, размещаемого в пазе, могут быть исключены, и тем самым предотвращается повреждение поверхности кольца посредством края выступающей части.
В частности, направляющее средство содержит контактирующую поверхность, с которой контактирует внешняя боковая сторона кольца для того, чтобы разместиться в пазе элемента. Как объяснено выше, расстояние между контактирующей поверхностью и торцевой поверхностью выступающей части, к которой кольцо проталкивается, чтобы разместиться в пазу, становится меньше от внешней периферийной стороны к внутренней периферийной стороне. По этой причине помехи между выступающей частью элемента и внешней боковой стороной кольца, размещаемого в пазе, могут быть исключены, и тем самым предотвращается повреждение поверхности кольца посредством края выступающей части.
Более конкретно контактирующая поверхность направляющего средства является наклонной плоской поверхностью. Соответственно расстояние между наклонной плоской поверхностью и торцевой поверхностью выступающей части, к которой кольцо проталкивается, чтобы разместиться в пазу, становится меньше от внешней периферийной стороны к внутренней периферийной стороне. По этой причине помехи между выступающей частью элемента и внешней боковой стороной кольца, размещаемого в пазе, могут быть исключены, и тем самым предотвращается повреждение поверхности кольца посредством края выступающей части.
Согласно еще одному аспекту изобретения два ряда колец, выровненных в одну линию параллельно друг другу, закручиваются, когда размещаются в пазе элемента. В результате общая ширина колец сокращается так, чтобы кольца могли быть легко размещены в паз из перекрывающейся части через раскрытие паза. Внешняя боковая сторона внутреннего перекрывающегося кольца размещается к внутренней периферийной стороне одной из выступающих частей в пазе, а затем толкающая сила для проталкивания внешнего перекрывающегося кольца в направлении внутренней периферийной стороны другой выступающей части прикладывается в наружному перекрывающемуся кольцу. В этой ситуации направленная внутрь составляющая толкающей силы прикладывается к внешней боковой стороне проталкиваемого наружного перекрывающегося кольца. В результате наружное перекрывающееся кольцо размещается в пространстве паза внутренней периферийной стороны другой выступающей части, и кольца снова выравниваются в одну линию параллельно друг другу. Следовательно, кольца могут быть легко размещены в пазе элемента, и простота сборки приводного ремня тем самым повышается. Также поверхность кольца защищена от повреждения посредством края выступающей части так, что снижение долговечности приводного ремня предотвращается.
Как описано выше, элемент, содержащий направляющую поверхность для направления кольца, чтобы оно разместилось в пазе элемента, используется в способе сборки по изобретению. Расстояние между направляющей поверхностью, сформированной на торцевой поверхности одной выступающей части, и противостоящей торцевой поверхностью постоянно увеличивается от внешней периферийной стороны к внутренней периферийной стороне. По этой причине помехи между выступающей частью элемента и внешней боковой стороной кольца, размещаемого в пазе, могут быть исключены, и тем самым предотвращается повреждение поверхности кольца посредством края выступающей части.
В частности, направляющая поверхность – это наклонная поверхность, а расстояние между наклонной поверхностью и противоположной торцевой поверхностью другой выступающей части постоянно увеличивается от внешней периферийной стороны к внутренней периферийной стороне. По этой причине помехи между выступающей частью элемента и внешней боковой стороной кольца, размещаемого в пазе, могут быть исключены, и тем самым эффективно предотвращается повреждение поверхности кольца посредством края выступающей части.
Альтернативно согласно способу сборки по изобретению также может быть использовано устройство сборки, содержащее направляющее средство, имеющее контактирующую поверхность. Внешняя боковая сторона кольца, проталкиваемого для того, чтобы размещаться в пазе элемента, контактирует с контактирующей поверхностью направляющего средства, и направленная внутрь составляющая толкающей силы, толкающей кольцо, прикладывается к внешней боковой стороне проталкиваемого кольца посредством контактирующей поверхности направляющего средства. В результате могут быть исключены помехи между выступающей частью элемента и внешней боковой стороной кольца, размещаемого в пазе, так что предотвращается повреждение поверхности кольца посредством края выступающей части.
Более конкретно контактирующая поверхность направляющего средства – это наклоненная плоская поверхность, наклоненная для того, чтобы становиться ближе к торцевой поверхности выступающей части, к которой проталкивается кольцо, чтобы размещаться в пазе, от внешней периферийной стороны к внутренней периферийной стороне. Следовательно, помехи между выступающей частью элемента и внешней боковой стороной кольца, размещаемого в пазе, могут быть исключены, и тем самым предотвращается повреждение поверхности кольца посредством края выступающей части.
Краткое описание чертежей
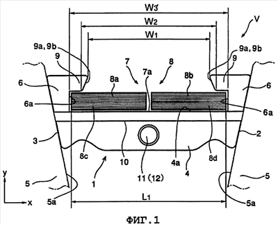
Фиг.1 – вид спереди, схематично показывающий конфигурацию первого элемента, используемого в первом примере приводного ремня по изобретению.
Фиг.2 – вид сбоку в разрезе, схематично показывающий сечение приводного ремня первого примера.
Фиг.3 – вид, схематично показывающий поворотное перемещение элементов, составляющих приводной ремень первого примера.
Фиг.4 – вид, схематично показывающий перекрывающуюся часть колец и оставшуюся часть колец, выровненных в одну линию параллельно друг другу.
Фиг.5 – вид, схематично показывающий перемещение кольца, размещенного в пазе элемента, составляющих приводной ремень первого примера.
Фиг.6 – вид спереди, схематично показывающий второй пример приводного ремня по изобретению.
Фиг.7 – вид спереди, схематично показывающий модифицированный пример приводного ремня согласно второму примеру.
Фиг.8 – вид, схематично показывающий другой пример наклоненной поверхности в качестве направляющей поверхности элемента, составляющих приводной ремень по изобретению.
Фиг.9 – вид спереди, схематично показывающий устройство сборки приводного ремня по изобретению, удерживающее элемент.
Фиг.10 – вид сбоку (или частичный разрез), схематично показывающий состояние, где устройство сборки приводного ремня по изобретению удерживает элемент.
Фиг.11 – вид спереди, схематично показывающий устройство сборки приводного ремня по изобретению перед удержанием элемента.
Фиг.12 – вид сбоку (или частичный разрез), схематично показывающий устройство сборки приводного ремня по изобретению перед удержанием элемента.
Фиг.13 – вид, схематично показывающий другой пример наклоненной поверхности, сформированной на направляющей части устройства сборки приводного ремня по изобретению.
Фиг.14 – вид, схематично показывающий элемент традиционного приводного ремня.
Наилучший способ осуществления изобретения
Далее это изобретение поясняется со ссылкой на прилагаемые чертежи. Прежде всего последовательно описываются примеры приводного ремня и устройства сборки согласно изобретению, а затем описывается способ сборки приводного ремня по изобретению.
Первый пример
Далее поясняются конфигурации элемента и кольца, составляющих приводной ремень первого примера, со ссылкой на фиг.1 и 2. Фиг.1 показывает пример приводного ремня V, который должен быть приложен к ведущему шкиву (т.е. боковому шкиву входного вала) и ведомому шкиву (т.е. боковому шкиву выходного вала) бесступенчатой трансмиссии ременного типа, чтобы передавать мощность между этими шкивами. Элемент 1 является металлическим пластинчатым элементом, содержащим базовую часть (или основной корпус) 4. Обе боковых поверхности 2 и 3 базовой части 4, т.е. оба боковых края (в направлении оси X на фиг.1) базовой части 4 наклонены. Наклонные боковые поверхности 2 и 3 контактируют с помощью трения с V-образным желобом 5а ведущего или ведомого шкива 5 бесступенчатой трансмиссии ременного типа, чтобы передавать крутящий момент.
Базовая часть 4 содержит стойки 6, установленные вертикально (в направлении оси Y на фиг.1 и 2) на обоих боковых концах (в направлении оси X на фиг.1). Соответственно паз 7 формируется посредством верхней поверхности (или верхнего края) 4a базовой части 4 и обеих внутренних стенок 6a стоек 6, обращенных к центру базовой части 4. Таким образом, паз 7 открывается вверх, другими словами, паз 7 открывается в направлении внешней окружности приводного ремня V.
В частности, паз 7 является пространством для размещения бесконечного кольца 8 для закрепления элементов 1, сцепленных вплотную друг с другом, круговым способом. Таким образом, верхняя поверхность 4a выступает в качестве седловидной поверхности 4a, на которой размещается внутренняя периферийная поверхность кольца 8.
Кольцо 8 является многослойным кольцом, выполненным из металла, содержащим множество кольцевых слоев ременного типа, которые перекрываются в направлении вдоль окружности. Согласно первому примеру два кольца 8a и 8b размещены параллельно друг другу в пазе 7. При этом конфигурация, размеры, материал, прочность и т.д. колец 8a и 8b идентичны друг другу.
Элемент 1 содержит выступающие части 9. Каждая выступающая часть 9 сформирована неразъемно со стойкой 6 и выступает к центру по ширине базовой части 4 от внешней периферийной стороны стоек 6, т.е. обе торцевые поверхности 9a выступающих частей 9 обращены внутрь так, чтобы быть обращенными друг к другу. Другими словами, выступающая часть 9 формируется на обоих краях раскрытия паза 7 над боковыми краями кольца 8a и 8b, т.е. на краевых частях внутренних стенок 6a, и обе выступающие части 9 выступают к центру по ширине паза 7 (т.е. в направлении оси X на фиг.1).
Направляющая поверхность 9b формируется на обеих торцевых поверхностях 9a, и обе направляющие поверхности 9b наклонены. Соответственно, зазор между торцевыми поверхностями 9a постоянно увеличивается от внешней периферийной стороны к внутренней периферийной стороне, другими словами, от верхней стороны к нижней стороне в направлении оси Y на фиг.1. В этом примере, хотя направляющие поверхности 9b сформированы на обеих торцевых поверхностях симметрично 9a относительно центра по ширине элемента 1, одна из направляющих поверхностей может быть исключена. Альтернативно каждая направляющая поверхность может быть сформирована в другой конфигурации.
Следовательно, как показано на фиг.1, расстояние между торцевыми поверхностями 9a становится наименьшим в самой дальней по окружности части торцевых поверхностей 9a. Тем самым наименьший зазор между торцевыми поверхностями 9a – это ширина W1 раскрытия паза 7. С другой стороны, расстояние между торцевыми поверхностями 9a становится наибольшим в самой внутренней по окружности части торцевых поверхностей 9a. Таким образом, этот наибольший зазор между торцевыми поверхностями 9a – это наибольшая ширина W2 раскрытия паза 7. Дополнительно ширина паза 7 на стороне нижней части 7a (т.е. верхняя поверхность 4a), расстояние между внутренними стенками 6a больше ширины W1 раскрытия, и это расстояние между внутренними стенками 6a представлено посредством W3 на фиг.1.
Элементы 1 сцеплены друг с другом круговым способом и закреплены посредством кольца 8. Элементы 1, таким образом закрепленные посредством кольца 8, прикладываются к ведущим и ведомым шкивам 5. В случае, если приводной ремень V прикладывается к шкивам 5, зазоры между элементами 1 постепенно сужаются к центру вращения шкивов 5 в области, где элементы 1 контактируют со шкивами 5, и элементы 1 в конечном счете контактируют друг с другом в своей части рядом с центром вращения шкива 5. Следовательно, толщина элемента 1 должна уменьшаться в нижней части, т.е. в части, расположенной ближе к центру вращения шкива 5, как проиллюстрировано на фиг.2.
Согласно примеру, показанному на фиг.2, одна из поверхностей базовой части 4, т.е. поверхность левой стороны на фиг.2, утончается постепенно от заданной части ниже седловидной поверхности 4a. В случае, если ремень V прикладывается к шкивам 5, элементы 1 контактируют с соседним элементом 1 в части, где ее толщина постепенно уменьшается, в области, где элементы 1 контактируют со шкивом 5, другими словами, в изгибающейся области ремня V. Таким образом, край границы толщины выступает в качестве края 10 качания.
Охватываемое соединение 11 и охватывающее соединение 12, соответственно, сформированы на каждой поверхности базовой части 4, противоположной соседнему элементу 1, в центре по ширине элемента 1. В частности, как показано на фиг.2, охватываемое соединение 11 кругового усеченного конуса сформировано на одной из поверхностей базовой части 4, где сформирован край 10 качания. С другой стороны, выполненное с определенной глубиной цилиндрическое охватывающее соединение 12, в которое свободно вставлено смежное охватываемое соединение 11, сформировано на поверхности напротив поверхности, на которой сформировано охватываемое соединение 11. Следовательно, элементы 1 могут выравниваться в пределах прямой области ремня V, где элемент 1 не контактирует со шкивом 5.
Таким образом, взаимное положение элементов 1 в пределах прямой области приводного ремня V может быть определено в вертикальном и в горизонтальном направлениях на фиг.1 посредством соединения охватываемых и охватывающих соединений 11 и 12. По этой причине вибрация приводного ремня V предотвращается, так что ремень V может плавно приводиться, когда бесступенчатая трансмиссия ременного типа приводится в движение.
Одно охватываемое соединение 21 и охватывающее соединение 22, соответственно, сформированы на каждой поверхности элемента 1, противоположной соседнему элементу 1, и эти соединения 11 и 12 размещаются в центре по ширине элемента 1. Следовательно, как показано на фиг.3, элементы 1, сцепленные круговым способом посредством соединения этих охватываемых и охватывающих соединений 11 и 12, могут вращаться относительно друг друга, другими словами, могут поворачиваться относительно друг друга.
Как упомянуто выше, кольцо 8 содержит два кольца 8a и 8b в этом примере. Следовательно, как показано на фиг.4, кольца 8a и 8b могут частично перекрываться (как показано в кругу на фиг.4) при сохранении оставшейся части колец 8a и 8b, параллельной друг другу (как показано в кругу B на фиг.4). Дополнительно кольца 8a и 8b могут быть частично перекрывающимися по всей своей длине за счет внутреннего подгибания перекрывающейся части кольца, расположенной на внутренней периферийной стороне.
Согласно традиционному приводному ремню высокая степень свободы колец, выровненных в одну линию параллельно друг другу, по-прежнему обеспечивается на начальной стадии, на которой число элементов, соединяющей эти кольца, относительно мало, так что эти кольца могут быть легко закручены так, чтобы частично перекрываться. Тем не менее, по мере того как число элементов, удерживающих эти кольца, возрастает, например, на стадии, на которой более чем половина круга колец удерживаются элементами, закручивающее перемещение колец должно быть ограничено. С другой стороны, согласно изобретению элементы 1 приводного ремня V сцеплены с соседними элементами 1 круговым способом, имея возможность поворачиваться относительно друг друга. Следовательно, кольцо 8 может быть легко закручено так, чтобы частично перекрываться посредством поворотного перемещения элемента 1 даже на стадии, на которой кольца 8a и 8b удерживают относительно большое количество элементов 1.
Как показано на фиг.1, ширина L1 кольца 8, т.е. общая ширина колец 8a и 8b, выровненных в одну линию параллельно друг другу, больше, чем вышеупомянутая ширина W2 раскрытия, но меньше, чем ширина W3. Тем не менее, как указано посредством L2 на фиг.3, общая ширина кольца 8 может быть частично уменьшена так, чтобы размещаться в пазе 7 за счет частичного перекрывания колец 8a и 8b.
Как описано выше, наклонные поверхности, т.е. направляющие поверхности 9b формируются на торцевых поверхностях 9a выступающих частей 9, и расстояние между направляющими поверхностями 9b постоянно увеличивается от внешней периферийной стороны к внутренней периферийной стороне. Следовательно, внешние боковые стороны 8c и 8d колец 8a и 8b могут быть легко помещены в зазор между внутренней поверхностью выступающей части 9 и нижней частью 7a (или седловидной поверхностью 4a).
Согласно этому примеру внешняя боковая сторона 8c кольца 8a размещается в пазе 7 элемента 1 сначала от части, частично перекрывающейся на внутренней периферийной стороне кольца 8b, как показано на фиг.5. Затем толкающая сила F прикладывается к кольцу 8b, частично перекрывающемуся на внешней периферийной стороне кольца 8a, в таком направлении, чтобы прижать внешнюю боковую сторону 8d кольца 8b к направляющей поверхности 9b, т.е. в направлении оси X на фиг.5.
Как пояснено выше, направляющая поверхность 9b, с которой контактирует внешняя боковая сторона 8d кольца 8b, является наклонной поверхностью. Следовательно, в этом случае направляющая поверхность 9b служит для того, чтобы прикладывать направленную внутрь составляющую Fc толкающей силы F к внешней боковой стороне 8d кольца 8b, другими словами, применять обращенную вниз составляющую Fc толкающей силы F к внешней боковой стороне 8d кольца 8b вдоль направления оси Y на фиг.5. Как результат, внешней боковой стороне 8d кольца 8b обеспечивается возможность скольжения по направляющей поверхности 9b от внешней периферийной стороны к внутренней периферийной стороне. По этой причине кольцо 8b, частично перекрывающееся на внешней периферийной стороне кольца 8a, может легко размещаться в пазе 7 элемента 1 при направлении посредством направляющей поверхности 9b.
Следовательно, кольцо 8 может быть легко размещено в пазе 7 элемента 1, и простота сборки приводного ремня V тем самым повышается. Более того, поскольку кольцо 8 тем самым размещается в пазе 7 элемента 1 плавно, можно предотвратить повреждение поверхности кольца 8 посредством края выступающей части 9 элемента 1. Как результат, снижение долговечности приводного ремня V может быть предотвращено.
Второй пример
Далее поясняется второй пример элемента и кольца приводного ремня со ссылкой на фиг.6 и 7. Согласно ранее описанному первому примеру ширина обоих колец 8a и 8b, составляющих кольцо 8, является полностью постоянной. С другой стороны, согласно второму примеру кольцо также содержит два кольца, но каждое кольцо содержит два слоя различной ширины. В частности, ширина обоих внутренних колец является полностью постоянной, и ширина каждого внешнего кольца также является полностью постоянной, но меньшей, чем ширина внутреннего кольца. Оставшиеся элементы второго примера идентичны таковым из первого примера, показанным на фиг.1 и 2, так что дополнительное пояснение элементов, общих с первым примером, опускается путем предоставления общих ссылочных позиций.
В примере, показанном на фиг.6, две линии колец 21a и 21b используются так, чтобы составить кольцо 21, вместо колец 8a и 8b первого примера. Как показано на фиг.6, внешние кольца 21c и 21d по отдельности сформированы на кольцах 21a и 21b, и ширина внешних колец 21c и 21d меньше, чем ширина колец 21a и 21b.
В частности, как и в кольцах 8a и 8b первого примера, ширина колец 21a и 21b является полностью постоянной, и эти кольца 21a и 21b выровнены в одну линию параллельно друг другу. Как описано выше, внешние кольца 21c и 21d по отдельности сформированы на внешних периферийных поверхностях колец 21a и 21b, и общая ширина внешних колец 21c и 21d меньше, чем зазор между торцевыми поверхностями 9a выступающих частей 9.
Более конкретно, как показано на фиг.6, ширина L3 кольца 21, т.е. общая ширина колец 21a и 21b, выровненных в одну линию параллельно друг другу, больше, чем ширина W1 и W2 раскрытия, но меньше, чем ширина W3. С другой стороны, ширина L4, т.е. общая ширина внешних колец 21c и 21d, меньше, чем ширина W1 раскрытия. В дополнение к вышеупомянутому кольца 21a и 21b по отдельности сконструированы так, чтобы иметь ширину, которая может составлять общую максимальную ширину кольца 21 меньше, чем ширина W1 раскрытия, когда кольца частично перекрываются для того, чтобы легко размещаться в пазе 7 элемента 1.
Следовательно, кольцо 21 может входить в паз 7 из зазора между торцевыми поверхностями 9a за счет частичного перекрывания колец 21a и 21b. Далее элемент 1 перемещается в часть, где кольца 21a и 21b выровнены в одну линию параллельно друг другу. Как следствие, внешние боковые стороны 21e и 21f колец 21a и 21b принимаются по отдельности в зазорах между выступающей частью 9 и нижней частью 7a (или седловидной поверхностью 4a), с тем, чтобы кольца 21a и 21b могли удерживаться в пазе 7, и отделение кольца 21 от элемента 1 тем самым предотвращается. Альтернативно также можно выравнивать в одну линию частично перекрывающиеся кольца 21a и 21b параллельно друг другу снова в пазе 7. Как пояснено выше, обе из торцевых поверхностей 9a, т.е. направляющих поверхностей 9b, с которыми внешние боковые стороны 21e и 21f по отдельности контактируют, наклонены с тем, чтобы постоянно увеличивать зазор между ними от внешней периферийной стороны к внутренней периферийной стороне. Следовательно, внешние боковые стороны 21e и 21f плавно направляются в паз 7 элемента 1.
В дополнение к вышеупомянутому преимуществу согласно примеру, показанному на фиг.6, прочность кольца 21 может быть повышена посредством формирования внешних колец 21c и 21d по отдельности на кольцах 21a и 21b, чтобы увеличить толщину кольца 21 в пределах зазора между торцевыми поверхностями 9a без ухудшения легкости вхождения кольца 21 в паз 7 элемента 1.
Например, прочность кольца 8 из приводного ремня V, показанного на фиг.1, может быть повышена за счет формирования дополнительных внешних колец 21c и 21d по отдельности на кольцах 8a и 8b, эффективно используя пространство между торцевыми поверхностями 9a. Помимо этого перегрузочная способность по крутящему моменту приводного ремня V может также быть увеличена без изменения конструкции элемента 1.
Фиг.7 показывает модифицированный пример второго примера. Как и кольцо 21, показанное на фиг.6, кольцо 22 также содержит две линии колец 22a и 22b, и внешние кольца 22c и 22d, более узкие, чем кольца 22a и 22b, сформированы по отдельности на кольцах 22a и 22b.
В частности, ширина колец 22a и 22b является полностью постоянной, и эти кольца 22a и 22b выровнены в одну линию параллельно друг другу. Как описано выше, внешние кольца 22c и 22d по отдельности сформированы на внешних периферийных поверхностях колец 22a и 22b, и общая ширина внешних колец 22c и 22d меньше, чем ширина W1 раскрытия, т.е. меньше зазора между выступающими частями 9.
Согласно кольцу 22, показанному на фиг.7, толщина T2 кольца 22c или 22d больше, чем толщина T1 кольца 22a или 22b. Другими словами, толщина T1 кольца 22a или 22b уменьшена в максимально возможной степени в пределах допустимого диапазона, чтобы не ухудшать прочность и применимость кольца 22. В связи с этой меньшей толщиной колец 22a и 22b, высота 6b стойки 6, другими словами, высота паза 7 элемента 1 между внутренней периферийной поверхностью (т.е. нижней поверхностью в направлении оси Y на фиг.7) выступающей части 9 и нижней частью 7a (или седловидной поверхностью 4a), где внешние боковые стороны 22e и 22f колец 22a и 22b должны быть размещены, также уменьшена в максимально возможной степени.
Таким образом, согласно примеру, показанному на фиг.7, толщина T1 кольца 22a или 22b уменьшена в максимально возможной степени, и высота 6b стойки 6 для размещения кольца 22a или 22b уменьшена в максимально возможной степени. По этой причине вес и момент инерции элемента 1 может быть уменьшен. Таким образом, нагрузка на ремень 22, вытекающая из момента инерции элемента 1 при приведении приводного ремня V, уменьшается. В результате долговечность кольца 22, а значит, и приводного ремня V повышается.
В первом и втором примерах направляющая поверхность 9b – это плоская поверхность, наклоненная таким образом, чтобы постоянно увеличивать расстояние между торцевыми поверхностями 9a выступающих частей 9 от внешней периферийной стороны к внутренней периферийной стороне. Тем не менее, как показано на фиг.8, направляющая поверхность 9b также может быть изогнутой поверхностью (т.е. выпуклой или вогнутой поверхностью), наклоненной таким образом, чтобы постоянно увеличивать расстояние между торцевыми поверхностями 9a выступающих частей 9 от внешней периферийной стороны к внутренней периферийной стороне. Другими словами, направляющая поверхность 9b также может быть поверхностью, профиль которой является дугообразным.
Третий пример
Третий пример, который должен быть пояснен далее со ссылкой на фиг.9-13, является примером устройства сборки приводного ремня V по изобретению. Вышеупомянутые первый и второй примеры являются примерами для того, чтобы повышать простоту сборки приводного ремня V и не допускать снижения долговечности приводного ремня V посредством использования элемента 1, содержащего наклонную поверхность 9b, сформированную на торцевой поверхности 9a выступающей части 9, с тем, чтобы помочь кольцам 8a и 8b (или кольцам 21a и 21b, или 22a и 22b во втором примере) плавно размещаться в зазоре между внутренней периферийной поверхностью выступающей части 9 и нижней частью 7a в пазе 7. С другой стороны, согласно третьему примеру устройство M сборки приводного ремня V, содержащее направляющее средство, используется для того, чтобы повышать простоту сборки приводного ремня V и не допускать снижения долговечности приводного ремня V. Соответственно дополнительное пояснение элементов приводного ремня, уже поясненных в первом и втором примере со ссылкой на фиг.1-8, опускается путем предоставления общих номеров ссылочных позиций.
Фиг.9 и 11 представляют собой виды спереди устройства M сборки по изобретению для сборки приводного ремня V. Более конкретно фиг.9 и 11 являются видами спереди устройства M сборки от внутренней периферийной стороны приводного ремня V, когда оно используется для того, чтобы собирать приводной ремень V. С другой стороны, фиг.10 и 12 – это виды сбоку в разрезе устройства M сборки. Более конкретно фиг.10 и 12 показывают поперечное сечение устройства M сборки, вертикальное к направлению периферийной длины приводного ремня V. Помимо вышеозначенного фиг.9 и 10 указывают состояние, когда устройство M сборки удерживает элемент 1, а фиг.11 и 12 указывают состояние до того, как устройство M сборки удерживает элемент 1.
Как показано на фиг.9-12, элемент 32 стойки устанавливается и фиксируется практически вертикально на элементе 31 основания, и элемент 33 удержания элементов соединяется с передней торцевой частью элемента 32 стойки через ось 34 таким образом, чтобы поворачиваться перпендикулярно направлению длины приводного ремня V.
Элемент 32 стойки – это металлический элемент стойки или металлический пластинчатый элемент, содержащий поверхность 32a установки на одной из своих поверхностей. В этом примере поверхность 32a установки сформирована на левой поверхности элемента 32 стойки, как показано на фиг.10 и 12, и внешняя периферийная поверхность обеих выступающих частей 9 контактирует с поверхностью 32a установки, когда устройство M сборки содержит элемент 1. Элемент 32 стойки дополнительно содержит паз 32b рядом с центром поверхности, на которой сформирована поверхность 32a установки.
Элемент 33 удержания элементов содержит рычажную часть 33a, например, из металлической стойки или металлического бруска и удерживающую часть 33b, изготовленную из металла. В частности, одна из торцевых частей рычажной части 33a (т.е. правая торцевая часть на фиг.10 и 12) соединена с возможностью поворота с элементом 32 стойки через ось 34, и удерживающая часть 33b сформирована на другой торцевой части (т.е. на левой торцевой части на фиг.10 и 12).
Удерживающая часть 33b содержит удерживающую поверхность 33c, с которой контактирует боковая поверхность 2 или 3 элемента 1, когда устройство M сборки удерживает элемент 1. При этом наклон удерживающей поверхности 33c идентичен наклону боковой поверхности 2 и 3 элемента 1.
В примере, показанном на фиг.9-12, направляющая часть 35 сформирована над пазом 32b для направления кольца 8 в паз 7 элемента 1. Направляющая часть 35 может быть сформирована неразъемно с элементом 32 стойки. Альтернативно направляющая часть 35 также может быть отдельным элементом, который должен быть размещен с элементом 32 стойки.
Поверхность направляющей части 35, обращенной к стороне базовой части 3, является контактирующей поверхностью 35a, с которой контактирует внешняя боковая поверхность кольца 8, когда размещается в пазе 7 элемента 1, и противостоящая поверхность направляющей части 35 является задней поверхностью 35b, с которой контактирует или противостоит торцевая поверхность 9a одной из выступающих частей 9, когда устройство M сборки удерживает элемент 1.
Задняя поверхность 35b – это плоская поверхность, перпендикулярная поверхности 32a установки. С другой стороны, контактирующая поверхность 35a является наклонной поверхностью, проходящей от нижней поверхности паза 32b элемента 32 стойки к переднему краю задней поверхности 35b, другими словами, к внутреннему краю торцевой поверхности 9a одной из выступающих частей 9 в случае, если элемент 1 удерживается посредством устройства M сборки. Следовательно, внешняя боковая сторона 8c или 8d кольца 8a или 8b может быть плавно помещена в зазор между внутренней поверхностью выступающей части 9 и нижней частью 7a паза 7 элемента 1.
В случае размещения кольца 8 в пазе 7 элемента 1 кольца 8a и 8b частично перекрываются. В частности, в примере, показанном на фиг.10 и 12, кольцо 8a перекрывается на внутренней периферийной стороне, следовательно, внешняя боковая сторона 8c кольца 8a сначала размещается в зазоре между внутренней поверхностью выступающей части 9 и нижней частью 7a. Затем кольцо 8b, которое перекрывается на внешней периферийной стороне, проталкивается к зазору между внутренней поверхностью выступающей части 9 и нижней частью 7a противоположной стороны. Как результат, внешняя боковая сторона 8d кольца 8d контактирует с направляющей поверхностью 35a.
В этом случае, поскольку контактирующая поверхность 35a наклонена, как пояснено выше, составляющая толкающей силы, проталкивающей кольцо 8b, прикладывается к внешней боковой стороне 8d кольца 8b во внутреннем периферийном направлении (т.е. к левой стороне на фиг.10). Следовательно, внешняя боковая сторона 8d скользит по контактирующей поверхности 35a во внутреннем периферийном направлении к пазу 7. Таким образом, наружное перекрывающееся кольцо 8b направляется посредством контактирующей поверхности 35a, когда подталкивается так, чтобы разместиться в пазе 7. Как результат, внешняя боковая сторона 8d наружного перекрывающегося кольца 8b может быть плавно размещена в зазоре между внутренней поверхностью выступающей части 9 и нижней частью 7a.
Следовательно, кольцо 8 может быть легко размещено в пазе 7 элемента 1, и простота сборки приводного ремня V тем самым повышается. Более того, поскольку кольцо 8b не контактирует непосредственно с выступающей частью 9, когда размещено в пазе 7, можно предотвратить повреждение поверхности кольца 8b посредством края выступающей части 9. По этой причине снижение долговечности приводного ремня V может быть предотвращено.
Соответственно, направляющая часть 35, содержащая контактирующую поверхность 35a, соответствует направляющему средству для приложения направленной внутрь составляющей толкающей силы, толкающей кольцо 8a или 8c к внешней боковой стороне 8c или 8d, тем самым помогая кольцу 8a или 8c размещаться в пазе 7 элемента 1.
В третьем примере, показанном на фиг.9-12, контактирующая поверхность 35a – это наклонная плоская поверхность, проходящая из низа паза 32b к переднему краю задней поверхности 35b. Тем не менее, контактирующая поверхность также может быть наклонной изогнутой поверхностью (т.е. выпуклой или вогнутой поверхностью), проходящей из низа паза 32b к переднему краю задней поверхности 35b, как показано на фиг.13. Другими словами, контактирующая поверхность 35a также может быть поверхностью, профиль которой является дугообразным.
Первый пример сборки
Далее поясняется пример процедуры для операции сборки приводного ремня V со ссылкой на фиг.1-5 и 9-12. Сначала поясняется пример сборки приводного ремня V с помощью элемента 1, содержащего направляющую поверхность 9b на торцевой поверхности 9a обеих выступающих частей 9 для помощи при размещении кольца 8 в зазоре между внутренней поверхностью выступающей части 9 и нижней частью 7a.
Сначала заданные части в направлении длины колец 8a и 8b, выровненных в одну линию параллельно друг другу, перекрываются. Как показано на фиг.4, когда кольца 8a и 8b частично перекрыты, оставшаяся часть колец 8a и 8b поддерживается параллельной друг другу. Альтернативно кольца 8a и 8b также могут частично перекрываться по всей длине.
Ширина L2 кольца 8, уменьшенная таким образом за счет частичного перекрывания колец 8a и 8b, меньше ширины W1 раскрытия элемента 1. Следовательно, кольцо 8 может входить в паз 7 элемента 1 из перекрывающейся части. Альтернативно кольцо 8 может также входить во множество пазов 7 одновременно посредством предварительного размещения заданных частей элементов 1. Далее внешняя боковая сторона 8c кольца 8a, частично перекрывающаяся внутри кольца 8b, входит в один из зазоров между внутренней периферийной поверхностью выступающей части 9 и нижней частью 7a паза 7 (т.е. в левой стороне фиг.3).
В случае частичного перекрывания колец 8a и 8b и если оставшаяся часть этих колец 8a и 8b выровнена в одну линию параллельно друг другу, элемент(ы) 1, размещающий перекрывающуюся часть колец 8a и 8b в своем пазе(ах) 7, затем перемещается в направлении длины кольца 8 к части, где кольца 8a и 8b совмещены в одну линию параллельно друг другу. Как описано выше, ширина L1 колец 8a и 8b, выровненных в одну линию параллельно друг другу, меньше, чем ширина W2 элемента 1, но больше, чем ширина W1 раскрытия элемента 1. Тем самым внешняя боковая сторона 8d кольца 8b, частично перекрывающаяся внутри кольца 8a, также входит в пространство между внутренней периферийной поверхностью выступающей части 9 и нижней частью 7a другой стороны (т.е. в правой стороне фиг.3) посредством перемещения элемента(ов) 1, размещающего перекрывающуюся часть колец 8a и 8b в пазе(ах) 7, к части, где кольца 8a и 8b выровнены в одну линию параллельно друг другу. Как результат, кольца 8a и 8b удерживаются плотно в пазе 7 за счет выступающих частей 9 и кольца 8a и 8b размещены должным образом в пазе 7 элемента.
Вышеописанная процедура монтажа кольца 8 в паз(ы) 7 и перемещение элемент(а) 1 к части, где кольца 8a и 8b выровнены в одну линию параллельно друг другу, повторяется последовательно.
Как описано выше, кольца 8a и 8b могут свободно перемещаться на начальной фазе вышеописанной процедуры установки кольца 8 в паз 7 элемента 1 так, чтобы кольца 8a и 8b могли перекрываться сравнительно легко. Тем не менее, перемещение колец 8a и 8b в конечном счете должно быть ограничено с увеличением числа первых элементов 1a, сцепляемых через охватываемые и охватывающие соединения 11 и 12 и удерживающих кольца 8a и 8b. Таким образом, в конечном счете перекрывание колец 8a и 8b затруднено. Согласно изобретению, тем не менее, кольца 8a и 8b все еще могут быть закручены даже на этой стадии посредством поворотного перемещения элементов 1, сцепляемых друг с другом и размещающих кольцо 8 в пазе 7, что достигается посредством применения внешней силы к элементу 1 заданным способом.
Когда кольцо 8 входит в паз 7 всех назначенных частей элементов 1, внешняя сила для поворачивания элемента 1 убирается так, чтобы повернутый элемент 1 снова разгружался, и перекрывающиеся кольца 8a и 8b таким образом возвращались, чтобы быть параллельными друг другу. В результате кольца 8a и 8b, составляющие кольцо 8, полностью выровнены в одну линию параллельно друг другу в пазах 7 сцепленных элементов 1.
Когда перекрывающиеся кольца 8a и 8b снова выровнены в одну линию параллельно друг другу в пазе 7, кольцо 8b, перекрывающееся на внутренней периферийной стороне, размещается в зазоре между внутренней периферийной стороной выступающей части 9 и нижней частью 7a. Тем самым сборка приводного ремня V закончена. Тем не менее, согласно традиционному элементу E, показанному на фиг.14, торцевая поверхность Eb замковой части Ea и внешняя боковая сторона Ra кольца R мешают друг другу, и это затрудняет размещение кольца R в пазе элемента E.
Чтобы разрешить вышеупомянутую проблему, элемент 1, используемый в способе сборки приводного ремня V по изобретению, содержит направляющую поверхность 9b, сформированную на торцевой поверхности 9a обеих выступающих частей 9, с тем, чтобы помогать кольцу 8 размещаться в зазоре между внутренней периферийной поверхностью выступающей части 9 и нижней частью 7a паза 7. Поэтому согласно изобретению кольцо 8 может быть легко размещено в пазе 7. Более того, можно предотвратить повреждение поверхности кольца 8 посредством края выступающей части 9 элемента 1.
В частности, при возврате перекрывающихся колец 8a и 8b, которые должны быть выровнены в одну линию параллельно друг другу, толкающая сила F прикладывается к кольцу 8b, перекрывающему снаружи кольцо 8a, чтобы протолкнуть кольцо 8b к боковой стороне элемента 1 (в направлении ширины элемента 1), тем самым проталкивая внешнюю боковую сторону 8d кольца 8b на торцевую поверхность 9a, т.е. на направляющую поверхность 9b выступающей части 9.
Как пояснено выше, поскольку направляющая поверхность 9b наклоняется так, чтобы постоянно увеличивать расстояние между торцевыми поверхностями 9a от внешней периферийной стороны к внутренней периферийной стороне, компонент Fc толкающей силы F прикладывается к внешней боковой стороне 8d кольца 8b во внутреннем периферийном направлении (т.е. вниз по оси Y на фиг.5), когда толкающая сила F прикладывается к кольцу 8b, тем самым проталкивая внешнюю боковую сторону 8d на направляющую поверхность 9b. Следовательно, внешняя боковая сторона 8d скользит по направляющей поверхности 9b от внешней периферийной стороны к внутренней периферийной стороне, когда размещена в пазе 7 элемента 1. Таким образом, кольцо 8b, перекрывающее снаружи кольцо 8a, направляется посредством направляющей поверхности 9b, с тем, чтобы кольцо 8b могло быть плавно размещено в зазоре между внутренней периферийной стороной выступающей части 9 и нижней частью 7a. Как результат, кольца 8a и 8b становятся параллельными друг другу, операция размещения кольца 8 в пазе элемента 1 завершена.
Согласно первому примеру сборки приводного ремня V, следовательно, кольцо 8 может быть плавно размещено в пазе 7 элемента 1, и простота сборки приводного ремня V тем самым повышается. Более того, поскольку кольцо 8b не контактирует непосредственно с выступающей частью 9, когда размещено в пазе 7, можно предотвратить повреждение поверхности кольца 8b посредством края выступающей части 9. По этой причине снижение долговечности приводного ремня V может быть предотвращено.
Второй пример сборки
Далее поясняется второй пример сборки приводного ремня V с помощью устройства сборки приводного ремня V, содержащего направляющее средство для помощи размещения кольца 8 в пазе 7 элемента 1, что описано в третьем примере.
Сначала заданные части в направлении длины колец 8a и 8b, выровненных в одну линию параллельно друг другу, перекрываются. Как показано на фиг.4, когда кольца 8a и 8b частично перекрыты, оставшаяся часть колец 8a и 8b поддерживается параллельной друг другу. Альтернативно кольца 8a и 8b также могут частично перекрываться по всей длине.
С другой стороны, элемент 1 устанавливается на части 31 основания таким образом, чтобы соприкасаться одной из своих боковых поверхностей 2 и 3 с основанием 31. В примере, показанном на фиг.12, боковая поверхность 2 соприкасается с поверхностью 31a основания. Затем перекрывающаяся часть колец 8a и 8b размещается в пазе 7 элемента 1, и внешняя боковая поверхность 8c кольца 8a, перекрывающегося внутри кольца 8b, размещается в одном из зазоров между внутренней периферийной частью 9 и нижней частью 7a (нижней стороны по фиг.10 и 12).
Элемент 1, тем самым удерживающий внешнюю боковую сторону 8c кольца 8a в зазоре между выступающей частью 9 и нижней частью 7a, удерживается посредством устройства M сборки. В частности, внешние периферийные поверхности обеих выступающих частей 9 контактируют с поверхностью 32a установки элемента 32 стойки, и элемент 1 удерживается посредством удерживающего элемента 33b при прижатии удерживающей поверхности 33c к другой боковой поверхности 3 элемента 1.
После такого удержания элемента 1 посредством устройства M сборки толкающая сила F применяется к кольцу 8b, перекрывающему снаружи кольцо 8a в направлении ширины элемента 1 (т.е. в вертикальном направлении на фиг.10 и 12), чтобы проталкивать внешнюю боковую сторону 8d кольца 8b на контактирующую поверхность 35a.
Как пояснено выше, поскольку контактирующая поверхность 35a является наклонной поверхностью, идущей от нижней поверхности паза 32b элемента 32 стойки к переднему краю задней поверхности 35b, направленная внутрь составляющая толкающей силы F (т.е. к левой стороне на фиг.10 и 12) прикладывается к внешней боковой стороне 8d кольца 8b, когда кольцо 8b подталкивается посредством толкающей силы F.
Как результат, внешняя боковая сторона 8d скользит по контактирующей поверхности 35a во внутреннем периферийном направлении к пазу 7, т.е. внешняя боковая сторона 8d кольца 8b, перекрывающего снаружи, направляется посредством контактирующей поверхности 35a так, чтобы быть плавно размещенной в зазоре между внутренней поверхностью выступающей части 9 и нижней частью 7a. Следовательно, кольца 8a и 8b возвращаются параллельно друг другу в пазе 7 элемента 1.
Вышеприведенная процедура размещения кольца 8 в пазе 7 элемента 1 повторяется многократно, и сборка приводного ремня V должна быть выполнена, когда кольцо 8 размещено в пазе 7 всех из требуемого числа элементов 1.
Следовательно, согласно второму примеру сборки приводного ремня V кольцо 8 может быть плавно размещено в пазе 7 элемента 1, и простота сборки приводного ремня V тем самым повышается. Более того, поскольку кольцо 8b не контактирует непосредственно с выступающей частью 9, когда размещено в пазе 7, можно предотвратить повреждение поверхности кольца 8b посредством края выступающей части 9. По этой причине снижение долговечности приводного ремня V может быть предотвращено.
Следует отметить, что настоящее изобретение не должно быть ограничено вышеупомянутым примером. Таким образом, хотя примеры настоящего изобретения, приведенные выше, касаются приводного ремня, используемого в бесступенчатой трансмиссии ременного типа, настоящее изобретение может также быть применено к приводному ремню, который должен применяться в трансмиссии другого вида, составленной главным образом из ремня и шкивов.
Формула изобретения
1. Приводной ремень, в котором множество элементов сцеплено кольцеобразно таким образом, чтобы расположить их паз так, чтобы он раскрывался к внешней периферийной стороне, и в котором два ряда бесконечных колец размещены параллельно друг другу в пазе элемента, содержащий выступающие части для удержания колец, чтобы не допустить отделение колец от паза, которые выступают из внешней периферийной стороны внутренних стенок паза к центру по ширине элемента, чтобы уменьшить максимальный зазор между их торцевыми поверхностями до ширины меньшей, чем общая ширина колец; и направляющую поверхность для формирования направленной внутрь составляющей толкающей силы, проталкивающей одно из колец на нее, которая сформирована на, по меньшей мере, одной из торцевых поверхностей выступающих частей.
2. Приводной ремень по п.1, в котором зазор между направляющей поверхностью и торцевой поверхностью другой выступающей части становится постоянно шире к внутренней периферийной стороне.
3. Приводной ремень по п.2, в котором направляющая поверхность включает в себя наклонную поверхность, сформированную на торцевой поверхности выступающей части.
4. Приводной ремень по любому из пп.1-3, в котором элемент содержит охватываемое соединение, выступающее к соседнему элементу на одной из поверхностей, противоположных соседнему элементу, и охватывающее соединение, в которое охватываемое соединение входит свободно, на поверхности, противоположной поверхности, где сформировано охватываемое соединение; и каждый из элементов сцеплен с возможностью поворота с обоими из соседних элементов посредством охватываемых и охватывающих соединений.
5. Приводной ремень по п.4, в котором охватываемое соединение и охватывающее соединение соответственно сформированы в одной точке поверхности, где сформированы соответственно охватываемое соединение и охватывающее соединение.
6. Приводной ремень по п.5, в котором охватываемые и охватывающие соединения соответственно сформированы по центру ширины поверхности, где сформированы соответственно охватываемые и охватывающие соединения.
7. Приводной ремень по любому из пп.1-3 или 5-6, в котором кольцо содержит внешний слой, который накладывается на внешнюю поверхность кольца в пазе и который расположен между выступающими частями.
8. Приводной ремень по п.4, в котором кольцо содержит внешний слой, который накладывается на внешнюю поверхность кольца в пазе и который расположен между выступающими частями.
9. Устройство сборки приводного ремня, в котором множество элементов сцеплено кольцеобразно таким образом, чтобы расположить их паз так, чтобы он раскрывался к внешней периферийной стороне, и в котором два ряда бесконечных колец размещены параллельно друг другу в пазе элемента и удерживаются посредством выступающих частей, сформированных на стороне конца раскрытия внутренних стенок паза, чтобы предотвратить раскрепление колец, содержащее направляющее средство для направления кольца к внутренней периферийной стороне выступающей части при размещении колец в пазе.
10. Устройство по п.9, в котором направляющее средство включает в себя средство формирования периферийной направленной внутрь составляющей толкающей силы, когда одно из колец проталкивается ближе к одной выступающей части в направлении ширины, и поперечная сторона проталкиваемого кольца соприкасается с ней.
11. Устройство по п.10, в котором направляющее средство содержит контактирующую поверхность, с которой контактирует боковая сторона проталкиваемого кольца; и контактирующая поверхность сформирована таким образом, что расстояние между контактирующей поверхностью и торцевой поверхностью выступающей части, обращенной к центру по ширине, становится меньше согласно направлению от внешней периферийной стороны к внутренней периферийной стороне.
12. Устройство по п.11, в котором контактирующая поверхность является наклонной плоской поверхностью, с которой контактирует с возможностью скольжения боковая сторона проталкиваемого кольца.
13. Способ сборки приводного ремня, в котором множество элементов сцеплено кольцеобразно таким образом, чтобы расположить их паз так, чтобы он раскрывался к внешней периферийной стороне, и в котором два ряда бесконечных колец размещены параллельно друг другу в пазе элемента и удерживаются посредством выступающих частей, сформированных на стороне конца раскрытия внутренних стенок паза, чтобы предотвратить раскрепление колец, при котором перекрывают два ряда колец; размещают внешнюю боковую сторону внутреннего перекрывающегося кольца во внутренней периферийной стороне одной выступающей части в пазе; и затем размещают наружное перекрывающееся кольцо во внутренней периферийной стороне другой выступающей части в пазе посредством проталкивания наружу перекрывающегося кольца к другой выступающей части при приложении направленной внутрь составляющей толкающей силы к внешней боковой стороне проталкиваемого кольца.
14. Способ по п.13, при котором прикладывают направленную внутрь составляющую толкающей силы, проталкивающей наружное перекрывающееся кольцо, к внешней боковой стороне проталкиваемого кольца посредством использования элемента, содержащего направляющую поверхность на торцевой поверхности, по меньшей мере, одной из выступающих частей, так, что зазор между направляющей поверхностью и торцевой поверхностью другой выступающей части увеличивался от внешней периферийной стороны к внутренней периферийной стороне.
15. Способ по п.14, при котором направляющая поверхность включает в себя наклонную поверхность, с которой контактирует с возможностью скольжения внешняя боковая сторона проталкиваемого кольца.
16. Способ по п.13, при котором прикладывают направленную внутрь составляющую толкающей силы, проталкивающей наружное перекрывающееся кольцо, к внешней боковой стороне проталкиваемого кольца, чтобы направлять проталкиваемое кольцо к внутренней периферийной стороне выступающей части в пазе, посредством использования устройства сборки, содержащего направляющее средство, имеющее контактирующую поверхность, сформированную таким образом, что расстояние до торцевой поверхности выступающей части, обращенной к центру по ширине, становится меньше согласно направлению от внешней периферийной стороны к внутренней периферийной стороне.
17. Способ по п.16, при котором контактирующая поверхность является наклонной плоской поверхностью, с которой контактирует с возможностью скольжения внешняя боковая сторона проталкиваемого кольца.
РИСУНКИ
|
|