|
|
(21), (22) Заявка: 2009112008/11, 02.04.2009
(24) Дата начала отсчета срока действия патента:
02.04.2009
(46) Опубликовано: 10.06.2010
(56) Список документов, цитированных в отчете о поиске:
SU 1467281 A1, 23.03.1989. SU 1732076 A1, 07.05.1992. JP 59231238 A, 25.12.1984. DE 3000511 A1, 16.07.1981.
Адрес для переписки:
607183, Нижегородская обл., г. Саров, ул. Московская, 13, кв.5, ООО “ДемпфОйл”, директору
|
(72) Автор(ы):
Мишанин Сергей Владимирович (RU), Голубев Петр Иванович (RU)
(73) Патентообладатель(и):
Общество с ограниченной ответственностью “ДемпфОйл” (RU)
|
(54) ВИБРОИЗОЛИРУЮЩАЯ ОПОРА
(57) Реферат:
Изобретение относится к устройствам защиты машин и механизмов от вибрационных и ударных нагрузок. Опора содержит цилиндр с опорным фланцем, помещенный в цилиндр поршень, прикрепленный к поршню подвижный установочный элемент, упругие элементы. Первый упругий элемент выполнен с возможностью передачи нагрузки в радиальном направлении, а второй – в осевом. Опора дополнительно снабжена уплотнением и прижимным элементом, установленным в цилиндре. Первый упругий элемент выполнен в форме втулки, второй – в виде двух шайб и одного кольца. Втулка и шайбы выполнены из нетканого пористого проволочного материала. Шток поршня пропущен через отверстие в кольце. Втулка нанизана на шток. Одна шайба размещена между поршнем и кольцом, а другая – между кольцом и прижимным элементом. Нижняя и верхняя полости цилиндра заполнены вязкой жидкостью и соединены через зазоры в пористом материале. Уплотнение соединено с цилиндром и штоком. Достигается повышение энергоемкости и надежности работы виброизолирующей опоры. 3 з.п. ф-лы, 4 ил.
Изобретение относится к устройствам защиты машин и механизмов от вибрационных и ударных нагрузок и может быть использовано в любой отрасли машиностроения.
Известен по АС СССР 1569459, F16F 5/00, от 22.06.87, опубл. в БИ 21 от 07.06.90, виброизолятор, содержащий основание, заполненное рабочей средой, упругие элементы и деталь для установки защищаемого объекта.
Недостатком виброизолятора является сложность его конструкции. Так, помимо упругих элементов, выполненных в виде кольцевых пластин, в основании выполнены четыре полости, образованные тремя эластичными мембранами. Две центральные полости, заполненные рабочей средой, соединены через калибровочные каналы выполненные в перегородке. При вибрационных нагрузках работают не только кольцевые пластины, но и эластичные мембраны. Использование эластичных мембран снижает сроки эксплуатации устройства из-за старения материала, из которых они изготовлены.
Известна также по кн. Д.Д.Чурабо, Детали и узлы приборов, конструирование и расчет, справочное пособие, 4-е издание исправленное и дополненное, Москва: «Машиностроение» 1975, стр.446-447, рис.18.11, виброизолирующая опора, содержащая основание, упругие элементы, выполненные из проволочных объемных сеток.
Недостатком данной опоры являются ограниченные демпфирующие свойства каждого из упругих элементов, которые характеризуются только их внутренним трением между проволочками. В результате повышение грузоподъемности такой опоры можно осуществить только, устанавливая последовательно упругие элементы по два, три или четыре.
В технике известно использование амортизационных вязких жидкостей для увеличения энергоемкости демпфирующего упругого элемента, выполненного из нетканого проволочного материала (далее, материал MP), например, в амортизаторе по АС СССР 968538.
Известная по АС СССР 1467281, F16F 5/00, от 23.04.86, опубл. в БИ 11 от 23.03.89, виброизолирующая опора, содержит цилиндр с опорным фланцем, нижняя и верхняя полости, которого заполнены рабочей средой, помещенный в цилиндре поршень, прикрепленный к поршню подвижный установочный элемент, упругие элементы, первый из которых выполнен с возможностью передачи нагрузки в радиальном направлении, а второй – выполнен с возможностью передачи нагрузки в осевом направлении.
Недостатком данной виброизолирующей опоры является то, что используемые в ней упругие элементы выполнены из непористых материалов, например из резины или полиуретана и других. Эти материалы изменяют свои упругие характеристики с понижением температуры окружающей среды, что в конечном итоге приводит к нестабильности демпфирующих свойств опоры. Использование таких упругих элементов, изготовленных из этих материалов, снижает сроки эксплуатации устройства из-за старения материала, которое приводит также к нестабильности демпфирующих свойств опоры.
Задачей, решаемой данным изобретением, является повышение энергоемкости и надежности работы виброизолирующей опоры.
Технический результат, достигаемый при использовании настоящего изобретения, заключается в возможности предлагаемой опоры защищать объект от силовых воздействий, вызванных вибрациями и ударными нагрузками. Использование упругих элементов из материала MP, выполненных в формах втулки и шайбы, обеспечивает защиту объекта от воздействий, направленных в осевом и радиальном направлениях. Наличие вязкой жидкости (рабочая среда), заполнившей зазоры в материале MP, дополнительно снизило податливость упругих элементов. При колебательных движениях упругих элементов в материале MP в работу вступает не только его внутреннее трение, но и совершается работа по перемещению вязкой жидкости в его зазорах (порах). В результате в материале MP, обладающем достаточно большой жесткостью, повышены демпфирующие свойства использованием действия сил вязкого трения. Возможность увеличения числа колец и шайб обеспечила расширение диапазона нагрузочной способности опоры. Снабжение опоры установочным элементом позволило осуществлять регулировку положения защищаемого объекта по высоте.
Указанный выше технический результат достигается тем, что виброизолирующая опора, содержащая цилиндр с опорным фланцем, нижняя и верхняя полости которого заполнены рабочей средой, помещенный в цилиндре поршень, прикрепленный к поршню подвижный установочный элемент, упругие элементы, первый из которых выполнен с возможностью передачи нагрузки в радиальном направлении, а второй – выполнен с возможностью передачи нагрузки в осевом направлении, дополнительно снабжена уплотнением и прижимным элементом, установленным в цилиндре. Первый упругий элемент выполнен в форме втулки. Второй упругий элемент выполнен, по меньшей мере, в виде двух шайб и одного кольца. Втулка и шайбы выполнены из нетканого пористого проволочного материала. При этом шток поршня пропущен через отверстие в кольце, втулка нанизана на шток поршня, одна из шайб размещена между поршнем и кольцом, а другая шайба – между кольцом и прижимным элементом. Нижняя и верхняя полости соединены через зазоры в пористом материале, заполненные вязкой жидкостью. Уплотнение соединено с цилиндром и штоком поршня. Число колец может быть выполнено больше одного, при этом между соседними кольцами дополнительно установлен упругий элемент, выполненный в виде шайбы. В поршне могут быть выполнены каналы, соединяющие нижнюю полость цилиндра с шайбой, поверхность которой соприкасается с поверхностью поршня, а также могут быть выполнены каналы в прижимном элементе, соединяющие верхнюю полость цилиндра с шайбой, поверхность которой соприкасается с поверхностью прижимного элемента. Со штоком поршня может быть соединен установочный элемент, выполненный с возможностью регулирования положения устанавливаемого объекта по высоте.
Выполнение упругих элементов из нетканого пористого проволочного материала (материал MP) позволило не зависеть от старения материала (резина, полиуретан и т.д.) и температурного режима работы, тем самым значительно увеличены сроки стабильной работы устройства. Пропуск штока поршня через отверстие в кольце и нанизывание первого упругого элемента, выполненного в форме втулки, в кольцевом зазоре между кольцом и штоком обеспечили возможность сжатия втулки при радиальном смещении штока поршня. Выполнение второго упругого элемента, по меньшей мере, в виде двух шайб и одного кольца, обеспечило возможность их попеременного сжатия при знакопеременных осевых перемещениях поршня. Для этого одна из шайб размещена между поршнем и кольцом, а другая шайба – между кольцом и прижимным элементом. Снабжение прижимным элементом и, по меньшей мере, одним кольцом, обеспечило возможность осуществления сжатия шайб. Соединение нижней и верхней полостей через зазоры в пористом материале, которые заполнены вязкой жидкостью, обеспечило попеременное выдавливание жидкости в эти полости и обратное заполнение жидкостью зазоров в материале. В результате обеспечено повышение демпфирующих свойств за счет действия сил вязкого трения. Снабжение уплотнением, которое соединено с цилиндром и штоком поршня, исключило возможность утечки вязкой жидкости и тем самым обеспечило увеличение срока стабильной работы устройства. Выполнение в поршне каналов, соединяющих нижнюю полость цилиндра с шайбой второго упругого элемента, поверхность которой соприкасается с поверхностью поршня, а также выполнение каналов в прижимном элементе, соединяющем верхнюю полость цилиндра с шайбой второго упругого элемента, поверхность которой соприкасается с поверхностью прижимного элемента, обеспечивает уменьшение сопротивления истечения вязкой жидкости из зазоров сжимаемого упругого элемента и заполнения ею зазоров в упругом элементе при его возвращении в исходное состояние. Количеством выполненных каналов можно регулировать величину этого сопротивления. В результате можно получить различные технические характеристики опоры при одних и тех же ее размерах. Выполнение числа колец больше одного и установка между соседними кольцами упругого элемента, выполненного в виде шайбы, обеспечивает грузоподъемность опоры. Количество таких элементов может быть два, три и так далее. Соединение со штоком поршня установочного элемента, выполненного с возможностью регулирования положения устанавливаемого объекта по высоте, обеспечит возможность регулировки его рабочего положения.
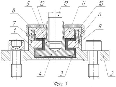
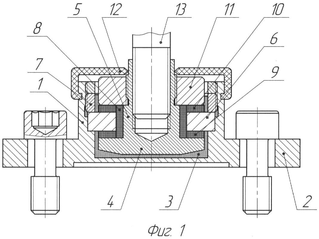
На фиг.1 представлена виброизолирующая опора (вариант 1); на фиг.2 – то же (вариант 2); на фиг.3 – то же (вариант 3), на фиг.4 – (вариант 4).
Виброизолирующая опора (см. фиг.1, вариант 1) содержит цилиндр 1 с опорным фланцем 2, нижняя (подпоршневая) и верхняя полости которого заполнены рабочей средой 3, например, вязкой жидкостью. В цилиндре 1 помещен поршень 4.
Шток 5 поршня 4 пропущен через отверстие в кольце 6, которое закреплено с помощью гайки 7, без возможности сдвига, в цилиндре 1.
В кольцевом зазоре между кольцом 6 и штоком 5 установлен первый упругий элемент, выполненный в форме втулки 8 (втулка нанизана на шток), второй упругий элемент выполнен в виде кольца 6 и двух шайб 9 и 10. Шайба 9 размещена между поршнем 4 и кольцом 6, а шайба 10 – между кольцом 6 и прижимным элементом 11 (гайка). Втулка 8 выполнена с возможностью передачи нагрузки в радиальном (горизонтальном) направлении. Шайбы 9 и 10 выполнены с возможностью передачи знакопеременной нагрузки в осевом (вертикальном) направлении.
Втулка 8 и шайбы 9, 10 выполнены из материала MP (нетканый пористый проволочный материал). Зазоры (поры) в материале MP заполнены рабочей средой 3. Между кольцом 6 и уплотнением 12 образована верхняя полость цилиндра 1 частично заполненная рабочей средой 3. Нижняя и верхняя полости соединены через зазоры в материале MP. Уплотнение 12 соединено с корпусом цилиндра 1 и штоком 5.
Уплотнение 12 может быть выполнено с различной формой (мембрана, манжета, кольцо и т.д.).
Со штоком 5 соединен установочный элемент 13, выполненный с возможностью регулирования положения устанавливаемого объекта (не показан) по высоте.
Виброизолирующая опора (фиг.1, вариант 1) работает следующим образом.
При установке защищаемого объекта на штоке 5, с помощью установочного элемента 13, нагрузка передается через упругие элементы 8, 9 и 10 на кольцо 6 и цилиндр 1. Под действием динамической нагрузки поршень 4 совместно с объектом может перемещаться в вертикальной и горизонтальной плоскостях. Демпфирующие свойства опоры обеспечиваются в радиальном (горизонтальном) направлении упругим элементом 8, а в осевом (вертикальном) направлении – упругими элементами 9 и 10. Демпфирование при колебаниях достигается за счет внутреннего трения в материале MP и жидкостного трения при перетекании рабочей среды 3 через зазоры в этом же материале. При сжатии упругих элементов 8, 9 и 10 рабочая среда 3, заполнившая их зазоры, вытесняется из них в нижнюю и верхнюю полости цилиндра 1. При возвращении упругих элементов 8, 9 и 10 в исходное состояние рабочая среда из полостей цилиндра 1 заполняет зазоры в этих элементах.
Величина сопротивления вытесняемой рабочей среды 3 зависит от ее условного прохода через зазоры, расположенные на кольцевых поверхностях шайб 9 и 10.
Для повышения грузоподъемности опоры упругие элементы, аналогичные шайбам 9 и 10, можно устанавливать последовательно по три, четыре и так далее.
Виброизолирующая опора (см. фиг.2, вариант 2) может быть выполнена с поршнем 14, в котором выполнены каналы 15, соединяющие нижнюю полость цилиндра 16 с шайбой 17, поверхность которой соприкасается с поверхностью поршня 14. Количество каналов 15 может быть различным. При этом в прижимном элементе 18 также выполнены каналы 19, соединяющие верхнюю полость цилиндра 16 с шайбой 20, поверхность которой соприкасается с поверхностью прижимного элемента 18. Прижимной элемент 18 укомплектован гайкой 21. Шайбы 17 и 20 выполнены из материала MP. Полости цилиндра 16 заполнены рабочей средой 22 (верхняя полость заполнена частично).
Виброизолирующая опора (фиг.2, вариант 2) работает аналогично виброизолирующей опоре, изображенной на фиг.1. Отличием является то, что величина сопротивления вытесняемой рабочей среды 22, например, вязкой жидкости зависит не только от ее условного прохода через зазоры, расположенные на кольцевых поверхностях шайб 17 и 20, но и от количества каналов 15 и 19. При наличии каналов 15 в поршне 14 и каналов 19 в прижимном элементе 18 величина сопротивления уменьшается на величину, кратную условному проходу через все каналы 15 и 19. Изменением количества каналов 15 и 19 можно регулировать величину этого сопротивления.
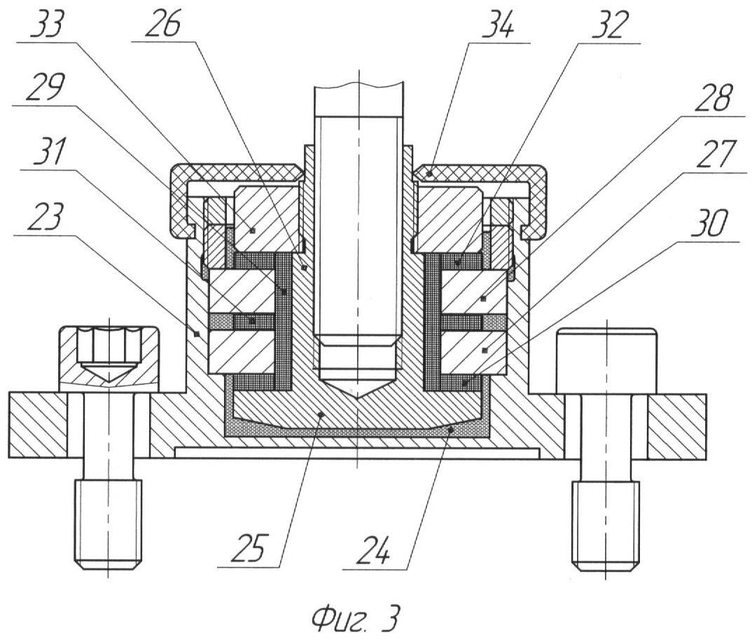
Виброизолирующая опора (см. фиг.3, вариант 3) содержит цилиндр 23, нижняя (подпоршневая) и верхняя полости которого заполнены рабочей средой 24, например вязкой жидкостью. В цилиндре 23 помещен поршень 25.
Шток 26 поршня 25 пропущен через отверстия в кольцах 27 и 28. В кольцевом зазоре между кольцами 27, 28 и штоком 26 установлен первый упругий элемент, выполненный в форме втулки 29 (втулка нанизана на шток), второй упругий элемент выполнен в виде трех шайб 30, 31 и 32. Упругие элементы 29, 30, 31 и 32 выполнены из материала MP. Шайба 30 размещена между поршнем 25 и кольцом 27, шайба 31 – между кольцами 27 и 28, а шайба 32 – между кольцом 28 и прижимным элементом 33. Кольца 27, 28 и шайбы 30, 31 и 32 установлены с возможностью осевого смещения в обе стороны.
Упругий элемент (втулка) 29 выполнен с возможностью передачи нагрузки в радиальном (горизонтальном) направлении. Упругий элемент, состоящий из колец 27, 28 и шайб 30, 31, 32, выполнен с возможностью передачи знакопеременной нагрузки в осевом (вертикальном) направлении.
Зазоры в материале MP заполнены рабочей средой 24. Между кольцом 28 и уплотнением 34 образована верхняя полость цилиндра 23, частично заполненная рабочей средой 24. Нижняя и верхняя полости соединены через зазоры в материале MP. Уплотнение 34 соединено с цилиндром 23 и штоком 26.
Уплотнение 34 может быть выполнено с различной формой (мембрана, манжета, кольцо и т.д.).
Виброизолирующая опора (фиг.3, вариант 3) работает аналогично виброизолирующей опоре, изображенной на фиг.1. Отличием является то, что при передаче знакопеременных нагрузок на шайбы 30, 31 и 32 они вместе с кольцами 27 и 28 сдвигаются в осевом (вертикальном) направлении вверх или вниз (при смещении вверх кольцо 27 и шайбы 30, 31 – подвижные, при смещении вниз кольцо 28 и шайбы 31, 32 – подвижные).
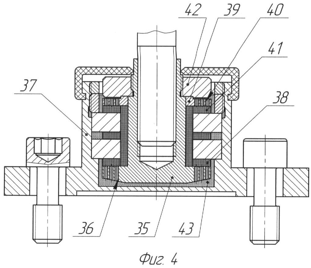
Виброизолирующая опора (см. фиг.4, вариант 4) может быть выполнена с поршнем 35, в котором выполнены каналы 36, соединяющие нижнюю полость цилиндра 37 с шайбой 38, поверхность которой соприкасается с поверхностью поршня 35. Количество каналов 36 может быть различным. При этом в прижимном элементе 39 также выполнены каналы 40, соединяющие верхнюю полость цилиндра 37 с шайбой 41, поверхность которой соприкасается с поверхностью прижимного элемента 39. Прижимной элемент 39 укомплектован гайкой 42. Шайбы 38 и 41 выполнены из материала MP. Полости цилиндра 37 заполнены рабочей средой 43 (верхняя полость заполнена частично).
Виброизолирующая опора (фиг.4, вариант 4) работает аналогично виброизолирующей опоре, изображенной на фиг.3. Отличием является то, что величина сопротивления вытесняемой рабочей среды 43, например, вязкой жидкости зависит не только от ее условного прохода через зазоры, расположенные на кольцевых поверхностях шайб 38 и 41, но и от количества каналов 36 и 40. При наличии каналов 36 в поршне 35 и каналов 40 в прижимном элементе 39 величина сопротивления уменьшается на величину, кратную условному проходу через все каналы 36 и 40. Изменением количества каналов 36 и 40 можно регулировать величину этого сопротивления.
Использование данного изобретения обеспечивает возможность защищать объект от силовых воздействий, вызванных вибрациями и ударными нагрузками. Использование упругих элементов из материала MP, выполненных в формах втулки и шайбы, обеспечивает защиту объекта от воздействий, направленных в осевом и радиальном направлениях. Наличие вязкой жидкости (рабочая среда), заполнившей зазоры в материале MP, дополнительно снизило податливость упругих элементов. При колебательных движениях упругих элементов в материале MP в работу вступает не только его внутреннее трение, но и совершается работа по перемещению вязкой жидкости в его зазорах (порах). В результате в материале MP, обладающем достаточно большой жесткостью, повышены демпфирующие свойства использованием действия сил вязкого трения. Возможность увеличения числа колец и шайб обеспечило расширение диапазона нагрузочной способности опоры. Снабжение опоры установочным элементом позволило осуществлять регулировку положения защищаемого объекта по высоте.
Формула изобретения
1. Виброизолирующая опора, содержащая цилиндр с опорным фланцем, нижняя и верхняя полости которого заполнены рабочей средой, помещенный в цилиндр поршень, прикрепленный к поршню подвижный установочный элемент, упругие элементы, первый из которых выполнен с возможностью передачи нагрузки в радиальном направлении, а второй выполнен с возможностью передачи нагрузки в осевом направлении, отличающаяся тем, что она дополнительно снабжена уплотнением и прижимным элементом, установленным в цилиндре, первый упругий элемент выполнен в форме втулки, второй упругий элемент выполнен, по меньшей мере, в виде двух шайб и одного кольца, втулка и шайбы выполнены из нетканого пористого проволочного материала, при этом шток поршня пропущен через отверстие в кольце, втулка нанизана на шток поршня, одна из шайб размещена между поршнем и кольцом, а другая шайба – между кольцом и прижимным элементом, нижняя и верхняя полости соединены через зазоры в пористом материале, заполненные вязкой жидкостью, уплотнение соединено с цилиндром и штоком поршня.
2. Виброизолирующая опора по п.1, отличающаяся тем, что число колец выполнено больше одного, при этом между соседними кольцами дополнительно установлен упругий элемент, выполненный в виде шайбы.
3. Виброизолирующая опора по п.1, отличающаяся тем, что в поршне выполнены каналы, соединяющие нижнюю полость цилиндра с шайбой, поверхность которой соприкасается с поверхностью поршня, а также выполнены каналы в прижимном элементе, соединяющие верхнюю полость цилиндра с шайбой, поверхность которой соприкасается с поверхностью прижимного элемента.
4. Виброизолирующая опора по п.1, отличающаяся тем, что со штоком поршня соединен установочный элемент, выполненный с возможностью регулирования положения устанавливаемого объекта по высоте.
РИСУНКИ
|
|