|
|
(21), (22) Заявка: 2008105201/11, 11.02.2008
(24) Дата начала отсчета срока действия патента:
11.02.2008
(43) Дата публикации заявки: 20.08.2009
(46) Опубликовано: 10.06.2010
(56) Список документов, цитированных в отчете о поиске:
Черменский О.Н., Федотов Н.Н., Подшипники качения: Справочник-каталог. – М.: Машиностроение, 2003, с.215-216. ЕР 0473143 А2, 04.03.1992. GB 1312790 А, 04.04.1973. RU 2226627 C2, 10.04.2004. SU 619704 A1, 15.08.1978.
Адрес для переписки:
423823, Республика Татарстан, г. Набережные Челны, а/я 23133
|
(72) Автор(ы):
Гонченко Борис Васильевич (RU), Махмутов Иршат Атауллович (RU)
(73) Патентообладатель(и):
Общество с ограниченной ответственностью научно-производственное объединение “ИНТЕРМАШ” (RU)
|
(54) КОМБИНИРОВАННЫЙ ПОДШИПНИК КАЧЕНИЯ БЕССЕПАРАТОРНЫЙ
(57) Реферат:
Изобретение относится к области машиностроения и может быть использовано во всех отраслях промышленности. Комбинированный подшипник качения бессепараторный состоит из упорного и радиального бессепараторных подшипников. Подшипник содержит наружное кольцо (1), которое совмещено с тугим кольцом (5) упорного подшипника, тела качения, размещенные между внутренним (2) и тугим (5) кольцами и выполненные в виде роликов двухступенчатого типа на участке радиального подшипника. Большая ступень роликов (3) верхнего яруса, имеющая четыре участка контактирует только с дорожкой качения кольца (1) по линии, а большие ступени роликов (4) нижнего яруса своими тремя участками контактируют только с дорожкой качения кольца (2) по линии. Меньшие ступени роликов (3), выполненные с тремя участками контактируют по линии с большими участками роликов (4). Между тугим кольцом (5) и участком кольца (1) расположены в два ряда конические ролики (6), контактирующие с дорожками качения и между собой. Ролики (6) выполнены с подпятниками, которые контактируют с упорным высоким бортом колец (5) и (1). Кольцо (1) содержит две защитные шайбы (7) и (8) на радиальном участке подшипника и две шайбы на участке упорного подшипника – вверху замковую шайбу (10) и внизу дополнительную шайбу (9). По крайней мере, на трех или на всех роликах (3) выполнены по оси ролика – подпятники, сферического типа, например, с одной стороны, которые контактируют с бортом кольца (1). Шайба (9) выполнена, например, сильфонного типа, а ролики (4) выполнены короткими. Технический результат: обеспечение высокой частоты вращения, реверсивной работы и длительной работы в аварийных условиях без смазки; снижение шума; повышение грузоподъемности, долговечности и надежности работы подшипника; устранение перекоса и заклинивания роликов. 4 ил.
Изобретение относится к области машиностроения и может быть использовано во всех отраслях промышленности.
Известны комбинированные подшипники качения с короткими цилиндрическими роликами. Например, 612888К, содержащий внутреннее и наружное кольца с дорожками качения, размещенные между ними тела качения, выполненные из четырех рядов коротких цилиндрических роликов, и содержащий с двух сторон два кольца с дорожками качения для цилиндрических роликов, которые выполняют роль упорных подшипников.
К недостаткам известного подшипника относятся малая частота вращения, наличие трения качения с проскальзыванием тел качения, повышенный шум, низкая долговечность, высокая температура нагрева, например от 100°С и более.
Известны комбинированные подшипники качения с игольчатыми роликами, например 594000. Их недостатки аналогичны недостаткам подшипников, описанных выше.
Известен подшипник качения радиальный роликовый бессепараторный – прототип по заявке 2006138364, содержащий однобортовое наружное и двухбортовое внутреннее кольца с дорожками качения, и размещенные между ними тела качения, выполненные в виде роликов двухступенчатого типа, большая ступень роликов верхнего яруса, имеющая два участка контактирует только с дорожкой качения наружного кольца по линии, большие ступени роликов нижнего яруса, выполненные с тремя участками контактируют только с дорожкой качения внутреннего кольца по линии, а меньшие ступени верхнего яруса, выполненные с тремя участками, контактируют по линии с большими ступенями роликов нижнего яруса, а наружное кольцо установлено на тела качения с предварительным натягом, с постоянной и одинаковой частотой вращения в противоположные стороны в каждом из ярусов, при этом должно выполняться условие сборки подшипника качения:

а наружное кольцо содержит две защитные шайбы, а в проточке меньших ступеней роликов нижнего яруса входят с зазором два участка больших ступеней роликов верхнего яруса, при этом диаметры трех участков больших ступеней нижнего яруса, контактирующих с тремя участками меньших ступеней роликов верхнего яруса, равны, и все ролики как верхнего, так и нижнего ярусов контактируют друг с другом и дорожками качения по трем линиям, образуя силовой единый замкнутый кольцевой комплект из роликов верхнего и нижнего яруса.
К недостаткам известного подшипника качения относится относительно невысокая грузоподъемность в радиальном направлении и малая, осевая, грузоподъемность, которая составляет, например, от 5 до 10% от неиспользованной радиальной нагрузки, при этом тела качения и борта колец подшипника нагреваются от трения скольжения. Это снижает долговечность подшипника.
Известные стандартные упорные подшипники качения с коническими роликами имеют основной недостаток – большое трение скольжения между торцами роликов и упорными бортами колец, когда под действием больших радиальных нагрузок борта изнашиваются и скалываются. Эти подшипники имеют малую допустимую частоту вращения, например скорости от 5 до 10 м/с, что и сдерживает их широкое применение.
Известен «Подшипник качения упорный с коническими роликами бессепараторный» – прототип по заявке 2007112894, содержащий свободное и тугое кольцо, расположенные между ними тела качения, выполненные в виде конических роликов, контактирующих с дорожками качения свободного и тугого кольца с постоянной и одинаковой частотой вращения, а на оси ролика расположен в расточке шар, контактирующий с упорным бортом кольца, шар опирается на подпятник, который состоит из комплекта шариков меньшего диаметра, в расточке шар зафиксирован запорным кольцом, а конические ролики расположены в два ряда и входят в контакт с дорожками качения колец и между собой по трем линиям, образуя единый замкнутый кольцевой комплект из роликов, при этом плоскость линейных контактов роликов одного ряда со вторым проходит, например, по продольной оси симметрии упорного подшипника.
К недостатку данного подшипника можно отнести отсутствие защитных шайб, которые бы защищали его тела качения от пыли, абразивных частиц, продуктов износа, например, от работающих шестерен.
Достоинством всех известных радиально-упорных подшипников качения являются их малые габариты. А недостатком их является наличие трения качения с проскальзыванием тел качения относительно дорожек качения подшипника, высокая температура нагрева, шум в подшипнике от 60 до 90 дБ. К недостатку относится невозможность качения тел качения сразу по двум различным по диаметрам дорожкам качения. При вращении внутреннего кольца, например, вправо, наружное кольцо должно вращаться влево от контакта с телами качения, а, как правило, оно защемлено. По этой причине тела качения скользят как по наружной, так и по внутренней дорожкам качения.
Цель изобретения:
– обеспечение более высокой частоты вращения;
– повышение грузоподъемности как осевой, так и радиальной;
– снижение шума, например, до 20 40 дБ;
– устранить перекосы и возможность заклинивания тел качения;
– обеспечить реверсивную работу;
– увеличить долговечность как недостаток, например, в 15 20 раз;
– защитить тела качения от попадания в зону качения пыли и продуктов износа от работающих узлов.
Поставленные цели и технический эффект изобретения достигается за счет того, что, по крайней мере, на трех или всех роликах верхнего яруса выполнены по оси ролика – подпятники сферического типа, например, с одной стороны, которые контактируют с бортом наружного кольца, при этом нижняя защитная шайба упорного участка подшипника выполнена, например, сильфонного типа, а ролики нижнего яруса выполнены короткими.
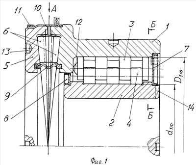
На фиг.1 изображен комбинированный подшипник качения бессепараторный. На фиг.2 приведено сечение Б-Б фиг.1 радиального участка подшипника с указанием направлений вращения тел качения и кольца подшипника, направление перемещения комплекта тел качения (если бы был сепаратор), а также точками показаны линейные контакты тел качения с дорожками качения и между собой. На фиг.3 приведена развертка тел качения упорного участка подшипника, вид А фиг.1 с указанием стрелками направления вращения тугого кольца и тел качения, а точками показаны линейные контакты тел качения с дорожками качения и между собой и направление перемещения комплекта конических роликов относительно дорожек качения подшипника. На фиг.4 приведена развертка расположения роликов в радиальном участке подшипника.
Комбинированный подшипник качения состоит из наружного кольца 1, внутреннего кольца 2, тел качения – роликов 3 и 4, тугого кольца 5, конических роликов 6, защитных шайб 7 и 8, защитной шайбы 9 упорного подшипника сильфонного типа, замковой шайбы 10, кольца 11, подпятника 12, трех цековок 13 на тугом кольце и трех цековок 13 на наружном кольце. На внутреннем кольце 2 выполнены, например, три паза 14. На конических роликах 6 выполнены подпятники по оси роликов – сферического типа, последние контактируют с высоким бортом колец 1 и 5. Подпятники 12 сферического типа расположены по оси роликов 3 верхнего яруса и контактируют с бортом кольца 1. Нижняя защитная шайба 9 жестко установлена в кольцевой проточке кольца 1, а в контакте с тугим кольцом 5 проходит со скольжением в проточке, при этом контактное кольцо шайбы 9 выполнено, например, из полиамида или углепластика. Защитная шайба 7 содержит, например, пресс-масленку для подачи смазки в полость радиального участка подшипника.
Большие ступени роликов 3 верхнего яруса и четыре их участка контактируют только с дорожкой качения по линии наружного кольца 1. Большие ступени роликов 4 нижнего яруса контактируют только с дорожкой качения внутреннего кольца 2 по линии. При этом каждый из роликов 3 и 4 контактирует со своими дорожками качения и между собой в трех местах, контакты линейные.
Конические ролики 6 расположены в два ряда с шахматным расположением в рядах, контактируют по трем линиям каждый, с углом контакта, равным 120°.
Кольцо 11 выполняет роль дополнительной жесткости участка замковой шайбы 10 и может быть установлена, например, на точечной или роликовой сварке.
Комбинированный подшипник качения бессепараторный работает следующим образом. При вращении кольца 2 вправо (см. фиг.2) ролики 4 получают вращение влево, а ролики 3 вращаются вправо, обкатываясь без скольжения по дорожке качения кольца 1.
При этом комплект роликов 3 и 4 перемещается по кольцу влево (куда был должен перемещаться сепаратор). Кольцо 1 неподвижно. Тугое кольцо 5 получает вращение вправо (см. фиг.3), конические ролики 6, контактирующие с дорожкой качения кольца 5, получают вращение влево, а соседние ролики получают вращение вправо, обкатываясь без скольжения по дорожке качения кольца 1. При этом подпятники роликов 6 обкатываются по точке по поверхностям высоких бортов колец 1 и 5, последние воспринимают радиальную нагрузку по оси ролика. А весь единый замкнутый кольцевой комплект из роликов 6 перемещается по кольцу влево с частотой вращения, в два раза меньшей, чем частота вращения кольца 5.
Комплект роликов 3 и 4 перемещается влево также с частотой вращения в два раза медленнее, чем вращение кольца 2.
Вращение роликов в радиальном участке и упорном участке подшипника проходит во взаимно противоположные стороны – вращение в противофазе, а окружные скорости равны, что позволяет снизить шум, например, до 20 40 дБ. Частота вращения упорного участка по отношению к радиальному для тел качения – различна.
Надо отметить, что ролики 3 содержат четыре участка больших ступеней роликов и три участка – меньших ступеней с диаметром, равным Dwm1. Ролики 4 состоят из коротких цилиндрических роликов, которые контактируют своими большими ступенями с диаметром Dwm1 нижнего яруса с тремя участками меньших ступеней роликов 3. При этом их диаметры равны (см. фиг.4) по диаметру равных Dwm1.
Защитная шайба 9 сильфонного типа позволяет тугому кольцу 5 перемещаться в осевом направлении в пределах упругих деформаций. Замковая шайба 10 не мешает перемещению, она закреплена на кольце 1, например, с помощью пуклевок. Подпятник 12 длинного ролика 3 выполняет роль фиксатора положения кольца 2 при монтаже подшипника. В радиальном участке подшипника должно выполняться условие сборки:

где D1m – диаметр дорожки качения наружного кольца;
Dwm2 – большая ступень ролика верхнего яруса;
d1m – диаметр дорожки качения внутреннего кольца;
Dwm1 – большая ступень ролика нижнего яруса.
Как пример, подшипник на фиг.1 в масштабе 1:2 имеет, например, радиальную нагрузку 30 т.с, а осевую нагрузку – 15 т.с.
Предварительный натяг наружного кольца 1 обеспечивает равномерную нагрузку всем роликам 3 и 4. Эпюра местного нагружения представляет собой окружность, равноудаленную от оси подшипника.
Надежность комбинированного подшипника выступает в том, что каждый из участков выполняет свои прямые функции: упорный – воспринимает осевую нагрузку, радиальный – радиальную.
На кольцах 1 и 5 выполнены цековки 13, а на кольце 2, на его торце – пазы 14 для фиксации колец при монтаже. Если же кольца 1, 2 и 5 будут проскальзывать при вращении во время эксплуатации, то вместо чистого качения – тела качения будут скользить по дорожкам качения, так как нарушается кинематика.
В целом, получаем «пионерское изобретение», работающее на чистом качении с трением качения, например, от 0,0003 до 0,00003.
Комбинированный подшипник качения бессепараторный позволяет:
– обеспечить более высокую частоту вращения, например, от 1000 до 3000 мин-1 и более;
– повысить грузоподъемность на 80 100% за счет увеличения числа рабочих роликов в два раза;
– снизить шум, например, до 20 40 дБ за счет вращения роликов в противофазе с постоянной частотой в своих рядах и ярусах;
– устранить перекосы и возможность заклинивания роликов за счет контакта роликов между собой по трем линиям и контакта подпятников по оси роликов с ребордами колец;
– обеспечить реверсивную работу подшипника только за счет отсутствия сепаратора;
– увеличить долговечность подшипника, например, в 15 20 раз за счет отсутствия сепаратора и увеличения числа рабочих роликов и работы в условиях чистого качения;
– повысить надежность работы за счет оснащения подшипника защитными шайбами;
– обеспечить длительную работу в аварийных условиях без смазки, например, до 10 часов;
– заполнить еще свободную нишу подшипнику качения, работающему в условиях чистого качения.
Экономическая эффективность
Возможность работы при отсутствии радиального зазора в шпинделях металлорежущих станков с погрешностью центровки вала в пределах ±2 мкм в течение 3 10 лет без ремонта шпинделя.
Обеспечить надежную работу в качестве опор в ступицах грузовых и легковых автомобилей, автобусах, троллейбусах, вагонов скоростных магистралей без нагрева тел качения. Нагрев в подшипнике при эксплуатации находится в пределах, например, до 50°С. Сократить число аварий на дорогах. 30 40% от числа всех техногенных аварий приходится на стандартные подшипники «качения».
Новый комбинированный подшипник качения бессепараторный выступает за остановку тупикового пути развития стандартных подшипников «качения».
Формула изобретения
Комбинированный подшипник качения бессепараторный, содержащий наружное кольцо, которое совмещено с тугим кольцом упорного подшипника, внутреннее кольцо и тугое кольцо упорного подшипника, размещенные между ними тела качения, выполненные в виде роликов двухступенчатого типа на участке радиального подшипника, большая ступень роликов верхнего яруса, имеющая четыре участка, контактирует только с дорожкой качения наружного кольца по линии, большие ступени роликов нижнего яруса своими тремя участками контактируют только с дорожкой качения внутреннего кольца по линии, меньшие ступени роликов верхнего яруса, выполненные с тремя участками, контактируют по линии с большими участками роликов нижнего яруса, наружное кольцо установлено на тела качения с предварительным натягом, между тугим кольцом и участком наружного кольца расположены в два ряда конические ролики, контактирующие с дорожками качения и между собой, при этом контакт между роликами проходит по трем линиям с углом контакта, равным 120° между роликами, образуя единый замкнутый кольцевой комплект из конических роликов, плоскость линейных контактов конических роликов одного ряда со вторым проходит, например, по продольной оси симметрии упорного участка комбинированного подшипника, конические ролики выполнены с подпятниками, которые контактируют с упорным высоким бортом колец, при этом подпятники расположены на оси вращения конических роликов и выполнены сферическими, с постоянной и одинаковой частотой вращения, при этом на участке радиального подшипника качения должно выполняться условие сборки подшипника:
, где D1m – диаметр дорожки качения наружного кольца; Dwm2 – большая ступень ролика верхнего яруса; d1m – диаметр дорожки качения внутреннего кольца; Dwm1 – большая ступень ролика нижнего яруса, наружное кольцо содержит две защитные шайбы на радиальном участке подшипника и две шайбы на участке упорного подшипника – вверху замковую шайбу с кольцом жесткости и внизу дополнительную шайбу, на внешних поверхностях колец выполнены, например, по три цековки и пазу, в проточки меньших ступеней роликов верхнего яруса входят три участка больших ступеней роликов нижнего яруса, при этом диаметры трех участков больших ступеней роликов нижнего яруса, контактирующих с тремя участками меньших ступеней роликов верхнего яруса, равны и, все ролики как верхнего, так и нижнего ярусов контактируют друг с другом и дорожками качения по трем линиям, образуя силовой единый замкнутый кольцевой комплект из роликов верхнего и нижнего ярусов, отличающийся тем, что, по крайней мере, на трех или на всех роликах верхнего яруса выполнены по оси ролика подпятники сферического типа, например, с одной стороны которые контактируют с бортом наружного кольца, при этом нижняя защитная шайба упорного участка подшипника выполнена, например, сильфонного типа, а ролики нижнего яруса выполнены короткими.
РИСУНКИ
|
|