|
|
(21), (22) Заявка: 2008120572/11, 26.05.2008
(24) Дата начала отсчета срока действия патента:
26.05.2008
(43) Дата публикации заявки: 10.12.2009
(46) Опубликовано: 10.06.2010
(56) Список документов, цитированных в отчете о поиске:
RU 2232926 C2, 20.07.2004. SU 966344 A1, 15.10.1982. RU 2308620 C1, 20.10.2007. US 4929098 A, 29.05.1990.
Адрес для переписки:
423823, Республика Татарстан, г. Набережные Челны, а/я 23133
|
(72) Автор(ы):
Гонченко Борис Васильевич (RU), Махмутов Иршат Атауллович (RU)
(73) Патентообладатель(и):
Общество с ограниченной ответственностью научно-производственное объединение “ИНТЕРМАШ” (RU)
|
(54) ПОДШИПНИК КАЧЕНИЯ РАДИАЛЬНО-УПОРНЫЙ
(57) Реферат:
Изобретение относится к области машиностроения и может быть использовано во всех отраслях промышленности. Подшипник качения радиально-упорный содержит тела качения – ролики (2), которые выполнены двухступенчатыми. Подшипник качения радиально-упорный содержит внутреннее двухбортовое кольцо (4) и наружное однобортовое кольцо (1) с дорожками качения, размещенные между ними тела качения, выполненные в виде роликов (2), установленных в гнездах сепаратора (3), и равномерно расположенные в гнездах сепаратора (3). Ролики (2) выполнены двухступенчатыми. Большая ступень ролика (2) обкатывается только по дорожке качения наружного кольца (1), а меньшая ступень ролика (2) и два ее участка обкатываются по линии только по дорожке качения внутреннего кольца (4) с постоянной и одинаковой частотой вращения. По меньшей мере, одна дорожка качения кольца (4) выполнена с, по меньшей мере, одной проточкой для образования зазора с большей ступенью ролика (3), при этом большая ступень ролика выполнена сферической. Дорожка качения кольца (1) выполнена со сферическим участком. Кольцо (1) выполнено съемным, а сферический участок дорожки качения кольца (1) выполнен с переходом за ось симметрии сферы, например, на 2 3 мм. Технический результат: преобразование сферического однорядного подшипника качения в радиально-упорный со съемным наружным кольцом, допускающего перекос внутреннего кольца относительно наружного, без сокращения их срока службы, устранение проскальзывания тел качения относительно дорожек качения, увеличение долговечности подшипников. 3 ил.
Изобретение относится к области машиностроения и может быть использовано во всех отраслях промышленности.
Известны радиально-упорные подшипники качения, содержащие наружное и внутреннее кольца с дорожками качения, размещенные между ними тела качения, выполненные в виде конических роликов, равномерно установленных в гнездах сепаратора.
Основным недостатком известных радиально-упорных подшипников является увеличенный нагрев тел качения в контакте с дорожкой качения наружного кольца подшипника. Это следует из того, что тела качения не могут одновременно обкатываться без скольжения по двум поверхностям внутреннего и наружного колец подшипника.
Кроме этого, контакт тел качения с дорожкой качения наружного кольца должен вращать его в противоположную сторону по отношению к направлению вращения вала. А, как правило, наружное кольцо подшипника установлено по тугой посадке – неподвижно.
Следует также отметить, что путь с трением скольжения тел качения к пути с трением качения относится как 15/1 60/1 и более.
А отношение трения скольжения тел качения к трению качения равно 500/1 и 10000/1. Вот почему греется подшипник качения, почему он требует большого количества смазки для охлаждения и для выноса из зоны качения продуктов износа от трения скольжения.
Известен подшипник качения – прототип (см. патент RU 2232926 С2 от 20.07.2004 г. Бюл. 20, Фиг.1 и 2), содержащий внутреннее и наружное кольца с дорожками качения, размещенные между ними тела качения, выполненные в виде роликов, установленных в гнездах сепаратора, тела качения – ролики выполнены двухступенчатыми, больший диаметр ступени, имеющей один участок, контактирует только с дорожкой качения наружного кольца подшипника, а меньший диаметр ступени, выполненной с двумя участками, контактирует только с дорожками качения его внутреннего кольца, с постоянной и одинаковой частотой вращения, при этом должно выполняться условие сборки подшипника:

где d1m – диаметр дорожки качения внутреннего кольца подшипника;
Dwm1 – диаметр меньшей ступени ролика;
D1m – диаметр дорожки качения наружного кольца подшипника;
Dwm2 – диаметр большей ступени ролика,
а, по меньшей мере, одна дорожка качения внутреннего кольца подшипника выполнена с, по меньшей мере, одной проточкой для образования зазора с большим диаметром ступени ролика, при этом ступень тела качения – ролика с большим диаметром выполнена сферической или бочкообразной, а дорожка качения наружного кольца подшипника выполнена сферической.
Цель изобретения:
– преобразование известного сферического однорядного радиального подшипника качения в радиально-упорный со съемным наружным кольцом, допускающего перекос внутреннего кольца относительно наружного;
– устранить проскальзывание тел качения относительно дорожек качения;
– увеличить долговечность подшипника, например, в 10 15 раз;
– заполнить нишу еще одним подшипником качения, работающим и в экстремальных условиях при малом расходе смазки, безаварийно.
Поставленные цели и технический эффект изобретения достигаются за счет того, что наружное кольцо подшипника выполнено съемным, а сферический участок дорожки качения его выполнен с переходом за ось симметрии сферы, например, на 2 3 мм.
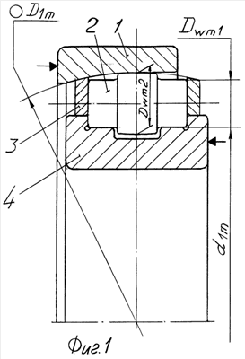
На фиг.1 изображен подшипник качения радиально-упорный роликовый однорядный. На фиг.2 дано продольное сечение подшипника, на котором стрелками показано направление вращения внутреннего кольца, роликов, направление перемещения комплекта роликов и сепаратора при защемленном наружном кольце подшипника. Точками показаны места контакта больших и меньших ступеней роликов с дорожками качения – наружного и внутреннего кольца. На фиг.3 приведено поперечное сечение наружного однобортового кольца подшипника.
Подшипник качения радиально-упорный состоит: из наружного однобортового кольца 1, роликов 2, сепаратора 3, выполненного из двух симметричных колец, внутреннего кольца 4, выполненного с двумя бортами и кольцевой проточкой для образования зазора с большими ступенями роликов, заклепок 5, служащих для сборки сепаратора вместе с двухступенчатыми роликами 2 на внутреннем кольце 4 подшипника.
Ролики 2 выполнены двухступенчатого типа, большая ступень ролика выполнена сферической и контактирует только с дорожкой качения наружного кольца 1. А два участка меньших ступеней роликов 2 цилиндрического типа контактируют по линии только с дорожкой качения внутреннего кольца 4 подшипника. При этом должно выполняться условие сборки подшипника:

где d1m – диаметр дорожки качения внутреннего кольца;
Dwm1 – диаметр меньших ступеней ролика;
D1m – диаметр дорожки качения наружного кольца;
Dwm2 – диаметр большей ступени ролика.
Подшипник качения радиально-упорный работает следующим образом. При вращении кольца 4 ролики 2 своими меньшими ступенями с Dwm1 обкатываются только по дорожке качения внутреннего кольца 4 по диаметру d1m. Меньшие ступени сообщают вращение большим ступеням ролика 2 с диаметром Dwm2, которые обкатываются только по дорожке качения наружного кольца с диаметром D1m. Комплект роликов 2 перемещается по кольцу вправо вместе с корпусом сепаратора 3. Вращение роликов 2 по дорожкам качения подшипника происходит с постоянной и одинаковой частотой вращения. Радиальная грузоподъемность, например, в 2 3 раза выше шариковых однорядных подшипников. А сепаратор делает ровно в два раза меньше оборотов по отношению к числу оборотов внутреннего кольца – по причине равенства окружных скоростей ролика 2 при обкатке по дорожкам качения подшипника. Борт внутреннего кольца 4 воспринимает осевую нагрузку от роликов 2, которая не превышает 5% от радиальной.
Радиально-упорный подшипник качения по требованию эксплуатационников разработан в качестве альтернативной замены стандартному однорядному подшипнику с коническими роликами, равными по габаритным параметрам стандартному.
Известные стандартные подшипники с коническими роликами и подклинивают, и греются до 700°С, и при реверсе выламывают перемычки сепараторов, и, как следствие, требуют частой замены. Имеют низкую долговечность, а разборка и сборка сопряжена с большой потерей времени.
Известно, что от 30 до 40% от числа всех техногенных катастроф приходится на стандартные подшипники качения.
В целях сохранения максимального пятна контакта больших ступеней роликов 2 с дорожкой качения сферического типа наружного кольца 1, сферический участок выполняют увеличенным – он переходит через ось симметрии сферы вправо, например, на 2 3 мм. При этом диаметр вн= D1m, как, например, вн=140+0,005 мм, а диаметр сферы  D1m выполняют с большим двойным допуском .
Наружное кольцо 1 становится съемным, что обеспечивает проведение сборки и разборки деталей подшипника, так как внутреннее кольцо 4 в сборе с роликами 2 и сепаратором 3 проходит через отверстие кольца 1 со стороны вн.
Съемное кольцо 1 позволяет при очередном техническом ремонте произвести сборку с поворотом внутреннего кольца 4 и роликов 2, и сепаратором 3 – на 180°, чем увеличить пробег подшипника, например, еще на 100000 км.
Предложенный подшипник качения допускает и перекос внутреннего кольца относительно наружного, например, от 30′ до 1°30′ без снижения частоты вращения и без сокращения их срока службы.
Сепаратор 3 может быть выполнен из латуни, например, Л63 или ЛС59-1, или быть выполненным из полиамида с различными наполнителями в зависимости от условий эксплуатации. Сепаратор стал более усиленным и надежность его возросла, как и долговечность подшипника возросла, например, в 10 15 раз.
Подшипник качения радиально-упорный имеет следующие преимущества по сравнению со стандартным подшипником с коническими роликами, он позволяет:
– провести преобразование сферического однорядного подшипника качения в радиально-упорный со съемным наружным кольцом, допускающего перекос внутреннего кольца относительно наружного, например, от 30′ до 1°30′ без снижения частоты вращения и без сокращения их срока службы;
– устранить проскальзывание тел качения при их обкатке по дорожкам качения наружного и внутреннего кольцам подшипника с постоянной и одинаковой частотой вращения за счет двухступенчатых роликов, выполненных сферическо-цилиндрического типа;
– увеличить долговечность подшипников, например, в 10 15 раз за счет усиленного сепаратора за счет победы над трением скольжения тел качения при контакте их с дорожками качения, при работе на трении качения, равного, например, 0,0003 0,00003;
– заполнить нишу еще одним подшипником качения, работающим и в экстремальных условиях при уменьшенном в пять раз количестве смазки – безаварийно, так как необходимость выноса продуктов скольжения от трения тел качения по дорожкам качения отпадает, отпадает также потребность в большом количестве смазки, необходимой на охлаждение подшипника;
– провести альтернативную замену существующих стандартных подшипников с коническими роликами в ступицах, коробках скоростей, дифференциалах, редукторах, , так как имеет те же габаритные размеры.
Экономическая эффективность
Технический результат достигается за счет победы над трением скольжения, которая достигается условием сборки подшипника и особенностью его конструктивного исполнения.
Все усилия, упругие деформации, удары и торсионные моменты на полуосях, ступицах, валах, карданных валах – замыкаются и воспринимаются подшипниками качения. Стандартные подшипники с коническими роликами подклинивают или заклиниваются, так как угол конуса роликов – самотормозящий и составляет от 30′ до 6°, а трение качения и скольжения вдоль образующей конуса ролика – различное. Подшипник превращается в муфту трения только от осевой нагрузки – ударной нагрузки и выполняет роль машины-трения.
На преодоление сопротивления трения скольжения в подшипниках «качения» привод затрачивает до 30% мощности.
Новый подшипник качения выступает за остановку тупикового пути развития стандартных подшипников «качения», по причине отсутствия теории качения для подшипников качения.
Новый подшипник качения при эксплуатации обеспечивает надежность и долговечность в 10 15 раз большую, только за счет устранения проскальзывания тел качения относительно дорожек качения, наличия съемного наружного кольца, обеспечивающего сборку и разборку за счет конструктивного исполнения и наличия трения качения, равного, например, 0,0003 0,00003.
Формула изобретения
Подшипник качения радиально-упорный, содержащий внутреннее двухбортовое кольцо и наружное однобортовое кольцо с дорожками качения, размещенные между ними тела качения, выполненные в виде роликов, установленных в гнездах сепаратора, тела качения – ролики выполнены двухступенчатыми, большая ступень ролика, имеющая один участок, контактирует только с дорожкой качения наружного однобортового кольца подшипника, а меньшая ступень ролика, выполненная с двумя участками, контактирует по линии только с дорожками качения его внутреннего двухбортового кольца с постоянной и одинаковой частотой вращения, при этом должно выполняться условие сборки подшипника:
, где d1m – диаметр дорожки качения внутреннего двухбортового кольца подшипника; Dwm1 – меньшая ступень ролика; D1m – диаметр дорожки качения наружного однобортового кольца подшипника; Dwm2 – большая ступень ролика, а, по меньшей мере, одна дорожка качения внутреннего двухбортового кольца подшипника выполнена с, по меньшей мере, одной проточкой для образования зазора с большей ступенью ролика, при этом большая ступень ролика выполнена сферической, а дорожка качения наружного однобортового кольца подшипника выполнена со сферическим участком, отличающийся тем, что наружное однобортовое кольцо подшипника выполнено съемным, а сферический участок дорожки качения наружного однобортового кольца выполнен с переходом за ось симметрии сферы, например, на 2 3 мм.
РИСУНКИ
|
|