|
|
(21), (22) Заявка: 2007138200/11, 15.10.2007
(24) Дата начала отсчета срока действия патента:
15.10.2007
(43) Дата публикации заявки: 20.04.2009
(46) Опубликовано: 10.06.2010
(56) Список документов, цитированных в отчете о поиске:
RU 2232926 C2, 20.07.2004. RU 27943 U1, 27.02.2003. RU 2097236 C1, 27.11.1997. EP 0631061 A1, 28.12.1994. FR 2751709 A1, 30.01.1998.
Адрес для переписки:
423823, Республика Татарстан, г.Набережные Челны, а/я 23133
|
(72) Автор(ы):
Гонченко Борис Васильевич (RU), Махмутов Иршат Атауллович (RU)
(73) Патентообладатель(и):
Общество с ограниченной ответственностью научно-производственное объединение “ИНТЕРМАШ” (RU)
|
(54) БУКСОВЫЙ ПОДШИПНИК КАЧЕНИЯ ДЛЯ ВЫСОКОСКОРОСТНЫХ МАГИСТРАЛЕЙ
(57) Реферат:
Изобретение относится к области машиностроения и может быть использовано во всех отраслях промышленности. Буксовый подшипник качения содержит внутреннее и наружное кольца с дорожками качения, размещенные между ними тела качения, выполненные в виде роликов, установленные в гнездах сепаратора. Ролики выполнены двухступенчатыми. Больший диаметр ступени ролика обкатывается только по дорожке качения наружного кольца подшипника. Меньший диаметр ступени ролика выполнен с двумя участками, которые обкатываются только по дорожкам качения внутреннего кольца с постоянной и одинаковой частотой вращения. Дорожка качения внутреннего кольца подшипника выполнена с проточкой для образования зазора с большим диаметром ступени ролика. В коаксиальном отверстии роликов установлен шарик, выполняющий роль вибратора. Масса шарика относится к массе ролика, например, как 1 к 100 и более. Число вибраторов в подшипнике равно простым числам, например 3; 5; 7 Технический результат: более высокая частота вращения, более высокая надежность и долговечность, снижение момента трения и коэффициента трения, работа подшипника происходит в условиях чистого качения, т.е. без проскальзывания роликов. 3 ил.
Изобретение относится к области машиностроения и может быть использовано для всех отраслей промышленности.
Рассмотрим конкретный пример буксового подшипника качения для высокоскоростных магистралей (ВСМ) пассажирского и грузового железнодорожного транспорта. В буксовом узле применяются стандартные роликовые радиальные подшипники 42726 и 92726.
Одним из недостатков известных подшипников качения при их эксплуатации является наличие трения качения с проскальзыванием тел качения. При этом путь скольжения роликов по отношению к пути качения роликов больше в 15 раз. А сколько оборотов делает ролик за один оборот вала или в минуту, просчитать не представляется возможным, так как ролик проскальзывает как по наружной, так и по внутренней дорожкам качения подшипника.
Применяются и двухрядные подшипники с коническими роликами – радиально-упорные. Однако в этих подшипниках конический ролик обкатывается только одной точкой по дорожке качения, все остальные поверхности скользят по дорожкам качения и по торцу. « Продолжает оставаться наиболее массовым видом брака нагрев букс. В 2002 году он составил 1026 случаев или 55% общего числа браков
К устойчивому снижению отцепок по нагреву букс в 2002 году их число увеличилось.» (См. журнал “Железнодорожный транспорт”. М., 6, 2003, стр.11).
Известны стандартные подшипники качения, содержащие внутреннее и наружное кольца с дорожками качения, размещенные между ними тела качения, выполненные в виде роликов, установленных в гнездах сепаратора.
За один оборот вала ролик делает по дорожке качения внутреннего кольца
158/32=4,9375 оборота,
а по дорожке качения наружного кольца
222/32=6,9375 оборота.
Однако ролик не может обкатываться с разными скоростями одновременно по двум дорожкам. Предположим, что ролик катится по диаметру 158 мм, тогда ролик с этой же скоростью скользит по диаметру 222 мм. Откуда следует, что величина скольжения в 15 раз больше пути качения. А так как коэффициенты скольжения и качения различны в 50 500 раз, происходит естественный нагрев узла подшипника и абразивный износ как роликов, так и дорожек качения подшипника.
Радиальный зазор в подшипнике после 150000 км пути может составить до 3 мм и более. Последствия увеличения зазоров известны.
Известен подшипник качения – прототип по патенту RU 2232926 (см. фиг.1 и 2), содержащий внутреннее и наружное кольца с дорожками качения, размещенные между ними тела качения, выполненные в виде роликов, установленных в гнездах сепаратора, тела качения – ролики – выполнены двухступенчатыми, больший диаметр ступени, имеющий один участок, контактирует только с дорожкой качения наружного кольца подшипника, а меньший диаметр ступени, выполненный с двумя участками, контактирует только с дорожкой качения его внутреннего кольца с постоянной и одинаковой частотой вращения, при этом должно выполняться условие сборки подшипника:

при этом ступень тела качения – ролика – с большим диаметром выполнена сферической или бочкообразной, а дорожка качения наружного кольца подшипника выполнена сферической.
Условие сборки выполняется и в результате имеем пионерское изобретение, в котором тела качения обкатываются по наружной и внутренней дорожкам качения подшипника с постоянной и одинаковой частотой вращения без скольжения.
Цель изобретения:
– обеспечение более высокой частоты вращения подшипника;
– обеспечение более высокой надежности и долговечности буксового подшипника качения для высокоскоростных магистралей;
– обеспечение заполнения свободной ниши еще одним подшипником чистого качения, работающего на трении качения.
Поставленные цели и технический эффект предлагаемого изобретения достигаются за счет того, что в коаксиальном отверстии ролика свободно установлен шарик, выполняющий роль вибратора, а масса шарика относится к массе ролика, например как 1 к 100 и более, а число их в подшипнике равно простым числам, например 3; 5; 7
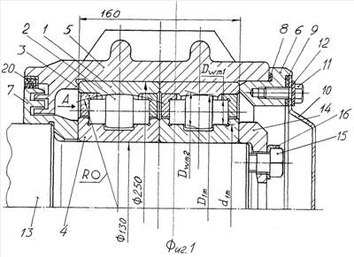
На фиг.1 изображен буксовый подшипник качения для высокоскоростных магистралей, состоящий из двух роликовых сферических подшипников в сборе с буксой. На фиг.2 изображен ролик подшипника качения, фиг.1. На фиг.3 изображен вид А, фиг.1, с указанием направлений вращения внутреннего кольца подшипника и роликов; местами контактов роликов с дорожками качения и направлением перемещения (вращением) роликов вместе с сепаратором.
Буксовый подшипник качения для ВСМ железнодорожного транспорта состоит из наружного кольца 1 со сферической проточкой, тел качения 2 – роликов двухступенчатого типа, сепаратора 3, внутреннего кольца 4, корпуса буксы 5, фланца 6, кольца 7 с лабиринтными канавками, уплотнительных колец 8 и 9, крышки 10, крепежных болтов 11 с корончатыми шайбами 12, оси вагонной 13, кольца торцового 14, болтов 15 и стопорных шайб 16.
Большая ступень Dwm2 ролика 2 выполнена сферического типа и обеспечивает линейный контакт по участку сферы только с дорожкой качения наружного кольца 1, а на внутренней поверхности кольца 4 выполнена кольцевая проточка для образования зазора с большей ступенью ролика.
Две меньшие ступени Dwm1 ролика 2 цилиндрического типа контактируют только с двумя участками с дорожками качения внутреннего кольца 4 по линии. Кольцо 4 содержит два упорных борта.
Сепаратор 3 состоит из двух корпусов кольцевого типа и соединенных на заклепках 19. Материалом сепараторов могут быть антифрикционные материалы, углепластик или полиамид. Следует отметить, что число роликов 2 в подшипнике равно 15, число кратное трем и пяти равно простым числам. Часть роликов в подшипнике, три или пять, равномерно располагаются в сепараторе 3 и содержат в себе шарики 17, выполняющие роль вибратора. Последние свободно установлены в коаксиальном отверстии роликов 2, а отверстия с торцов закрыты втулками 18 по прессовой посадке, во втулках выполнены отверстия малого диаметра.
По исполнении два подшипника качения сферическо-цилиндрического типа воспринимают радиальную нагрузку как основную и способны воспринимать осевую двухстороннюю нагрузку при поворотах железнодорожных путей, а также при прохождении стрелок при смене путей движения состава.
Буксовый подшипник качения для ВСМ работает следующим образом. При движении состава вагонные оси получают вращение от контакта колес с рельсами. Жестко установленные на оси 13 внутренние кольца 4 подшипника получают вращение. Двухступенчатые ролики 2 обкатываются без скольжения по дорожкам качения внутреннего кольца 4 и наружного кольца 1 по его участку сферической поверхности с линейными контактами.
При этом меньшие ступени Dwm1 роликов 2 обкатываются только по дорожкам качения dim внутреннего кольца 4. Большие ступени Dwm2 роликов 2 обкатываются с постоянной одинаковой частотой вращения без проскальзывания по участку со сферической поверхностью дорожки качения D1m наружного кольца 1. Окружные скорости при обкатке роликов 2 по двум поверхностям равны по причине выполнения условия сборки подшипника:
,
а конкретно Const = 7 (Const = простому числу),
где d1m – диаметр дорожки качения внутреннего кольца подшипника;
Dwm1 – диаметр меньшей ступени ролика;
D1m – диаметр дорожки качения наружного кольца подшипника;
Dwm2 – диаметр большей ступени ролика.
Известно, что на реконструкцию железных дорог Россия выделяет 13 триллионов руб. На известных стандартных подшипниках качения ВСМ не построить. Затраты возрастут от 50 до 500 раз как и отношение трения скольжения к трению качения:
n=fск/fкач=0,15/0,003 0,15/0,0003.
Благодаря теории качения для подшипников чистого качения без проскальзывания, а 2000 лет этой теории не существовало, стало возможным рассчитать число оборотов как сепаратора, так и роликов.
Например, частота вращения роликов равна частоте вращения вала умноженной на Const.
При Vгр.вагона = 60 км/ч; n вала = 5,308 c-1; n рол = 37,156 c-1.
Vпас. вагона = 400 км/ч; n вала = 35,4 c-1; n рол = 247,6 с-1.
В целях снижения момента трения и коэффициента трения в подшипниках в роликах устанавливают, например, шарик 17 в качестве вибратора. Ролик 2 в подшипнике участвует в планетарном движении, вращается вокруг собственной оси и перемещается по кольцу вместе с сепаратором 3. Шарик 17 установлен в коаксиальном отверстии ролика свободно, а центр массы располагается эксцентрично, масса шарика 17 относится к массе ролика, например, как 1 к 100 и более. Наличие в подшипнике трех или пяти вибраторов – шариков 17 – порождает гармонику сложных акустических звуковых колебаний. Следует отметить, что массы шариков 17 различны, как и различна амплитуда их колебаний – радиальный зазор. Например, амплитуда колебаний в каждом из расположенных шариков равна ; ; ; ; ; числа эти как и число =22/7 – иррациональные. Известно, что чем выше частота колебаний и чем меньше амплитуда колебаний, тем меньше момент трения и коэффициент трения качения. Последний стремится к «0» (f кач = 0,00003). Следует заметить, зачем все эти числа, Const=7 – простое число, число вибраторов – 3, 5, 7, 11, 13, 17, простые числа? Выбраны эти числа в целях ухода от возникновения резонанса в работающем подшипнике качения. С тем, чтобы собственные колебания узла не совпадали с автоколебаниями подшипника.
Следует отметить, что наличие отверстия в роликах под расположение вибратора устраняет шлаки в сортовом прокате металла, улучшает прокаливаемость, что влияет на долговечность и повышает надежность материала ролика. А материал втулок 18, установленных по прессовой посадке и выполненный из мартенситных сталей, увеличивает прочность ролика по напряжениям, например изгибной прочности.
При переходе подвижного состава на скорости 120, 160, 200, 300, 400 км/ч в целях снижения сопротивления качению от консистентных смазок требуется переход на жидкие смазки. Для этого на буксе устанавливают манжету 20, например трехлепестковую армированную (см. фиг.1).
Единственным недостатком предложенного подшипника является надежность и долговечность.
Для снижения трения в год в мире расходуется более 100 млн т смазочных материалов. Для подшипника чистого качения смазка не нужна, если бы не было сепаратора.
Наличие скольжения в стандартном подшипнике качения приводит к абразивному износу даже в масляной ванне, растет радиальный зазор в подшипниках качения, что и приводит к вибрациям и авариям.
Экономическая целесообразность
Потери средств в машиностроении вследствие износа и трения достигают от 4 до 5% национального дохода. Сопротивление трения по оценкам специалистов поглощает во всем мире от 30 до 40% вырабатываемой в течение года энергии. Энергия от трения не просто теряется, а превращается в теплоту, 80 90% отказов машин происходит от износа узлов и деталей машин и инструмента. Ремонтом оборудования в мире занято до 30% общего числа рабочих. На ремонт расходуется пятая часть всего выплавляемого металла.
Эти значительные расходы обусловлены недооценкой значимости проблем повышения надежности, долговечности, износостойкости.
В буксовом подшипнике качения для ВСМ осуществлена победа над трением скольжения, что повышает ресурс работы подшипника, повышает мощность локомотива, сокращает расход топлива, ускоряет грузооборот, экономит время пассажира в дороге, а затраты окупаются. Ничто не ценится так дорого, как время.
Одним из достоинств нового подшипника качения является его бесшумность, от 20 до 80 Дб, и малый расход смазки. А повышение долговечности равносильно пропорциональному повышению производительности, а также высвобождению огромных ресурсов рабочей силы, сырья, материалов, финансовых капиталовложений и капитального строительства на ремонт оборудования.
Формула изобретения
Буксовый подшипник качения для высокоскоростных магистралей, содержащий внутреннее и наружное кольца с дорожками качения, размещенные между ними тела качения, выполненные в виде роликов, установленных в гнездах сепаратора, тела качения – ролики выполнены двухступенчатыми, больший диаметр ступени, имеющий один участок, контактирует только с дорожкой качения наружного кольца подшипника, а меньший диаметр ступени, выполненный с двумя участками, контактирует только с дорожками качения его внутреннего кольца с постоянной и одинаковой частотой вращения, при этом должно выполняться условие сборки подшипника:
, где d1m – диаметр дорожки качения внутреннего кольца подшипника; Dwm1 – диаметр меньшей ступени ролика; D1m – диаметр дорожки качения наружного кольца подшипника; Dwm2 – диаметр большей ступени ролика, а по меньшей мере одна дорожка качения внутреннего кольца подшипника выполнена с по меньшей мере одной проточкой для образования зазора с большим диаметром ступени ролика, а ступень тела качения – ролика с большим диаметром выполнена сферической или бочкообразной, а дорожка качения наружного кольца подшипника выполнена сферической, отличающийся тем, что в коаксиальном отверстии ролика свободно установлен шарик, выполняющий роль вибратора, а масса шарика относится к массе ролика, например, как 1 к 100 и более, а число их в подшипнике равно простым числам, например 3; 5; 7
РИСУНКИ
|
|