|
|
(21), (22) Заявка: 2006125471/11, 14.07.2006
(24) Дата начала отсчета срока действия патента:
14.07.2006
(30) Конвенционный приоритет:
27.09.2005 (пп.1-7) DE 102005046092.5
(43) Дата публикации заявки: 20.01.2008
(46) Опубликовано: 10.06.2010
(56) Список документов, цитированных в отчете о поиске:
ЕР 1457688 A1, 15.09.2004. SU 680664 A, 18.08.1979. DE 8137093 U1, 05.05.1983. DE 70202009 U, 10.09.1970. US 2004/0194415 A1, 07.10.2004.
Адрес для переписки:
129090, Москва, ул. Б.Спасская, 25, стр.3, ООО “Юридическая фирма Городисский и Партнеры”, пат.пов. С.А.Дорофееву, рег. 146
|
(72) Автор(ы):
РЕНЦ Юрген (DE)
(73) Патентообладатель(и):
ФИШЕРВЕРКЕ АРТУР ФИШЕР ГМБХ УНД КО. КГ (DE)
|
(54) РАСПОРНЫЙ ДЮБЕЛЬ ДЛЯ КРЕПЛЕНИЯ ПЛИТ ИЗОЛЯЦИОННОГО МАТЕРИАЛА
(57) Реферат:
Изобретение касается распорного дюбеля (1) для крепления плит (2) изоляционного материала с областью (5) распирания, распорным элементом (8) из пластмассы и фиксирующим диском (7). Распорный элемент является распорным винтом (8) с заданным местом (14) разрушения в его головке (11). В результате распорный дюбель является хорошо защищенным от поломок стержня винта при завинчивании с большим крутящим моментом. 6 з.п. ф-лы, 1 ил.
Изобретение касается распорного дюбеля для крепления плит изоляционного материала, согласно признакам ограничительной части пункта 1 формулы изобретения.
Такой распорный дюбель известен из опубликованного документа ЕР 1457688 A1. Известный распорный дюбель имеет распорную область, к которой примыкает удлинение с фиксирующим диском. Для крепления плиты изоляционного материала сначала через плиту изоляционного материала выполняется сверленое отверстие до врезания в основание. Затем в это отверстие вставляется распорный дюбель и фиксируется забиванием распорного элемента в основание. Распорный элемент – это состоящий из пластмассы винтовой нагель, который может вгоняться с помощью использованной для сверления отверстия ударной дрели. Применение пластмассы имеет по сравнению с распорным элементом из металла преимущество в том, что распорным дюбелем не образуется никаких тепловых мостиков и, соответственно, сам распорный дюбель, как и плита изоляционного материала, имеет изолирующее воздействие.
Вгоняемые ударами распорные элементы имеют недостаток по сравнению с винтами в том, что распорные дюбели достигают частично меньшего удерживающего эффекта. Также ударное забивание часто ощущается неприятнее, чем процесс ввинчивания. За счет высоких крутящих моментов для распорных дюбелей с распорным винтом до сих пор, однако, используются исключительно распорные винты, которые изготовлены, по меньшей мере, частично из металла. Однако они приносят с собой проблему образования теплопроводящего мостика.
Поэтому в основе изобретения лежит задача создать распорный дюбель упомянутого выше вида, распорный элемент которого может вгоняться завинчиванием и, тем не менее предотвращает образование теплового мостика.
Эта задача решается согласно изобретению посредством признаков пункта 1 формулы изобретения.
Согласно изобретению в качестве распорного элемента используется распорный винт из пластмассы. Если такой распорный винт должен развивать высокие удерживающие силы, то он требует высокого крутящего момента при завинчивании в область распирания распорного дюбеля. При этом является решающим то, чтобы распорный винт не разорвался в области резьбы или в области между резьбой и головкой винта, так как при этом он больше не исполнял бы свою функцию. Поэтому изобретение далее предлагает, чтобы распорный винт был снабжен заданным местом разрушения в его головной части. Заданное место разрушения определено по размерам так, что распорный винт всегда рвется сначала в его головной части и, соответственно, вращается, прежде чем он теряет свою функцию. Момент, который ведет к разрыву заданного места разрушения, достигается в идеале только тогда, когда головная часть распорного винта посажена на предусмотренный для этого заплечик дюбеля, так как это значит, что распорный винт вогнан предусмотренным образом в область распирания распорного дюбеля.
Заданное место разрушения может быть выполнено с помощью разных ослаблений в области головки дюбеля. Особенно простая форма выполнения предусматривает, чтобы оно было образовано проходящей по окружности канавкой в головке распорного винта. Однако наряду с этим возможны отдельные радиальные выемки или ослабления в структуре материала.
Предпочтительно распорный винт имеет первоначально в области острия винта конический участок стержня, к которому в области резьбы присоединяется еще цилиндрический участок стержня. Таким образом достигают того, что при завинчивании распорного винта крутящий момент возрастает не скачком, а сначала медленно. Также таким образом получается благоприятное распределение крутящего момента в пределах винта при одновременно благоприятном распирающем воздействии распорного винта.
Резьба предпочтительно радиально возвышается над стержнем и присоединяющимся к резьбе хвостовым участком. Таким образом, достигается хорошая подача распорного винта в области распирания. Чтобы не разрезать при этом втулку дюбеля в области распирания, изобретение предлагает, чтобы боковые стороны профиля резьбы распорного винта были закругленными.
Кроме того, оказалось выгодным, если наружный диаметр резьбы слегка возрастает к хвостовику и является предпочтительно в задней трети большим, чем в передней трети. Наружный диаметр может возрастать либо непрерывно, например линейно, либо дискретно. Особенно хорошего соотношения между максимальным крутящим моментом, достижимой степенью фиксации и скоростью забивания достигают с помощью двухзаходной резьбы. По сравнению с однозаходной резьбой это имеет, в частности, преимущество в том, что сама резьба способствует распирающему воздействию и находит хорошую опору для подачи в области распирания.
Изобретение разъясняется в последующем подробнее, посредством представленного на чертеже примера изготовления.
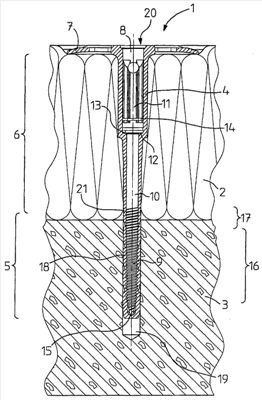
Чертеж показывает соответствующий изобретению распорный дюбель 1, которым плита 2 изоляционного материала укреплена на основании 3. Распорный дюбель 1 содержит втулку 4 дюбеля с областью 5 распирания, удлинением 6 и присоединяющимся к нему фиксирующим диском 7. Область распирания может образовываться здесь не представленными, проходящими в продольном направлении прорезями или растянутыми местами. Она распирается распорным винтом 8 в основании 3, вследствие чего достигают желаемого фиксирующего воздействия. Распорный винт 8 выполнен из пластмассы и имеет резьбу 9, примыкающий здесь хвостовой участок 10, а также головку 11. Головка 11 садится заплечиком 12 винта на заплечик 13 дюбеля. На своей головке распорный винт 8 имеет выполненное как проходящая по окружности канавка 14 заданное место разрушения. Резьба 9 распорного винта 8 имеет наружный диаметр, который превышает диаметр хвостовой области 10. Он несколько меньше на обращенных к острию 15 винта двух третях, чем на обращенной к хвостовому участку трети. Стержень резьбы 9 имеет обращенный к острию 15 винта конический участок 16 стержня, а также примыкающий здесь цилиндрический участок 17 стержня. Резьба 9 является двухзаходной с закругленными боковыми сторонами профиля 18 резьбы. Цилиндрический участок стержня переходит с одним и тем же диаметром в хвостовой участок 10.
Для осуществления крепления с помощью распорного дюбеля 1 первоначально через плиту 2 изоляционного материала вплоть до основания 3 с врезанием внутрь выполняется сверленое отверстие 19. В дальнейшем распорный дюбель 1 вставляется в гнездо 19 до тех пор, пока фиксирующий диск 7 не ляжет на плиту изоляционного материала 2. Затем распорный винт 8, который может быть вставлен уже при предварительном монтаже во втулку 4 дюбеля, вгоняется, вращаясь, в область 5 распирания распорного дюбеля 1. Винт для этого имеет в области головки 11 приспособление 20 для установки инструмента. Распорный винт 8 вгоняется до тех пор, пока заплечик 12 винта не будет посажен на заплечик 13 дюбеля. Втулка 4 дюбеля при дальнейшем вворачивании укорачивается по оси в области, предусмотренной для этого зоны 21 обжатия, вследствие чего фиксирующий диск 7 погружается в плиту 2 изоляционного материала. Если из-за этой деформации сжатия на распорном винте 8 создается дальнейший повышенный крутящий момент, то головка 11 распорного винта 8 срезается в области заданного места 14 разрушения. Таким образом, гарантируется, что винт ломается не в области резьбы 9 или хвостового участка 10, что ликвидировало бы его фиксирующее воздействие.
Формула изобретения
1. Распорный дюбель (1) для крепления плит (2) изоляционного материала с областью (5) распирания, распорным элементом (8) из пластмассы и фиксирующим диском (7), отличающийся тем, что распорный элемент – это распорный винт (8) с заданным местом (14) разрушения на его головке (11).
2. Распорный дюбель по п.1, отличающийся тем, что заданное место разрушения образовано проходящей по окружности канавкой (14) в головке (11) распорного винта (8).
3. Распорный дюбель по п.1, отличающийся тем, что распорный винт (8) имеет конический и цилиндрический участки (16, 17) стержня в области его резьбы (9).
4. Распорный дюбель по п.1, отличающийся тем, что наружный диаметр резьбы (9) распорного винта (8) больше, чем наружный диаметр примыкающего к резьбе (9) хвостового участка (10).
5. Распорный дюбель по п.1, отличающийся тем, что наружный диаметр резьбы (9) на обращенной к хвостовому участку (10) трети больше, чем на обращенных к острию (15) винта двух третях.
6. Распорный дюбель по п.1, отличающийся тем, что боковые стороны профиля (18) резьбы распорного винта (8) выполнены закругленными.
7. Распорный дюбель по п.1, отличающийся тем, что распорный винт (8) имеет двухзаходную резьбу (9).
РИСУНКИ
|
|