|
(21), (22) Заявка: 2005135635/11, 16.11.2005
(24) Дата начала отсчета срока действия патента:
16.11.2005
(30) Конвенционный приоритет:
17.11.2004 (пп.1-13) FR 04 12228
(43) Дата публикации заявки: 27.05.2007
(46) Опубликовано: 10.06.2010
(56) Список документов, цитированных в отчете о поиске:
FR 3298646 А, 17.01.1967. US 3126182 А, 24.03.1964. SU 452969 А, 08.12.1975. PR 2571448 А, 11.04.1986. GB 1150310 A, 30.04.1969.
Адрес для переписки:
129090, Москва, ул. Б.Спасская, 25, стр.3, ООО “Юридическая фирма Городисский и Партнеры”, пат.пов. Е.И.Емельянову, рег. 174
|
(72) Автор(ы):
БОВИЛЛЬ Даниель (FR)
(73) Патентообладатель(и):
А. РАЙМОН Э КОМПАНИ (FR)
|
(54) КРЕПЕЖНОЕ УСТРОЙСТВО ДЛЯ ФИКСИРОВАНИЯ РАЗЛИЧНЫХ ЭЛЕМЕНТОВ НА ОПОРЕ
(57) Реферат:
Изобретение относится к крепежным устройствам. Крепежное устройство предназначено для захвата металлической опоры (12) в виде балки или бруса с обеих сторон и содержит металлическую деталь (11), полученную вырезанием и складыванием единой металлической пластины (13) или листа, имеющих заданную толщину. Крепежное устройство также содержит средства крепления для фиксирования или подвешивания различных элементов, U-образный фланец, имеющий две боковых стороны (16, 17), образующих захват, имеющий ряд выступов (19), чередующихся вдоль верхних участков (13b) фланца. Концевая часть каждого нижнего участка (13d) фланца выполнена с гибким зубцом (18). Два зубца выполнены гибкими, действующими как пружины на концах жестких нижних участков (13d), образующих две боковые стороны фланца в соединении с верхними участками (13b). В результате крепежное устройство имеет высокую прочность и подходит для нескольких вариантов толщины опоры без использования сборочных инструментов и специальных приспособлений. 12 з.п. ф-лы, 20 ил.
Изобретение относится к крепежному устройству, содержащему металлическую деталь, полученную вырезанием и складыванием металлической пластины или листа заданной толщины, причем указанная деталь выполнена в виде ползунка, предназначенного для установки верхом на металлическую опору в виде балки или бруса, и содержит средства крепления для фиксирования или подвешивания различных элементов.
Существуют два основных типа крепежных устройств для фиксирования различных элементов зацеплением или подвешиванием на металлических балках, особенно в области строительства.
В первом типе крепления используется ползунок из закаленной стали, выполненный с возможностью зацепления с металлической опорой посредством молотка. Такой ползунок в виде зажима должен иметь диапазон для нескольких образцов с учетом различной толщины балок или брусьев, образующих опору. Характер элементов, подвешенных на этом известном устройстве, определяет, кроме того, совместимость с несколькими фиксирующими приспособлениями, которые образованы из запасных деталей, выполненных с возможностью крепления к ползунку, для учета различных типов и различных способов подвешивания объектов или элементов.
Во втором типе крепления используется металлический фланец, выполненный из жесткого захвата и винта, завинченного в отверстие с резьбой в верхнем крыле. Такое крепление может быть приспособлено для нескольких вариантов толщины опоры, причем винт просто должен быть достаточно затянут для вхождения в контакт с опорой. Такой тип известного крепления имеет следующие недостатки:
– использование инструмента (гаечного ключа или отвертки) для выполнения эффективного затягивания винта в опоре;
– уменьшенная механическая прочность крепления из-за эффекта рычага, создаваемого винтом, когда выполнено затягивание;
– обязательное использование фиксирующих приспособлений, в которых элементы выполнены нарезными или гладкими стержнями, воротниками, полосами пластика, небольшими цепями, кабелями и т.п. Фиксирование этих приспособлений выполняется любым сборочным методом, в особенности заклепыванием.
Сущность изобретения состоит в устранении вышеупомянутых недостатков путем создания крепежного устройства с высокой механической прочностью, подходящего для нескольких вариантов толщины опоры, без использования сборочных инструментов и специфических приспособлений для фиксирования элементов, и способного удерживать большие подвешенные грузы без какого-либо риска их отрыва.
Согласно изобретению устройство характеризуется тем, что деталь содержит фланец U-образной формы, имеющий две боковые стороны, образующие захват, имеющий ряд выступов, расположенных зигзагообразно вдоль верхних участков фланца, и парой гибких зубцов, действующих как пружины на концах нижних участков.
Выступы, закрепляющиеся на верхней стороне опоры, и пружинный эффект двух гибких зубцов повышают удерживающую силу, противодействуя любому скользящему перемещению детали в позиции установки. Два гибких зубца, входящих в контакт с нижней стороной опоры, позволяют работать с опорами разной толщины.
Согласно предпочтительному варианту осуществления, два зубца сложены под прямыми углами к внешней стороне промежутка, разделяющего две боковые стороны, причем каждый зубец выполнен с возможностью изгибания вниз гибкой деформацией, когда захват установлен на опору. Каждый зубец имеет заданную длину, допускающую отклонение на несколько миллиметров в зависимости от толщины опоры. Фланец детали содержит верхнюю сторону и переднюю сторону, объединенные с боковыми сторонами, причем верхняя сторона образована частью каждого верхнего участка, сложенного под прямыми углами.
Другие элементы могут быть использованы как по отдельности, так и в комбинации:
– промежуток простирается продольно по середине верхней стороны вплоть до прохода, позволяющего вставлять элемент, фиксируемый на внутренней стенке передней стороны;
– передняя сторона детали может быть выполнена с круглым отверстием для защелкивания или прохода элемента и содержит в своей верхней части сложенный наружу защелкивающийся закругленный конец/гибкие зубцы размещены симметрично по отношению к вертикальной срединной плоскости симметрии;
– верхняя сторона детали содержит первый полукруглый обод, расположенный напротив второго полукруглого обода, размещенного в верхней части передней стороны;
– деталь содержит промежуточные язычки, направленные внутри фланца к передней стороне, для предварительного ориентирования стержня, проходящего через фланец.
Другие преимущества и характеристики представлены в нижеследующем описании варианта осуществления изобретения, приведенного только в неограничивающих примерах и представленного на сопутствующих чертежах, на которых:
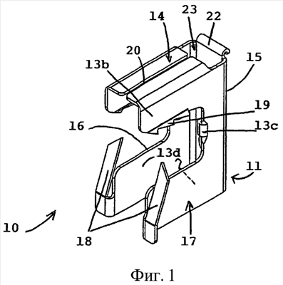
– Фиг.1 – общий вид фланца крепежного устройства согласно изобретению;
– Фиг.2 – профиль Фиг.1, причем гибкие зубцы представлены в расцепленной неактивной позиции (жирные линии) и в сцепленной активной позиции (пунктирные линии) в опоре;
– Фиг.3А – план Фиг.2;
– Фиг.3В является идентичным видом на фиг.3А альтернативного варианта осуществления;
– Фиг.4 – вид сбоку Фиг.2;
– Фиг.5 – вырезанная металлическая пластина до складывания детали, представляющей крепежное устройство Фиг.1;
– Фиг.6 и 7 – крепежное устройство Фиг.2 в расцепленной позиции, с кабелем, прикрепленным воротником соответственно к передней стороне и к верхней стороне фланца;
– Фиг.8 – крепежное устройство Фиг.2 со стержнем, снабженным резьбой, проходящим через фланец в вертикальном направлении;
– Фиг.9 – вид сбоку Фиг.8, иллюстрирующий возможность ограниченного углового перемещения стержня на каждой стороне вертикального направления;
– Фиг.10 – другой вариант установки стержня, проходящего через отверстие крепежного устройства, имеющего перевернутую U-образную форму, установленного на вертикальной опоре;
– Фиг.11 – стержень, зацепленный крюком в отверстии передней стороны крепежного устройства Фиг.1;
– Фиг.12-16 – соответствующие идентичные виды Фиг.1-5 альтернативного варианта осуществления крепежного устройства;
– Фиг.17 и 18 – крепежное устройство Фиг.12 с нарезным стержнем, прикрепленным без блокирующей гайки, соответственно в вертикальном направлении и в наклонной позиции.
На Фиг.1-5 изображено крепежное устройство 10, содержащее металлическую деталь 11, выполненную в виде ползунка, который должен устанавливаться боком на опору 12 для осуществления подвешивания или фиксирования различных элементов. Опора 12 (представленная схематически пунктирными линиями на Фиг.2) образована, например, прямой металлической балкой или брусом с прямоугольным поперечным сечением, имеющей две плоские параллельные противоположные стороны 12а, 12b.
Металлическая деталь 11 получена вырезанием металлической пластины 13 или листа небольшой толщины. Вырезание выполняется согласно схеме, представленной на Фиг.5, где представлена двойная Е-образная структура, симметричная по отношению к вертикальной срединной плоскости симметрии Р. Двойная Е-образная структура образована из общего тела 13а, на каждой стороне которого предусмотрены два верхних участка 13b, два промежуточных язычка 13с и два нижних участка 13d.
Металлическая пластина 13 затем складывается по нескольким линиям сгиба для получения моноблочной детали 11 (Фиг.1) крепежного устройства 10.
Сложенная металлическая деталь 11 образует U-образный фланец, содержащий верхнюю сторону 14, переднюю сторону 15 и две боковых стороны 16, 17, параллельных плоскости симметрии Р. Напротив верхней стороны 14 днище открыто над всей глубиной фланца.
Концевая часть каждого нижнего участка 13d выполнена с гибким зубцом 18, сложенным наружу под прямым углом и способным гибко изгибаться вниз, для образования пружины, когда происходит входящее движение детали 11 на опору 12. Два зубца 18 симметричны по отношению к срединной плоскости Р и расположены за пределами промежутка, разделяющего боковые стороны 16, 17.
Боковые стороны 16, 17 образуют С-образный или U-образный захват (Фиг.1 и 2), способный сцепляться с опорой 12 для осуществления крепления детали 11. Ширина захвата соответствует промежутку, разделяющему боковые стороны 16, 17. Край каждой верхней лопасти 13b предпочтительно имеет ряд выступов 19, слегка отклоненных внутрь для крепления выступов 19, когда происходит входящее движение на опору 12.
Крепление выступов 19 на верхней стороне опоры 12 и пружинный эффект двух зубцов 18 повышают силу удерживания, противодействуя любому скользящему перемещению детали 11 в положении установки. Два гибких зубца 18 входят в контакт с нижней стороной опоры 12, позволяя управлять несколькими вариантами толщины опоры 12, не требуя использования специфических инструментов или сборочных средств. Для этого длина каждого зубца 18 выбирается таким образом, чтобы позволить максимальное отклонение около 7 мм.
Верхняя сторона 14 детали 11 образована частью каждого верхнего участка 13b, сложенной под прямыми углами. Согласно Фиг.3А, прямой промежуток 20 простирается продольно в срединной плоскости симметрии Р. Согласно альтернативному варианту осуществления Фиг.3В промежуток 20 содержит наклонную часть, завершающуюся крепежной системой 32, представленной защелкой, расположенной напротив закругленного конца 22.
Передняя сторона 15 детали 11 содержит часть тела 13а, которое снабжено в основании круглым фиксирующим отверстием 21 и закругленным концом 22 для защелкивания с верхней частью.
Ясно, что дополнительные отверстия могут быть размещены на передней стороне 15 и на боковых сторонах 16, 17 для увеличения возможности крепления элементов.
Два промежуточных язычка 13с сложены в виде штырьков на фланце и направлены к передней стороне 15. Наличие этих внутренних язычков 13с позволяет расположить и направить нарезной стержень или любой другой элемент, простирающийся через фланец по проходу 23, расположенному между верхней стороной 14 и передней стороной 15.
Различные элементы, в особенности нарезные или гладкие стержни, металлические воротники, пластмассовые полосы, небольшие цепи, кабели и т.п., могут прикрепляться непосредственно к детали 11 крепежного устройства 10 без использования монтажных приспособлений. Установка этих элементов выполняется после того, как деталь 11 будет установлена верхом на опору 12. Механическая прочность высокая, что позволяет поддерживать большие подвешенные грузы.
На Фиг.6 электрический кабель 24 может быть прикреплен к передней стороне 15 защелкивающим действием крепежного воротника 25 или обруча, которые проходят через проход 23, простираясь вертикально внутри фланца.
На Фиг.7 электрический кабель 24 установлен на верхнюю сторону 14 детали 11, проход воротника 25 в этом случае имеет место горизонтально внутри сложенной части верхних участков 13b.
На Фиг.8 элемент, установленный в детали 11, образован нарезным стержнем 26, который проходит через проход 23, будучи предварительно ориентированным в вертикальном положении двумя промежуточными язычками. Блокирующая гайка 13с завинчена на нарезную часть стержня 26 и держится на закругленном конце 22, чтобы выполнять механическое фиксирование.
На Фиг.9 незначительная деформация промежуточных язычков 13с допускает угловые перемещения стержня 26 в направлении стрелок F1 или F2. Угол перемещения имеет место на каждой стороне вертикального направления и достигает около 10 градусов на каждой стороне.
На Фиг.10 деталь 11, вместо горизонтальной установки сверху на опоре 12, устанавливается на последнюю как перевернутое U. Стержень 26 проходит через отверстие 21 в направлении, перпендикулярном передней стороне 15.
На Фиг.11 крюк 28 гладкого стержня зацепляется в отверстии 21 передней стороны 15 через внутреннюю часть детали 11. Очевидно, что крюк 28 может быть заменен цепью или любым другим приспособлением для подвешивания.
Согласно альтернативному варианту осуществления Фиг.12-16 конструкция детали 110 отличается от аналогичной на Фиг.1-5 тем, что пластина 130, вместо наличия закругленного конца 22, подобно пластине 13, содержит изогнутый профиль 122. Концы язычков 13с выполнены бороздчатыми для формирования зубчатого гребня. Остальная часть детали 110 идентична конструкции детали 11 Фиг.1-5.
Деталь 110 позволяет закреплять нарезной стержень 26, не используя блокирующую гайку. После складывания профиль 122 образует первый полукруглый обод 29 на верхней стороне 14 и полукруглый обод 30 на верху передней стороны 15.
На Фиг.17 нарезной стержень 16 простирается в вертикальном направлении, будучи закрепленным первым ободом 29 и бороздчатостью язычков 13с. Согласно Фиг.18, нарезной стержень 26 может быть наклонен под заданным углом посредством удерживания двумя кромками 29, 30 и язычками 13с.
Формула изобретения
1. Крепежное устройство, предназначенное для захвата металлической опоры (12) в виде балки или бруса с обеих сторон, содержащее металлическую деталь (11, 110), полученную вырезанием и складыванием единой металлической пластины (13) или листа, имеющих заданную толщину, и содержащее средства крепления для фиксирования или подвешивания различных элементов, U-образный фланец, имеющий две боковых стороны (16, 17), образующих захват, имеющий ряд выступов (19), чередующихся вдоль верхних участков (13b) фланца, при этом концевая часть каждого нижнего участка (13d) фланца выполнена с гибким зубцом (18), отличающееся тем, что два зубца выполнены гибкими, действующими как пружины на концах жестких нижних участков (13d), образующих две боковые стороны фланца в соединении с верхними участками (13b).
2. Крепежное устройство по п.1, отличающееся тем, что основания двух зубцов (18) отогнуты под прямыми углами к внешней стороне промежутка, разделяющего две боковые стороны (16, 17), причем каждый зубец (18) выполнен с возможностью изгибания вниз гибкой деформацией, когда захват установлен на опоре (12).
3. Крепежное устройство по п.1 или 2, отличающееся тем, что каждый зубец (18) имеет заданную длину.
4. Крепежное устройство по п.1, отличающееся тем, что выступы (19) расположены вдоль прямого края каждого верхнего участка (13b) для закрепления на металлической стороне опоры (12), расположенной напротив гибких зубцов (18).
5. Крепежное устройство по п.1, отличающееся тем, что фланец детали (11, 110) содержит верхнюю сторону (14) и переднюю сторону, соединенные с боковыми сторонами (16, 17).
6. Крепежное устройство по п.5, отличающееся тем, что верхняя сторона (14) образована частями каждого верхнего участка (13b), сложенными под прямыми углами.
7. Крепежное устройство по п.6, отличающееся тем, что промежуток (20) расположен продольно посередине верхней стороны вплоть до прохода (23), позволяющего вводить элемент, закрепляемый на внутренней стенке передней стороны (15).
8. Крепежное устройство по п.5, отличающееся тем, что передняя сторона (15) детали (11, 110) выполнена по меньшей мере с одним круглым отверстием (21) для защелкивания или прохода элемента.
9. Крепежное устройство по п.8, отличающееся тем, что передняя сторона (15) детали (11) содержит в своей верхней части сложенный наружу защелкивающийся закругленный конец (22).
10. Крепежное устройство по п.1, отличающееся тем, что гибкие зубцы (18) размещены симметрично по отношению к вертикальной срединной плоскости (Р) симметрии.
11. Крепежное устройство по п.5, отличающееся тем, что верхняя сторона (14) детали (110) содержит первый полукруглый обод (29), расположенный напротив второго полукруглого обода (30), размещенного наверху передней стороны (15).
12. Крепежное устройство по п.1, отличающееся тем, что деталь (11, 110) содержит промежуточные язычки (13с), направленные на фланце к передней стороне (15) для осуществления предварительной установки стержня (26), проходящего через фланец.
13. Крепежное устройство по п.12, отличающееся тем, что петли (13с) сложены в виде штырьков.
РИСУНКИ
|