|
| На основании пункта 1 статьи 1366 части четвертой Гражданского кодекса Российской Федерации патентообладатель обязуется заключить договор об отчуждении патента на условиях, соответствующих установившейся практике, с любым гражданином Российской Федерации или российским юридическим лицом, кто первым изъявил такое желание и уведомил об этом патентообладателя и федеральный орган исполнительной власти по интеллектуальной собственности. |
|
(21), (22) Заявка: 2009106413/06, 24.02.2009
(24) Дата начала отсчета срока действия патента:
24.02.2009
(46) Опубликовано: 10.06.2010
(56) Список документов, цитированных в отчете о поиске:
RU 2106534 C1, 10.03.1998. RU 2114324 C1, 27.06.1998. US 5224817 A, 06.07.1993. DE 3643536 A1, 09.07.1987. US 6213736 B1, 10.04.2001.
Адрес для переписки:
443112, г.Самара, ул. Крайняя, 18, кв.17, Н.Б. Болотину
|
(72) Автор(ы):
Болотин Николай Борисович (RU)
(73) Патентообладатель(и):
Болотин Николай Борисович (RU)
|
(54) ЦЕНТРОБЕЖНЫЙ НАСОС
(57) Реферат:
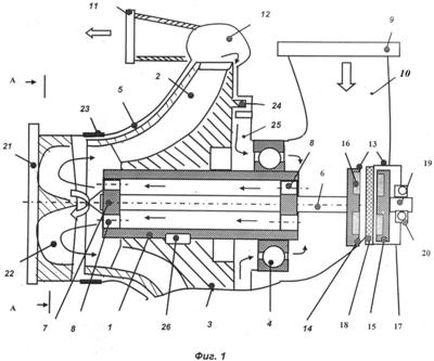
Изобретение относится к насосостроению. Центробежный насос содержит корпус 5, входной и выходной патрубки 9, 11 и крыльчатку 2 со ступицей 3, установленную на валу 1. Вал 1 установлен на подшипнике 4. Входной патрубок 9 выполнен со стороны, противоположной входу в крыльчатку 2. Вал 1 выполнен пустотелым, внутри него с зазором установлен внутренний вал 6, имеющий на конце внутри входного патрубка 9 магнитную муфту 13. Со стороны входа в крыльчатку 2 установлена торцовая стенка 21 с криволинейными неподвижными лопатками 22. Магнитная муфта 13 выполнена в виде двух полумуфт 14, 15. Ведомая полумуфта 14 установлена внутри входного патрубка 9 и соединена с внутренним валом 6. Ведущая полумуфта 15 установлена в герметичном кожухе 17 и соединена с ведущим валом. Муфта 13 выполнена торцовой. Изобретение направлено на улучшение кавитационных свойств насоса. 2 з.п. ф-лы, 2 ил.
Изобретение относится к насосостроению и может быть использовано преимущественно в любых отраслях техники для перекачки жидкостей, не содержащих абразивных включений. Может быть рекомендовано в ТНА ракетных двигателей, в том числе для работающих на криогенных компонентах топлива.
Известен шнекоцентробежный насос, содержащий разъемный корпус, центробежные рабочие колеса (крыльчатки), шнек, вал и опорные узлы в виде подшипников скольжения и качения (RU 2094660 С1, 27.10.1997). Насос имеет плохие кавитационные свойства.
Наиболее близким к изобретению является центробежный насос, содержащий корпус, входной и выходной патрубки, крыльчатку со ступицей, установленную на валу, который установлен на подшипнике (RU 2106534 С1, 10.03.1998). Для повышения кавитационных свойств известный насос снабжен предвключенным шнеком. Однако известный насос также имеет плохие кавитационные свойства.
Задача создания изобретения – улучшение кавитационных свойств насоса.
Технический результат достигается за счет того, что в центробежном насосе, содержащем корпус, входной и выходной патрубки, крыльчатку со ступицей, установленную на валу, который установлен на подшипнике, согласно изобретению входной патрубок выполнен со стороны, противоположной входу в крыльчатку, вал выполнен пустотелым, внутри него с зазором установлен внутренний вал, имеющий на конце внутри входного патрубка магнитную муфту, а со стороны входа в крыльчатку установлена торцовая стенка с криволинейными неподвижными лопатками. Магнитная муфта может быть выполнена в виде двух полумуфт, при этом ведомая полумуфта установлена внутри входного патрубка и соединена с внутренним валом, а ведущая полумуфта установлена в герметичном кожухе и соединена с ведущим валом. Магнитная муфта может быть выполнена торцовой.
Сущность изобретения поясняется чертежами, где
на фиг.1 приведен чертеж центробежного насоса, продольный разрез;
на фиг.2 – сечение А-А на фиг.1.
Центробежный насос (фиг.1) содержит вал 1, который выполнен пустотелым. На валу 1 установлена крыльчатка 2 со ступицей 3. Вал 1 установлен на подшипнике 4 в корпусе 5. Внутренний вал 6 проходит внутри вала 1 с зазором и связан с ним мембранами 7, имеющими отверстия 8. К корпусу 5 пристыкованы входной патрубок 9 с полостью 10 и выходной патрубок 11 с полостью 12. Особенностью насоса является то, что входной патрубок 9 установлен со стороны, противоположной входу в крыльчатку 2. С одной стороны (со стороны входного патрубка 9) на внутреннем валу 6 установлена магнитная муфта 13. Магнитная муфта 13 содержит ведомую полумуфту 14 и ведущую полумуфту 15, которые выполнены в виде дисков с закрепленными на них постоянными магнитами 16, т.е. применена торцовая магнитная муфта. Ведомая полумуфта 14 установлена на внутреннем валу 6. Ведущая полумуфта 16 установлена в герметичном корпусе 17 с магнитопроницаемой перегородкой 18, при этом она установлена на ведущем валу 19, который установлен на подшипнике 20 и далее связан с приводом (не показан). Подшипник 20 полностью изолирован от насоса, и он может иметь собственную эффективную систему смазки, например консистентной смазкой, применение которой для подшипника 4 в большинстве случаев не допустимо, например, при перекачке криогенных жидкостей, особенно жидкого кислорода. Со стороны входа в крыльчатку 2 выполнена торцовая стенка 21 (плоская или сферическая) с криволинейными неподвижными лопатками 22. Эти лопатки предназначены для разворота потока перекачиваемого продукта, подходящего к входу в насос на 180° и его закрутки в направлении вращения крыльчатки 2. Это необходимо, чтобы обеспечить безударный вход перекачиваемого продукта в крыльчатку 2 (или вход с небольшим углом атаки). Такое техническое решение позволит улучшить кавитационные свойства насоса более эффективно по сравнению со шнеком, установленным перед крыльчаткой, так как шнек тоже вращается со скоростью вращения крыльчатки и, несмотря на то, что его кавитационные свойства лучше, чем у центробежной крыльчатки, он тоже подвержен воздействию кавитации, особенно для высокооборотных центробежных насосов. Кроме того, изготовление неподвижные лопаток проще, чем изготовление высокооборотного шнека, поэтому он будет значительно дешевле. Требования к точности изготовления таких лопаток ниже, а из-за отсутствия воздействия центробежных нагрузок к их конструкции и материалу применяются значительно более низкие требования, чем к деталям вращающегося ротора насоса.
Со стороны входа в крыльчатку 2 выполнено переднее уплотнение 23, например плавающее кольцо, а со стороны выхода – заднее уплотнение 24, под которым образована разгрузочная полость 25. Подбирая диаметр установки заднего уплотнения 24, а следовательно, размеры разгрузочной полости 25 можно значительно уменьшить величину осевых сил, действующих на подшипник 4. Ступица 3 соединена с валом 1 шпонкой 26 для передачи крутящего момента.
При работе насоса приводом (на фиг.1 и 2 привод не показан) через ведущий вал 19 раскручивают ведущую полумуфту 15 и далее через ведомую полумуфту 16 внутренний вал 6, вал 1 и крыльчатку 2. Перекачиваемая жидкость проходит через входной патрубок 9 в полость 10, далее через отверстия 8 между валами 1 и 6 на криволинейные неподвижные лопатки 22 и на вход в крыльчатку 2. Утечки продукта из разгрузочной полости 25 проходят через подшипник 4 и далее через отверстия 7 между валами 1 и 6 и возвращаются на вход насоса.
Применение изобретения позволяет:
1. Значительно улучшить кавитационные свойства насоса за счет применения закрутки потока в сторону вращения крыльчатки.
2. Спроектировать насос очень большой мощности за счет повышения частоты вращения крыльчатки до предельно допустимых по прочности.
3. Предотвратить срыв потока перекачиваемого компонента в насосе вследствие кавитации на его входе.
4. Создать насос с минимальным весом и габаритами при большом напоре и производительности.
5. Полностью использовать утечки перекачиваемого продукта для смазки подшипника и предотвратить утечки перекачиваемого продукта в дренаж.
6. Увеличить КПД насоса за счет предотвращения утечек продукта в дренаж, что достигнуто особой компоновкой входного патрубка по отношению к входу в крыльчатку и применения магнитной муфты для передачи крутящего момента.
7. Уменьшить стоимость насоса.
8. Упростить технологию изготовления.
Формула изобретения
1. Центробежный насос, содержащий корпус, входной и выходной патрубки, крыльчатку со ступицей, установленную на валу, который установлен на подшипнике, отличающийся тем, что входной патрубок выполнен со стороны, противоположной входу в крыльчатку, вал выполнен пустотелым, внутри него с зазором установлен внутренний вал, имеющий на конце внутри входного патрубка магнитную муфту, а со стороны входа в крыльчатку установлена торцовая стенка с криволинейными неподвижными лопатками.
2. Центробежный насос по п.1, отличающийся тем, что магнитная муфта выполнена в виде двух полумуфт, при этом ведомая полумуфта установлена внутри входного патрубка и соединена с внутренним валом, а ведущая полумуфта установлена в герметичном кожухе и соединена с ведущим валом.
3. Центробежный насос по п.1 или 2, отличающийся тем, что магнитная муфта выполнена торцовой.
РИСУНКИ
|
|