|
| На основании пункта 1 статьи 1366 части четвертой Гражданского кодекса Российской Федерации патентообладатель обязуется заключить договор об отчуждении патента на условиях, соответствующих установившейся практике, с любым гражданином Российской Федерации или российским юридическим лицом, кто первым изъявил такое желание и уведомил об этом патентообладателя и федеральный орган исполнительной власти по интеллектуальной собственности. |
|
(21), (22) Заявка: 2009103981/06, 05.02.2009
(24) Дата начала отсчета срока действия патента:
05.02.2009
(46) Опубликовано: 10.06.2010
(56) Список документов, цитированных в отчете о поиске:
RU 2106534 C1, 10.03.1998. SU 317823 A, 19.10.1971. SU 1254200 A1, 30.08.1986. US 2349731 A, 23.05.1944. DE 1001113 В, 17.01.1957.
Адрес для переписки:
443112, г.Самара, ул. Крайняя, 18, кв.17, Н.Б. Болотину
|
(72) Автор(ы):
Болотин Николай Борисович (RU)
(73) Патентообладатель(и):
Болотин Николай Борисович (RU)
|
(54) ШНЕКОЦЕНТРОБЕЖНЫЙ НАСОС
(57) Реферат:
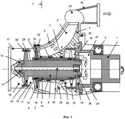
Изобретение относится к насосостроению. Шнекоцентробежный насос содержит корпуса 5, 17, 19, крыльчатку 2 со ступицей 3, установленную на валу 1, и шнек. Внутри ступицы 3 установлены промежуточный и внутренний валы 6, 8. На одном конце внутреннего вала 8 установлен первый шнек 10, который закреплен на валу 8 конической гайкой 11, на конической поверхности которой выполнено рабочее колесо 12 первой гидротурбины, на периферии. На концах промежуточного вала 6 установлены второй шнек 13 и рабочее колесо 15 второй гидротурбины. Сопловой аппарат 14 второй гидротурбины установлен в полости внутри ступицы 3. В ступице 3 выполнены сквозные отверстия 25, соединяющие полость крыльчатки 2 с полостью 26 в ступице 3. После рабочего колеса 15 второй гидротурбины выполнен канал перепуска для возврата перекачиваемого продукта в полость 18 перед рабочим колесом 12 первой гидротурбины в виде сквозного осевого отверстия 28 во внутреннем валу 8 и конической гайке 11. Шнеки 10, 13 выполнены с возможностью вращения в противоположные стороны. Изобретение направлено на улучшение кавитационных свойств насоса. 2 з.п. ф-лы, 3 ил.
Изобретение относится к насосостроению и может быть использовано преимущественно в любых отраслях техники для перекачки жидкостей, не содержащих абразивных включений.
Известен шнекоцентробежный насос по патенту РФ на изобретение 2094660, содержащий разъемный корпус, центробежные рабочие колеса (крыльчатки), шнек, вал и опорные узлы в виде подшипников скольжения и качения. Насос имеет плохие кавитационные свойства.
Наиболее близким к изобретению является шнекоцентробежный насос по патенту РФ 2106534, МПК F04D 13/04, опубл. 10.03.1998. Известный шнекоцентробежный насос содержит корпуса, крыльчатку со ступицей, установленную на валу, и шнек. Шнек улучшает кавитационные свойства насоса, т.к. он обладает лучшими кавитационными свойствами, чем центробежная крыльчатка. Шнек обеспечивает повышение кавитационных свойств насоса, но он механически связан с рабочим колесом насоса и имеет с ним одинаковую угловую скорость вращения. Это не позволяет эксплуатировать насос на очень больших оборотах, например, 40 100 тыс. об/мин, поэтому такие насосы в настоящее время не применяются.
Задача создания изобретения – улучшение кавитационных свойств насоса.
Решение указанной задачи и технический результат достигаются за счет того, что в шнекоцентробежном насосе, содержащем корпуса, крыльчатку со ступицей, установленную на валу, и шнек, согласно изобретению внутри ступицы установлены промежуточный и внутренний валы, при этом на одном конце внутреннего вала установлен первый шнек, который закреплен на этом валу конической гайкой, на конической поверхности которой выполнено рабочее колесо гидротурбины на периферии, а на концах промежуточного вала установлены второй шнек и рабочее колесо второй гидротурбины, сопловой аппарат второй гидротурбины установлен в полости внутри ступицы, в ступице выполнены сквозные отверстия, соединяющие полость крыльчатки с полостью в ступице, после рабочего колеса второй гидротурбины выполнен канал перепуска для возврата перекачиваемого продукта в полость перед рабочим колесом первой гидротурбины. Шнеки могут быть выполнены с возможностью вращения в противоположные стороны. Канал перепуска для возврата перекачиваемого продукта может быть выполнен в виде сквозного осевого отверстия во внутреннем валу и конической гайке.
Изобретение поясняется чертежами, где:
на фиг.1 приведен продольный разрез шнекоцентробежного насоса;
на фиг.2 – сечение А-А на фиг.1;
на фиг.3 – узел Б на фиг.1.
Центробежный насос (фиг.1) содержит вал 1, который выполнен пустотелым. На валу 1 установлена крыльчатка 2 со ступицей 3. Вал 1 установлен на подшипнике 4 в корпусе 5. Промежуточный вал 6 проходит внутри ступицы 3 и установлен внутри нее, по меньшей мере, на одном промежуточном подшипнике 7. Внутри промежуточного вала 6 установлен внутренний вал 8, который установлен внутри вала 6 на подшипниках 9. С одной стороны (со стороны входа в крыльчатку 2) на внутреннем валу 8 установлен первый шнек 10, который закреплен на этом валу 8 при помощи конической гайки 11, на конической части которой на периферии выполнено рабочее колесо 12 первой гидротурбины. На промежуточном валу 6 на одном его конце установлен второй шнек 13, а с другой стороны установлено рабочее колесо 15 второй гидротурбины. Сопловой аппарат 14 второй гидротурбины установлен перед рабочим колесом 15 второй гидротурбины. В качестве подшипников 7 и 9 могут быть применены подшипники скольжения или игольчатые подшипники. Для восприятия осевых нагрузок на валы 6 и 8 служат контактные кольца 16, установленные на их торцах.
К корпусу 5 подстыкованы входной корпус 17, имеющий полость 18, и выходной корпус 19, имеющий полость 20. Между первым шнеком 10 и вторым шнеком 13 образована полость 21. Между корпусом 5 и крыльчаткой 2 выполнено переднее уплотнение 22. Со стороны заднего торца крыльчатки 2 на ее ступице 3 выполнены заднее уплотнение 23 и разгрузочная полость 24. В ступице 3 крыльчатки 2 выполнены отверстия 25, выходящие в полость 26 перед гидротурбиной. За рабочим колесом 15 второй гидротурбины 13 выполнена полость 27.
Внутри внутреннего вала 8 и конической гайки 11 выполнено сквозное отверстие 28, которое выходит в полость 18 перед рабочим колесом 12 первой гидротурбины, служащее для возврата части расхода перекачиваемого продукта на вход в насос и для привода рабочего колеса 12 первой гидротурбины. На первом шнеке 10 может быть выполнен бандаж 29 с уплотнениями 30. Входной корпус 17 в этом случае необходимо изготовить цилиндрическим, это уменьшит перетекание перекачиваемого продукта из-за разности давлений на входе и выходе первого шнека 10. Второй шнек 13 следует выполнить без бандажа, чтобы уменьшить загромождение тракта на входе в крыльчатку 2, но внутри крыльчатки 2 необходимо предусмотреть цилиндрический пояс 31 (фиг.3).
При включении привода (не показан) раскручивается вал 1 с крыльчаткой 2. Внутри крыльчатки 2 и на выходе из нее, т.е. в полости 20, повышается давление перекачиваемого продукта, и его часть (10% 15%) через отверстия 25 поступает в полость 26 и далее проходит последовательно сопловой аппарат 14 и рабочее колесо 15 второй гидротурбины. Потом по сквозному отверстию 28 продукт поступает на рабочее колесо 12 первой гидротурбины. При этом раскручивается рабочее колесо 12 первой гидротурбины и внутренний вал 8 с первым шнеком 10, а также рабочее колесо 15 второй гидротурбины с промежуточным валом 6 и вторым шнеком 13. Шнеки 10 и 13 значительно повышают давление на входе в крыльчатку 2, тем самым предотвращая кавитацию на входе в нее. Первый шнек 10 повышает давление между шнеками 10 и 12, создавая благоприятные условия с точки зрения предотвращения кавитации на входе во второй шнек 13, даже с учетом перепуска подогретого перекачиваемого продукта. С учетом того, что первый шнек 10 вращается в 3 10 раз медленнее, чем крыльчатка 2, на его входе кавитация исключена. Второй шнек 13 вращается со скоростью в 2 3 раза медленнее, чем крыльчатка 2, что также благоприятно сказывается на его кавитационных качествах. Утечки перекачиваемого продукта, которые прошли через заднее уплотнение 23, могут использоваться для смазки подшипника 4 и поступают в полость 24 и далее – на вход в насос или сбрасываются, если перекачиваемый продукт не ядовитый и утечки перекачиваемого продукта небольшие. (Система возврата этих утечек на фиг.1 3 не показана.)
Применение изобретения позволяет:
1. Значительно улучшить кавитационные свойства насоса за счет применения двух шнеков, уменьшения скоростей вращения шнеков и применения консольной схемы.
2. Спроектировать насос очень большой мощности за счет повышения частоты вращения крыльчатки до предельно допустимых по прочности.
3. Предотвратить срыв потока перекачиваемого компонента в насосе вследствие кавитации на его входе.
4. Создать насос с минимальным весом и габаритами при большом напоре и производительности.
5. Разгрузить осевые силы, действующие на ротор насоса и на внутренний и промежуточный валы, т.к. осевые силы, создаваемые вторым шнеком и рабочим колесом второй гидротурбины, направлены в противоположные стороны, а с внутреннего вала осевая сила передается на промежуточный вал. Суммарно усилие от внутреннего и промежуточного валов передается на мощный подшипник 4.
6. Уменьшить утечки перекачиваемого продукта на вход в насос и между шнеками и уменьшить утечки в дренаж.
7. Увеличить КПД насоса.
Формула изобретения
1. Шнекоцентробежный насос, содержащий корпуса, крыльчатку со ступицей, установленную на валу, и шнек, отличающийся тем, что внутри ступицы установлены промежуточный и внутренний валы, при этом на одном конце внутреннего вала установлен первый шнек, который закреплен на этом валу конической гайкой, на конической поверхности которой выполнено рабочее колесо гидротурбины, на периферии, а на концах промежуточного вала установлены второй шнек и рабочее колесо второй гидротурбины, сопловой аппарат второй гидротурбины установлен в полости внутри ступицы, в ступице выполнены сквозные отверстия, соединяющие полость крыльчатки с полостью в ступице, после рабочего колеса второй гидротурбины выполнен канал перепуска для возврата перекачиваемого продукта в полость перед рабочим колесом первой гидротурбины.
2. Насос по п.1, отличающийся тем, что шнеки выполнены с возможностью вращения в противоположные стороны.
3. Насос по п.1, отличающийся тем, что канал перепуска для возврата перекачиваемого продукта выполнен в виде сквозного осевого отверстия во внутреннем валу и конической гайке.
РИСУНКИ
|
|