|
| На основании пункта 1 статьи 1366 части четвертой Гражданского кодекса Российской Федерации патентообладатель обязуется заключить договор об отчуждении патента на условиях, соответствующих установившейся практике, с любым гражданином Российской Федерации или российским юридическим лицом, кто первым изъявил такое желание и уведомил об этом патентообладателя и федеральный орган исполнительной власти по интеллектуальной собственности. |
|
(21), (22) Заявка: 2009118976/06, 19.05.2009
(24) Дата начала отсчета срока действия патента:
19.05.2009
(46) Опубликовано: 10.06.2010
(56) Список документов, цитированных в отчете о поиске:
SU 317823 А, 19.10.1971. RU 2106534 C1, 10.03.1998. SU 1254200 A1, 30.08.1986. US 2349731 A, 23.05.1944. DE 1001113 В, 17.01.1957.
Адрес для переписки:
443112, г.Самара, ул. Крайняя, 18, кв.17, Н.Б. Болотину
|
(72) Автор(ы):
Болотин Николай Борисович (RU)
(73) Патентообладатель(и):
Болотин Николай Борисович (RU)
|
(54) ШНЕКОЦЕНТРОБЕЖНЫЙ НАСОС
(57) Реферат:
Изобретение относится к насосостроению. Шнекоцентробежный насос содержит рабочее колесо 2 со ступицей 3, установленное в корпусе 5 на основном валу 1. Внутри вала 1 проходит дополнительный вал 6, на котором установлен на конце со стороны входа в рабочее колесо 2 шнек 8. К корпусу 5 подсоединены входной и выходной корпусы 16, 18. Внутри шнека 8 выполнена внутренняя полость 9, сообщающаяся каналом 11 и отверстиями 12, 13, 21 с полостью 19 выходного корпуса 18. На внешней или передней поверхностях шнека 8 выполнены отверстия 10, сообщающиеся с внутренней полостью 9 для создания крутящего момента на шнеке 8, совмещенном с гидротурбиной. Между валами 1 и 6 может быть установлен, по меньшей мере, один промежуточный подшипник 7, который может быть выполнен магнитным. Изобретение направлено на улучшение кавитационных свойств насоса. 2 з.п. ф-лы, 1 ил.
Изобретение относится к насосостроению и может быть использовано преимущественно для перекачки жидкостей, не содержащих абразивных включений, в любых отраслях техники.
Известен шнековый насос, содержащий установленный на валу основной шнек (RU 2101574 С1, 10.01.1998).
Недостатком этого насоса являются его плохие антикавитационные свойства и небольшой напор, создаваемый им по сравнению с центробежными насосами, и низкий КПД.
Наиболее близким к изобретению является шнекоцентробежный насос, содержащий рабочее колесо со ступицей, установленное в корпусе на основном валу, внутри которого проходит дополнительный вал, на котором установлена гидротурбина и на конце со стороны входа в рабочее колесо – шнек, а к корпусу подсоединены входной и выходной корпусы (SU 317823A, 19.10.1971).
Недостатком насоса являются плохие его кавитационные качества.
Задачей создания изобретения является улучшение антикавитационных свойств насоса и повышение его напора и КПД.
Технический результат достигается за счет того, что в шнекоцентробежном насосе, содержащем рабочее колесо со ступицей, установленное в корпусе на основном валу, внутри которого проходит дополнительный вал, на котором установлена гидротурбина и на конце со стороны входа в рабочее колесо – шнек, а к корпусу подсоединены входной и выходной корпусы, согласно изобретению гидротурбина совмещена с дополнительным шнеком, внутри которого выполнена внутренняя полость, сообщающаяся каналами и отверстиями с полостью выходного корпуса, а на внешней или передней поверхностях шнека выполнены отверстия, сообщающиеся с внутренней полостью для создания крутящего момента на дополнительном шнеке, совмещенном с гидротурбиной. Между валом и дополнительным валом может быть установлен, по меньшей мере, один промежуточный подшипник. Один или все промежуточные подшипники могут быть выполнены магнитными.
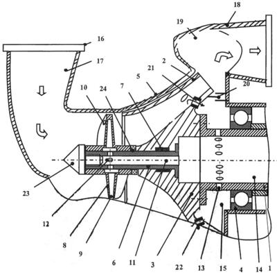
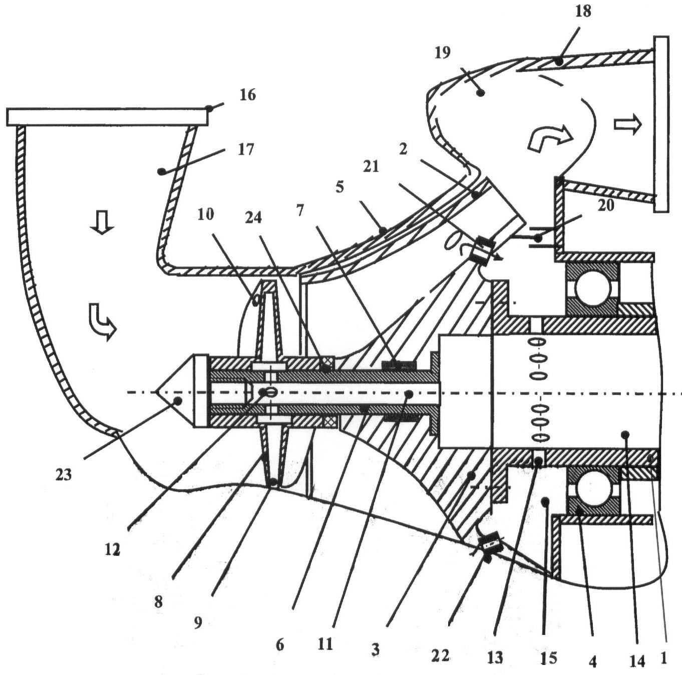
Сущность изобретения поясняется на чертеже, где приведен продольный разрез шнекоцентробежного насоса.
Шнекоцентробежный насос содержит вал 1, который выполнен пустотелым. На валу 1 установлено рабочее колесо 2, имеющее ступицу 3. Вал 1 установлен на подшипнике 4 в корпусе 5. Дополнительный вал 6 проходит внутри ступицы 3 и установлен, по меньшей мере, на одном промежуточном подшипнике 7, который установлен внутри ступицы 3. Подшипник 7 может быть любого типа, например игольчатый, или подшипник скольжения, или магнитная опора (магнитный подшипник). На одном конце дополнительного вала 6, со стороны входа в насос, установлен шнек 8, совмещенный с гидротурбиной (или выполняющий одновременно функции гидротурбины). Внутри шнека 8 выполнена внутренняя полость 9, а на внешней или передней поверхностях шнека 8 выполнены отверстия 10, сообщающиеся с внутренней полостью 9 для создания крутящего момента на дополнительном шнеке 8, совмещенном с гидротурбиной. Отверстия 10 выполнены тангенциальными, т.е. по касательной или под острым углом к поверхности шнека 8. Внутри дополнительного вала 6 выполнен осевой канал 11 и радиальные отверстия 12, соединяющие этот канал с внутренней полостью 9 шнека 8. На валу 1 выполнены радиальные отверстия 13, внутри него – полость 14. Радиальные отверстия 13 соединяют разгрузочную полость 15 с полостью 14.
К корпусу 5 подстыкованы входной корпус 16, имеющий входную полость 17, и выходной корпус 18, имеющий выходную полость 19. Между рабочим колесом 2 и подшипником 4 установлено уплотнение 20. В рабочем колесе 2 выполнены отверстия 21, в которых установлены жиклеры 22. Шнек 8 закреплен на промежуточном валу винтом 23 с конической головкой. Между крыльчаткой 2 и шнеком 8 установлено кольцо 24 из фрикционного материала. Внутренняя полость 9 шнека 8 сообщена каналом 11 и отверстиями 12, 13, 21 с полостью 19 выходного корпуса 18.
При включении привода (не показан) раскручивается вал 1 с рабочим колесом 2. На выходе из колеса 2 повышается давление перекачиваемого продукта и его часть (10% 15%) через жиклеры 22 поступает в разгрузочную полость 15. Далее перекачиваемый продукт поступает через радиальные отверстия 13 в полость 14, потом по каналу 11 через радиальные отверстия 12 во внутреннюю полость 9 и через отверстия 10 сбрасывается во входную полость 17, создавая при этом реактивный момент, действующий на шнек 8, выполняющий одновременно функции гидротурбины. Дополнительный вал 6 вследствие небольшого расхода перекачиваемого продукта, проходящего через внутреннюю полость 9 шнека 8 (10% 15% от общего расхода), вращается значительно медленнее, чем вал 1, т.е. шнек 8 вращается с меньшими оборотами, чем рабочее колесо 2. Это благоприятно сказывается на антикавитационных свойствах насоса в целом и одновременно позволяет спроектировать рабочее колесо 2 для работы на очень больших скоростях, что уменьшает вес и габариты насоса. Подбором диаметра жиклеров 22 можно настроить оптимальный режим работы шнека 8.
Утечки перекачиваемого продукта, которые прошли через уплотнение 20, могут использоваться для смазки подшипника 4, сбрасываться в дренаж или на вход в насос, если подшипник 4 не смазывается перекачиваемым продуктом. Схема позволяет разгрузить осевые силы, действующие на дополнительные подшипники 7, т.к. осевые силы, создаваемые шнеком 8, выполняющим функции гидротурбины, компенсируются.
Применение изобретения позволяет:
1. Значительно улучшить антикавитационные свойства насоса за счет уменьшения скорости вращения шнека и применения консольной схемы.
2. Облегчить доводку насоса путем отдельной доводки системы разгрузки осевых сил и антикавитационных свойств насоса.
3. Спроектировать насос очень большой мощности за счет повышения частоты вращения рабочего колеса.
4. Предотвратить срыв потока перекачиваемого продукта в насосе вследствие кавитации на его входе.
5. Создать насос с минимальным весом и габаритами при большом напоре и производительности за счет близкого расположения гидротурбины и шнека, что привело к уменьшению числа деталей, упрощению сборки и уменьшению осевых габаритов насоса.
6. Разгрузить осевые силы, действующие на дополнительный подшипник(и), т.к. осевые силы, создаваемые шнеком, незначительны.
7. Устранить утечки перекачиваемого продукта в дренаж.
8. Обеспечить при необходимости смазку и охлаждение всех подшипников насоса перекачиваемым продуктом.
Формула изобретения
1. Шнекоцентробежный насос, содержащий рабочее колесо со ступицей, установленное в корпусе на основном валу, внутри которого проходит дополнительный вал, на котором установлена гидротурбина и на конце со стороны входа в рабочее колесо – шнек, а к корпусу подсоединены входной и выходной корпуса, отличающийся тем, что гидротурбина совмещена со шнеком, внутри которого выполнена внутренняя полость, сообщающаяся каналами и отверстиями с полостью выходного корпуса, а на внешней или передней поверхностях шнека выполнены отверстия, сообщающиеся с внутренней полостью для создания крутящего момента на шнеке, совмещенном с гидротурбиной.
2. Шнекоцентробежный насос по п.1, отличающийся тем, между валом и дополнительным валом установлен, по меньшей мере, один промежуточный подшипник.
3. Шнекоцентробежный насос по п.2, отличающийся тем, что один или все промежуточные подшипники выполнены магнитными.
РИСУНКИ
|
|