|
| На основании пункта 1 статьи 1366 части четвертой Гражданского кодекса Российской Федерации патентообладатель обязуется заключить договор об отчуждении патента на условиях, соответствующих установившейся практике, с любым гражданином Российской Федерации или российским юридическим лицом, кто первым изъявил такое желание и уведомил об этом патентообладателя и федеральный орган исполнительной власти по интеллектуальной собственности. |
|
(21), (22) Заявка: 2009115092/06, 20.04.2009
(24) Дата начала отсчета срока действия патента:
20.04.2009
(46) Опубликовано: 10.06.2010
(56) Список документов, цитированных в отчете о поиске:
SU 317823 А, 19.10.1971. SU 1254200 A1, 30.08.1986. US 2349731 A, 23.05.1944. DE 1001113 В, 17.01.1957.
Адрес для переписки:
443112, г.Самара, ул. Крайняя, 18, кв.17, Н.Б. Болотину
|
(72) Автор(ы):
Болотин Николай Борисович (RU)
(73) Патентообладатель(и):
Болотин Николай Борисович (RU)
|
(54) ШНЕКОВЫЙ НАСОС
(57) Реферат:
Изобретение относится к насосостроению. Шнековый насос содержит основной шнек 2 с втулкой 3, установленный в корпусе 5 на пустотелом валу 1, внутри которого проходит дополнительный вал 6. На валу 6 установлена гидротурбина и на конце со стороны входа в основной шнек 2 – дополнительный шнек 8. К корпусу 5 подсоединены входной и выходной корпуса 15, 17. Гидротурбина совмещена с дополнительным шнеком 8, для чего внутри шнека 8 выполнена внутренняя полость 9, сообщающаяся каналом 13 и отверстиями 11, 14 с полостью 18 выходного корпуса 17. На внешней или передней поверхностях 23, 24 шнека 8 выполнены отверстия 10, сообщающиеся с внутренней полостью 9 для создания крутящего момента на дополнительном шнеке 8, совмещенном с гидротурбиной. Между валом 1 и дополнительным валом 6 может быть установлен, по меньшей мере, один промежуточный подшипник 7. Один или все промежуточные подшипники 7 могут быть выполнены магнитными. Изобретение направлено на улучшение кавитационных свойств насоса. 2 з.п. ф-лы, 4 ил.
Изобретение относится к насосостроению и может быть использовано преимущественно для перекачки жидкостей, не содержащих абразивных включений, в любых отраслях техники.
Известен шнековый насос, содержащий установленный на валу основной шнек (RU 2101574 С1, 10.01,1998).
Недостатками этого насоса являются его плохие антикавитационные свойства, небольшой напор, создаваемый им по сравнению с центробежными насосами, и низкий кпд.
Наиболее близким к изобретению является шнековый насос, содержащий основной шнек с втулкой, установленный в корпусе на пустотелом валу, внутри которого проходит дополнительный вал, на котором установлена гидротурбина и на конце со стороны входа в основной шнек – дополнительный шнек, а к корпусу подсоединены входной и выходной корпуса (SU 317823 А, 19.10.1971).
Недостаток известного насоса – плохие кавитационные качества.
Задачей создания изобретения является улучшение антикавитационных свойств насоса и повышение его напора и кпд.
Технический результат достигается за счет того, что в шнековом насосе, содержащем основной шнек с втулкой, установленный в корпусе на пустотелом валу, внутри которого проходит дополнительный вал, на котором установлена гидротурбина и на конце со стороны входа в основной шнек – дополнительный шнек, а к корпусу подсоединены входной и выходной корпуса, согласно изобретению гидротурбина совмещена с дополнительным шнеком, внутри которого выполнена внутренняя полость, сообщающаяся каналами и отверстиями с полостью выходного корпуса, а на внешней или передней поверхности шнека выполнены отверстия, сообщающиеся с внутренней полостью для создания крутящего момента на дополнительном шнеке, совмещенном с гидротурбиной. Между валом и дополнительным валом может быть установлен, по меньшей мере, один промежуточный подшипник. Один или все промежуточные подшипники могут быть выполнены магнитными.
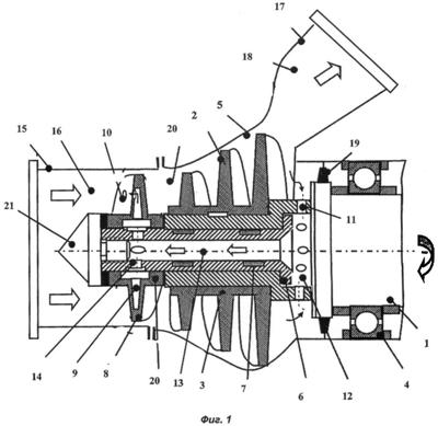
Сущность изобретения поясняется чертежами,
где на фиг.1 приведен продольный разрез насоса;
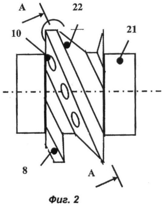
на фиг.2 – вид дополнительного шнека;
на фиг.3 – разрез А-А на фиг.2;
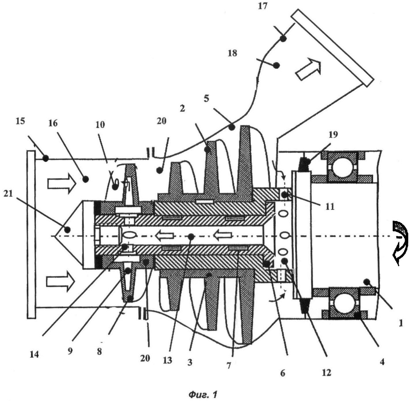
на фиг.4 – сечение лопатки дополнительного шнека.
Шнековый насос (фиг.1-4) содержит вал 1, который выполнен пустотелым. На валу 1 установлен основной шнек 2, имеющий втулку 3. Вал 1 установлен на подшипнике 4 в корпусе 5. Дополнительный вал 6 проходит внутри втулки 3 и установлен, по меньшей мере, на одном промежуточном подшипнике 7. Подшипник 7 может быть любого типа, например игольчатый, или подшипник скольжения, или магнитная опора (магнитный подшипник). На одном конце дополнительного вала 6, со стороны входа в насос, установлен дополнительный шнек 8, совмещенный с гидротурбиной (или выполняющий одновременно функции гидротурбины). Внутри дополнительного шнека 8 выполнена внутренняя полость 9 и сквозные отверстия 10, выходящие в эту полость. В валу 1 выполнены радиальные отверстия 11, внутри него – полость 12 и осевой канал 13. Радиальные отверстия 14, выполненные в дополнительном валу 6, соединяют осевой канал 13 с внутренней полостью 9 дополнительного шнека 8.
К корпусу 5 подстыкованы входной корпус 15, имеющий входную полость 16, и выходной корпус 17, имеющий выходную полость 18. Между основным шнеком 2 и подшипником 4 установлено уплотнение 19. Между дополнительным шнеком 8 и основным шнеком 2 выполнена полость 20.
Дополнительный шнек 8 содержит ступицу 21 и лопатки 22, которые, в свою очередь, имеют наружную поверхность 23, переднюю поверхность 24 и заднюю поверхность 25 (фиг.3 и 4). Отверстия 10 выполнены на внешней поверхности 23 (фиг.3) или на передней поверхности 24, в первом случае они должны быть выполнены тангенциально или под углом.
При включении привода (не показан) раскручивается вал 1 с основным шнеком 2. На выходе из основного шнека 2 повышается давление перекачиваемого продукта, и его часть (10-15%) по каналу через радиальные отверстия 11, канал 13 и радиальные отверстия 14 поступает во внутреннюю полость 9 и потом сбрасывается во входную полость 16, создавая при этом реактивный момент, действующий на дополнительный шнек 8, выполняющий одновременно функции гидротурбины. Дополнительный вал 6, вследствие небольшого расхода перекачиваемого продукта, проходящего через гидротурбину 8, вращается значительно медленнее, чем вал 1, т.е. дополнительный шнек 8 вращается с меньшими оборотами, чем основной шнек 2. Это благоприятно сказывается на антикавитационных свойствах насоса в целом и одновременно позволяет спроектировать основной шнек 2 для работы на очень больших скоростях, что уменьшает вес и габариты насоса. Подбором диаметра отверстий 11 можно настроить оптимальный режим работы дополнительного шнека 8.
Утечки перекачиваемого продукта, которые прошли через уплотнение 19, могут использоваться для смазки подшипника 4 или сбрасываться в дренаж или на вход в насос, если подшипник 4 не смазывается перекачиваемым продуктом. Схема позволила разгрузить осевые силы, действующие на дополнительные подшипник 7, т.к. осевые силы, создаваемые дополнительным шнеком 8, выполняющим функции гидротурбины, компенсируются.
Применение изобретения позволяет:
1) значительно улучшить антикавитационные свойства насоса за счет уменьшения скорости вращения дополнительного шнека и применения консольной схемы;
2) облегчить доводку насоса путем отдельной доводки системы разгрузки осевых сил и антикавитационных свойств насоса;
3) повысить прочность насоса за счет отказа от центробежной крыльчатки;
4) спроектировать насос очень большой мощности за счет повышения частоты вращения основного шнека;
5) предотвратить срыв потока перекачиваемого компонента в насосе вследствие кавитации на его входе;
6) создать насос с минимальным весом и габаритами при большом напоре и производительности за счет близкого расположения гидротурбины и дополнительного шнека, что приводит к уменьшению числа деталей, упрощению сборки и уменьшению осевых габаритов насоса;
7) разгрузить осевые силы, действующие на дополнительный подшипник или подшипники, т.к. осевые силы, создаваемые шнеком, незначительны;
8) устранить утечки перекачиваемого продукта в дренаж;
9) обеспечить при необходимости смазку и охлаждение всех подшипников насоса перекачиваемым продуктом.
Формула изобретения
1. Шнековый насос, содержащий основной шнек с втулкой, установленный в корпусе на пустотелом валу, внутри которого проходит дополнительный вал, на котором установлена гидротурбина и на конце со стороны входа в основной шнек дополнительный шнек, а к корпусу подсоединены входной и выходной корпуса, отличающийся тем, что гидротурбина совмещена с дополнительным шнеком, внутри которого выполнена внутренняя полость, сообщающаяся каналами и отверстиями с полостью выходного корпуса, а на внешней или передней поверхностях шнека выполнены отверстия, сообщающиеся с внутренней полостью для создания крутящего момента на дополнительном шнеке, совмещенном с гидротурбиной.
2. Шнековый насос по п.1, отличающийся тем, что между валом и дополнительным валом установлен, по меньшей мере, один промежуточный подшипник.
3. Шнековый насос по п.2, отличающийся тем, что один или все промежуточные подшипники выполнены магнитными.
РИСУНКИ
|
|