|
|
(21), (22) Заявка: 2008142643/06, 27.10.2008
(24) Дата начала отсчета срока действия патента:
27.10.2008
(46) Опубликовано: 10.06.2010
(56) Список документов, цитированных в отчете о поиске:
SU 23260 A1, 30.09.1931. DE 19937965 A1, 23.03.2000. RU 2013651 C1, 30.05.1994. RU 2005204 C1, 30.12.1993. GB 2453937 A, 29.04.2009.
Адрес для переписки:
394026, г.Воронеж, Московский пр-кт, 14, ГОУВПО “ВГТУ”, патентный отдел
|
(72) Автор(ы):
Литвиненко Александр Михайлович (RU)
(73) Патентообладатель(и):
Государственное образовательное учреждение высшего профессионального образования “Воронежский государственный технический университет” (RU)
|
(54) ЭЛЕКТРОДИНАМИЧЕСКИЙ ВЕТРОЭЛЕКТРОГЕНЕРАТОР
(57) Реферат:
Изобретение относится к области ветроэнергетики, а точнее, к безлопастным динамическим генераторам. Электродинамический ветроэлектрогенератор содержит хвостовые элементы и ветроприемники, выполненные в виде упруго натянутых лент, соединенных посредством тяг с подпружиненной подвижной частью линейных электрогенераторов. Ленты натянуты на вертикальных стойках размещенной на поворотном основании рамы, хвостовые элементы установлены на горизонтальных штангах, прикрепленных к вертикальным стойкам, при этом ленты соединены с тягами в их средней части. Преимуществом заявленного электродинамического ветроэлектрогенератора является его повышенная надежность, связанная с отсутствием вращающихся частей, и низкая себестоимость, поскольку в качестве активного элемента выступают упругие ленты, являющиеся крупносерийными изделиями и не требующие наличия сложных аэродинамических поверхностей, выполнение которых сопряжено с затратами. 9 ил.
Изобретение относится к области ветроэнергетики, а точнее, к безлопастным динамическим генераторам.
Известен электрогидравлический динамический генератор [1], состоящий из механизма получения коллоидных частиц, входного и собирающего электродов, источника питания и системы управления.
Данные генераторы не нашли применения, т.к. их недостатком являются большие потери на генерацию коллоидных частиц, возникновение коррозии (эрозии), трудность в обеспечении безопасности из-за наличия высокого напряжения.
Наиболее близким к заявляемому по технической сущности является генератор, реализующий способ преобразования энергии потока в электрическую [2]. Генератор представляет собой набор ветроприемников – металлических струн, помещенных в магнитное поле, возбуждаемое источником, при этом за счет энергии потока возникают автоколебания, а струны становятся генераторами электроэнергии.
Недостатком данного генератора является его низкая эффективность, т.к. струны, представляющие собой фактически полувитковые катушки, не полностью омываются потоком из за того, что поток экранируется источниками магнитного поля.
Изобретение направлено на повышение эффективности генератора за счет разделения функций ветроприема и генерации энергии.
Это достигается тем, что электродинамический ветроэлектрогенератор содержит хвостовые элементы и ветроприемники, выполненные в виде упруго натянутых лент, соединенных посредством тяг с подпружиненной подвижной частью линейных электрогенераторов. Согласно изобретению ленты натянуты на вертикальных стойках размещенной на поворотном основании рамы, хвостовые элементы установлены на горизонтальных штангах, прикрепленных к вертикальным стойкам, при этом ленты соединены с тягами в их средней части.
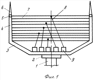
Сущность изобретения иллюстрируется чертежами, где на фиг.1 изображен заявляемый ветроэлектрогенератор, вид спереди, на фиг.2 – вид сбоку, на фиг.3 – вид сверху, на фиг.4 схематично указано место крепления штока линейного генератора к ленте, на фиг.5 схематично показано среднее положение обмотки линейного генератора, на фиг.6 – верхнее положение штока, на фиг.7 – нижнее положение, на фиг.8 схематично показано устройство линейного генератора с подвижным элементом в виде катушки, на фиг.9 – устройство линейного генератора с подвижным элементом в виде магнита.
Электродинамический ветроэлектрогенератор содержит башню 1, поворотное основание 2, на поворотном основании укреплена рама 3 с вертикальными стойками 4, к которым прикреплены горизонтальные штанги 5 с хвостовыми элементами 6. Между стойками натянуты ленты 7, средние части которых через тяги 8 соединены с линейными электрогенераторами 9. Горизонтальные штанги снабжены подкосами 10 и хвостовой планкой 11. Место закрепления штока 8 к средней части лент 7 может быть усилено нормирующей планкой. Подвижная часть линейных электрогенераторов подпружинена с помощью пружины 12. На фиг.5, 6, 7 подвижный элемент генератора обозначен позицией 13, неподвижный – 14. Первое исполнение генератора имеет гибкий токоподвод 15, катушку 16 на каркасе 17, соединенном с дном 18, которое в свою очередь прикреплено к штоку 8. Неподвижный статорный элемент включает в себя внутренний 19 и внешний 20 магнитопроводы, источник магнитного поля 21 (постоянный магнит), замыкающий магнитопровод 22, крепежный цилиндр 23 и основание 24. Второе исполнение, наоборот, имеет подвижную магнитную систему к внутреннему магнитопроводу 19, к которым прикреплен шток 8. Катушка 16 закреплена неподвижно на кронштейне 25.
Электродинамический ветроэлектрогенератор работает следующим образом. При набегании ветрового потока на упруго натянутые ленты 7 происходит их колебание с частотой, определяемыми параметрами потока. Данные колебания через штангу 9 и шток 8 передаются на подвижный элемент генератора:
– для первого исполнения – через дно 18 с каркасом 17 и катушкой 16;
– для второго исполнения – через внутренний магнитопровод 19 магнитной системы, состоящей из элементов 20, 21, 24. При перемещении подвижных элементов относительно неподвижных происходит пересечение витков катушки силовыми линиями магнитного поля, в результате чего в катушке наводится ЭДС, которая далее передается потребителю.
Технико-экономическим преимуществом заявленного электродинамического ветроэлектрогенератора является его повышенная надежность, связанная с отсутствием вращающихся частей, и низкая себестоимость, поскольку в качестве активного элемента выступают упругие ленты, являющиеся крупносерийными изделиями и не требующие наличия сложных аэродинамических поверхностей, выполнение которых сопряжено с затратами.
Источники информации
1. Ветроэнергетика / Под ред. Д. де Рензо: Пер. с англ.: – М.: Энергоатомиздат, 1982, с.152, §44.
2. Патент РФ 2244850 – Способ преобразования энергии набегающего потока в электрическую энергию / Сатаев Ю.А., Попов В.В.
Формула изобретения
Электродинамический ветроэлектрогенератор, содержащий хвостовые элементы и ветроприемники, выполненные в виде упруго натянутых лент, соединенных посредством тяг с подпружиненной подвижной частью линейных электрогенераторов, отличающийся тем, что ленты натянуты на вертикальных стойках размещенной на поворотном основании рамы, хвостовые элементы установлены на горизонтальных штангах, прикрепленных к вертикальным стойкам, при этом ленты соединены с тягами в их средней части.
РИСУНКИ
|
|