Патент на изобретение №2391542

Published by on




РОССИЙСКАЯ ФЕДЕРАЦИЯ



ФЕДЕРАЛЬНАЯ СЛУЖБА
ПО ИНТЕЛЛЕКТУАЛЬНОЙ СОБСТВЕННОСТИ,
ПАТЕНТАМ И ТОВАРНЫМ ЗНАКАМ
(19) RU (11) 2391542 (13) C1
(51) МПК

F02K9/64 (2006.01)

(12) ОПИСАНИЕ ИЗОБРЕТЕНИЯ К ПАТЕНТУ

Статус: по данным на 09.08.2010 – действует

(21), (22) Заявка: 2008149575/06, 17.12.2008

(24) Дата начала отсчета срока действия патента:

17.12.2008

(46) Опубликовано: 10.06.2010

(56) Список документов, цитированных в отчете о
поиске:
ДОБРОВОЛЬСКИЙ М.В. и др. Жидкостные ракетные двигатели. Основы проектирования. – М.: Высшая школа, 1968, раздел 6.2, с.224. RU 2155273 C1, 27.08.2000. GB 2196391 A, 27.04.1988. FR 2588313 A1, 10.04.1987. DE 3320556 A1, 08.12.1983.

Адрес для переписки:

394026, г.Воронеж, Московский пр-кт, 14, ГОУВПО “ВГТУ”, патентный отдел

(72) Автор(ы):

Горохов Виктор Дмитриевич (RU),
Черниченко Владимир Викторович (RU),
Черниченко Виктор Владимирович (RU)

(73) Патентообладатель(и):

Государственное образовательное учреждение высшего профессионального образования “Воронежский государственный технический университет” (RU)

(54) ЖИДКОСТНЫЙ РАКЕТНЫЙ ДВИГАТЕЛЬ

(57) Реферат:

Изобретение относится к области ракетной техники и может быть использовано при создании жидкостных ракетных двигателей (ЖРД). Жидкостный ракетный двигатель содержит регенеративно охлаждаемую камеру с трактом охлаждения, образованным профилированными внутренней и наружной оболочками, скрепленными между собой, турбонасосный агрегат с турбиной и насосами подачи компонентов топлива в смесительную головку камеры, агрегаты управления. В профилированных обечайках камеры сгорания выполнен, как минимум, один канал, проходящий через тракт охлаждения, полость которого, с одной стороны, сообщается с полостью камеры сгорания, с другой – соединена с входной полостью турбины турбонасосного агрегата, при этом в полость канала открывается трубопровод подачи одного из компонентов топлива. Изобретение обеспечивает упрощение пневмогидравлической схемы и улучшение массово-габаритных характеристик. 2 ил.

Изобретение относится к области ракетной техники и может быть использовано при создании жидкостных ракетных двигателей (ЖРД).

Одним из направлений в совершенствовании конструкции ЖРД является улучшение массово-габаритных характеристик газогенератора и турбонасосного агрегата, в частности способов подачи рабочего тела на лопатки турбины.

Известен жидкостный ракетный двигатель, содержащий регенеративно охлаждаемую камеру с трактом охлаждения, образованным профилированными внутренней и наружной оболочками, скрепленными между собой, турбонасосный агрегат с турбиной и насосами подачи компонентов топлива в смесительную головку камеры, агрегаты управления (М.В.Добровольский и др. Жидкостные ракетные двигатели. Основы проектирования. – М.: Высшая школа, 1968 г., раздел 6.2, стр. 224 – прототип).

Указанный двигатель работает следующим образом. Компоненты топлива подаются в смесительную головку, воспламеняются и истекают через критическое сечение.

Для подачи компонентов топлива в смесительную головку используется турбонасосный агрегат, турбина которого приводится во вращение горячими газами, отбираемыми из камеры сгорания.

Основными недостатками данного двигателя являются недостаточно высокие массово-габаритные характеристики и сложность пневмогидравлической схемы, связанные с тем, что для подачи компонентов топлива в смесительную головку используется турбонасосный агрегат, турбина которого приводится во вращение струей газов, истекающих из камеры сгорания. Газы имеют высокую температуру, что приводит к ухудшению условий работы турбины турбонасосного агрегата, что в конечном итоге приводит к увеличению массы и ухудшению массово-габаритных характеристик двигателя.

Задачей предлагаемого изобретения является устранение указанных недостатков и создание ЖРД, конструкция которого позволит значительно упростить пневмогидравлическую схему и улучшить массово-габаритные характеристики.

Решение указанной задачи достигается тем, что в предложенном жидкостном ракетном двигателе, содержащем регенеративно охлаждаемую камеру с трактом охлаждения, образованным профилированными внутренней и наружной обечайками, скрепленными между собой, турбонасосный агрегат с турбиной и насосами подачи компонентов топлива в смесительную головку камеры, агрегаты управления, согласно изобретению в профилированных обечайках камеры сгорания выполнен канал, проходящий через тракт охлаждения, полость которого, с одной стороны, сообщается с полостью камеры сгорания, с другой – соединена с входной полостью турбины турбонасосного агрегата, при этом в полость канала открывается трубопровод подачи одного из компонентов топлива.

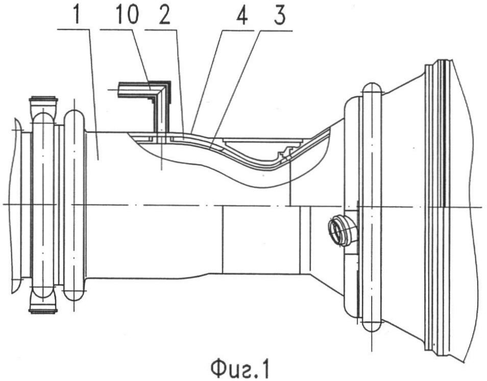
Сущность предложенного изобретения иллюстрируется чертежами, где на фиг.1 показан осевой разрез камеры ЖРД, на фиг.2 – принципиальная схема подачи расхода на лопатки турбины турбонасосного агрегата.

Жидкостный ракетный двигатель содержит регенеративно охлаждаемую камеру 1 с трактом охлаждения 2, образованным профилированными внутренней 3 и наружной 4 оболочками, скрепленными между собой. На камере установлены турбонасосный агрегат 5 с турбиной 6 и насосами 7 подачи горючего и окислителя 8 компонентов топлива в смесительную головку камеры 9. В профилированных обечайках камеры сгорания выполнен канал 10, проходящий через тракт охлаждения 2, полость которого, с одной стороны, сообщается с полостью камеры сгорания 1, с другой – соединена с входной полостью турбины 6 – турбонасосного агрегата, при этом в полость канала 10 открывается трубопровод 11 подачи одного из компонентов топлива.

Предложенный ЖРД работает следующим образом.

Компоненты топлива подаются в смесительную головку 9 камеры 1 и воспламеняются на выходе из смесительной головки, например, при помощи запального устройства. Поток продуктов сгорания компонентов топлива движется вдоль стенки профилированной внутренней оболочки 3 и поступает на вход в канал 10, проходящий через обе оболочки 3 и 4 и тракт охлаждения 2. Часть горячих газов поступает в канал 2 и движется по направлению к сопловому аппарату турбины 6 турбонасосного агрегата. Для снижения температуры продуктов сгорания и улучшения условий работы лопаток турбины турбонасосного агрегата к потоку продуктов сгорания подмешивается из трубопровода 11 часть расхода одного из компонентов, имеющего более низкую температуру, чем поток продуктов сгорания. Общая температура потока снижается, что приводит к увеличению срока службы лопаток турбонасосного агрегата.

Использование предложенного технического решения позволит значительно упростить пневмогидравлическую схему ЖРД и улучшить массово-габаритные характеристики.

Формула изобретения

Жидкостный ракетный двигатель, содержащий регенеративно охлаждаемую камеру с трактом охлаждения, образованным профилированными внутренней и наружной оболочками, скрепленными между собой, турбонасосный агрегат с турбиной и насосами подачи компонентов топлива в смесительную головку камеры, агрегаты управления, отличающийся тем, что в профилированных обечайках камеры сгорания выполнен, как минимум, один канал, проходящий через тракт охлаждения, полость которого, с одной стороны, сообщается с полостью камеры сгорания, с другой соединена с входной полостью турбины турбонасосного агрегата, при этом в полость канала открывается трубопровод подачи одного из компонентов топлива.

РИСУНКИ

Categories: BD_2391000-2391999