Патент на изобретение №2391533

Published by on




РОССИЙСКАЯ ФЕДЕРАЦИЯ



ФЕДЕРАЛЬНАЯ СЛУЖБА
ПО ИНТЕЛЛЕКТУАЛЬНОЙ СОБСТВЕННОСТИ,
ПАТЕНТАМ И ТОВАРНЫМ ЗНАКАМ
(19) RU (11) 2391533 (13) C1
(51) МПК

F02K9/64 (2006.01)

(12) ОПИСАНИЕ ИЗОБРЕТЕНИЯ К ПАТЕНТУ

Статус: по данным на 09.08.2010 – действует

(21), (22) Заявка: 2008149579/06, 17.12.2008

(24) Дата начала отсчета срока действия патента:

17.12.2008

(46) Опубликовано: 10.06.2010

(56) Список документов, цитированных в отчете о
поиске:
ДОБРОВОЛЬСКИЙ М.В. и др. Жидкостные ракетные двигатели. Основы проектирования. – М.: Высшая школа, 1968, рис.4.26.г, с.166-167. RU 2061890 C1, 10.06.1996. RU 2254490 C2, 20.06.2006. US 4781019 A, 01.11.1988. DE 4301041 C1, 28.04.1994. FR 2553148 A1, 12.04.1985.

Адрес для переписки:

394026, г.Воронеж, Московский пр-кт, 14, ГОУВПО “ВГТУ”, патентный отдел

(72) Автор(ы):

Горохов Виктор Дмитриевич (RU),
Черниченко Владимир Викторович (RU),
Черниченко Виктор Владимирович (RU),
Стогней Владимир Григорьевич (RU)

(73) Патентообладатель(и):

Государственное образовательное учреждение высшего профессионального образования “Воронежский государственный технический университет” (RU)

(54) КАМЕРА ЖИДКОСТНОГО РАКЕТНОГО ДВИГАТЕЛЯ

(57) Реферат:

Изобретение относится к области ракетной техники, а именно к двигателестроению, и может быть использовано при создании камер жидкостных ракетных двигателей (ЖРД). Камера жидкостного ракетного двигателя содержит смесительную головку, внутреннюю профилированную оболочку, на внешней поверхности которой выполнены ребра тракта охлаждения, наружную профилированную оболочку, установленную на внутреннюю и скрепленную с ней при помощи пайки по вершинам ребер тракта охлаждения. Между ребрами тракта охлаждения выполнены полые перемычки, соединяющие вершины ребер между собой, при этом наружный профиль указанных перемычек соответствует профилю тракта охлаждения. Перемычки соединяют вершины двух смежных ребер между собой, перемычки соединяют вершины всех ребер между собой с образованием единой кольцевой поверхности, наружный профиль которой эквидистантен внутреннему профилю наружной оболочки в месте контакта с наружной поверхностью внутренней оболочки. Изобретение обеспечивает повышение устойчивости внутренней оболочки. 2 з.п ф-лы, 3 ил.

Изобретение относится к области ракетной техники, а именно к двигателестроению, и может быть использовано при создании камер жидкостных ракетных двигателей (ЖРД).

Одним из основных направлений в совершенствовании ЖРД является увеличение давления в камере. В свою очередь увеличение давления ограничивается прочностью камеры ЖРД и, в первую очередь, прочностью тракта охлаждения.

В настоящее время в основном применяется регенеративное охлаждение огневой стенки камеры ЖРД, заключающееся в подаче охладителя по специальным пазам, выполненным между внутренней огневой и наружной силовой оболочками, скрепленными между собой по вершинам пазов тракта охлаждения при помощи пайки специальным припоем.

Прочность тракта охлаждения определяется прочностью паяных швов между внутренней и наружной оболочками, из-за того что прочность припоя ниже прочности материала оболочек. Для увеличения прочности паяного соединения необходимо увеличение площади соприкосновения контактируемых поверхностей. Увеличение толщины ребра нецелесообразно, из-за того что это ведет к уменьшению числа ребер и увеличению перепада давлений в тракте охлаждения камеры. Как правило, при увеличении давления внутри тракта охлаждения оболочка теряет устойчивость и вспучивается в цилиндрической части, т.к. в сужающейся части камеры происходит уменьшение внутреннего диаметра оболочки, что ведет к уменьшению внутренних напряжений.

Известна камера жидкостного ракетного двигателя, содержащая смесительную головку, внутреннюю профилированную оболочку, на внешней поверхности которой выполнены ребра тракта охлаждения, наружную профилированную оболочку, установленную на внутреннюю и скрепленную с ней, например, при помощи пайки по вершинам ребер (М.В.Добровольский и др. Жидкостные ракетные двигатели. Основы проектирования. Москва, “Высшая школа”, 1968 г., рис.4.26.г, стр.166-167, – прототип).

В данной камере охладитель подается в тракт охлаждения, движется по пазам между ребрами и охлаждает огневую поверхность внутренней профилированной оболочки. За счет соединения оболочек между собой только по вершинам ребер при увеличении давления в тракте охлаждения не обеспечивается прочность и устойчивость внутренней оболочки, что ведет к потере работоспособности камеры.

Задачей предлагаемого изобретения является устранение указанных недостатков и создание камеры ЖРД, конструкция которой позволяет повысить устойчивость внутренней оболочки.

Решение указанной задачи достигается тем, что в предложенной камере жидкостного ракетного двигателя, содержащей смесительную головку, внутреннюю профилированную оболочку, на внешней поверхности которой выполнены ребра тракта охлаждения, наружную профилированную оболочку, установленную на внутреннюю и скрепленную с ней, например, при помощи пайки по вершинам ребер, согласно изобретению между ребрами тракта охлаждения выполнены полые перемычки, соединяющие вершины ребер между собой, при этом наружный профиль указанных перемычек соответствует профилю тракта охлаждения.

Для оптимизации условий работы внутренней оболочки перемычки выполнены таким образом, что они соединяют вершины двух смежных ребер между собой. Такое расположение перемычек позволяет получить дополнительные места контакта между внутренней и наружной оболочками, что приводит к уменьшению длины неподкрепленных участков тракта.

Наиболее оптимальные условия для работы камеры достигаются в случае, когда перемычки соединяют вершины всех ребер между собой с образованием единой кольцевой поверхности, наружный профиль которой эквидистантен внутреннему профилю наружной оболочки в месте контакта с наружной поверхностью внутренней оболочки.

В этом случае кольцевые поверхности перемычек образуют дополнительные бандажи жесткости, которые увеличивают устойчивость оболочки при воздействии на нее давления охладителя в пазах тракта охлаждения. Кроме этого, кольцевая поверхность перемычки позволяет увеличить площадь поверхности под пайку без увеличения толщины ребра и увеличения перепада давления в тракте, уменьшить в несколько раз длину неподкрепленной части ребра за счет образования дополнительных опор.

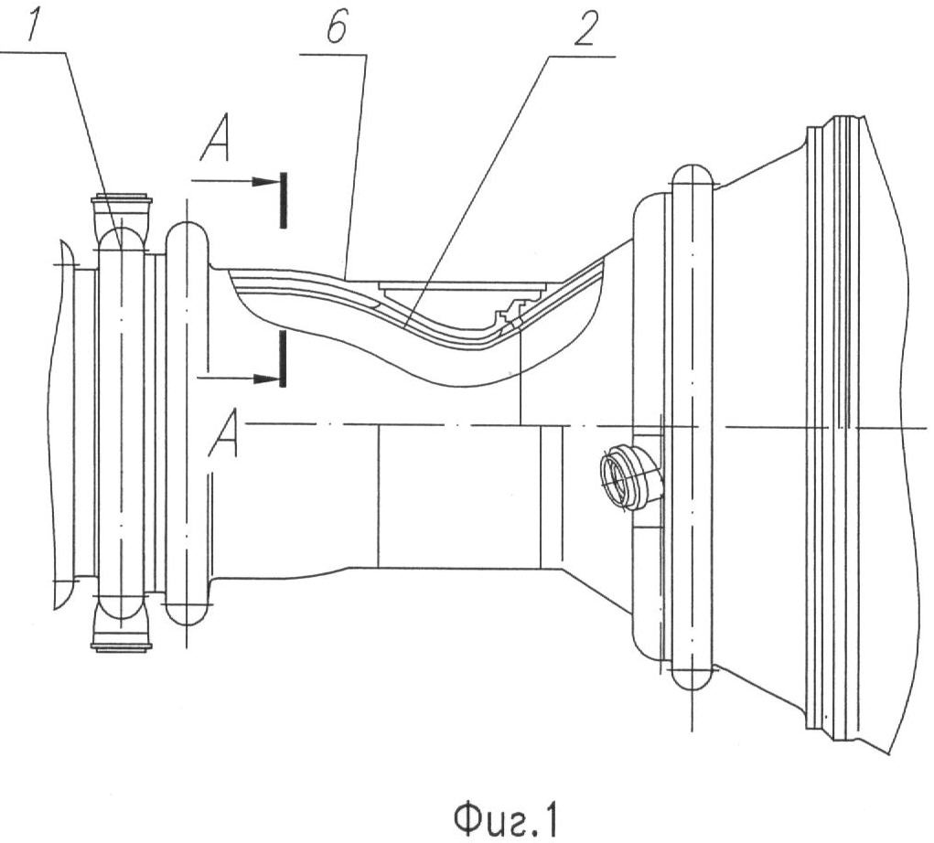
Сущность изобретения иллюстрируется чертежами, где на фиг.1 показан продольный осевой разрез камеры ЖРД, на фиг.2 – поперечный разрез тракта, на фиг.3 – часть тракта охлаждения с перемычками в аксонометрии.

Камера ЖРД содержит смесительную головку 1, внутреннюю профилированную оболочку 2, на внешней поверхности которой выполнены ребра 3 тракта охлаждения 4. Между ребрами 3 тракта охлаждения выполнены полые перемычки 5, соединяющие вершины ребер между собой. На внутреннюю профилированную оболочку 2 установлена наружная профилированная оболочка 6 при помощи пайки по вершинам ребер 3 и полым перемычкам 5.

Предложенное устройство работает следующим образом.

Охладитель подается в тракт охлаждения 4, движется по пазам между ребрами 3 и охлаждает огневую поверхность внутренней профилированной оболочки 2. За счет соединения оболочек между собой не только по вершинам ребер 3, но и по дополнительным поверхностям полых перемычек 5 происходит увеличение устойчивости и прочности внутренней оболочки 2. Повышенная устойчивость и прочность внутренней оболочки 2 позволяет увеличить давление в тракте охлаждения камеры и в самой камере, что в конечном итоге позволяет повысить эффективность рабочего процесса.

Использование предложенного технического решения позволит повысить устойчивость внутренней оболочки и повысить прочность камеры в целом.

Формула изобретения

1. Камера жидкостного ракетного двигателя, содержащая смесительную головку, внутреннюю профилированную оболочку, на внешней поверхности которой выполнены ребра тракта охлаждения, наружную профилированную оболочку, установленную на внутреннюю и скрепленную с ней, например, при помощи пайки по вершинам ребер тракта охлаждения, отличающаяся тем, что между ребрами тракта охлаждения выполнены полые перемычки, соединяющие вершины ребер между собой, при этом наружный профиль указанных перемычек соответствует профилю тракта охлаждения.

2. Камера жидкостного ракетного двигателя по п.1, отличающаяся тем, что перемычки соединяют вершины двух смежных ребер между собой.

3. Камера жидкостного ракетного двигателя по п.1, отличающаяся тем, что перемычки соединяют вершины всех ребер между собой с образованием единой кольцевой поверхности, наружный профиль которой эквидистантен внутреннему профилю наружной оболочки в месте контакта с наружной поверхностью внутренней оболочки.

РИСУНКИ

Categories: BD_2391000-2391999