|
|
(21), (22) Заявка: 2009102612/11, 26.01.2009
(24) Дата начала отсчета срока действия патента:
26.01.2009
(46) Опубликовано: 10.06.2010
(56) Список документов, цитированных в отчете о поиске:
GB 2349417 А, 01.11.2000. GB 191209285 А, 19.04.1912. RU 2187671 C2, 20.08.2002. GB 2450331 A, 24.12.2008. SU 1693272 A1, 23.11.1991.
Адрес для переписки:
367014, Республика Дагестан, г.Махачкала, а/я 17, Дагсовет ВОИР
|
(72) Автор(ы):
Масуев Масу Аскандарович (RU), Аливагабов Малик Манафович (RU)
(73) Патентообладатель(и):
Масуев Масу Аскандарович (RU), Аливагабов Малик Манафович (RU)
|
(54) МЕХАНИЗМ ПЕРЕДАЧИ ДВИЖЕНИЯ ОТ ПОРШНЕЙ НА ВЫХОДНОЙ ВАЛ ОППОЗИТНОГО ДВИГАТЕЛЯ
(57) Реферат:
Изобретение относится к двигателестроению, а именно к поршневым оппозитным двигателям внутреннего сгорания. Механизм передачи движения от поршней на выходной вал двигателя включает оппозитно размещенные поршни, связанные со штоками и серьгами, и шатуны. Поршневые головки шатунов шарнирно связаны с серьгами поршней. Шатунные головки шарнирно связаны с кривошипами, установленными на синхронизирующих шестернях. Причем каждая синхронизирующая шестерня снабжена отдельным выходным валом и связана с кулачками газораспределительного механизма. Решение направлено на упрощение конструкции оппозитного двигателя и на исключение боковых нагрузок на стенки цилиндра двигателя. 1 ил.
Изобретение относится к двигателестроению, а именно к поршневым оппозитным двигателям внутреннего сгорания.
Поиск новых технических решений, направленных на повышение компактности двигателя внутреннего сгорания (ДВС) и улучшение их эксплутационных характеристик, связан с применением новых конструктивных компоновочных схем и разнообразных типов механизмов передачи движения от поршней на выходной вал. Особенно это касается многсрядных двигателей. Так, например, двухрядный четырехтактный двигатель «Зулыдер» (Басенко Э.В. «Проектирование двигателей внутреннего сгорания». Учебное пособие. Северо-Западный Заочный Политехнический Институт, 1975 г. стр.383) содержит параллельно расположенные в картере два коленчатых вала, связанных между собой шестернями, а с поршнями – при помощи кривошипно-шатунных механизмов (КШМ). По такой же схеме можно выполнить двухрядный четырехтактный двигатель с оппозитным расположением цилиндров. Преимуществом рассматриваемых конструктивных схем и их механизмов передачи движения является возможность снижения массы и габаритных размеров многоцилиндровых двигателей; решение проблемы обеспечения требуемого синусоидального закона изменения рабочих объемов цилиндров путем применения КШМ.
Наряду с достоинствами, приведенной выше конструктивной схеме механизма передачи движения от поршней к выходному валу присущи следующие недостатки: это усложнение конструкции двигателя из-за наличия двух коленчатых валов, и перекладка поршней от одной стенки цилиндра к другой в момент преодоления верхней мертвой точки (ВМТ). Кроме того, возникают деструктивные боковые усилия, воздействующие на стенки цилиндров, высокочастотные колебания которых снижают срок службы деталей КШМ и всего двигателя за счет трения элементов поршней о стенки цилиндров.
Известны также двухрядные поршневые двигатели реечно-шестереночного типа, в которых возвратно-поступательное движение оппозитно расположенных поршней переводится в возвратно-качательное движение по дуге окружности приводной шестерни с помощью зубчатых реек, к которым закреплены поршни. Это позволяет исключить из конструкции двигателя коленчатые валы и обеспечить движение поршней без их перекладки от одной стенки цилиндра к другой.
Недостатком двухрядного двигателя реечно-шестереночного типа является необходимость оборудования его дополнительным специальным механизмом для преобразования возвратно-качательного движения шестерни привода во вращательное движение выходного валового двигателя с обеспечением требуемого закона изменения рабочих объемов цилиндров.
Технической задачей заявленного изобретения является упрощение конструкции оппозитного двигателя. А именно – исключение из конструкции одно и многорядных ДВС с оппозитным расположением поршней коленчатых, валов и кривошипно-шатунных механизмов, а также преобразование возвратно-поступального движения поршней во вращательное движение выходного вала без создания боковых нагрузок на стенки цилиндра или корпуса двигателя.
Поставленная задача достигается применением в оппозитном двигателе ромбического передаточного механизма для преобразования возвратно-поступального движения поршней во вращательное движение выходного вала. Ромбический передаточный механизм включает поршни и шатуны. При этом поршневые головки шатунов шарнирно связаны с серьгой поршня, а шатунные головки шатунов шарнирно связаны с кривошипами, установленными на синхронизирующих шестернях, причем каждая синхронизирующая шестерня снабжена отдельным выходным валом. Ромбический передаточный механизм обеспечивает:
– требуемый синусоидальный закон изменения рабочего объема цилиндров при движении поршней без их перекладки от одной стенки цилиндра к другой;
– полную уравновешенность двигателя, даже в однорядном двухцилиндровом исполнении, так как при этом достигается равенство суммарной массы деталей, совершающих возвратно-поступательные движения, а момент инерции вращающихся масс уравновешен противовесами, расположенными на синхронизирующих шестернях.
– отбор мощности двигателя с любого из двух синхронизирующих шестерен, в зависимости от требуемого направления вращения выходного вала двигателя.
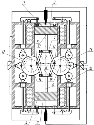
Механизма передачи движения от поршней к выходному валу включает размещенные оппозитно в цилиндрах 1 и 2 поршни 3 и 4. Поршни жестко связаны со штоками 5 и 6, на концах которых установлены серьги 7 и 8. К серьгам с обоих концов шарнирно соединены поршневые головки четырех шатунов 9, шатунные головки которых шарнирно связаны с кривошипами 10 и 11, установленными на вращающихся в противоположные стороны синхронизирующих шестернях 12 и 13, снабженных выходными валами 14 и 15. Синхронизирующие шестерни одновременно выполняют функцию маховиков, которые используются, в том числе для автономного привода кулачков 16 механизма газораспределения, что позволяет обеспечить подбор и регулирование фаз газораспределителя для каждого цилиндра или клапана.
Предлагаемый механизм передачи движения работает следующим образом.
При перемещении поршня 3 от верхней мертвой точки (ВМТ) к нижней мертвой точке (НМТ), осуществляется такт впуска путем заполнения цилиндра 1 рабочим телом. Поршень перемещается вниз вместе со штоком 5, серьгой 7 и шатунами 9. Последние поворачивают кривошипы 10 и 11 и синхронизирующие шестерни 12 и 13 вокруг осей выходных валов 14 и 15 на 180°. При повороте с помощью накопленной энергии в синхронизирующих шестернях на последующие 180°, поршень 3 перемещается от НМТ к ВМТ и реализует такт сжатия, а затем за счет накопленной в процессе сгорания топлива внутренней энергии рабочего тела реализуется рабочий ход, в результате которого поршень перемещается от ВМТ до НМТ, поворачивая синхронизирующие шестерни наследующие 180°.
Четвертый такт выпуска и поворот синхронизирующих шестерен еще на 180° осуществляется для очистки цилиндров 1 и 2 от отработавших газов через открытый выпускной клапан с помощью энергии, накопленной в маховике, размещаемого на выходном вале двигателя.
Таким образом, рабочий цикл, состоящий из 4 тактов реализуется за время поворота синхронизирующих шестерен на 720°. Такой же рабочий цикл в той же последовательности: впуск, сжатие, рабочий ход и выпуск, реализуется во втором цилиндре со сдвигом по фазе на 360°, т.е. при реализации в первом цилиндре такта впуска, во втором цилиндре реализуется такт «рабочий ход».
Предлагаемый двигатель можно изготовить в однорядном и многорядном исполнении, с размещением их оппозитно в рядах, а рядов – параллельно один за другим вдоль оси выходного вала.
Формула изобретения
Механизм передачи движения от поршней на выходной вал оппозитного двигателя, включающий оппозитно размещенные поршни, связанные со своими штоками и серьгами, шатуны, выходной вал, отличающийся тем, что поршневые головки шатунов шарнирно связаны с серьгами поршней, а шатунные головки шарнирно связаны с кривошипами, установленными на синхронизирующих шестернях, причем каждая синхронизирующая шестерня снабжена отдельным выходным валом и связана с кулачками газораспределительного механизма.
РИСУНКИ
|
|