|
|
(21), (22) Заявка: 2008121643/03, 28.05.2008
(24) Дата начала отсчета срока действия патента:
28.05.2008
(43) Дата публикации заявки: 10.12.2009
(46) Опубликовано: 10.06.2010
(56) Список документов, цитированных в отчете о поиске:
RU 2270918 С1, 27.02.2006. RU 2195551 С1, 27.12.2002. RU 2029079 С1, 20.02.1995. RU 2252338 С1, 20.05.2005. SU 1421852 А1, 07.09.1988. RU 2307928 С1, 10.10.2007. RU 2167287 С2, 20.05.2001. RU 2243372 С1, 27.12.2004. RU 2249108 С1, 27.03.2005. GB 2364380 А, 23.01.2002. GB 2429071 А, 14.02.2007.
Адрес для переписки:
626809, Ямало-Ненецкий автономный округ, Тюменская обл., г. Ноябрьск, промышленная зона, панель 15, ОАО “Газпромнефть-ННГГФ”, КТС
|
(72) Автор(ы):
Пасечник Михаил Петрович (RU), Ковалев Валерий Иванович (RU), Белоус Виктор Борисович (RU), Молчанов Евгений Петрович (RU), Коряков Анатолий Степанович (RU)
(73) Патентообладатель(и):
Открытое Акционерное Общество “Газпромнефть-Ноябрьскнефтегазгеофизика” (RU)
|
(54) УСТРОЙСТВО ДЛЯ МОНИТОРИНГА СКВАЖИНЫ В ПРОЦЕССЕ ДОБЫЧИ НЕФТИ ИЛИ ГАЗА
(57) Реферат:
Изобретение относится к нефтяной и газовой промышленности и может быть использовано при добыче нефти или газа для мониторинга технологических процессов в скважине. Техническим результатом является повышение точности получаемой информации. Устройство для мониторинга скважины в процессе добычи нефти или газа содержит автономные геофизические приборы, установленные ниже добычного насоса в интервалах исследуемых пластов с помощью якорей. При этом над верхним якорем закреплена направляющая воронка, в верхней части которой вмонтирован на лапах хвостовик, а в нижней части размещена контактная втулка для подключения кабельного наконечника. Над и под добычным насосом закреплены верхний и нижний цилиндры, раструбы которых направлены вверх и вниз соответственно, причем одна из стенок раструба расположена вертикально на расстоянии 3-5 мм от внешней поверхности цилиндра. Между верхним и нижним цилиндрами в отверстиях раструбов установлена трубка, в которой с возможностью перемещения размещен геофизический кабель, имеющий на конце контактный стержень, при этом выше направляющей воронки и выше раструба верхнего цилиндра смонтированы колокола, каждый из которых выполнен диаметром, меньшим раструба соответствующей воронки на два диаметра геофизического кабеля плюс 10-15 мм. 3 ил.
Изобретение относится к нефтяной и газовой промышленности и может быть использовано для мониторинга технологических процессов в скважине при добыче нефти или газа, в том числе для мониторинга процессов в многопластовой скважине при совместной разработке нескольких пластов (многопластовая добыча).
109, с.147-166).
Недостатком известных устройств является то, что они выдают на поверхность информацию с искажениями. Причина заключается в том, что из-за невозможности передачи информации на поверхность от установленных в скважине приборов по геофизическому кабелю информацию передают по жидкости, по колонне, по НКТ, по жилам силового кабеля, питающего насосы электоэнергией и т.п. Такой путь передачи информации имеет много помех (шумов), которые трудно отделить от истинной информации о скважинных процессах.
Наибольшая же потребность в мониторинге скважин имеется при многопластовой добыче. Известные устройства мониторинга, имеющие приведенные выше недостатки, для многопластовых скважин вообще не подходят, т.к. в этом случае существенно увеличивается объем передаваемой информации о процессах, происходящих в интервалах каждого из пластов, и, соответственно, многократно возрастают помехи.
Частично указанные проблемы решены в известном устройстве для мониторинга работающей скважины, принятом за прототип (см. А.И.Ипатов, М.И.Кременецкий. Геофизический и гидродинамический контроль разработки месторождений углеводородов. – М.: НИЦ «Регулярная и хаотическая динамика», Институт компьютерных исследований», 2005, с.222). Согласно прототипу устройство содержит автономные геофизические приборы, устанавливаемые ниже добычного насоса в интервале каждого исследуемого пласта с помощью якорей.
Недостатком известного изобретения является получение результатов после остановки добычи и извлечения приборов, т.е. спустя некоторое время. В случае многопластовой добычи именно в этот период времени имеют место перетоки флюида из пласта в пласт и повлиять на этот негативный процесс нет никакой возможности до расшифровки информации в памяти приборов, определения дебита пластов, динамического давления флюида и т.п. характеристик с последующей корректировкой перетоков геолого-техническими мероприятиями.
Задачей предложенного изобретения является создание устройства для мониторинга скважины, лишенного указанных недостатков.
Техническим результатом, достигаемым при использовании предложенного изобретения, является возможность получения на любом этапе процесса добычи достоверной неискаженной информации о технологических процессах в реальном времени, что позволяет оперативно и качественно оптимизировать процесс добычи.
Указанный технический результат достигается тем, что в устройстве для мониторинга скважины в процессе добычи нефти или газа, содержащем автономные геофизические приборы, установленные ниже добычного насоса в интервалах исследуемых пластов с помощью якорей, согласно изобретению над верхним якорем закреплена направляющая воронка, в верхней части которой вмонтирован на лапах хвостовик, а в нижней части размещена контактная втулка, заизолированная от направляющей воронки и подключенная к проводам от автономных геофизических приборов с вмонтированным в нее с возможностью перемещения подпружиненным сдвоенным поршнем, над добычным насосом закреплен верхний цилиндр, имеющий сквозную воронку, раструб которой направлен вверх и соизмерим с диаметром цилиндра, причем одна из стенок воронки расположена вертикально на расстоянии 3-5 миллиметров от внешней поверхности цилиндра, и нижнее отверстие которой соизмеримо с диаметром геофизического кабеля, под добычным насосом закреплен нижний цилиндр, имеющий сквозную воронку, раструб которой направлен вниз и соизмерим с третью диаметра цилиндра, причем одна из стенок воронки расположена вертикально на расстоянии 3-5 миллиметров от внешней поверхности цилиндра, и верхнее отверстие которой соизмеримо с диаметром геофизического кабеля, между верхним и нижним цилиндрами в отверстиях воронок установлена трубка, в которой с возможностью перемещения размещен геофизический кабель, имеющий на конце контактный стержень, заизолированный от брони геофизического кабеля и подключенный к его проводам, при этом выше направляющей воронки и выше воронки верхнего цилиндра смонтированы колокола, каждый из которых выполнен диаметром, меньшим раструба соответствующей воронки на два диаметра геофизического кабеля плюс 10-15 мм.
Установка над верхним якорем направляющей воронки обеспечивает беспрепятственное прохождение геофизического кабеля с контактным стержнем на конце до контакта с контактной втулкой, размещенной в нижней части направляющей воронки.
Хвостовик в верхней части направляющей воронки необходим для захвата якоря при его установке-снятии в скважине, а монтаж хвостовика на лапах не препятствует прохождению геофизического кабеля с контактным стержнем на конце внутрь направляющей воронки.
Монтаж в контактной втулке подпружиненного поршня обеспечивает защиту втулки от заиливания и, как следствие, надежный электрический контакт стержня с втулкой.
Установка над добычным насосом и под ним верхнего и нижнего цилиндров с выполненными в них сквозными воронками, между которыми размещена трубка, обеспечивает беспрепятственный спуск и подъем геофизического кабеля с контактным стержнем на конце вдоль корпуса добычного насоса в пространство под насосом к установленным на якорях приборам. Выполнение сквозных воронок с расположением одной из стенок вертикально на расстоянии 3-5 миллиметров от внешней поверхности верхнего и нижнего цилиндров необходимо для того, чтобы геофизический кабель проходил как можно ближе к внутренней стенке колонны и не препятствовал установке добычного насоса.
Использование геофизического кабеля в качестве средства передачи информации обеспечивает высокое качество передаваемой на поверхность информации. Кроме того, за счет свойств гибкости кабель, направляемый воронками, достаточно легко проходит по всей конструкции устройства.
Установка колоколов над воронкой верхнего цилиндра и над направляющей воронкой обеспечивает отвод мусора в зазоры между внутренней стенкой колонны и, соответственно, верхним цилиндром и направляющей втулкой. С другой стороны, выполнение колоколов с указанными диаметрами позволяет контактному стержню, расположенному на конце геофизического кабеля, беспрепятственно проходить в зазоры между колоколами и раструбами воронок.
Предложенное выполнение элементов устройства позволяет выполнять спуск и подключение геофизического кабеля с контактным стержнем на конце тремя способами:
– спустить геофизический кабель в скважину до спуска добычного насоса и состыковать контактный стержень с расположенной в направляющей воронке контактной втулкой, к которой подключены провода приборов. Это необходимо для предварительной проверки работы приборов, наличия режима дискретности для поочередной передачи показаний приборов от всех пластов. После этого кабель извлекают на поверхность, чтобы затем спустить его или совместно с добычным насосом, или после его спуска;
– спустить геофизический кабель в скважину совместно с добычным насосом, для чего контактный стержень и часть геофизического кабеля пропускают через воронки верхнего и нижнего цилиндров и соединяющую их трубку и опускают ниже добычного насоса на глубину, равную расстоянию верхнего якоря от добычного насоса после его установки. Дальнейший спуск геофизического кабеля выполняют совместно с добычным насосом. При достижении расчетной глубины спуска добычного насоса геофизический кабель контактным стержнем стыкуют с контактной втулкой в направляющей воронке, установленной над якорем, для обеспечения передачи информации на поверхность;
– спустить геофизический кабель в скважину после спуска и установки добычного насоса на заданной глубине. В этом случае геофизический кабель с контактным стержнем пройдут через воронки и трубку мимо добычного насоса и при дальнейшем спуске войдут в контакт с контактной втулкой в направляющей воронке. И далее геофизический кабель готов к передаче информации от приборов на поверхность в запланированном дискретном режиме от каждого пласта.
После проведения исследований работы пластов в течение нескольких часов или дней в любом из трех случаев принимают решение либо о прекращении добычи и проведении мероприятий по оптимизации процесса добычи (в случае многопластовой добычи – это мероприятия по устранению перетоков флюида из пласта в пласт), либо о продолжении исследований с передачей информации на поверхность, либо об извлечении геофизического кабеля и продолжении добычи с записью параметров технологического процесса в память приборов.
Может быть также принято решение опустить геофизический кабель спустя несколько дней или месяцев для проверки в режиме реального времени параметров технологических процессов добычи с последующим принятием решений о продолжении процесса добычи или его прекращении для проведения мер по оптимизации. Подобные спуски геофизического кабеля для мониторинга скважины в реальном времени можно повторять многократно, исходя из производственных потребностей.
При необходимости кабель можно и не извлекать, постоянно передавая параметры работы пластов в реальном времени.
Таким образом, запланированный технический результат достигается в любом из случаев.
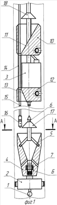
Предложенное устройство, позволяющее реализовать способ мониторинга, показано на чертежах, где изображены:
– на фиг.1 – продольный разрез устройства;
– на фиг.2 – поперечный разрез А-А устройства над направляющей воронкой;
– на фиг.3 – местный вид Б узла контактной втулки.
Устройство для мониторинга скважины (см. фиг.1) содержит автономный геофизический прибор 1, установленный в скважине на якоре 2 ниже добычного насоса 3. В условиях многопластовой добычи устройство содержит автономные геофизические приборы 1 по количеству исследуемых пластов, при этом каждый из приборов 1 закреплен на якоре над соответствующим пластом.
Над якорем 2 установлена направляющая воронка 4, в верхнюю часть которой вмонтирован на лапах 5 хвостовик 6 для установки-снятия якорей 2. В нижней части направляющей воронки 4 размещена заизолированная от нее контактная втулка 7, к которой подсоединены провода 8 от приборов 1. Внутри контактной втулки 7 размещен выполненный сдвоенным подпружиненный снизу поршень 9.
Над добычным насосом 3 закреплен верхний цилиндр 10, в котором имеется сквозная воронка 11. Воронка 11 выполнена следующим образом: одна из ее сторон выполнена вертикально на расстоянии 3-5 мм от внешней поверхности цилиндра 10, раструб воронки направлен вверх и соизмерим с диаметром цилиндра 4, нижнее отверстие воронки соизмеримо с диаметром геофизического кабеля. Под насосом 3 закреплен нижний цилиндр 12, имеющий сквозную воронку 13, выполненную следующим образом: одна из ее сторон выполнена вертикально на расстоянии 3-5 мм от внешней поверхности цилиндра 12, раструб воронки направлен вниз и соизмерим с одной третьей части диаметра цилиндра 12, а верхнее отверстие воронки соизмеримо с диаметром геофизического кабеля. Технологически каждый из цилиндров 10 и 12 выполнен из двух частей, соединенных вдоль продольной оси скобами и крепежными элементами (позициями не обозначены).
Между верхним цилиндром 10 и нижним цилиндром 12 в отверстиях воронок 11 и 13 установлена трубка 14.
В воронке 11, трубке 14 и воронке 13 размещен геофизический кабель 15. На конце геофизического кабеля 15 имеется контактный стержень 16, заизолированный от брони кабеля 15 и подключенный к проходящим внутри него проводам.
Выше направляющей воронки 4 смонтирован колокол 17, а выше верхнего цилиндра 10 смонтирован колокол 18. Колокола 17 и 18 имеют диаметры, меньшие диаметров раструбов, соответственно, направляющей воронки 4 и воронки 11 на два диаметра геофизического кабеля 15 плюс 10-15 мм. Расстояние между колоколом 17 и направляющей воронкой 4 и между колоколом 18 и верхним цилиндром 10 выдержано из условия скатывания мусора в зазоры между стенкой колонны и, соответственно, направляющей воронкой 4 и верхним цилиндром 10.
Выполняют мониторинг скважины следующим образом.
Вначале в скважину спускают геофизические приборы 1 и закрепляют их над каждым разрабатываемым пластом с помощью якорей 2. Над верхним якорем 2 закрепляют направляющую воронку 4, для установки-снятия которой используют вмонтированный на лапах 5 хвостовик 6. При проведении мониторинга многопластовой скважины подобными хвостовиками оборудован каждый из якорей, установленных в интервалах исследуемых пластов.
Затем в скважину спускают на геофизическом кабеле 15 контактный стержень 16, проводят его по колоколу 17 и опускают по направляющей втулке 4 до контакта с поршнем 9. Стержень 16 перемещает поршень 9 вниз и входит в контакт с контактной втулкой 7 (одновременно происходит смазка контактов маслом для удаления воды и загрязнений). Посредством указанного контакта показания от приборов 1 передаются по проводам геофизического кабеля 15 на устье скважины. На основании поступающей информации на поверхности проводят первичные расчеты. После этого геофизический кабель 15 извлекают на поверхность.
На устье скважины монтируют на колонне насосно-компрессорных труб, на которой насос 3 спускается в скважину, верхний 10 и нижний 12 цилиндры – непосредственно над и под добычным насосом 3. Между отверстиями сквозных воронок 11 и 13 устанавливают трубку 14. Монтируют выше верхнего цилиндра 10 колокол 18 из условия, чтобы мусор не попадал в сквозную воронку 11, а скатывался вдоль внутренней стенки колонны.
После установки на заданной глубине скважины добычного насоса 3 в указанной сборке насос 3 включают в работу. Спущенный совместно с насосом 3 геофизический кабель 15 обеспечивает передачу информации от геофизических приборов 1 практически сразу после спуска, следовательно, параметры технологического процесса над каждым пластом будут определены сразу же. Если поступающая информация свидетельствует о перетоках флюида из пласта в пласт, то добычу прекращают и извлекают геофизический кабель 15, добычный насос 3, направляющую воронку 4 вместе с верхним якорем 2 и приборами 1, а также расположенные ниже якори с закрепленными под ними автономными геофизическими приборами.
По расчетам, произведенным на основании показаний приборов 1, в скважине проводят геолого-технические мероприятия по устранению пластовых перетоков, например пакеруют маломощный пласт, принимающий флюид.
После этого устанавливают в прежнее положение якори 2 с приборами 1, направляющую воронку 4 и геофизический кабель 15 и передают на поверхность показания приборов 1. После спуска насоса 3 проверяют параметры технологических процессов в интервалах пластов. Если работа пластов удовлетворительна, то геофизический кабель 15 извлекают, а запись параметров технологических процессов ведут в память приборов 1.
С целью периодического контроля работы пластов геофизический кабель 15 спускают в скважину и извлекают по описанной выше схеме.
Формула изобретения
Устройство для мониторинга скважины в процессе добычи нефти или газа, содержащее автономные геофизические приборы, установленные ниже добычного насоса в интервалах исследуемых пластов с помощью якорей, отличающееся тем, что над верхним якорем закреплена направляющая воронка, в верхней части которой вмонтирован на лапах хвостовик, а в нижней части размещена контактная втулка, заизолированная от направляющей воронки и подключенная к проводам от автономных геофизических приборов с вмонтированным в нее с возможностью перемещения подпружиненным сдвоенным поршнем, над добычным насосом закреплен верхний цилиндр, имеющий сквозную воронку, раструб которой направлен вверх и соизмерим с диаметром цилиндра, причем одна из стенок воронки расположена вертикально на расстоянии 3-5 мм от внешней поверхности цилиндра, и нижнее отверстие которой соизмеримо с диаметром геофизического кабеля, под добычным насосом закреплен нижний цилиндр, имеющий сквозную воронку, раструб которой направлен вниз и соизмерим с третью диаметра цилиндра, причем одна из стенок воронки расположена вертикально на расстоянии 3-5 мм от внешней поверхности цилиндра, и верхнее отверстие которой соизмеримо с диаметром геофизического кабеля, между верхним и нижним цилиндрами в отверстиях воронок установлена трубка, в которой с возможностью перемещения размещен геофизический кабель, имеющий на конце контактный стержень, заизолированный от брони геофизического кабеля и подключенный к его проводам, при этом выше направляющей воронки и выше воронки верхнего цилиндра смонтированы колокола, каждый из которых выполнен диаметром, меньшим раструба соответствующей воронки на два диаметра геофизического кабеля плюс 10-15 мм.
РИСУНКИ
|
|