|
| На основании пункта 1 статьи 1366 части четвертой Гражданского кодекса Российской Федерации патентообладатель обязуется заключить договор об отчуждении патента на условиях, соответствующих установившейся практике, с любым гражданином Российской Федерации или российским юридическим лицом, кто первым изъявил такое желание и уведомил об этом патентообладателя и федеральный орган исполнительной власти по интеллектуальной собственности. |
|
(21), (22) Заявка: 2009115539/03, 24.04.2009
(24) Дата начала отсчета срока действия патента:
24.04.2009
(46) Опубликовано: 10.06.2010
(56) Список документов, цитированных в отчете о поиске:
SU 1716070 A1, 29.02.1992. SU 1361290 A1, 23.12.1987. SU 1448023 A1, 30.12.1988. RU 2055142 C1, 27.02.1996. RU 2199644 C2, 27.02.2003. US 4813502 A, 21.03.1989.
Адрес для переписки:
123182, Москва, ул. Авиационная, 68, кв.490, Н.М. Панину
|
(72) Автор(ы):
Смирнов Вячеслав Геннадьевич (RU), Смирнов Игорь Вячеславович (RU), Панин Николай Митрофанович (RU)
(73) Патентообладатель(и):
Смирнов Вячеслав Геннадьевич (RU)
|
(54) БУРОВОЕ ШАРОШЕЧНОЕ ДОЛОТО
(57) Реферат:
Изобретение относится к породоразрушающему инструменту, а именно к буровым шарошечным долотам, преимущественно малого диаметра. Технический результат – повышение эффективности работы долота за счет более надежного крепления шарошек замковыми пальцами и сохранения прочностных характеристик всей опоры в малогабаритных шарошечных долотах. Буровое шарошечное долото включает лапы с цапфами, на которых установлены шарошки, смонтированные посредством шарикового подшипника, запираемого замковым подшипником. Координата оси замкового пальца в вертикальной плоскости в верхней ее части h определяется по математической формуле. 1 з.п. ф-лы, 2 ил.
Изобретение относится к породоразрушающему инструменту, а именно к буровым шарошечным долотам, преимущественно малого диаметра.
Известно буровое шарошечное долото, включающее лапы с цапфами, на которых установлены шарошки, смонтированные посредством замкового шарикового подшипника (см. авт. св. СССР 1361290, кл. E21B 10/16, 1981 г.).
Недостатком этого долота является высокое расположение замкового пальца, острые кромки рабочего торца которого контактируют с шарошкой. При вращении шарошки указанные острые кромки скалываются и попадают в беговую дорожку, что приводит к усиленному износу как тел качения, так и самой беговой дорожки.
Более близким к предложенному по технической сущности и достигаемому результату является буровое шарошечное долото, включающее лапы с цапфами, на которых установлены шарошки, смонтированные посредством шарикового подшипника, запираемого замковым пальцем (см. авт. св. СССР 1716070, кл. E21B 10/18, 1992 г.).
К недостаткам данного долота относится низкое расположение замкового пальца, что может быть использовано только в долотах большого диаметра. В малогабаритных долотах такая схема расположения замкового пальца существенно уменьшает прочностные характеристики цапфы и долота в целом, а также и надежность крепления замкового пальца. Все это снижает технико-экономические показатели долота в целом.
В связи с изложенным техническим результатом изобретения является повышение эффективности работы долота за счет более надежного крепления шарошек замковыми пальцами и сохранения прочностных характеристик всей опоры в малогабаритных шарошечных долотах.
Поставленный технический результат достигается тем, что в буровом шарошечном долоте, включающем лапы с цапфами, на которых установлены шарошки, смонтированные посредством шарикового подшипника, запираемого замковым пальцем, согласно изобретению координата h оси замкового пальца в вертикальной плоскости в верхней ее части определяется по формуле
,
где t=Rк/sin -Rm/tq – m
– угол наклона оси цапфы к оси долота;
Rш.д. – минимальный радиус шариковой дорожки, мм;
Rm – радиус подшипника скольжения у основания цапфы, мм;
Rк – расстояние от оси долота до спинки лапы;
m – расстояние от оси шариковой дорожки до основания цапфы.
Достижению указанного технического результата способствует также и то, что на замковом пальце со стороны спинки лапы выполнена площадка под углом к вертикали, равным =(90- )±1, которая расположена от нижнего края пальца на расстоянии (0.4-0.6)dз.п., где dз.п. – диаметр замкового пальца.
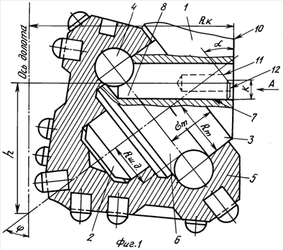
Изобретение поясняется чертежами, где на фиг.1 представлен общий вид долота в продольном разрезе; на фиг.2 – вид А на фиг.1.
Буровое малогабаритное шарошечное долото включает лапы 1, на цапфах 2 которых посредством подшипников скольжения 3 и шарикового подшипника 4 установлены шарошки 5, армированные породоразрушающими элементами 14. Рабочие элементы шарикового подшипника 4 вводятся в шариковую дорожку 6 через канал 7, запираемый замковым пальцем 8, ось которого расположена преимущественно перпендикулярно оси долота. Расположение замкового пальца 8 в долотах малого диаметра играет существенную роль для обеспечения нормальных условий работы замкового подшипника 4 в течение всего времени работы долота. Расположение пальца 8 характеризуется координатой h его оси в вертикальной плоскости от точки пересечения осей цапфы 2 и долота. Оптимальное значение координаты h определяется по формуле
,
где t=Rк/sin -Rm/tq – m
– угол наклона оси цапфы к оси долота;
Rш.д. – минимальный радиус шариковой дорожки, мм;
Rm – радиус подшипника скольжения у основания цапфы, мм;
Rк – расстояние от оси долота до спинки лапы;
m – расстояние от оси шариковой дорожки до основания цапфы.
На замковом пальце 8 со стороны спинки 10 лапы 1 выполнена площадка 11, расположенная под углом =(90- )±1°, при этом точка пересечения наклонной площадки 11 со спинкой 10 лапы 1 смещена относительно нижней образующей замкового пальца 8 в сторону, противоположную забою. Величина указанного смещения К наклонной площадки 11 составляет 0.4-0.6 диаметра замкового пальца 8. Площадка 11 создается для сверловки центрового отверстия, которое используется при обработке цапфы 2, а также для фиксации замкового пальца 8 от осевого перемещения при износе спинки 10 лапы 1, что часто приводит в существующих долотах к заклиниванию шарового подшипника 4. Круговая часть 12 торца замкового пальца 8 используется для крепления его к спинке 10 лапы 1 сваркой. Сверление канала 7 производят с учетом смещения его оси от оси симметрии 9 лапы 1 на величину С, зависящей от размера долота (см. фиг.2). Палец 8 смещают относительно оси 9 лапы 1 в сторону, противоположную направлению вращения долота, что предотвращает его от износа абразивным шламом. От проворота замковый палец 8 фиксируется штифтом 13, который с той же целью располагают относительно пальца со стороны сбегающей грани лапы 1.
Принцип работы долота заключается в следующем. Под действием осевой нагрузки и крутящего момента породоразрушающие элементы 14 шарошек 5 осуществляют разрушение забоя и калибровку стенок скважины. Радиальная нагрузка воспринимается как подшипником скольжения 3, так и шариковым подшипником 4. Нагрузка, направленная вдоль оси цапфы, воспринимается только замковым шариковым подшипником 4. При этом запорный палец 8 испытывает как радиальные, так и осевые нагрузки, передаваемые через шарошки 5. В существующих долотах эти нагрузки часто приводят к сколу рабочей части замкового пальца 8. В предложенном долоте благодаря оптимальной схеме расположения замкового пальца 8 обеспечивается надежность фиксации шарошки 5 на цапфе 2 даже при значительном крутящем моменте и осевой нагрузке. Кроме того, предложенная схема расположения замкового пальца минимизирует потери прочности цапфы, что положительно влияет на работоспособность как опоры, так и долота в целом.
Формула изобретения
1. Буровое шарошечное долото, включающее лапы с цапфами, на которых установлены шарошки, смонтированные посредством шарикового подшипника, запираемого замковым пальцем, отличающееся тем, что координата оси замкового пальца в вертикальной плоскости в верхней ее части h определяется по формуле
, где t=Rк/sin -Rm/tq – m;
– угол наклона оси цапфы к оси долота; Rш.д. – минимальный радиус шариковой дорожки, мм; Rm – радиус подшипника скольжения у основания цапфы, мм; Rк – расстояние от оси долота до спинки лапы;
m – расстояние от оси шариковой дорожки до основания цапфы.
2. Буровое шарошечное долото по п.1, отличающееся тем, что на замковом пальце со стороны спинки лапы выполнена площадка под углом к вертикали, равным (90- )±1, которая расположена от нижнего края пальца на расстоянии (0,4-0,6)dз.п., где dз.п. – диаметр замкового пальца.
РИСУНКИ
|
|