|
| На основании пункта 1 статьи 1366 части четвертой Гражданского кодекса Российской Федерации патентообладатель обязуется заключить договор об отчуждении патента на условиях, соответствующих установившейся практике, с любым гражданином Российской Федерации или российским юридическим лицом, кто первым изъявил такое желание и уведомил об этом патентообладателя и федеральный орган исполнительной власти по интеллектуальной собственности. |
|
(21), (22) Заявка: 2009113391/03, 10.04.2009
(24) Дата начала отсчета срока действия патента:
10.04.2009
(46) Опубликовано: 10.06.2010
(56) Список документов, цитированных в отчете о поиске:
SU 1320379 A1, 30.06.1987. SU 274026 A1, 01.10.1970. SU 1023060 A, 15.06.1983. SU 1476101 A1, 30.04.1989. RU 16176 U1, 10.12.2000. US 2005194191 A1, 08.09.2005.
Адрес для переписки:
123182, Москва, ул. Авиационная, 68, кв.490, Н.М. Панину
|
(72) Автор(ы):
Смирнов Вячеслав Геннадьевич (RU), Смирнов Игорь Вячеславович (RU), Панин Николай Митрофанович (RU)
(73) Патентообладатель(и):
Смирнов Вячеслав Геннадьевич (RU)
|
(54) БУРОВОЕ ШАРОШЕЧНОЕ ДОЛОТО
(57) Реферат:
Изобретение относится к породоразрушающему инструменту, а именно к буровым шарошечным долотам малого диаметра. Технический результат – повышение надежности работы долота и упрощение технологии его изготовления. Буровое шарошечное долото включает лапы и шарошки, установленные на цапфах с упорными буртами у основания. При этом внутренние спинки лап образованы двумя пересекающимися плоскостями, одна из которых параллельна бурту цапфы, а другая образует с плоскостью бурта острый угол с вершиной в точке пересечения плоскости разъема лап с плоскостью бурта. Величина острого угла определяется по математической формуле. 1 ил.
Изобретение относится к породоразрушающему инструменту, а именно к буровым шарошечным долотам малого диаметра.
Известно буровое шарошечное долото, включающее лапы с цапфами, на которых смонтированы шарошки, при этом внутренняя спинка лап до пересечения с плоскостью разъема лапы образована одной плоскостью (см. авт. св. СССР 1023060, кл. Е21В 10/22, 1083 г.).
Недостатком этого долота является малая длина сварного шва, измеренная от указанной точки пересечения до основания резьбового ниппеля, что может привести к разрушению корпуса по шву, особенно в долотах для твердых и крепких пород, разрушение которых требует значительных осевых усилий. В связи с этим для увеличения прочности шва приходится продолжать его по резьбовому ниппелю, что значительно усложняет технологию изготовления долота.
Наиболее близким к предложенному по технической сущности и достигаемому результату является буровое шарошечное долото, включающее лапы и шарошки, установленные на цапфах с упорными буртами у основания, при этом внутренние спинки лап образованы двумя пересекающимися плоскостями, одна из которых совмещена с плоскостью большего основания бурта цапфы, а другая образует с плоскостью меньшего основания бурта, проходящей через нижнюю линию разъема лап, острый угол (см. авт. св СССР 1320379, кл. Е21В 10/16, 1987 г.)
Данное долото имеет прочный сварной шов. Однако размеры сварного шва не оптимальны. А для малогабаритных долот это имеет решающее значение, т.к. при близком расположении линии пересечения плоскостей, образующих внутреннюю спинку лапы, к оси цапфы возникают сложности, связанные с обработкой беговых дорожек, а при значительном удалении – ослабляется сварной шов.
В связи с изложенным техническим результатом изобретения является повышение надежности работы долота без усложнения технологии его изготовления.
Поставленная технический результат достигается тем, что в буровом шарошечном долоте, включающем лапы и шарошки, установленные на цапфах с упорными буртами у основания, при этом внутренние спинки лап образованы двумя пересекающимися плоскостями, одна из которых совмещена с плоскостью большего основания бурта цапфы, а другая образует с плоскостью меньшего основания бурта, проходящей через нижнюю линию разъема лап, острый угол , согласно изобретению величина острого угла определяется по формуле:
sin =L/3K,
где L – расстояние от оси цапфы до линии пересечения плоскости разъема лап с плоскостью, проходящей через меньшее основание цапфы;
К – расстояние между основаниями упорного бурта.
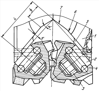
Изобретение поясняется чертежом, на котором представлен общий вид бурового долота в разрезе.
Буровое шарошечное долото содержит лапы 1 с наклонными цапфами 2, на которых посредством подшипников 3 смонтированы шарошки 4. Цапфы 2 выполнены с упорными буртами 5, а внутренняя спинка каждой лапы 1 образована двумя пересекающимися плоскостями 6 и 7. Одна из плоскостей 6 совмещена с плоскостью большего основания упорного бурта 5 цапфы 2, а другая – 7 образует с плоскостью меньшего основания бурта 5, проходящей через нижнюю линию разъема лап 1, острый угол . При этом величина этого острого угла определяется по формуле:
sin =L/3K,
где L – расстояние от оси цапфы 2 до линии пересечения плоскости разъема лап 1 с плоскостью меньшего основания упорного бурта 5;
К – расстояние между основаниями упорного бурта 5 или что то же самое – ширина бурта 5.
При выполнении долота с указанными параметрами упорных буртов 5 и внутренних спинок лап 1 достигается необходимая надежность сварных швов при одновременном обеспечении удобства проведения токарных и шлифовальных работ по механической обработке беговых дорожек подшипников качения и скольжения.
Это повышает надежность работы долота и упрощает технологию его изготовления.
Формула изобретения
Буровое шарошечное долото, включающее лапы и шарошки, установленные на цапфах с упорными буртами у основания, при этом внутренние спинки лап образованы двумя пересекающимися плоскостями, одна из которых совмещена с плоскостью большего основания бурта цапфы, а другая образует с плоскостью меньшего основания бурта, проходящей через нижнюю линию разъема лап, острый угол , отличающееся тем, что величина острого угла определяется по формуле sin =L/3K, где L – расстояние от оси цапфы до линии пересечения плоскости разъема лап с плоскостью, проходящей через меньшее основание упорного бурта; К – расстояние между основаниями упорного бурта.
РИСУНКИ
|
|