|
|
(21), (22) Заявка: 2008148094/03, 05.12.2008
(24) Дата начала отсчета срока действия патента:
05.12.2008
(30) Конвенционный приоритет:
07.12.2007 DE 102007059222.3
(46) Опубликовано: 10.06.2010
(56) Список документов, цитированных в отчете о поиске:
DE 10119640 A1, 21.11.2002. US 3425163 A, 04.02.1969. FR 645505 A, 26.10.1928. US 2708774 A, 24.05.1955. RU 43293 U1, 10.01.2005.
Адрес для переписки:
129090, Москва, ул.Б.Спасская, 25, стр.3, ООО “Юридическая фирма Городисский и Партнеры”, пат.пов. Е.И.Емельянову, рег. 174
|
(72) Автор(ы):
ВЕФЕР Дирк (DE)
(73) Патентообладатель(и):
РАУМПЛЮС ГМБХ УНД КО.КГ (DE)
|
(54) СТЕНОВОЙ, ДВЕРНОЙ ИЛИ ОКОННЫЙ ЭЛЕМЕНТ
(57) Реферат:
Изобретение относится к области строительства, а именно к конструкциям дверных или оконных элементов. Изобретение позволит упростить конструкцию элемента. Стеновой или дверной элемент, который можно, в частности, перемещать на опорных роликах, содержит раму по всему контуру, имеющую взаимно соединенные профили, а именно несущие профили и поперечные профили. Профили выполнены для установки внешних панелей на боковые поверхности плотного прилегания посредством прикрепления связующим или липкой лентой, при установке стабилизирующих средств, а именно одной или большего числа стабилизирующих пластин, предпочтительно установленных в центре. Их вставляют в направляющую канавку профилей. 13 з.п. ф-лы, 10 ил.
Изобретение относится к стеновому, дверному или оконному элементу, содержащему (каждый), по меньшей мере, одну панель-заполнитель и раму из формованных профилей, изготовленных, в частности, путем глубокой вытяжки или высокотемпературного формообразования, которыми окружена панель по ее контуру.
Согласно ранее известным решениям упомянутые выше элементы содержат (каждый) непрерывную панель из древесины или материала на основе древесины, стекла, металла, пластика и т.п. Панель окружена рамой. Профили, из которых формируют раму, содержат канавки, в которые вставляют краевые области панели. Из профилей делают несущие стойки и верхние и нижние поперечины. Если объектам придана функция скольжения, то верхнюю и нижнюю поперечины снабжают роликами, которые могут быть установлены в направляющих, расположенных внизу и вверху.
Задачей изобретения является усовершенствование конструкции и внешнего вида элементов вышеупомянутого типа.
Для достижения этой задачи предложен элемент согласно изобретению, обладающий следующими признаками:
a) панель прикреплена к свободной боковой поверхности рамы (исключительно) с помощью скрытых соединительных средств, в частности, посредством связующего;
b) профили закреплены в соответствующих точных положениях, по меньшей мере, в области мест соединения или скрепления с помощью одного или большего числа пластинообразных средств для центрирования или регулирования;
c) средства для центрирования или регулирования вставлены в направляющие канавки смежных профилей.
Особый отличительный признак элементов согласно настоящему изобретению заключается, в первом примере, в том, что панель, в частности, панель, состоящая из стекла или подобного материала, прикреплена к наружной стороне профиля без использования винтов или других соединительных средств, расположенных в поперечном направлении, в частности, исключительно путем использования связующего для крепления. Для повышения стабильности рамы и, в частности, для прикрепления частей рамы во время сборки объектов обеспечивают одно или большее число средств для размещения внутри рамы, по меньшей мере, в области мест соединения, сформированных в углах профилей, для выставления их в одной плоскости и закрепления. Профили снабжены канавкой, в которую вставляют средства для центрирования или регулирования. Пластинообразные средства можно преимущественно устанавливать в нижних и верхних областях рамы, но они могут быть также выполнены в виде непрерывной панели, которой заполняют раму.
Профили, из которых формируют раму, выполняют особым образом. Для установки (стеклянных) панелей предпочтительно с обеих сторон рамы полки профилей снабжены гладкими наружными, или боковыми, поверхностями для прикрепления к ним стеклянных панелей с помощью связующего, в частности с помощью липких лент. Со стороны свободного контура профиль снабжен, по меньшей мере, одной полкой, расположенной в поперечном направлении, предпочтительно – двумя полками, расположенными в поперечном направлении, для поддержки или плотного прилегания свободного края стеклянной панели/панелей. Профили в поперечном сечении, кроме того, выполнены таким образом, что они содержат предпочтительно центральную канавку для размещения средств для регулирования или крепления.
Дополнительные особые отличительные признаки изобретения более подробно пояснены ниже со ссылками на чертежи, на которых изображено:
на фиг.1 – вид в перспективе дверного элемента и его отдельных частей;
на фиг.2 – схематический вид стенового элемента;
на фиг.3 – место III на фиг.2 в увеличенном масштабе;
на фиг.4 – место IV на фиг.2 также в увеличенном масштабе;
на фиг.5 – схематический вид стенового элемента;
на фиг.6 – разрез VI-VI на фиг.5 в увеличенном масштабе;
на фиг.7 – разрез VII-VII на фиг.5 также в увеличенном масштабе;
на фиг.8 – еще один схематический вид объектов;
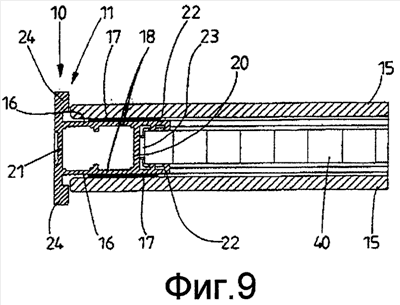
на фиг.9 – разрез IX-IX на фиг.8 в увеличенном масштабе;
на фиг.10 – вид в перспективе верхней области рамы.
Примерные варианты выполнения элемента, показанные на чертежах, относятся к перемещаемой двери, известной так же, как перемещаемая на роликах дверь. Дверной элемент содержит по контуру замкнутую раму 10, изготовленную из профилей или частей профиля. Рама 10 содержит несущие стойки, или несущие профили, 11, 12 и расположенные в поперечном направлении элементы, или поперечные профили, 13, 14. Профили 11-14 являются полыми профилями, а именно экструдированными металлическими или пластиковыми профилями. Вертикальные профили 11, 12, с одной стороны, и поперечные профили 13, 14, с другой стороны, смонтированы вместе и соединены друг с другом в углах рамы. В данном примерном варианте выполнения несущие профили 11, 12 проходят по всей высоте рамы 10. Поперечные профили 13, 14 расположены между несущими профилями 11, 12, плотно прилегают к нижним и верхним концевым областям несущих профилей 11, 12 и присоединены к ним.
Рама 10 является несущей конструкцией, по меньшей мере, для одной панели элемента, которая простирается, в частности, по всей протяженности рамы 10. Панель элемента предпочтительно является стеклянной панелью 15. Один отличительный признак заключается в способе установки элемента, или стеклянной панели, 15 на раме 10. Последняя содержит, по меньшей мере, с одной боковой стороны, а в данном случае, с обеих сторон, плоские опорные поверхности 16, которые проходят по всему контуру рамы, выставлены в одной плоскости друг относительно друга и предназначены для установки элемента, или стеклянной панели, 15. Соответственно стеклянную панель 15 устанавливают так, чтобы она плотно прилегала к наружной стороне рамы 10, или к профилям 11-14, и присоединяют к ним скрытыми средствами. В частности, стеклянную панель 15 прикрепляют к раме 10 с помощью связующего, по меньшей мере, в области выбранных частей профилей, но предпочтительно по всему контуру. Соответственно стеклянная панель 15 в основном имеет те же размеры, что и рама 10.
Один особый отличительный признак заключается в использовании липких полосок, или липких лент, 17 для присоединения стеклянной панели 15 к раме 10. Двухстороннюю липкую ленту 17, предпочтительно в форме (артикула) 4613, выпускаемого компанией «3M», наклеивают на поверхности 16 прилегания профилей 11-14 для установки стеклянной панели 15. При этом предпочтительно образуют замкнутый контур из липкой ленты 17 (см. фиг.1) и получают беззазорное крепление посредством связующего. Затем стеклянную панель 15 прижимают к липкой ленте 17 в области частей рамы для создания долговременного соединения.
Стеклянная панель 15 предпочтительно снабжена противоосколочным средством, в частности противоосколочной пленкой (не показана), наклеенной с одной стороны. Эту пленку располагают с внутренней стороны, т.е. в направлении к раме 10. Для создания эффективного соединения с помощью долговременного крепления посредством связующего целесообразно заранее снабдить как поверхности 16 прилегания, так и полосообразные краевые области стеклянной панели 15 праймером, в частности праймером (артикула) 94, выпускаемым компанией «3M».
Раму 10 или профили 11-14 выполняют особым образом для того, чтобы они соответствовали назначению. Вертикальные профили, т.е. несущие профили 11, 12, выполняют так, чтобы они соответствовали друг другу. Поперечные профили 13, 14 отличаются конфигурацией и размерами от несущих профилей 11, 12 и друг от друга. В проиллюстрированном примерном варианте выполнения профили 11-14 приспособлены к размещению двух стеклянных панелей 15, т.е. по одной стеклянной панели 15 с каждой стороны рамы 10.
Несущие вертикальные профили 11, 12 имеют базовую, или стандартную, форму профиля (см. фиг.9). Боковыми стенками 18 профиля ограничена каналообразная полость 19, которая ограничена внутренней поперечной стенкой 20 и периферической наружной стенкой 21. Боковые стенки 18 проходят внутрь за поперечную стенку 20 с образованием полок 22 в виде боковых ограничителей центральной U-образной направляющей канавки 23. Последняя проходит вдоль всей длины несущих профилей 11, 12 и продолжается в области поперечных профилей 13, 14.
Наружная стенка 21 также выполнена особым образом, т.е. она выходит сбоку за боковые стенки 18 с образованием опорной полки 24, расположенной, по меньшей мере, с одной стороны, а в данном примерном варианте выполнения – с обеих сторон. Эта опорная полка служит в качестве упора для элемента, или стеклянной панели 15, которую можно ввести в соприкосновение с соответствующей опорной полкой 24. Опорная полка 24 выполнена по размерам таким образом, чтобы она выступала свободно за плоскость стеклянной панели 15 и, таким образом, представляла собой краевую защиту стеклянной панели 15. Кроме того, опорная полка 24 снабжена канавкой 25. Последняя расположена рядом с боковыми стенками 18, и с ее помощью образовано периферическое возвышение опорных полок 24 для обеспечения плотного прилегания стеклянной панели 15. Выступом профиля, созданным с помощью соответствующих размеров опорных полок 24, образована краевая защита свободных краев стеклянных панелей 15. Кроме того, на опорных полках 24 могут быть установлены функциональные средства для двери, например ручка 43.
Данный примерный вариант выполнения элемента (дверного или стенового) может быть выполнен в виде перемещаемого на роликах объекта. Нижние ролики, а именно опорные ролики 26, могут быть расположены на нижней ходовой направляющей (не показана). Элемент содержит два расположенных на расстоянии друг от друга опорных ролика 26, установленных с возможностью вращения на или в нижнем поперечном профиле 14, на расстоянии от несущих вертикальных профилей 11, 12.
Направляющие ролики 27, 28 расположены сверху, а именно в области верхнего поперечного профиля 13 и/или около верхних концов несущих профилей 11, 12. Эти направляющие ролики 27, 28, установленные парами один за другим и имеющие вертикальные оси вращения, служат для удерживания в поперечном направлении и/или для направления объекта вдоль верхней направляющей (не показана), которая может быть прикреплена к потолку строения.
Нижний профиль рамы, а именно поперечный профиль 14, выполнен особым образом, а именно из профиля, открытого снизу, где вертикальные стенки 29 профиля, аналогичные боковым стенкам 18 несущих профилей 11, 12, идущие вдоль нижнего контура, образуют направленные в боковые стороны опорные полки 30 для стеклянной панели 15. Опорная полка 30 имеет размер, или ширину, несколько меньшую толщины стеклянной панели 15. Размеры поперечного профиля 14 выбирают таким образом, чтобы можно было разместить опорные ролики 26, установленные в кронштейнах 31, несущих ролики, в поперечном профиле 14, открытом снизу, между стенками 29 профиля. Опорные ролики 26 и/или кронштейны 31, несущие ролики, располагают таким образом, чтобы опорные ролики 26 находились большей своей частью внутри поперечного профиля 14. Подвижный, а именно, в частности, поворотный кронштейн 31, несущий ролик, имеет U-образную форму в поперечном сечении и имеет известную, в общем, конструкцию.
В верхней, или внутренней, области поперечный профиль 14 содержит выполненный за одно целое круглый профиль 32. Последний служит для размещения в нем, в поперечном направлении, соединительного элемента, например винта, пропущенного через несущие профили 11, 12, для соединения профилей, который закреплен в круглом профиле 32.
В поперечном профиле 14 выполнена центральная направляющая канавка 23, ограниченная направленными вверх, или внутрь, стенками 33 канавки, выполненными на внутренней, или верхней, ограничительной стенке 34, несущей круглый профиль 32. В случае применения этого поперечного профиля 14 липкую ленту 17 наклеивают в верхней, или внутренней, области стенок 29 профиля.
Верхний поперечный профиль 13 также выполнен особым образом и содержит две боковые стенки 35 и поперечную стенку 36, расположенную приблизительно на полпути, или более или менее в центре. Этой поперечной стенкой ограничена направляющая канавка 23, внутреннее пространство которой открыто снизу. Кроме того, с противоположной стороны от направляющей канавки 23 на поперечной стенке 36 выполнен круглый профиль 32 того же назначения, что и в нижнем поперечном профиле 14. Поперечный профиль 13 открыт сверху и наружу.
Для установки направляющих роликов 27, 28 в правильном положении их устанавливают на кронштейне 37 роликов, который располагают в поперечном направлении сверху на объекте и/или сверху на поперечном профиле 13. Два направляющих ролика 27, 28, расположенные один за другим, устанавливают так, чтобы их оси вращения были направлены вертикально вверх относительно кронштейна 37 роликов. Расположенную сбоку вертикальную соединительную полку кронштейна 37 роликов присоединяют известным образом к раме 10 и/или к верхнему поперечному профилю 13.
Крепежное средство устанавливают в области верхнего поперечного профиля 13 для крепления внешних панелей, например стеклянных панелей 15, для предотвращения их отделения от рамы 10 (в случае неадекватности крепления). Для этого, в случае использования данного примерного варианта выполнения, в области поперечного профиля 13 устанавливают крепежный компонент 38. Этот крепежный компонент содержит поперечную стенку и расположенные в поперечном направлении полки или расположенные на краях под углом части 42, которыми окружают наружные краевые области стеклянной панели 15. Крепежный компонент 38, имеющий, в частности, U-образное поперечное сечение, предпочтительно выполнен из листового металла или подобным образом, и его присоединяют к верхней стороне поперечного профиля 13. В данном примерном варианте выполнения крепежный компонент 38 располагают в области кронштейна 37 для направляющих роликов 27, 28, а именно под этим кронштейном. Крепежный компонент 38 фиксируют в надлежащем положении на раме 10 (без использования каких-либо дополнительных соединительных средств) с помощью кронштейна 37 роликов, а именно с помощью выступающих заклепок того же кронштейна. В качестве альтернативы, крепежный компонент 38 можно также устанавливать независимо от кронштейна 37 роликов, и, в крайнем случае, он может проходить вдоль всей длины поперечного профиля 13. Расположенные под углом части 42 имеют небольшие размеры, и поэтому они не видны с наружной стороны (так как находятся внутри верхней направляющей).
Важный отличительный признак создан с помощью вспомогательных средств для стабилизации элемента и для выставления в одной плоскости рамы 10, в частности, во время сборки. Для этого по всему контуру формируют точно отрегулированную направляющую канавку 23, которая, в случае использования симметричного профиля, предпочтительно проходит посередине. Средства для выставления в одной плоскости смежных, взаимно соединяемых профилей вставляют в эту направляющую канавку 23. Эти средства в данном случае представляют собой пластинообразные элементы, а именно стабилизирующие пластины 39, 40. В каждом случае верхнюю область и нижнюю область рамы 10 занимают стабилизирующими пластинами 39, 40, с помощью которых соответственно выставляют в одной плоскости соответственно верхние или нижние угловые соединения профилей и закрепляют их в надлежащем положении друг относительно друга.
Использование таких или подобных стабилизирующих средств важно, в частности, для сборки элемента, так как при установленных снаружи стеклянных панелях 15 невозможно гарантировать (в достаточной степени), что рама 10 скреплена. С помощью стабилизирующих пластин 39, 40 также выставляют в одной плоскости плотно прилегающие поверхности 16 смежных профилей для липких лент 17. Кроме того, стабильность элемента в целом повышают с помощью внутренних, скрытых стабилизирующих пластин 39, 40. Вместо отдельных стабилизирующих пластин ограниченного размера можно также использовать непрерывную, состоящую из одной части стабилизирующую панель, которой заполняют внутреннюю область рамы 10. При соответствующем выполнении профилей стабилизирующие пластины 39, 40 располагают на расстоянии от внешней стеклянной панели или панелей 15 и таким образом формируют стабильную трехмерную несущую конструкцию. Направляющие канавки 23 содержат опорные ребра 41, которыми центрируют и направляют стабилизирующие пластины 39, 40.
Крепежные и/или стабилизирующие средства могут быть также выполнены несколько иным способом, например в виде небольших треугольных пластинчатых элементов, устанавливаемых в области углов рамы (см. фиг.10). В качестве альтернативы, они могут быть выполнены в виде угловых средств, состоящих, например, из металла и устанавливаемых в виде фитингов в области углов рамы, просто внутри направляющих канавок 23. Так как эти средства важны, в частности, для сборки элемента, то все крепежные средства могут быть удалены из элемента после завершения его сборки.
Перечень обозначений
10 Рама
11 Несущий профиль
12 Несущий профиль
13 Поперечный профиль
14 Поперечный профиль
15 Стеклянная панель
16 Поверхность плотного прилегания
17 Липкая лента
18 Боковая стенка
19 Полость
20 Поперечная стенка
21 Наружная стенка
22 Полка
23 Направляющая канавка
24 Опорная полка
25 Канавка
26 Опорный ролик
27 Направляющий ролик
28 Направляющий ролик
29 Стенка профиля
30 Опорная полка
31 Кронштейн ролика
32 Круглый профиль
33 Стенка канавки
34 Ограничительная стенка
35 Боковая стенка
36 Поперечная стенка
37 Кронштейн роликов
38 Крепежный компонент
39 Стабилизирующая пластина
40 Стабилизирующая пластина
41 Опорное ребро
42 Часть, расположенная под углом
43 Ручка
Формула изобретения
1. Стеновой, дверной или оконный элемент, содержащий, по меньшей мере, одну панель-заполнитель и раму (10), выполненную из формованных профилей, изготовленных, в частности, путем глубокой вытяжки или высокотемпературного формообразования, которыми окружена панель по своему контуру, отличающийся тем, что a) панель (15) прикреплена к свободной боковой поверхности, или поверхности плотного прилегания, (16) рамы (10) исключительно посредством скрытого соединительного элемента, в частности, с помощью связующего или липкой ленты (17); b) профили (11, 12; 13, 14) скреплены, по меньшей мере, в области мест соединения или скрепления посредством одного или большего числа средств (39, 40) для центрирования или регулирования для гарантированного обеспечения точного выставления в одной плоскости; при этом c) средства (39, 40) для центрирования или регулирования вставлены в направляющие канавки (23) смежных профилей (11, 12; 13, 14) и/или рамы (10).
2. Элемент по п.1, отличающийся тем, что внешняя панель, установленная, по меньшей мере, с одной стороны рамы (10), состоящая из стекла или подобного материала, стеклянная панель (15), прикреплена к свободной боковой поверхности (16) плотного прилегания профилей (11-14) с помощью многокомпонентного связующего, в частности, с использованием предварительно изготовленной липкой ленты (17).
3. Элемент по п.1, отличающийся тем, что средства для центрирования или регулирования имеют пластинообразную конструкцию, в частности, выполнены в виде жестких стабилизирующих пластин (39, 40), которые расположены в верхней области рамы (10), с одной стороны, и в нижней области рамы (10), с другой стороны; при этом стабилизирующие пластины (39, 40) проходят вдоль всей длины верхнего поперечного профиля (13) рамы (10) и вдоль всей длины нижнего поперечного профиля (14), а также вдоль части длины, или части высоты, несущих вертикальных профилей (11, 12).
4. Элемент по п.3, отличающийся тем, что направляющие канавки (23) профилей (11, 12; 13, 14) соединены друг с другом, при точном относительном расположении, где, в частности, они проходят по всему контуру внутренней стороны рамы (10), предпочтительно, посередине профилей (11, 12; 13, 14).
5. Элемент по п.1, отличающийся тем, что предпочтительно все профили (11, 12; 13, 14) рамы (10) содержат боковые стороны, составляющие поверхности (16) плотного прилегания, предпочтительно с обеих сторон профилей (11, 12; 13, 14), для присоединения, по меньшей мере, одной стеклянной панели (15), предпочтительно двух стеклянных панелей (15), простирающихся с обеих сторон профилей (11, 12; 13, 14), к раме (10) посредством скрепления связующим.
6. Элемент по п.1, отличающийся тем, что профили рамы (10), в частности, несущие вертикальные профили (11, 12), содержат две параллельные боковые стенки (18), с наружной стороны которых расположена поверхность (16) плотного прилегания для стеклянной панели (15), а в области с внутренней стороны которых выполнена проходящая посередине направляющая канавка (23), содержащая полки (22) и поперечную стенку (20).
7. Элемент по п.1, отличающийся тем, что профили рамы (10), в частности, несущие вертикальные профили (11, 12) и/или нижний поперечный профиль (14) содержат, в области по наружному и/или нижнему контуру, опорные средства для стеклянных панелей (15), в частности, опорные полки (24, 30).
8. Элемент по п.7, отличающийся тем, что опорные полки (24), особенно в области несущих вертикальных профилей (11, 12), выходят за пределы стеклянных панелей (15) и образуют боковые выступы.
9. Элемент по п.1, отличающийся тем, что нижний профиль рамы (10), а именно поперечный профиль (14), выполнен в виде относительно высокого полого тела, открытого снизу, а внутри поперечного профиля (14) между стенками (29) профиля установлены опорные ролики (26), и в нем сформирована направляющая канавка (23) из параллельных поперечных стенок (33) канавки, расположенных на поперечной ограничительной стенке (34).
10. Элемент по п.1, отличающийся тем, что, в частности, верхний поперечный профиль (13) рамы (10) содержит две параллельные боковые стенки (35), соединенные друг с другом поперечной стенкой (36) таким образом, что направляющая канавка (23) выполнена с внутренней стороны.
11. Элемент по п.1, отличающийся тем, что средства для центрирования или регулирования, в частности, стабилизирующие пластины (39, 40), состоят из древесины или материала на основе древесины.
12. Элемент по п.8, отличающийся тем, что функциональные средства, в частности, ручка (43), установлены на опорных полках (24), в частности, на несущих вертикальных профилях (11, 12).
13. Элемент по п.1, отличающийся тем, что стеклянная панель (15) или стеклянные панели (15) снабжена или снабжены с внутренней стороны, обращенной к раме (10), противоосколочным средством, в частности, противоосколочной пленкой, наложенной по всей площади поверхности.
14. Элемент по п.1, отличающийся тем, что одно средство для центрирования или регулирования выполнено в виде непрерывной, состоящей из одной части стабилизирующей панели, которой заполнена внутренняя область рамы (10).
РИСУНКИ
|
|