|
(21), (22) Заявка: 2007119481/03, 28.05.2007
(24) Дата начала отсчета срока действия патента:
28.05.2007
(43) Дата публикации заявки: 10.12.2008
(46) Опубликовано: 10.06.2010
(56) Список документов, цитированных в отчете о поиске:
SU 125519 А, 01.01.1960. SU 1765321 А1, 30.09.1992. US 4195810 А, 01.04.1980. US 4191358 А, 04.03.1980. SU 794122 А, 07.01.1981. WO 03/076326 A1, 18.09.2003.
Адрес для переписки:
191015, Санкт-Петербург, ул. Кавалергардская, 42, ГУП “Водоканал Санкт-Петербурга”, Департамент интеллектуальной собственности и стандартизации, директору Ю.А. Трухину
|
(72) Автор(ы):
Малышев Александр Викторович (RU), Трухин Юрий Александрович (RU), Курганов Юрий Анатольевич (RU), Мурашев Сергей Владимирович (RU), Кислов Александр Васильевич (RU), Смирнов Евгений Евгеньевич (RU)
(73) Патентообладатель(и):
Государственное Унитарное Предприятие “Водоканал Санкт-Петербурга” (RU)
|
(54) СПОСОБ УДАЛЕНИЯ ВОДЫ ИЗ ПОДАЮЩЕЙ ТРУБЫ ВОДОРАЗБОРНОЙ КОЛОНКИ
(57) Реферат:
Изобретение относится к области санитарно-технических устройств. Способ удаления воды из подающей трубы водоразборной колонки заключается в размещении во внутреннем объеме динамического элемента, формировании необходимого проходного отверстия для подачи воды по трубе путем изменения динамического элемента. При отключении потока на излив остаточную воду из трубы удаляют. При этом динамический элемент размещают во внутреннем объеме трубы, необходимое проходное сечение для подачи воды формируют путем изменения диаметра или объема динамического элемента, а остаточную воду из трубы удаляют по направлению ее подачи, уменьшая проходное сечение путем ввода незамерзающей жидкости или газа во внутреннее пространство. Вводят жидкость или газ при отключении потока через жесткую трубку, а заполнение начинают со стороны, противоположной сливу. Технический результат заключается в улучшении работы устройства в период заморозков. 4 з.п. ф-лы, 5 ил.
Изобретение относится к способам удаления воды из подающего стояка водоразборной колонки для раздачи водопроводной воды.
Серьезной проблемой эксплуатации является выход из строя в зимнее время водоразборных колонок. Основной причиной является замерзание остаточной воды в подающей трубе водоразборной колонки, стояке или в подземной части стояка или корпуса, когда уровень ее доходит до границы промерзшего грунта или близко к нему. К причинам накопления больше допустимого объема остаточной воды, т.е. недостаточного его удаления в процессе или после водоразбора, относятся как недостатки применяемых способов удаления, так и «неправильная эксплуатация». Известны три основных способа удаления воды: самотеком под действием силы тяжести, путем создания давления ходом поршня в поршневых колонках и с использованием энергии потока подаваемой на излив воды (эжектированием).
Известен способ удаления воды из стояка водоразборной колонки, используемый при эксплуатации колонки водоразборной, предназначенной для установки на водопроводных сетях для разбора воды населением на бытовые нужды, выпускаемой Воронежским заводом «Водмашоборудование» (паспорт на изделие «Колонка водоразборная», г.Воронеж, 1998) или по патенту РФ 2078178, опубликован 1997.04.27. Остаточная (возвратная) вода из подающей трубы предварительно сливается в приемную емкость, расположенную ниже уровня промерзания грунта, а ее удаление происходит посредством эжекции струей воды, подаваемой на излив. В существующих конструкциях колонки эжектор является средством устранения проблемы, возникающей, когда вода по окончании водоразбора остается в трубе и стояке и заполняет все внутреннее пространство стояка, что приводит к замерзанию этой остающейся воды; и лед препятствует последующему водоразбору. Использование эжектора позволяет слить лишь часть воды из трубы и стояка. При несоответствующей требованиям эксплуатации колонке в поток эжектируется не вся вода из трубы, что приводит к постепенному увеличению уровня воды в трубе и в стояке в пассивном режиме. Установка подобной колонки в открытом колодце (улучшающий условия технического обслуживания) гарантирует доступ холодного воздуха в нижнюю часть колонки, что приводит к замерзанию даже минимальной порции оставшейся в стояке воды, которая также препятствует последующему водоразбору. Недостаточный отсос остаточной воды из подводящей трубы может возникать вследствие, например, нестабильности (недостаточности) давления в подающей сети и из-за «неправильного» забора воды, осуществляемого малыми промежутками или с использованием поливочного шланга. Следствием чего является постепенное наполнение корпуса колонки водой, остающейся от предыдущих отборов.
Принцип отложенного сброса остатка воды ведет к подаче грязной воды пользователю, заметному увеличению расхода на промыв и заболачиванию пространства вокруг колонки.
Заявителю известны также колонки, построенные на принципе принудительной откачки воды с использованием насосного оборудования, недостатком такого способа является требование наличия подвода энергии.
Заявителю известны способы удаления воды из подающей трубы самотеком через выпускной клапан, устроенный в подземной части, например реализуемый конструкцией водоразборной колонки «Виктория» (AVK, Франция). Недостатком такого способа является необходимость устройства специального дренажа для отвода воды, а также невозможность использования в случае высокого уровня грунтовых вод.
Известен способ удаления воды самотеком путем сбора в специальную дренажную емкость с последующим удалением из нее воды.
Известен способ удаления воды давлением, создаваемым ходом поршня. А.С. 125519 «Водоразборная поршневая колонка» (опубликовано в «Бюллетене изобретений» 1 за 1960 г.). Недостатком данного способа удаления воды является технологическая сложность осуществления, а также невозможность полного удаления остаточной воды (часть воды сливается в сборную емкость и удаляется с последующим водозабором, расположенную в подземной части), которая может замерзать, например в случае установки такой колонки в открытых колодцах.
Известны водоразборные колонки, в которых с целью предотвращения замерзания воды в зимних условиях эксплуатации в качестве датчика используют заполненную водой камеру, эластичное дно которой взаимодействует со шпинделем и ходовой гайкой, позволяющими создавать разреженное давление в камере (патент РФ 2230859, публ. 20.06.2004). Данное устройство, основанное на принципах увеличения объема при замерзании воды и теплопроводности материалов, инертно в рабочем состоянии и не обеспечивает надежный разбор воды.
Для кардинального исключения возможности замерзания необходимо обеспечить удаление остаточной воды из стояка колонки непосредственно после водоразбора. Ни одно из известных заявителю решений не решает поставленную задачу.
Задачей является нахождение способа полного удаления воды сразу после окончания водозабора (отключения от водопроводной сети) из стояка водоразборной колонки.
Техническим результатом является улучшение удаления остаточной воды, при обеспечении условия ее удаления сразу после отключения от водопроводной сети.
Задача решается в способе удаления воды из подающей трубы водоразборной колонки, заключающемся в том, что помещают во внутренний объем трубы динамический элемент, при этом формируют необходимое проходное сечение для подачи воды по трубе путем изменения диаметра или объема динамического элемента, а при отключении потока на излив остаточную воду из трубы удаляют по направлению ее подачи, уменьшая проходное сечение.
Изменение диаметра или объема возможно осуществить используя свойства упругой деформации элемента из эластичного упругого материала, путем сжатия или растяжения поперек трубы потоком подаваемой на излив воды, а возврат в исходное состояние за счет упругой деформации элемента.
Вариантом исполнения элемента может являеться эластичный рукав, при этом проходное сечение образуют внутри рукава.
Вариантом исполнения элемента может являться эластичный стержень, при этом проходное сечение образуют между внешней стенкой стержня и внутренней стенкой трубы.
Возможный вариант изготовления стержня цилиндрической формы из губчатой резины или вариант стержня, представляющий собой герметичную камеру, наполненную газом.
Изменение диаметра или объема возможно осуществить используя незамерзающую жидкость или газ, при этом вводят незамерзающую жидкость или газ при отключении потока и освобождают от незамерзающей жидкости или газа при включении потока.
Данный вариант можно использовать как самостоятельно, так и совместно с использованием свойств упругой деформации элемента, например в том случае, когда упругих свойств материала элемента не хватает для полного вытеснения (дожима) воды.
Таким образом имеется вариант, когда объем или диаметр регулируют (меняют) только путем введения газа или незамерзающей жидкости, и вариант, когда газ или жидкость используются как вспомогательный элемент для «дожима» остаточной воды, при этом основная масса вытесняется за счет упругой деформации элемента.
Возможно незамерзающую жидкость или газ вводить в пространство, образуемое внутренней стенкой трубы и стенкой элемента, при этом динамическое проходное сечение образуют между стенками рукава и внутренними стенками трубы.
В качестве элемента можно использовать эластичный рукав. Либо выполнить элемент из водонепроницаемого тонкостенного материала, например ткани. Рукав может быть гофрированный, тогда можно использовать не эластичный материал.
Возможно незамерзающую жидкость или газ вводить в имеющуюся во внутреннюю осевую полость эластичного стрежня, при этом образуют динамическое проходное сечение между внешними стенками стержня и внутренними стенками трубы. Лучшим вариантом подачи газа или незамерзающей жидкости является подача его (ее) через жесткую трубку, расположенную в осевой полости элемента, при этом необходимо обеспечить отсутствие зазора между стенками трубки и стенками полости при отключении потока. Помещают трубку в элемент, предварительно его нагрев, при этом отсутствие зазора должно соблюдаться как минимум в диапазоне температуры подаваемой воды от 4 до 30 градусов Цельсия.
Для достижения наилучшего эффекта и облегчения удаления воды во всех выше перечисленных случаях заполнение начинают со стороны, противоположной сливу.
Признаки заявителю неизвестны:
Помещают во внутренний объем трубы динамический элемент, при этом формируют необходимое проходное сечение для подачи воды по трубе путем изменения диаметра или объема динамического элемента, а при отключении потока на излив остаточную воду из трубы удаляют по направлению ее подачи, уменьшая проходное сечение.
Используют элемент из эластичного упругого материала, при этом изменение его диаметра или объема осуществляют путем сжатия или растяжения поперек трубы потоком подаваемой на излив воды, а возврат в исходное состояние – за счет упругой деформации элемента.
Для изменения диаметра или объема элемента используют незамерзающую жидкость или газ, при этом вводят незамерзающую жидкость или газ при отключении потока и освобождают от незамерзающей жидкости или газа при включении потока.
Поставленная задача решена, при этом в отличие от существующих решений, где вода остается в системе, либо удаляется из нее через дополнительные отверстия, либо с использованием дополнительного источника энергии (помимо мускульной силы человека на открытие клапана), предлагаемое решение нацелено на использование только имеющихся ресурсов (имеющегося изливного отверстия, мускульной силы человека, силы давления воды в сети).
Очевидно, что вода сама не в состоянии преодолеть силу тяжести и подняться выше уровня изливного отверстия, поэтому в предлагаемом способе вводят дополнительный элемент (недорогое устройство), который по окончании водоразбора занимает весь объем трубы.
Заявленное изобретение разрешает следующее противоречие: проходное сечение в трубе должна быть, чтобы осуществлять прохождение потока воды, в то же время проходного сечения не должно быть, чтобы вода в трубе не оставалась.
Когда клапан закрыт, труба за счет свойства стенок (трубы или элемента) самостоятельно удаляет воду, уменьшая проходное сечение, т.е. сечение исчезает.
Когда клапан открыт, вода сама создает полость в трубе за счет напора.
Сверхэффектом является: уменьшение объема удаляемой остаточной воды; улучшение гигиенических свойств; экономия воды; расширяется температурный диапазон применения.
Исключение специальных устройств для удаления воды, например эжектора, позволяет, например, уменьшить диаметр стояка колонки с целью минимизации объема воды, подлежащей удалению.
Остаточная вода удаляется сразу после закрытия клапана в емкость потребителя (ведро), т.е. вода не застаивается, ее не надо сливать перед водоразбором.
Использование предлагаемого способа позволяет решить проблему удаления остаточной воды сразу после окончания водоразбора, тем самым предотвратить ее замерзание.
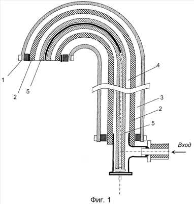
Предложенный способ может быть реализован на примере устройства водоразборной колонки, изображенной на фиг.1.
Фиг.1-5 – укрупненная схема части водоразборной колонки (подающей трубы), выполненной с использованием эластичного элемента в форме эластичного рукава.
Водоразборная колонка содержит (фиг.1) подающую трубу водоразборной колонки 1, помещенный во внутренний объем трубы динамический элемент 2, соединенный с питающим водоводом (не показан) и системой управления разбором воды (не показана). Система управления разбором воды обычно содержит напорный клапан, связанный с питающим водоводом (водопроводной сетью), и силовое устройство, выполненное в виде механического привода, которое соединяется с элементом управления (обычно нажимной рычаг) и напорным клапаном.
На фиг.1 изображен вариант динамического элемента 2, который представляет собой эластичный трубчатый элемент, установленный в подающей трубе 1 с зазором 3. Полость 4 для подачи воды соединена гидравлически через напорный клапан (не показан), например, с напорным питающим водоводом – водопроводной сетью (не показан).
Полость 4 для подачи воды выполнена с возможностью увеличения или уменьшения своего объема в зависимости от объема подаваемой воды из питающего водовода. Внутри эластичной трубы 2 может быть установлена жесткая труба 5 с зазором или без между ними.
Эластичный трубчатый элемент может быть изготовлен, например, из силиконовой резины. Проведенные испытания показали, что данный эластичный материал, кроме упругих свойств, обладает гидрофобными свойствами, которые дополнительно способствуют удалению остаточной воды из полости.
Эластичный элемент в форме стержня может быть изготовлен из губчатой резины.
Для изготовления жесткой трубы 5 и подающей трубы 1 может быть использован любой материал, величина жесткости которого достаточна для формообразования трубчатого элемента. Использование металлических труб менее предпочтительно, поскольку высокая теплопроводность металлов может способствовать замерзанию воды в подающем напорном водоводе. При проведении испытаний в качестве материала с указанными характеристиками использован полиэтилен. При необходимости дополнительно при изготовлении корпуса (не показан) на него может быть нанесен слой утеплителя.
Водоразборная колонка работает следующим образом. При нажатии на нажимной рычаг (фиг.2-5) через силовое устройство открывается напорный клапан (на фиг.2 показан) и вода из напорного питающего водовода поступает в эластичную трубу 2 в полость 4.
В случае выполнения эластичного элемента в форме эластичного стержня (не показан) вода поступает в полость 3, которая образована между внутренней боковой поверхностью трубы 1 и внешней боковой поверхностью эластичного стержня.
Под давлением поступающей воды происходит увеличение объема полости 4 (для варианта с трубчатым элементом) или увеличение полости 3 для варианта с эластичным стержнем пропорционально объему поступающей воды.
Разбор воды завершается при снятии нагрузки с нажимного рычага. В этом случае напорный клапан закрывается, тем самым прекращается поступление воды, и давление в полостях 3 или 4 падает. При завершении подачи воды из напорного питающего водовода за счет действия упругих сил эластичных элементов соответственно уменьшается объем полости 3 или 4. В результате остаточная вода полностью удалена из полости 3 или 4.
Учитывая начальную величину полости 3 или 4 (подбирается минимальной, например величина зазора, образуемого между внешней стенкой эластичного стержня и внутренней стенкой подающей трубы, может быть 0-1 мм) и гидрофобные свойства материала (силиконовой резины), образуется минимальный объем остаточной воды. Испытания устройства показали, что появившаяся тонкая пленка льда (или ее фрагменты) легко разрушается и удаляется при подаче новой порции воды. Разрушению пленки льда способствует изменение диаметра или объема эластичного элемента (растяжение-сжатие) при подаче водопроводной воды из напорного питающего водовода.
Для улучшения вытеснения остаточной воды, в случае потери эластичности элементов, например при низких температурах, может дополнительно использоваться давление воздуха или незамерзающей жидкости.
Предложенный способ может быть осуществлен с использованием известных современных технологий, не требующих использования дорогостоящих, дефицитных материалов.
В целом предложенное техническое решение позволяет обеспечить улучшение удаления остаточной воды после отключения напорного питающего водовода (водопроводной сети).
Формула изобретения
1. Способ удаления воды из подающей трубы водоразборной колонки, заключающийся в размещении во внутреннем объеме динамического элемента, формировании необходимого проходного сечения для подачи воды по трубе путем изменения динамического элемента, а при отключении потока на излив остаточную воду из трубы удаляют, отличающийся тем, что динамический элемент размещают во внутреннем объеме трубы, необходимое проходное отверстие для подачи воды формируют путем изменения диаметра или объема динамического элемента, а остаточную воду из трубы удаляют по направлению ее подачи, уменьшая проходное сечение путем ввода незамерзающей жидкости или газа во внутреннее пространство, при этом вводят жидкость или газ при отключении потока через жесткую трубку, а заполнение начинают со стороны, противоположной сливу.
2. Способ по п.1, отличающийся тем, что в качестве динамического элемента используют эластичный рукав.
3. Способ по п.1, отличающийся тем, что в качестве динамического элемента используют эластичный стержень, при этом вводят незамерзающую жидкость или газ во внутреннее пространство, образованное внутренней осевой полостью эластичного стержня.
4. Способ по п.1, отличающийся тем, что в качестве динамического элемента используют герметичную камеру.
5. Способ по п.1, отличающийся тем, что вводят жидкость или газ при отключении потока через жесткую трубку, расположенную во внутреннем пространстве осевой полости динамического элемента, при этом обеспечивают отсутствие зазора между стенками трубки и стенками полости.
РИСУНКИ
|