|
|
(21), (22) Заявка: 2009111553/11, 31.03.2009
(24) Дата начала отсчета срока действия патента:
31.03.2009
(46) Опубликовано: 10.06.2010
(56) Список документов, цитированных в отчете о поиске:
RU 2083755 C1, 10.07.1997. CA 2523289 A1, 26.03.2007. SU 1759990 A1, 07.09.1992. RU 2246579 C1, 20.02.2005.
Адрес для переписки:
129327, Москва, а/я 64, Н.А. Туленинову
|
(72) Автор(ы):
Белоцерковский Григорий Михайлович (RU), Карякин Сергей Борисович (RU)
(73) Патентообладатель(и):
Общество с ограниченной ответственностью “Экомтех-Трейдинг” (RU)
|
(54) РАСПРЕДЕЛИТЕЛЬ СЫПУЧИХ ПРОТИВОГОЛОЛЕДНЫХ МАТЕРИАЛОВ
(57) Реферат:
Изобретение относится к машинам для нанесения сыпучих материалов, таких как песок, соль, химические реагенты, на дорожное покрытие. Распределитель содержит бункер (2) с задней стенкой (3), в которой выполнено разгрузочное отверстие (4). В бункере размещен конвейер, имеющий гибкую бесконечную ленту (12). За разгрузочным отверстием установлена с возможностью поворота в вертикальной плоскости от регулировочного механизма (17) заслонка (14), которая имеет лобовой элемент (15). Лобовой элемент выполнен из гибкого материала и наклонен к ленте конвейера под острым углом ( ) с вершиной, обращенной в сторону, противоположную задней стенке бункера. Высота зазора устанавливается точно по шкале (26) при помощи регулировочного механизма. Обеспечивается высокая надежность работы, равномерная подача и точное регулирование количества противогололедных материалов. 3 з.п. ф-лы, 8 ил.
Изобретение относится к машинам для нанесения сыпучих материалов, таких как песок, соль, химические реагенты и пр. на дорожное покрытие с целью предотвращения образования на них гололеда или других видов зимней скользкости.
Известен распределитель сыпучих противогололедных материалов, содержащий транспортное средство с установленным на нем бункером, который имеет заднюю стенку с разгрузочным окном, конвейер, установленный в бункере, заслонку, размещенную с возможностью вертикального перемещения (SU 1188233, 05.01.83).
Недостатками известного устройства являются низкая надежность работы и перегрузки механизма привода конвейера при заклинивании между конвейером и заслонкой твердых включений, находящихся в противогололедных материалах.
Прототипом изобретения является распределитель сыпучих противогололедных материалов, содержащий транспортное средство с установленным на нем бункером, который имеет заднюю стенку с разгрузочным окном, конвейер со скребками, закрепленными на приводных цепях, установленный в бункере и имеющий боковые части и концевую часть, которая расположена вне бункера за разгрузочным окном, смонтированную над концевой частью конвейера заслонку с лобовым элементом, который имеет нижнюю кромку и обращен в сторону разгрузочного окна бункера, при этом заслонка установлена с возможностью изменения расстояния между конвейером и нижней кромкой лобового элемента за счет поворота в вертикальной плоскости посредством регулировочного механизма, который закреплен на конвейере (RU 2083755, 09.02.95).
В этом техническом решении имеется множество элементов регулировочного механизма, его элементы работают в тяжелых условиях коррозии, что существенно снижает надежность работы механизма и распределителя, особенно при заклинивании твердых включений между лобовым элементом заслонки и конвейером. Противогололедные материалы, взаимодействующие с конструктивными элементами устройства прототипа в реальных условиях работы распределителя, приводят к коррозии элементов регулировочного механизма и рычажно-пружинного механизма для предотвращения поломки конвейера при заклинивании твердых включений. Возврат заслонки пружиной в начальное положение после пропуска твердых включений затруднен, чему препятствует находящийся на конвейере слой противогололедных материалов. Отсутствие указателя высоты нижней кромки лобового элемента заслонки над конвейером и соответствующей шкалы с делениями не позволяет точно устанавливать требуемые значения этого параметра, что влияет на плотность распределения противогололедных материалов. Известно, что скребки подают противогололедные материалы на разбрасывающий диск неравномерно, что приводит к неравномерному их распределению на дороге.
Техническим результатом изобретения является повышение надежности работы распределителя и равномерности распределения противогололедных материалов на дороге. Другим результатом является упрощение конструкции распределителя.
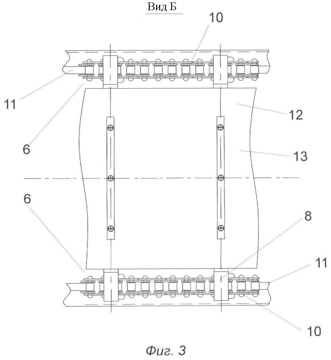
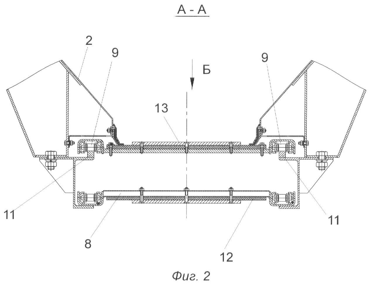
Указанные технические результаты получены распределителем сыпучих противогололедных материалов, который содержит транспортное средство с установленным на нем бункером, который имеет заднюю стенку с разгрузочным окном, конвейер со скребками, закрепленными на приводных цепях, установленный в бункере и имеющий боковые части и концевую часть, которая расположена вне бункера за разгрузочным окном, смонтированную над концевой частью конвейера заслонку с лобовым элементом, который имеет нижнюю кромку и обращен в сторону разгрузочного окна бункера, при этом заслонка установлена с возможностью изменения расстояния между конвейером и нижней кромкой лобового элемента за счет поворота в вертикальной плоскости посредством регулировочного механизма, который закреплен на конвейере, при этом распределитель снабжен бесконечной гибкой лентой, соединенной со скребками конвейера и размещенной между цепями, которые смещены к боковым частям конвейера в обе стороны относительно его продольной оси, и направляющими для цепей верхней ветви конвейера, прикрепленными к бункеру, при этом бункер выполнен бездонным с проемом, расположенным над поверхностью ленты верхней ветви конвейера, а лобовой элемент заслонки наклонен к поверхности ленты конвейера под острым углом с вершиной, обращенной в сторону, противоположную задней стенке бункера.
Лобовой элемент заслонки может быть выполнен из гибкого материала. Регулировочный механизм включает в себя тягу, шарнирно присоединенную одним концом к заслонке через рычаг, а другим концом с толкателем, который помещен во втулку, установленную на концевой части конвейера, и имеет внешнюю резьбу для взаимодействия с гайкой, которая зафиксирована во втулке от перемещения по указанной резьбе.
Распределитель может быть снабжен шкалой, которая закреплена на концевой части конвейера и имеет деления, отражающие расстояния между поверхностью ленты конвейера и нижней кромкой лобового элемента, и указателем, установленным на толкателе напротив шкалы.
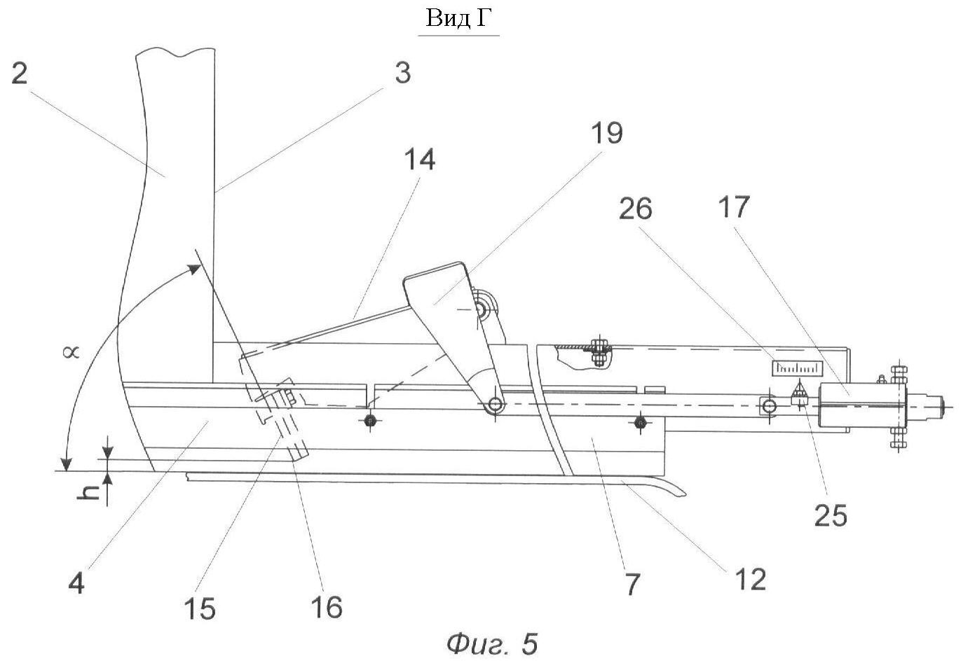
На фиг.1 показан распределитель противогололедных материалов, вид сбоку; на фиг.2 – разрез А-А на фиг.1; на фиг.3 – вид Б на фиг.2; на фиг.4 – вид В на фиг.1; на фиг.5 – вид Г на фиг.4; на фиг.6 – разрез Е-Е на фиг.4; на фиг.7 – разрез Д-Д на фиг.4 в положении твердого включения противогололедного материала до соприкосновения с лобовым элементом; на фиг.8 – разрез Д-Д на фиг.4 в положении твердого включения противогололедного материала после соприкосновения с лобовым элементом в процессе его прохождения в зазоре между нижней кромкой лобового элемента и лентой конвейера.
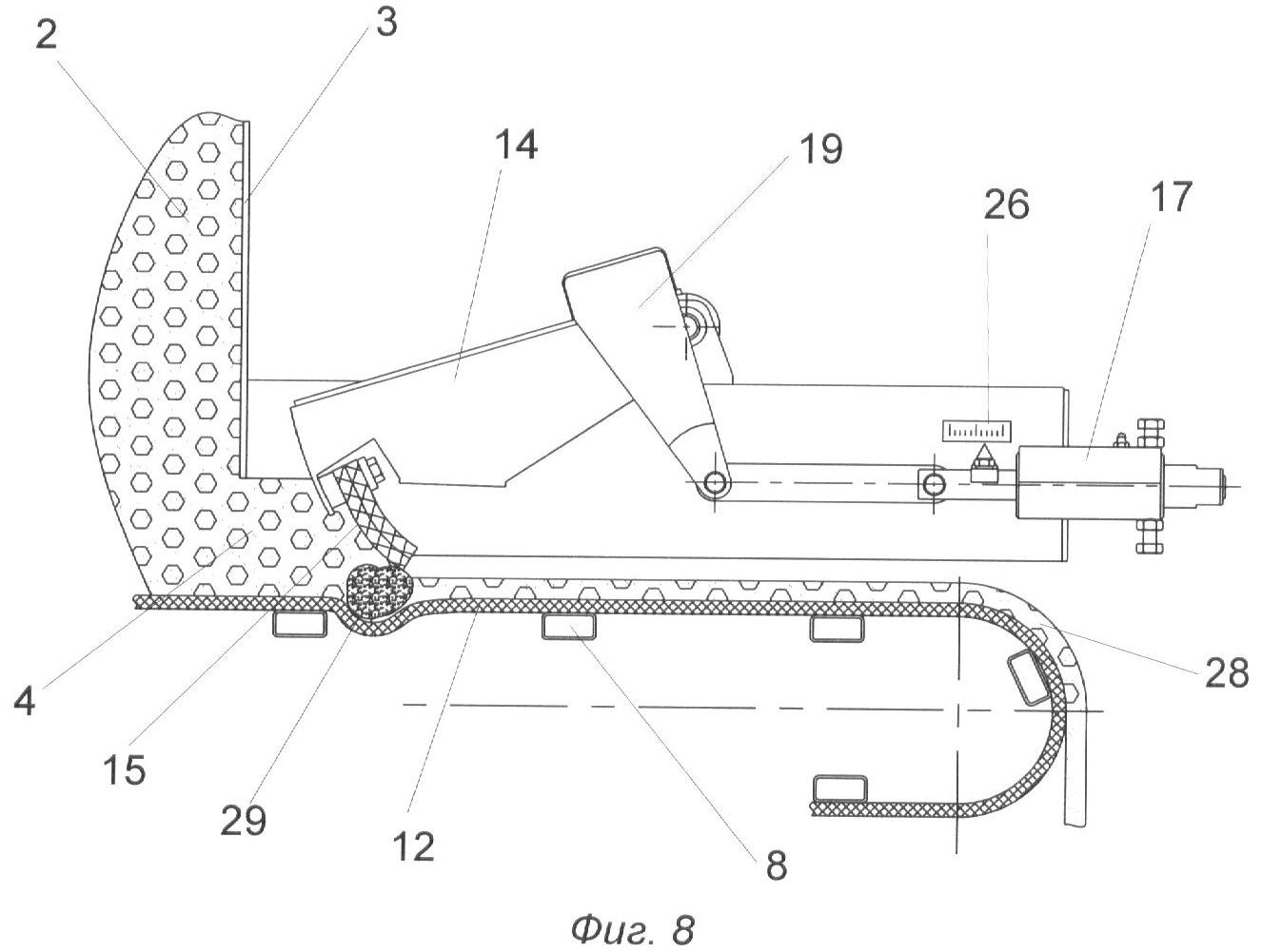
Распределитель сыпучих противогололедных реагентов содержит транспортное средство 1, на котором установлен бункер 2. Бункер 2 имеет заднюю стенку 3, в которой образовано разгрузочное окно 4. Внутри бункера 2 расположен конвейер 5, имеющий боковые части 6 относительно продольной оси конвейера (фиг.3), и концевую часть 7, размещенную за задней стенкой 3 бункера 2. Конвейер 5 выполнен цепным со скребками 8, которые связаны со звеньями 9 цепей 10 по обе стороны конвейера 5. Цепи 10 верхней ветви конвейера 5 опираются на направляющие 11, которые жестко прикреплены к бункеру 2 в нижней его части. Между цепями 10, которые смещены к боковым частям 6 конвейера 5, на скребках 8 сверху закреплена бесконечная гибкая лента 12. Бункер 2 выполнен бездонным, открытый проем которого расположен над лентой 12 верхней ветви конвейера 5 (фиг.2). Крепление ленты 12 к скребкам 8 может быть также снизу скребков 8 (не показано). Сверху ленты 12 установлены планки 13 для крепления, исполняющие также функцию дозирующих скребков, имеющих малую высоту (не более 10 мм). Над концевой частью 7 конвейера 5 шарнирно смонтирована заслонка 14, которая имеет лобовой элемент 15, обращенный в сторону разгрузочного окна 4. Лобовой элемент 15 заслонки 14 выполнен из гибкого материала, например конвейерной резины. Лобовой элемент 15 наклонен к поверхности ленты 12 конвейера 5 под острым углом (фиг.5) с вершиной, которая обращена в сторону, противоположную задней стенке 3 конвейера 5. На лобовом элементе 15 имеется нижняя кромка 16 (фиг.5), расстояние от которой до поверхности конвейера 5 можно изменять поворотом заслонки 14 в вертикальной плоскости регулировочным механизмом 17. Регулировочный механизм 17 включает в себя тягу 18, которая присоединена одним своим концом к заслонке 14 через рычаг 19. На другом конце тяга 18 связана с толкателем 20, помещенным во втулку 21 и имеющим внешнюю резьбу 22, на которую навинчена гайка 23, зафиксированная от продольных перемещений во втулке 21 при помощи фиксаторов 24. Втулка 21 жестко присоединена к концевой части 7 конвейера 5. На толкателе 20 установлен указатель 25 высоты нижней кромки 16 лобовой поверхности 15 заслонки 14 относительно конвейера 5. На концевой части 7 конвейера 5 расположена шкала 26 с нанесенными на нее градуированными делениями, отражающими расстояния между поверхностью ленты 12 конвейера 5 и нижней кромкой 16 лобового элемента 15. Указатель 25 установлен напротив шкалы 26. За концевой частью 7 конвейера 5 на транспортном средстве 1 установлен приводной разбрасывающий диск 27, который распределяет противогололедные реагенты 28 на дорожную поверхность.
Распределитель сыпучих противогололедных материалов работает следующим образом. Перед началом обработки дорожной поверхности противогололедными материалами устанавливают необходимый зазор между нижней кромкой 16 лобового элемента 15 заслонки 14 над поверхностью ленты 12 конвейера 5. Для этого используют регулировочный механизм 17 следующим образом. Поворачивают гайку 23, что приводит к перемещению толкателя 20 по резьбе 22. Перемещающийся толкатель 20 воздействует на тягу 18, которая через рычаг 19 заставляет заслонку 14 поворачиваться в вертикальной плоскости. Совмещая указатель 25 с необходимыми делениями шкалы 26, устанавливают требуемую высоту зазора h (фиг.5), определяемого как расстояние от нижней кромки 16 лобового элемента 15 до поверхности ленты 12 конвейера 5, с высокой точностью. Это, в свою очередь, обусловливает высокую точность дозирования противогололедных реагентов и не приводит к их перерасходу. Это, в свою очередь, благоприятно сказывается на состоянии окружающей среды за счет уменьшения вредного воздействия на нее противогололедных материалов, в то числе химических реагентов. Противогололедные материалы 28 размещаются в бункере 2 и опираются на ленту 12 конвейера 5. Прочность самой ленты 12 и необходимая жесткость скребков 8 обеспечивают надежное удержание столба противогололедных материалов 28 на конвейере 5.
Транспортное средство 1 начинает движение по обрабатываемой дорожной поверхности одновременно включают привод конвейера 5 (не показан) и разбрасывающего диска 27 (не показан). Цепи 10 перемещаются по направляющим 11 и приводят в движение ленту 12 конвейера 5. Выходящие из разгрузочного окна 4 противогололедные материалы достигают лобового элемента 15 заслонки 14 и проникают в зазор между нижней кромкой 16 лобового элемента 15 и лентой 12 конвейера 5. Высота слоя противогололедных материалов 28 соответствует высоте указанного зазора. Подача противогололедных материалов 28 на ленте 12 происходит равномерно. Далее противогололедные материалы 28 свободно падают с конвейера 5 на вращающийся разбрасывающий диск 27 и распределяются по обрабатываемой дорожной поверхности. Известно, что противогололедные материалы могут иметь крупногабаритные твердые включения 29, которые, как и основная масса, попадают на конвейер 5 и перемещаются им к заслонке 14 (фиг.7). При попадании таких включений 29, незначительно превышающих по высоте величину зазора h под нижнюю кромку 16 лобового элемента 15 происходит силовое взаимодействие между нижней кромкой 16, твердым включением 29 и лентой 12 конвейера 5. За счет гибкости лобовой элемент 15 отгибается по ходу движения ленты 12 конвейера 5 и затягивает под себя твердое включение 29 (фиг.8). Если гибкости лобового элемента 15 не достаточна для пропуска твердого включения 29 из-за его больших размеров, происходит упругое деформирование ленты 12 конвейера 5 за счет гибкости материала, из которого лента 12 выполнена, и отсутствия под ней опорной поверхности. При этом в увеличивающийся зазор h твердое включение 29 проходит достаточно свободно. Это исключает заклинивание ленты 12 конвейера 5, перегрузки его привода и поломки.
Описываемое устройство имеет более простую конструкцию, обеспечивающую повышение надежности его работы с сыпучими противогололедными материалами, равномерность подачи материала и точность его дозирования.
Формула изобретения
1. Распределитель сыпучих противогололедных материалов, содержащий транспортное средство с установленным на нем бункером, который имеет заднюю стенку с разгрузочным окном, конвейер со скребками, закрепленными на приводных цепях, установленный в бункере и имеющий боковые части и концевую часть, которая расположена вне бункера за разгрузочным окном, смонтированную над концевой частью конвейера заслонку с лобовым элементом, который имеет нижнюю кромку и обращен в сторону разгрузочного окна бункера, при этом заслонка установлена с возможностью изменения расстояния между конвейером и нижней кромкой лобового элемента за счет поворота в вертикальной плоскости посредством регулировочного механизма, который закреплен на конвейере, отличающийся тем, что он снабжен бесконечной гибкой лентой, соединенной со скребками конвейера и размещенной между цепями, которые смещены к боковым частям конвейера в обе стороны относительно его продольной оси, и направляющими для цепей верхней ветви конвейера, прикрепленными к бункеру, при этом бункер выполнен бездонным с проемом, расположенным над поверхностью ленты верхней ветви конвейера, а лобовой элемент заслонки наклонен к поверхности ленты конвейера под острым углом с вершиной, обращенной в сторону, противоположную задней стенке бункера.
2. Распределитель по п.1, отличающийся тем, что лобовая поверхность заслонки выполнена из гибкого материала.
3. Распределитель по п.1, отличающийся тем, что регулировочный механизм включает в себя тягу, шарнирно присоединенную одним концом к заслонке через рычаг, а другим концом с толкателем, который помещен во втулку, установленную на концевой части конвейера, и имеет внешнюю резьбу для взаимодействия с гайкой, которая зафиксирована во втулке от перемещения по указанной резьбе.
4. Распределитель по любому из пп.1-3, отличающийся тем, что он снабжен шкалой, которая закреплена на концевой части конвейера и имеет деления, отражающие расстояния между поверхностью ленты конвейера и нижней кромкой лобового элемента, и указателем, установленным на толкателе напротив шкалы.
РИСУНКИ
|
|