|
|
(21), (22) Заявка: 2007123583/15, 27.10.2005
(24) Дата начала отсчета срока действия патента:
27.10.2005
(30) Конвенционный приоритет:
23.11.2004 DE 102004056564.3
(43) Дата публикации заявки: 27.12.2008
(46) Опубликовано: 10.06.2010
(56) Список документов, цитированных в отчете о поиске:
SU 1810212 A1, 23.04.1993. SU 1784628 A1, 30.12.1992. RU 6394 U1, 16.04.1998. DE 19545736 A1, 12.06.1997. US 3912091 A, 14.10.1975. JP 59-122581 A, 16.07.1984.
(85) Дата перевода заявки PCT на национальную фазу:
25.06.2007
(86) Заявка PCT:
EP 2005/011493 20051027
(87) Публикация PCT:
WO 2006/056286 20060601
Адрес для переписки:
129090, Москва, ул. Б.Спасская, 25, стр.3, ООО “Юридическая фирма Городисский и Партнеры”, пат.пов. С.А.Дорофееву
|
(72) Автор(ы):
ШЮККЕР Франц-Йозеф (DE)
(73) Патентообладатель(и):
УДЕ ГМБХ (DE)
|
(54) УСТРОЙСТВО И СПОСОБ ДЛЯ ГОРИЗОНТАЛЬНОГО ИЗГОТОВЛЕНИЯ ТРАМБОВАННЫХ УГОЛЬНЫХ БРИКЕТОВ
(57) Реферат:
Изобретение может быть использовано в коксохимической промышленности. Гидравлическое прессовальное устройство состоит из гидравлического пуансона и пресс-формы. Пресс-форма выполнена в виде тележки 1, которая состоит из днища 2 и извлекаемого поддона 3 для брикета. Поддон 3 содержит расположенную впереди в направлении движения упорную стенку 4 и расположенные под днищем 2 колеса 5. Над тележкой 1 расположен качающийся желоб 6, который наполнен угольной шихтой 7. Гидравлический цилиндр 8 закреплен на устройстве 9 крепления, которое проходит параллельно качающемуся желобу 6. Гидравлические цилиндры 8 закреплены стационарно и выполнены с возможностью перемещения головной части в горизонтальном направлении и спрессовывания при прямолинейном движении поступающего из качающегося желоба 6 угольного материала 7. Изобретение позволяет улучшить качество прессования. 4 н. и 18 з.п. ф-лы, 2 ил.
Изобретение касается устройства и способа для горизонтального изготовления угольного брикета с целью коксования угольного брикета в печной камере коксовой печи, причем используются стационарные прессовочные инструменты, которые работают по горизонтали и с узкоограниченной длиной хода.
Из уровня техники давно известны устройства и способы для трамбования угольного брикета, причем как пример могут быть упомянуты документы DE 557178 и DE 3145344. Согласно уровню техники трамбованный угольный брикет изготовляется так, что он растет вертикально вверх вплоть до полной высоты.
Документ DE 19807484 описывает для этого способ трамбовки. При этом трамбовочные стержни приподнимаются над рыхлой угольной шихтой посредством линейных двигателей и свободно падают на шихту. Похожий способ описывается также в документе DE 3533071 или DE 3910214. Следовательно, это трамбовочное устройство должно быть построено так, чтобы стержни подходили для того, чтобы равным образом интенсивно и равномерно трамбовать как еще очень плоский трамбованный угольный брикет, так и почти готовый трамбованный брикет в уже полностью наполненной рабочей камере.
Как правило, трамбованные брикеты и, таким образом, также рабочие камеры, в которых они производятся в технических коксовых установках, имеют высоту от 4 м до 7 м, что имеет тот недостаток, что для трамбовочных стержней должно предусматриваться соответствующее дополнительное пространство над рабочими камерами. Далее, над этими рабочими камерами должны быть расположены загрузочные устройства, и вся угольная шихта должна помещаться на уровень над рабочими камерами, прежде чем она сможет загружаться в рабочие камеры.
Далее, из уровня техники известно, что трамбовочные стержни и, прежде всего, подошвы трамбовочных стержней мешают загрузке угольной шихты. При этом в документе DE 3145344 предлагается выполнять подошвы трамбовочных стержней так, что эти подошвы должны быть откидными, причем недостатком является необходимость оборудовать высоконагруженные подошвы трамбовочных стержней подвижными элементами. В этом более раннем документе указывается высота трамбовочных стержней от 4 м до 6 м.
Для изготовления низких и, значит, плоско лежащих трамбованных угольных брикетов, которые, как правило, используются для так называемых коксовых нерекуперационных печей (non-recovery-coke ovens), документ DE 19803455 предлагает трамбовать брикет в известной вертикальной пресс-форме и выполнять эту пресс-форму как часть опрокидывающего приспособления, чтобы иметь возможность приводить брикет после его изготовления в горизонтальное положение. Это устройство технически очень затратно.
Документ US 3912091 представляет устройство, в котором изготовляется горизонтальный трамбованный брикет. При этом во время процесса заполнения уголь в камере разравнивается вертикально сверху и одновременно также в камере уплотняется. К эксплуатации дорогостоящего транспортного устройства и устройства уплотнения в горячей печной камере предъявляются высокие технические требования, так как требуется дорогостоящее водяное охлаждение для транспортера. В частности, нужно критически рассматривать вибрации из-за устройства уплотнения, так как таким образом могут вызываться повреждения в кладке. Далее, непредпочтительно, что планировочные инструменты должны выполняться мобильными, чтобы они могли двигаться по трамбуемому брикету.
В документе DE 19545736 также представлено изготовление горизонтального угольного брикета, причем угольная шихта загружается вне печи в так называемую отсадочную машину и затем уплотняется. Габаритные размеры готового угольного брикета указываются в документе DE 19545736 предпочтительно высотой 0,6 м, шириной 3-5 м и длиной 10-20 м. Способ уплотнения этого горизонтального угольного брикета в документе не приводится.
Задачей изобретения является, таким образом, устранить этот недостаток в уровне техники и предоставить прессовальное устройство для угля и способ, который за счет более компактного конструктивного выполнения устройства является более экономичным и обеспечивает такие же или лучшие качества прессования, что и известные трамбовочное устройство, и способ трамбовки.
Изобретение решает задачу за счет того, что для изготовления используемого в коксовой печи уплотненного угольного брикета из сыпучего угольного материала применяется гидравлическое прессовальное устройство, которое содержит, по меньшей мере, один гидравлический пуансон, одну пресс-форму, один вложенный в дно пресс-формы и извлекаемый поддон для брикета и один расположенный над пресс-формой качающийся желоб, и которое отличается тем, что пресс-форма образуется из тележки или салазок, которые имеют стенки, днище и упорную стенку, над которыми поперек их направления движения расположен качающийся желоб; гидравлический пуансон состоит из гидравлических цилиндров и головной части цилиндров, причем гидравлические цилиндры, которые закреплены стационарно, перемещают головную часть цилиндров в горизонтальном направлении и при прямолинейном движении прессуют поступающий из качающегося желоба угольный материал посредством головной части цилиндров поперек качающегося желоба и под ним насквозь к упорной стенке и насквозь под плоским кожухом брикета, причем тележка тормозится с усилием, противоположным направлению прямолинейного движения гидравлических цилиндров, и кожух брикета, который примыкает непосредственно к качающемуся желобу, причем головная часть цилиндров и качающийся желоб ориентированы параллельно.
Предпочтительный вариант выполнения состоит в том, что головная часть цилиндров образована из вертикальной нажимной плиты и горизонтальной запорной плиты, причем головная часть цилиндров не суживает выпуск качающегося желоба в состоянии покоя, которое представляет собой первое конечное положение, а при прямолинейном движении запорная плита головной части цилиндров частично закрывает выпуск качающегося желоба, и при максимальном ходе, во втором конечном положении полностью запирает выпуск качающегося желоба.
В другом предпочтительном варианте выполнения устройства согласно изобретению головная часть цилиндров разделена поперек к направлению прямолинейного движения, по меньшей мере, на две части.
Предпочтительным является также вариант устройства согласно изобретению, при котором кожух брикета только частично покрывает пресс-форму в направлении трамбовки угольного брикета, может переставляться по высоте и он может приподниматься, в частности, для извлечения угольного брикета. При этом предпочтительно, если кожух брикета и соответственно его подвесная опора выполнены так, что может изменяться давление прижима на угольный брикет.
В оптимизированной далее форме выполнения плита кожуха брикета разделена на сегменты в направлении прямолинейного движения гидравлических цилиндров, так что давление прижима на отдельные сегменты может изменяться независимо друг от друга.
Оптимизированный вариант устройства предусматривает осуществлять усилие торможения сформированной в виде тележки или салазок пресс-формы так, чтобы оно могло изменяться. Таким образом можно изменяемым по горизонтали и вертикали усилием прессования реагировать на разные качества угольной шихты и обеспечивать оптимальное формообразование угольного брикета.
Идеально, если гидравлические цилиндры, качающийся желоб и плита кожуха брикета расположены параллельно узкой стороне тележки, так что размеры этих компонентов устройства могут быть значительно снижены.
Далее, изобретение относится также к устройству, в котором в качестве пресс-формы используется плоская ванна. При этом в ванне расположена передвижная упорная стенка, над которой и параллельно которой расположен качающийся желоб, а также гидравлические цилиндры, которые укреплены стационарно и перемещают головную часть цилиндров в горизонтальном направлении, при прямолинейном движении спрессовывают поступающий из качающегося желоба угольный материал посредством головной части цилиндров поперек качающегося желоба и под ним насквозь к упорной стенке и под плоским кожухом брикета насквозь, причем упорная стенка тормозится с усилием, противоположным направлению прямолинейного движения гидравлических цилиндров, и кожух брикета, который примыкает непосредственно к качающемуся желобу, а также головная часть цилиндров и качающийся желоб ориентированы параллельно.
В улучшенной форме выполнения этого оборудованного ванной устройства головная часть цилиндров образована из вертикальной нажимной плиты и горизонтальной запорной плиты, причем головная часть цилиндров не суживает выпуск качающегося желоба в положении покоя, которое представляет собой первое конечное положение, а при прямолинейном движении запорная плита головной части цилиндров прогрессивно частично закрывает выпуск качающегося желоба и при максимальном ходе, во втором конечном положении полностью запирает выпуск качающегося желоба.
В оптимизированном варианте соответствующего изобретению устройства усилие торможения упорной стенки может изменяться.
Является предпочтительным подразделять головную часть цилиндров поперек к направлению прямолинейного движения, по меньшей мере, на две части.
Следующий предпочтительный вариант выполнения соответствующего изобретению устройства предусматривает, чтобы кожух брикета только частично покрывал ванну в направлении трамбовки угольного брикета. При этом устройство может улучшаться далее в том отношении, что кожух брикета может переставляться по высоте, и он может приподниматься, в частности, для извлечения угольного брикета. При этом предпочтительно, если давление прижима плиты кожуха брикета на угольный брикет может изменяться.
Далее, в улучшенном варианте выполнения предусмотрено, чтобы плита кожуха брикета была разделена на сегменты в направлении прямолинейного движения гидравлических цилиндров, и давление прижима отдельных сегментов могло изменяться независимо друг от друга. В целом, далее предпочтительно располагать гидравлические цилиндры, качающийся желоб и плиту кожуха брикета так, что они расположены параллельно узкой стороне тележки, чтобы выдерживать размеры по возможности более малыми.
Далее, изобретение относится также к способу изготовления угольного брикета, при котором используется одно из вышеупомянутых гидравлических прессовальных устройств, причем пресс-форма может быть сформирована как салазки, тележка или ванна, и который отличается тем, что изготовляемый угольный брикет образуется за счет большого числа горизонтальных процессов прессования, и сыпучий угольный материал спрессовывается до повышенной на 60% плотности. При этом головная часть цилиндров и соответственно нажимная плита в конце головной части цилиндров проходят, по существу, всегда остающийся одинаковым участок пути, так как угольный брикет, по мере того как он образуется, отодвигается пресс-формой и соответственно в пресс-форме назад.
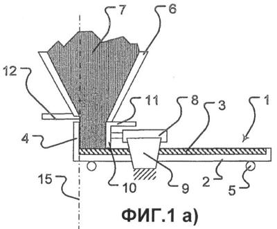
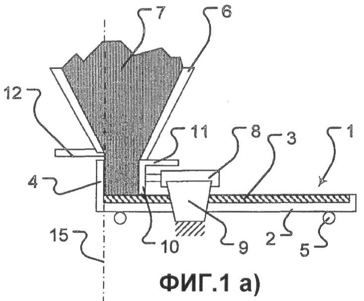
На фиг.1 схематично представлено соответствующее изобретению устройство в качестве примера, причем прессовальное устройство образовано как тележка на фиг.2 прессовальное устройство образовано в виде ванны.
На фиг.1а) можно видеть пресс-форму, конструктивно выполненную в виде тележки 1, которая, по существу, состоит из днища 2, расположенного на нем, и извлекаемого поддона 3 для брикета, который содержит расположенную впереди в направлении движения упорную стенку 4 и расположенные под днищем 2 колеса 5. Над тележкой 1 расположен качающийся желоб 6, который наполнен угольной шихтой 7 и она высыпается в тележку 1 и соответственно на поддон 3 для брикета. Далее на фиг.1а) представлен гидравлический цилиндр 8, который закреплен на устройстве 9 крепления, которое проходит параллельно качающемуся желобу 6 и перекрывает мостом лежащую под ним тележку 1, так что она проходит насквозь под этим мостом устройства 9 крепления гидравлического цилиндра 8.
Головная часть показанного на фиг.1а) гидравлического цилиндра 8 включает в себя, по существу, вертикально стоящую нажимную плиту 10 и связанную с ней и ориентированную по горизонтали запорную плиту 11. Кожух 12 брикета, который на фиг.1а) представлен в приподнятом положении, чтобы упорная стенка 4 могла проходить под ним, расположен над тележкой 1 и проходит по горизонтали к поддону 3 для брикета. Можно видеть, что в области между представленной здесь в заднем исходном положении нажимной плитой 10 гидравлического цилиндра 8, упорной стенкой 10 и ниже качающегося желоба 6 угольная шихта 7 высыпается на поддон 3 для брикета.
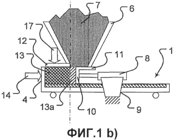
На фиг.1b) гидравлические цилиндры 8 частично выведены в положение, когда запорная плита 11 частично закрывает выпуск качающегося желоба 6. Дальше можно видеть область 13а непосредственно перед нажимной плитой, которая отмечена простой штриховкой, в которой заключена предварительно спрессованная угольная шихта. Уже возникший за счет неоднократного процесса прессования угольный брикет 13 формуется между упорной стенкой 4, кожухом 12 брикета и нажимной плитой 10 гидравлического цилиндра 8. Направление прижимного усилия кожуха 12 брикета обозначается стрелкой 17.
Для создания усилия прессования к упорной стенке 4 тележка 1 должна тормозиться. Направление усилия торможения обозначается стрелкой 14, конкретное тормозное устройство не представлено и может быть сформировано любым известным специалисту способом. Тележка 1 на фиг.1b) уже переместилась из начального положения, которое представлено штрихпунктирной позиционной линией 15, навстречу направлению усилия торможения и в направлении прямолинейного движения гидравлического цилиндра 8.
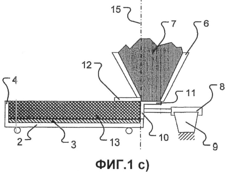
На фиг.1с) представлен полностью изготовленный угольный брикет 13, причем тележка 1 также пришла в конечное положение. Поддон 3 для брикета с угольным брикетом 13 готов к извлечению.
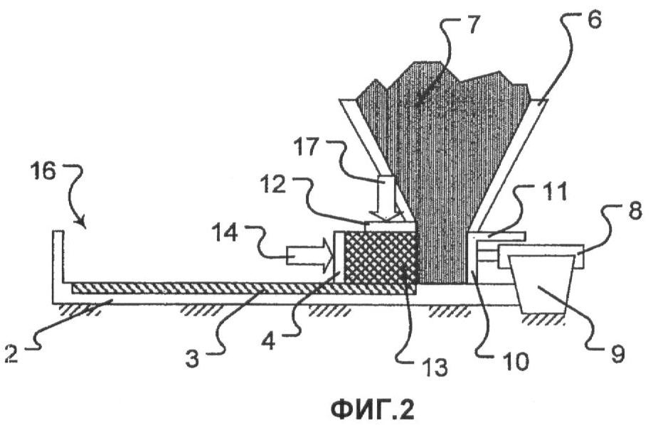
На фиг.2 показано соответствующее изобретению устройство, причем пресс-форма сформирована как ванна 16, и днище 2, по существу, неподвижно. Не жестко связанная с пресс-формой упорная стенка 4 тормозится аналогично вышерассмотренному устройству, так что достигается необходимое давление для изготовления угольного брикета 13. Угольный брикет 13 изготовляется на поддоне 3 для брикета и формуется также между упорной стенкой 4, кожухом 12 брикета и нажимной плитой 10 гидравлического цилиндра 8. Направление прижимного усилия кожуха 12 брикета обозначается стрелкой 17.
ПЕРЕЧЕНЬ ССЫЛОЧНЫХ ОБОЗНАЧЕНИЙ
1 – тележка,
2 – днище,
3 – поддон для брикета,
4 – упорная стенка,
5 – колесо,
6 – качающийся желоб,
7 – угольная шихта,
8 – гидравлические цилиндры,
9 – устройство крепления,
10 – нажимная плита,
11 – запорная плита,
12 – кожух брикета,
13 – угольный брикет,
13а – предварительно спрессованный уголь,
14 – направление усилия торможения,
15 – позиционная линия,
16 – ванна,
17 – упорная стенка (подвижная),
18 – направление прижимного усилия.
Формула изобретения
1. Гидравлическое прессовальное устройство для изготовления уплотненного угольного брикета из сыпучего угольного материала для использования в коксовой печи, состоящее, по меньшей мере, из одного гидравлического пуансона, одной пресс-формы, одного вложенного на днище пресс-формы и извлекаемого поддона для брикета, одного расположенного над пресс-формой качающегося желоба, отличающееся тем, что пресс-форма образована из салазок или тележки, которая имеет стенки, днище и упорную стенку, над которой поперек к направлению ее движения расположен качающийся желоб, гидравлические цилиндры, которые закреплены стационарно и выполнены с возможностью перемещения головной части цилиндров в горизонтальном направлении и спрессовывания при прямолинейном движении поступающего из качающегося желоба угольного материала посредством головной части цилиндров поперек качающегося желоба и под ним насквозь к упорной стенке и насквозь под плоским кожухом брикета, причем предусмотрено торможение тележки с усилием, противоположным направлению прямолинейного движения гидравлических цилиндров, и кожух брикета, который примыкает непосредственно к качающемуся желобу, а также головная часть цилиндров и качающийся желоб ориентированы параллельно.
2. Устройство по п.1, отличающееся тем, что головная часть цилиндров образована из вертикальной нажимной плиты и горизонтальной запорной плиты, причем выпуск качающегося желоба в положении покоя головной части цилиндров, которое представляет собой первое конечное положение, не суживается, а при прямолинейном движении головной части цилиндров запорная плита частично закрывает выпуск качающегося желоба и при максимальном ходе во втором конечном положении полностью запирает выпуск качающегося желоба.
3. Устройство по п.1 или 2, отличающееся тем, что головная часть цилиндров разделена поперек направления прямолинейного движения, по меньшей мере, на две части.
4. Устройство по п.1, отличающееся тем, что кожух брикета только частично покрывает ванну в направлении трамбовки угольного брикета.
5. Устройство по п.1, отличающееся тем, что оно выполнено с возможностью перестановки кожуха брикета по высоте и его приподнимания, в частности, для извлечения угольного брикета.
6. Устройство по п.1, отличающееся тем, что оно выполнено с возможностью изменения усилия торможения тележки.
7. Устройство по п.1, отличающееся тем, что оно выполнено с возможностью изменения давления прижима плиты кожуха брикета.
8. Устройство по п.7, отличающееся тем, что плита кожуха брикета разделена на сегменты в направлении прямолинейного движения гидравлических цилиндров, и давление прижима отдельных сегментов может изменяться независимо друг от друга.
9. Устройство по п.1, отличающееся тем, гидравлические цилиндры, качающийся желоб и плита кожуха брикета расположены параллельно узкой стороне тележки.
10. Гидравлическое прессовальное устройство для изготовления уплотненного угольного брикета из сыпучего угольного материала для использования в коксовой печи, состоящее, по меньшей мере, из одного гидравлического пуансона, одной пресс-формы, одного вложенного на днище пресс-формы и извлекаемого поддона для брикета, одного расположенного над пресс-формой качающегося желоба, отличающееся тем, что пресс-форма образована из плоской ванны, в которой расположена подвижная упорная стенка, причем над пресс-формой параллельно упорной стенке расположен качающийся желоб, гидравлические цилиндры, которые укреплены стационарно и выполнены с возможностью перемещения головной части цилиндров в горизонтальном направлении и спрессовывания при прямолинейном движении поступающего из качающегося желоба угольного материала посредством головной части цилиндров поперек качающегося желоба и под ним насквозь к упорной стенке и насквозь под плоским кожухом брикета, причем предусмотрено торможение тележки с усилием, противоположным направлению прямолинейного движения гидравлических цилиндров, и кожух брикета, который примыкает непосредственно к качающемуся желобу, а также головная часть цилиндров и качающийся желоб ориентированы параллельно.
11. Устройство по п.10, отличающееся тем, что головная часть цилиндров образована из вертикальной нажимной плиты и горизонтальной запорной плиты, причем выпуск качающегося желоба в положении покоя головной части цилиндров, которое представляет собой первое конечное положение, не суживается, а при прямолинейном движении запорная плита головной части цилиндров частично закрывает выпуск качающегося желоба и при максимальном ходе во втором конечном положении полностью запирает выпуск качающегося желоба.
12. Устройство по п.10 или 11, отличающееся тем, что головная часть цилиндров разделена поперек направления прямолинейного движения, по меньшей мере, на две части.
13. Устройство по п.10, отличающееся тем, что кожух брикета только частично покрывает ванну в направлении трамбовки угольного брикета.
14. Устройство по п.10, отличающееся тем, оно выполнено с возможностью перестановки кожуха по высоте и его приподнимания, в частности, для извлечения угольного брикета.
15. Устройство по п.10, отличающееся тем, что оно выполнено с возможностью изменения усилия торможения упорной стенки.
16. Устройство по п.10, отличающееся тем, что оно выполнено с возможностью изменения давления прижима плиты кожуха.
17. Устройство по п.16, отличающееся тем, что плита кожуха брикета разделена на сегменты в направлении прямолинейного движения гидравлических цилиндров, и давление прижима отдельных сегментов может изменяться независимо друг от друга.
18. Устройство по п.10, отличающееся тем, что гидравлические цилиндры, качающийся желоб и плита кожуха брикета расположены параллельно узкой стороне ванны.
19. Способ изготовления угольного брикета за счет многократных горизонтальных процессов прессования, отличающийся тем, что угольный материал спрессовывают до повышенной на 60% плотности, и при этом используют устройство по любому из пп.1-9.
20. Способ изготовления угольного брикета по п.19, отличающийся тем, что гидравлический цилиндр имеет жестко установленный и всегда неизменный горизонтальный ход.
21. Способ изготовления угольного брикета за счет многократных горизонтальных процессов прессования, отличающийся тем, что угольный материал спрессовывают до повышенной до 60% плотности, и при этом используют устройство по любому из пп.10-18.
22. Способ изготовления угольного брикета по п.21, отличающийся тем, что гидравлический цилиндр имеет жестко установленный и всегда неизменный горизонтальный ход.
РИСУНКИ
|
|