|
|
(21), (22) Заявка: 2007144080/15, 10.06.2005
(24) Дата начала отсчета срока действия патента:
10.06.2005
(43) Дата публикации заявки: 20.07.2009
(46) Опубликовано: 10.06.2010
(56) Список документов, цитированных в отчете о поиске:
ЕР 0170332 A1, 05.02.1986. КАСАТКИН А.Г. Основные процессы и аппараты химической технологии. – М.: Химия, 1973, с.33, строки 7-28. SU 1587021 A1, 23.08.1990. SU 1825349 A3, 30.06.1993. US 6602416 B1, 05.08.2003. US 6063273 A, 16.05.2000. US 2003085171 A1, 08.05.2003.
(85) Дата перевода заявки PCT на национальную фазу:
10.01.2008
(86) Заявка PCT:
NL 2005/000423 20050610
(87) Публикация PCT:
WO 2006/132523 20061214
Адрес для переписки:
129090, Москва, ул. Б.Спасская, 25, стр.3, ООО “Юридическая фирма Городисский и Партнеры”, пат.пов. С.А.Дорофееву
|
(72) Автор(ы):
ВЕЛЛИНГА Шурд Хубертус Йозеф (NL), ДЕ БУР Йелле Хендрик (NL), ЙОРНА Антониус Йоханнес (NL), ХАБЕТС Леонард Хубертус Альфонсус (NL)
(73) Патентообладатель(и):
ПАКВЕС Б.В. (NL)
|
(54) УСТРОЙСТВО ДЛЯ АНАЭРОБНОЙ ОЧИСТКИ
(57) Реферат:
Изобретение относится к биологической обработке сточных вод. Сточные воды подают через средство 12 ввода, расположенное в нижней части резервуара 14, в зону перемешивания 2. Выделяемый при ферментации газ собирается в системе 4 для сбора и отделения газа. Очищаемая жидкость по восходящей трубе 5 поднимается в устройство 6, где газ отделяется от жидкости и удаляется через выход 7. За счет гидростатического напора, равного, по меньшей мере, приблизительно 1,4 м водного столба (приблизительно 0,14 бар) в нисходящей трубе 8 на уровне поверхности жидкости 21, обеспечивается газоподъемный эффект в восходящей трубе 5, и жидкость возвращается в нижнюю часть резервуара 14. Очищенная вода удаляется из реактора через сливные желоба 11. Изобретение позволяет улучшить перемешивание и флюидизацию полужидких отходов на дне реактора. 2 н. и 11 з.п. ф-лы, 2 ил.
Настоящее изобретение относится к устройству для анаэробной очистки для очистки текучей среды, предназначенной для очистки, такой как сточные воды. Устройство для анаэробной очистки включает:
– резервуар реактора;
– средство ввода для введения в резервуар текучей среды, предназначенной для очистки, расположенное в нижней части резервуара;
– средство для сбора воды, такое как сливной желоб, для сбора очищенной воды, расположенное в верхней части резервуара и служащее для определения уровня поверхности жидкости в резервуаре реактора;
– по меньшей мере, одну систему для сбора газа для отделения газа от текучей среды, находящейся в реакторе, расположенную ниже уровня средства для сбора воды;
– устройство для отделения газа от жидкости, расположенное на уровне выше средства для сбора воды;
– по меньшей мере, одну восходящую трубу, имеющую разгрузочное отверстие, открывающееся в устройство для отделения, соединенное с, по меньшей мере, одной системой для сбора газа для поднятия текучей среды, находящейся в резервуаре, под действием газоподъемного эффекта, обеспечиваемого газом, собираемым в, по меньшей мере, одной системе для сбора газа;
– нисходящую трубу, имеющую вход, открывающийся в устройство для отделения, и выход, открывающийся в нижнюю часть резервуара для возвращения жидкости, отделенной в устройстве для отделения, в нижнюю часть резервуара.
Подобное устройство описано в ЕР-А-170332. Согласно этой публикации сточные воды, которые содержат органический материал, подвергаются обработке, при которой растворенный органический материал разрушается в анаэробных условиях. Метан, который отделяется от жидкости, получают путем взаимодействия с биомассой, которая содержит метанпродуцирующие микроорганизмы. Вода, подвергнутая обработке, удаляется через переливные желоба. В документе ЕР-А-170332 в качестве отправной точки для данного изобретения на странице 1 строках 21-32 написано следующее: “Было обнаружено, что для достижения степени очистки вплоть до 90% необходимо время пребывания порядка нескольких часов. Возможность поддержания подобной эффективности очистки в течение длительного периода также зависит от эффективности отстаивания осадка. Конкретно необходимо обратить внимание на то, чтобы в среднем из реактора вымывалось не больше осадка, чем образовывалось за определенный период времени. При использовании гидравлического потока высокой интенсивности с низкой ХПК (химическая потребность в кислороде) для текучей среды, предназначенной для очистки, существует значительный риск вымывания осадка из внутреннего отстойного резервуара. В связи с этим важным фактором является гидравлическая нагрузка на единицу площади отстойного резервуара”. На следующей странице ЕР-А-170332 объясняется, что восходящий поток воды и поднимающиеся пузырьки газа могут вызывать интенсивное замутнение хлопьев и частиц биомассы. Они могут попадать в самую верхнюю часть реактора, где расположена система для сбора газа. Таким образом, образующаяся турбулентность может приводить к вымыванию из реактора избыточных количеств биомассы. Это в значительной степени ограничивает нагрузочную способность реактора.
Изобретение согласно ЕР-А-170332 направлено на преодоление только что описанных недостатков и на создание реактора, в котором основная нагрузка, создаваемая газом, не оказывает действия на верхнюю систему для сбора газа. Для достижения данной задачи в этом документе предлагается, по меньшей мере, одна дополнительная система для сбора газа, причем дополнительная система расположена на некотором расстоянии ниже верхней системы для сбора газа. Дополнительная система имеет гидравлический связующий элемент с, по меньшей мере, одной восходящей трубой для подачи жидкости под действием газоподъемного эффекта, этой трубой, обеспечивающей подачу в, по меньшей мере, одно устройство для отделения газа от жидкости. В свете того факта, что газ задерживается на расстоянии значительно ниже уровня жидкости и направляется дальше по трубе, в верхней части реактора может возникать поток, в котором почти отсутствует турбулентность. Это увеличивает нагрузочную способность, в то время как в верхней части реактора получают чистую текучую среду. Важным является то, что жидкость, которая вместе с газом поступает в трубу, отделяется и возвращается в реактор: так как в верхней части реактора поток должен быть почти безвихревым, то необходимо очень хорошее перемешивание полужидких отходов и текучей среды на дне реактора. Для достижения данной цели необходима флюидизация тяжелых полужидких отходов вблизи дна. В предпочтительном варианте осуществления согласно ЕР-А-170332 такая флюидизация в донной части реактора может быть достигнута с помощью энергии, получаемой при поднятии жидкости под действием газоподъемного эффекта в трубе. Поднимаемая жидкость отделяется от газа и под действием гидравлического гравитационного давления возвращается в устройство для отделения по нисходящей трубе в донную часть камеры реактора.
В силу экономических причин все больший интерес привлекает к себе реактор колонного типа максимально возможной высоты. В данном случае увеличивается объем реактора и количество биомассы, в то время как площадь у основания – квадратные метры площади поверхности занимаемой реактором – остается такой же. С другой стороны, при увеличении высоты реактора увеличивается вес столба биомассы. При увеличении веса столба биомассы поддержание хорошего перемешивания и флюидизация вблизи дна реактора затруднены. В некоторых случаях утяжеление смеси биомассы может произойти благодаря осаждению неорганических материалов. И в данном случае также затруднено поддержание хорошей флюидизации.
Решением данной проблемы могло бы быть увеличение гидростатического напора. Однако согласно предшествующему уровню техники и полученному опыту для обеспечения хорошего перемешивания на дне реактора и эффективного функционирования всего реактора при данном уровне поверхности жидкости гидравлический напор в нисходящей трубе должен составлять приблизительно от 0,8 до 1 м водного столба (т.е. приблизительно 0,08-0,1 бар) для компенсирования потери напора, затрачиваемого на равномерное распределение слоя осадка на дне. Слишком низкий гидростатический напор приводит к неоптимальному перемешиванию на дне реактора и/или к ухудшению рабочих характеристик реактора в отношении «процесса, проводимого в реакторе» в целом, в то же время слишком высокий гидростатический напор вызывает очень высокие сдвиговые усилия, прилагаемые к частицам биомассы, и, следовательно, вызывает деструкцию зернистого материала.
На практике, по меньшей мере, 80% гидростатического напора составляет гидравлическое давление, в то время как почти 20% гидростатического напора представляет собой давление газа, нагнетаемое при загрузке в процессе эксплуатации. Однако в конкретных случаях это приводит к затруднениям при флюидизации полужидких отходов на дне реактора и/или к появлению совершенно нерегулярных газовых потоков.
Таким образом, в силу экономических причин является привлекательным создание реактора колонного типа максимально возможной высоты, на практике высота реактора ограничена вследствие только что упомянутых эффектов и идей.
Объектом настоящего изобретения является устройство для анаэробной очистки для очистки текучей среды, предназначенной для очистки, такой как сточные воды, с улучшенной флюидизацией на дне реактора, что также позволяет увеличить высоту реактора.
Согласно изобретению задача достигается посредством устройства для анаэробной очистки для очистки текучей среды, предназначенной для очистки, такой как сточные воды, включающего:
– резервуар реактора;
– средство для введения в резервуар текучей среды, предназначенной для очистки, расположенное в нижней части резервуара;
– средство для сбора воды, такое как сливной желоб, для сбора очищенной воды, расположенное в верхней части резервуара и служащее для определения уровня поверхности жидкости в резервуаре реактора;
– по меньшей мере, одна система для сбора газа для отделения газа от текучей среды, находящейся в реакторе, расположенная ниже уровня средства для сбора воды;
– устройство для отделения газа от жидкости, расположенное на уровне выше средства для сбора воды;
– по меньшей мере, одну восходящую трубу, имеющую разгрузочное отверстие, открывающееся в устройство для отделения, соединенное с, по меньшей мере, одной системой для сбора газа для поднятия текучей среды, находящейся в резервуаре, под действием газоподъемного эффекта, обеспечиваемого газом, собираемым в, по меньшей мере, одной системе для сбора газа;
– нисходящую трубу, имеющую вход, открывающийся в устройство для отделения, и выход, открывающийся в нижнюю часть резервуара для возвращения жидкости, отделенной в устройстве для отделения, в нижнюю часть резервуара;
отличающегося тем, что
устройство для очистки выполнено так, чтобы определять в нисходящей трубе на уровне поверхности жидкости гидростатический напор, по меньшей мере, приблизительно 1,4 м (м означает метра) водного столба (приблизительно 0,14 бар).
В соответствии с этим гидростатический напор определяется как разница давлений на уровне поверхности жидкости в реакторе (уровень которой определяется при помощи средства для сбора воды, такого как сливной желоб), между точкой внутри нисходящей трубы и точкой снаружи нисходящей трубы, но внутри резервуара.
Согласно предпочтительному варианту изобретения гидростатический напор составляет, по меньшей мере, 1,5 м водного столба (приблизительно 0,15 бар), предпочтительно 1,6 м водного столба (0,16 бар).
Согласно следующему предпочтительному варианту изобретения гидростатический напор составляет, по меньшей мере, 1,8-2 м водного столба (приблизительно 0,18-0,2 бар), такое как 2,5-3 м водного столба (0,25-0,3 бар) или более.
Изобретение, так же как и вышеуказанные предпочтительные варианты, описано ниже, так же как некоторые следующие варианты изобретения.
Согласно изобретению были найдены решения для создания большего гидростатического напора без ухудшения рабочих характеристик реактора, как можно было ожидать, а вместо этого произошло их улучшение.
Согласно изобретению реактор может быть выполнен таким образом, чтобы гидростатический напор, обеспечиваемый самим устройством, составлял, по меньшей мере, 1,4 м водного столба, т.е. при эксплуатации гидростатический напор составлял бы, по меньшей мере, 1,4 м водного столба вследствие структурных особенностей устройства. Согласно изобретению существует несколько решений, каждое из которых обладает своими собственными структурными особенностями.
Первое решение заключается в размещении устройства для отделения газа от жидкости на более высокий уровень относительно резервуара реактора для получения большего гидравлического давления. Поднятие столба воды происходит не только вследствие удлинения части восходящей трубы, выступающей над поверхностью жидкости, но и также благодаря движущей силе газа. Это может быть достигнуто, например, увеличением длины трубы, находящейся ниже поверхности воды и/или снижением сопротивления при прохождении по трубе, например, изменением диаметра трубы. Снижение положения места введения газа в трубу создает большую движущую силу для поднятия водного столба к устройству для отделения. Верхний предел давления, создаваемый перемещением объема воды в восходящей трубе, генерирует движущую силу для подачи воды к устройству для отделения газа от воды.
Предпочтительный вариант согласно изобретению отличается тем, что, по меньшей мере, одна восходящая труба (5) имеет верхнюю часть (26), которая определяется как часть восходящей трубы (5), находящаяся выше поверхности жидкости (21), причем верхняя часть имеет длину (Н3), которая составляет, по меньшей мере, 1,2 м, предпочтительно, по меньшей мере, 1,4 м, такую как 1,6-2 м или более.
Другой вариант заключается в эксплуатации при более высоком давлении газа в устройстве для отделения газа от жидкости. Данный другой вариант может достигаться, например, организацией данного процесса разделения газа и жидкости в закрытом сосуде, снабженном устройством для поддержания давления газа при заданном пороговом значении. Этим способом может быть получен дополнительный гидростатический напор от 0,3 до 1,0 м водного столба и при необходимости даже больше. Согласно предпочтительному варианту изобретения указанная пороговая величина составляет, по меньшей мере, приблизительно 0,25 м водного столба (приблизительно 0,025 бар), такое как, по меньшей мере, приблизительно 0,5 м водного столба (приблизительно 0,05 бар). Согласно другому предпочтительному варианту данного изобретения указанная пороговая величина составляет не более приблизительно 1,5 м водного столба, такая как не более 1,2 м водного столба (приблизительно 0,12 бар).
Третий вариант заключается в улучшении потока текучей среды, протекающей через нисходящую трубу. Это может быть достигнуто, например, посредством средств, которые позволяют текучей среде входить в нисходящую трубу непрерывно и беспрепятственно. Согласно этому третьему варианту устройство для отделения воды от жидкости включает сосуд, в котором входное отверстие нисходящей трубы имеет коническую форму по отношению к вертикальной оси и сужается в направлении сверху вниз, причем разгрузочное отверстие, по меньшей мере, одной нисходящей трубы расположено так, чтобы создать тангенциальный поток текучей среды в сосуд вокруг входного отверстия нисходящей трубы конической формы.
Четвертый вариант заключается в объединении одного или более из трех вышеупомянутых вариантов или других возможных вариантов.
Важным фактором влияния является количество газа, полученного в реакторе, которое обеспечивается загрузкой по ХПК и скоростью конверсии по ХПК. Более высокая производительность газа на единицу поверхности реактора (например, выражаемая в м3 газ/м2·ч) приводит к поднятию газа с большей скоростью, тогда как при более низкой производительности газа поднятие газа замедляется и, наконец, может остановиться. При использовании реактора колонного типа большей высоты теоретически будет вырабатываться больше м3 газ/м2·ч будут доступны дополнительные движущие силы для более интенсивного внутреннего циркулирования потока или для поднятия воды к расположенному выше устройству для отделения газа от жидкости. Было обнаружено, что, в противоположность ожиданиям, данной доступной дополнительной движущей силы почти достаточно, чтобы достигать увеличения гидростатического напора, в противоположность превалирующим мнениям, простым изменением размера устройства для анаэробной очистки.
Так как эксплуатация реакторов возможна в очень широком диапазоне объемных скоростей загрузки (ОСЗ), в основном от 5 до 35 кг ХПК/м3, конкретные размеры должны соответствовать наиболее вероятным условиям эксплуатации.
В настоящее время в силу экономических причин часто обеспечивают реакторы более 20 м в высоту, было обнаружено, что внутренняя циркуляция может быть поддержана и даже улучшена путем принятия конкретных мер. Принимая во внимание то, что плотность осадка биомассы выше плотности воды, то, что нисходящая труба также как вход системы распределения приводит к потери давления и что слой осадка имеет определенную устойчивость к флюидизации, было обнаружено, что при «нормальном» давления газа от 20 до 30 см водного столба, столб воды под действием газоподъемного эффекта должен подняться на уровень, по меньшей мере, 1,2 м выше уровня воды в реакторе, предпочтительно от 1,4 до 1,6 м и в некоторых случаях даже выше 2,2 м. Для приведения этого в соответствие со средними загрузками реактора от 15 до 30 кг КОД/м3·д необходимо выбрать такую общую длину восходящей трубы, чтобы верхняя часть восходящей трубы находилась выше поверхности жидкости, т.е. на некотором расстоянии выше средства для сбора, такого как сливной желоб, составляла от, по меньшей мере, 10%, такой как, по меньшей мере, 15% и/или не более 30%, такой как не более 25% от общей длины восходящей трубы. Альтернативно давление газа может быть увеличено до 60 или 70 см водного столба или даже свыше 1,0 м водного столба. Также возможно принятие в сочетании двух мер, например, поднятие водного столба под действием газоподъемного эффекта до 1,6 м и увеличения давления газа до 60 см водного столба для получения общего давления или гидростатического напора 2,2 м водного столба. Принимая во внимание данные измерения, высота реактора может находиться в интервале от 24 до 36 м или даже более.
Согласно предпочтительному варианту изобретения устройство дополнительно включает верхнее средство (10) для сбора газа для сбора и удаления газа из текучей среды, находящееся в резервуаре (14), верхнее средство (10) для сбора газа находится между средством (11) для сбора воды и, по меньшей мере, одной системой для сбора газа (4).
Настоящее изобретение также относится к использованию устройства для анаэробной очистки согласно изобретению.
Настоящее изобретение также относится к способу эксплуатации устройства для анаэробной очистки для очистки текучей среды, предназначенной для очистки, такой как сточные воды, анаэробное устройство для очистки включает:
– резервуар реактора;
– средство для введения в резервуар текучей среды, предназначенной для очистки, расположенное в нижней части резервуара;
– средство для сбора воды, такое как сливной желоб, для сбора очищенной воды, расположенное в верхней части резервуара и служащее для определения уровня поверхности жидкости в резервуаре реактора;
– по меньшей мере, одну систему для сбора газа для отделения газа от текучей среды, находящейся в реакторе, расположенную ниже уровня средства для сбора воды;
– устройство для отделения газа от жидкости, расположенное на уровне выше средства для сбора воды;
– по меньшей мере, одну восходящую трубу, имеющую разгрузочное отверстие, открывающееся в устройство для отделения, соединенное с, по меньшей мере, одной системой для сбора газа для поднятия текучей среды, находящейся в резервуаре, под действием газоподъемного эффекта, обеспечиваемого газом, собираемым в, по меньшей мере, одной системе для сбора газа;
– нисходящую трубу, имеющую вход, открывающийся в устройство для отделения, и выход, открывающийся в нижнюю часть резервуара для возвращения жидкости, отделенной в устройстве для отделения, в нижнюю часть резервуара;
отличающегося тем, что
работу устройства для анаэробной очистки проводят при гидростатическом напоре, по меньшей мере, 1,4 м водного столба (приблизительно 0,14 бар), указанный гидростатический напор превалирует в нисходящей трубе на уровне поверхности жидкости.
Преимущества использования согласно изобретению, так же как способ согласно изобретению и его предпочтительные варианты согласно п.14-17, будут очевидны из предшествующего объяснения, касающегося устройства согласно изобретению.
В последующем настоящее изобретение будет дополнительно пояснено со ссылкой на чертежи.
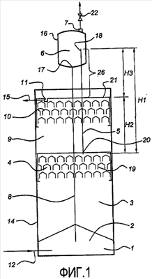
На фиг.1 схематично показано устройство для анаэробной очистки согласно изобретению;
на фиг.2А и 2В схематично показана часть устройства для очистки согласно изобретению для пояснения термина «гидростатический напор».
Устройство для анаэробной очистки, показанное на фиг.1, включает высокий контейнер 14, называемый резервуаром реактора.
В донной части резервуара 14 реактора находится зона 2 перемешивания для введения текучей среды, предназначенной для очистки, через средство 12 ввода. Как известно специалисту в данной области, подобная зона 2 перемешивания может быть создана несколькими способами. Один предпочтительный способ создания зоны перемешивания представляет собой предложение системы впуска согласно WO 92/01637.
В верхней части резервуара реактора расположено средство для сбора воды, представляющее собой сливные желоба или другое установленное устройство, которые подведены к сливной трубе 15 для текучей среды, по которой происходит сброс очищенной текучей среды. Средство для сбора воды определяет уровень поверхности 21 жидкости в резервуаре 14 реактора. В случае средств для сбора воды, таких как сливные желоба 11, данный уровень поверхности 21 жидкости будет определяться порогом водослива желобов 11.
Внутри резервуара 14 реактора размещены два средства 4 и 10 для сбора газа для сбора и удаления поступающего газа. Каждое из средств для сбора газа включает множество насадок 19. Для средства для сбора газа насадки могут быть расположены в одном слое или в нескольких слоях, как, например, в трех слоях, как показано на данной фигуре. Позицией 10, в частности в формуле изобретения, обозначено верхнее средство для сбора газа, и позицией 4 обозначена, в частности в формуле изобретения, по меньшей мере, одна система для сбора газа. На фиг.1 показана только одна система 4 для сбора газа, но внутри корпуса согласно изобретению также может быть расположено две, три или более систем для сбора газа. Если текучая среда на данной высоте резервуара обеднена газом, нет необходимости в соединении средства 10 для сбора газа с восходящей трубой 5 (стояк), и оно вообще может отсутствовать, или его содержимое может сбрасываться отдельно в устройство 6 для отделения газа от жидкости или в другое место.
Реактор снабжен устройством 6 для отделения газа от жидкости. Данное устройство для отделения газа от жидкости включает по существу закрытый сосуд 16, хотя также возможно использование открытого сосуда, см. фиг.2b, имеющий выход 7 для газа для сброса газа, такого как биогаз, выход 17 для жидкости и вход для подачи текучей среды, содержащей газ, и жидкости для отделения. Выход 17 для жидкости представляет собой верхний конец нисходящей трубы 8, или обозначенный иначе выход нисходящей трубы 8. Верхний конец восходящей трубы 5, или обозначенное иначе разгрузочное отверстие 18 трубы 5 является входом для сосуда 16 устройства 6 для разделения. Выход 7 для газа при желании может быть снабжен устройством 22 для поддержания давления газа в сосуде при определенном пороговом значении. Предпочтительно минимальная величина порогового значения будет составлять приблизительно 0,25 м водного столба (0,025 бар). При желании пороговое значение может иметь максимальную величину приблизительно 1,5 м водного столба (приблизительно 0,15 бар).
Восходящая труба 5 имеет нижний конец с входом для впуска текучей среды. Данная текучая среда входит под действием газоподъемного эффекта, обеспечиваемого газом, собранным, по меньшей мере, в одной системе 4 для сбора газа (нижний уровень разделения). Для данной цели насадки 19, по меньшей мере, одной системы 4 для сбора газа соединены с трубой таким образом, что собранный газ обеспечивает газоподъемный эффект в трубе. Все, что касается трубы, известно из уровня техники и может быть претворено в жизнь специалистом, квалифицированным в данной области.
Нисходящая труба 8 проходит от устройства 6 для отделения газа от жидкости до донной части резервуара 14. Под действием силы тяжести жидкость из устройства для отделения, которая в зависимости от расположения биомассы также может содержать биомассу, возвращается на дно резервуара. На дне резервуара данный возвращаемый поток приводит к флюидизации слоя биомассы.
На фиг.2А и 2В схематично показаны два различных варианта осуществления изобретения для объяснения термина “гидростатический напор”, используемого в данной заявке. Для соответствующих частей были сохранены те же позиции для обозначения, что и на фиг.1.
На обеих фиг.2А и 2В схематично представлены два различных варианта согласно изобретению для объяснения термина “гидростатический напор”, используемого в данной заявке.
На обеих фиг.2А и 2В гидростатический напор Ргидр представляет собой разницу давлений в точках А и В. Точка А, имеющая давление РА, находится внутри нисходящей трубы 8 на уровне поверхности 21 жидкости в резервуаре 14. Точка В, имеющая давление РВ, находится вне нисходящей трубы, но внутри реактора на том же самом уровне поверхности жидкости. Давление, создаваемое столбом воды Нв выше точки А, называется РВод. Давление P1 представляет собой давление газа непосредственно над уровнем жидкости в устройстве 6 для отделения газа от жидкости. Р2 представляет собой давление газа непосредственно над уровнем жидкости 21 в резервуаре реактора. Все давления измерялись относительно атмосферного давления.
В варианте согласно фиг.2А устройство 6 для отделения газа от жидкости включает закрытый сосуд 16. В этом закрытом сосуде давление газа P1. Резервуар 14 реактора имеет так называемый открытый верх. Это означает, что верхняя часть сообщается с окружающей средой таким образом, что давление газа Р2 в верхней части реактора приблизительно равно атмосферному давлению; так что приблизительно ноль относительно атмосферного давления. Однако резервуар реактора также может иметь закрытый верх, что обеспечивает давление газа Р2, отличное от атмосферного давления. Здесь приведено уравнение для гидростатического напора:
Ргидр=PA-Рв=Рвод+P1-P2,
где РА и РВ – давления в точках А и В соответственно, указанных на фигурах 2А и 2В.
В варианте согласно фиг.2В устройство 6 для отделения газа от жидкости имеет открытый верх, а резервуар 14 реактора имеет закрытый верх. Кроме того, устройство для отделения газа от жидкости расположено внутри резервуара 14 реактора. Следовательно, давления P1 и Р2 равны.
Здесь приведено уравнение для гидростатического напора:
Ргидр=РА-РВ=Рвод+Р1-Р2=Рвод.
Гидростатический напор согласно фиг.2В такой же, как и для открытого резервуара реактора.
При работе в результате взаимодействия частиц осадка или хлопьев биомассы и водорастворимых веществ, таких как жирные кислоты, происходит ферментация в анаэробных условиях с образованием метана. Для получения равномерного потока без турбулентностей в самой верхней части реактора и для предотвращения вынесения полужидких отходов с потоком текучей среды на значительном расстоянии ниже сливных желобов 11 размещено, по меньшей мере, одно средство 4 для сбора газа. В устройстве 6 для отделения жидкость и газ отделяются друг от друга под действием силы тяжести, и жидкость собирается в донной части устройства для отделения и, как указано в примере, приведенном выше, возвращается в зону 2 перемешивания резервуара реактора через нисходящую трубу 8 для поддерживания перемешивания.
Вследствие того факта, что газ поднимает воду значительно выше уровня текучей среды в резервуаре 14 реактора, столб жидкости в нисходящей трубе 8 вызывает достаточно мощный нисходящий поток в нисходящей трубе 8, что обеспечивает дополнительное перемешивание на дне реактора. Таким образом, наиболее простым способом достигается эффект равновесия в верхней части реактора и тщательного перемешивания под действием турбулентности тяжелого осадка и текучей среды, предназначенной для очистки, на дне реактора.
На фигурах позицией 20 обозначено положение, в котором газ, собираемый дополнительной системой для сбора газа, вводится в трубу, Н2 соответствует расстоянию по вертикали от точки введения газа 20 до уровня воды в средстве 11 для сбора (водосливы для среды/желоба), уровень которых по существу соответствует уровню жидкости 21 в резервуаре. Н3 соответствует расстоянию по вертикали от разгрузочного отверстия 18 восходящей трубы 5 до уровня воды в средстве для сбора. H1 по существу является суммой Н2 и Н3, т.е. Н1=Н2+Н3. Длина Н3 может находиться в интервале от 10 до 30% H1. Разгрузочное отверстие труб(ы) 18 предпочтительно расположено выше уровня текучей среды в устройстве для отделения газа от жидкости и проектируется таким образом, чтобы создать тангенциальный поток в устройстве 6 для отделения газа от жидкости для оптимизации процесса разделения. Входное отверстие нисходящей трубы 8 предпочтительно имеет коническую форму во избежание захватывания газа и устранения возможности образования постоянного нисходящего потока.
Согласно сущности изобретения возможны различные модификации. Воплощения описаны и схематично изображены с использованием только примеров. Все воплощения имеют одну общую особенность, заключающуюся в том, что значительная часть газа, выделяемого при ферментации, собирается до того, как она может достичь самой верхней части реактора, и в результате данного процесса жидкость, продвигаемая вверх под действием газоподъемного эффекта, отделяется от газа, и потенциальная энергия относительно тяжелого столба жидкости используется при рециркулировании потока, обеспечивающего возмущение, необходимое для тщательного перемешивания и флюидизации на дне реактора. Мощность, которая могла рассеиваться в верхней части реактора, теперь используется в его донной части. Нагрузочная способность реактора значительно увеличивается в результате создания равновесия наверху реактора рядом с выходом для воды и турбулентности на дне реактора рядом с входом для воды.
Формула изобретения
1. Устройство для анаэробной очистки для очистки текучей среды, предназначенной для очистки, такой как сточные воды, включающее: резервуар (14) реактора, средство (12) ввода для введения в резервуар (14) текучей среды, предназначенной для очистки, расположенное в нижней части резервуара (14), средство (11) для сбора воды, такое как сливной желоб, для сбора очищенной воды, средство для сбора воды, расположенное в верхней части резервуара (14) и служащее для определения уровня поверхности (21) жидкости в резервуаре (14) реактора, по меньшей мере, одну систему (4) для сбора газа для отделения газа от текучей среды, находящейся в реакторе (14), расположенную ниже уровня средства (11) для сбора воды, устройство (6) для отделения газа от жидкости, расположенное на уровне выше средства (11) для сбора воды, по меньшей мере, одну восходящую трубу (5), имеющую разгрузочное отверстие (18), открывающееся в устройство (6) для отделения, соединенную с, по меньшей мере, одной системой (4) для сбора газа для поднятия текучей среды, находящейся в резервуаре (14), под действием газоподъемного эффекта, обеспечиваемого газом, собираемым в, по меньшей мере, одной системе (4) для сбора газа, причем, по меньшей мере, одна восходящая труба (5) имеет верхнюю часть (26), которая образована как часть восходящей трубы (5), выступающая над поверхностью жидкости (21), причем верхняя часть имеет длину (Н3), которая составляет, по меньшей мере, 1,4 м, нисходящая труба (8), имеющая вход (17), открывающийся в устройство (6) для отделения, и выход, открывающийся в нижнюю часть резервуара (14) для возвращения жидкости, отделенной в устройстве для отделения, в нижнюю часть резервуара, причем устройство для очистки установлено так, чтобы обеспечить в нисходящей трубе (8) на уровне поверхности (21) жидкости гидростатический напор, по меньшей мере, приблизительно 1,4 м водного столба (приблизительно 0,14 бар), как результат действия газоподъемного эффекта в восходящей трубе (5).
2. Устройство для анаэробной очистки по п.1, в котором гидростатический напор составляет, по меньшей мере, приблизительно 1,5 м водного столба (приблизительно 0,15 бар), предпочтительно, по меньшей мере, приблизительно 1,6 м водного столба (0,16 бар).
3. Устройство для анаэробной очистки по п.1, в котором гидростатический напор составляет, по меньшей мере, 1,8-2 м водного столба (приблизительно 0,18-0,2 бар), такой как 2,5-3 м водного столба (0,25-0,3 бар) или более.
4. Устройство для анаэробной очистки по одному из пп.1-3, в котором, по меньшей мере, одна восходящая труба (5) имеет верхнюю часть (26), которая образована как часть восходящей трубы (5), выступающая над поверхностью жидкости (21), причем верхняя часть имеет длину (Н3), которая составляет, по меньшей мере, приблизительно 10%, такую как, по меньшей мере, приблизительно 15% от общей длины (H1), по меньшей мере, одной восходящей трубы (5).
5. Устройство для анаэробной очистки по одному из пп.1-3, в котором, по меньшей мере, одна восходящая труба (5) имеет верхнюю часть (26), которая определяется как часть восходящей трубы (5), выступающая над поверхностью жидкости (21), причем верхняя часть имеет длину (Н3), которая составляет, по меньшей мере, приблизительно 30%, такую как, по меньшей мере, приблизительно 25% от общей длины (H1), по меньшей мере, одной восходящей трубы (5).
6. Устройство для анаэробной очистки по одному из пп.1-3, в котором, по меньшей мере, одна восходящая труба (5) имеет верхнюю часть (26), которая определяется как часть восходящей трубы (5), выступающая над поверхностью (21) жидкости, причем верхняя часть имеет длину (Н3), которая составляет, по меньшей мере, приблизительно, 1,4 м, такую как 1,6-2 м или более.
7. Устройство для анаэробной очистки по одному из пп.1-3, в котором устройство (6) для отделения газа от жидкости включает, по существу, закрытый сосуд (16), снабженный устройством (22) для поддержания давления газа при заданной пороговой величине, составляющей от, по меньшей мере, приблизительно 0,25 м водного столба (приблизительно 0,025 бар) такой как, по меньшей мере, приблизительно 0,5 м водного столба (приблизительно 0,05 бар) до не более приблизительно 1,5 м водного столба (приблизительно 0,15 бар), такой как не более приблизительно 1,2 м водного столба (приблизительно 0,12 бар).
8. Устройство для анаэробной очистки по одному из пп.1-3, которое дополнительно включает верхнее средство (10) для сбора газа для сбора и удаления газа из текучей среды, находящейся в резервуаре (14), причем верхнее средство (10) для сбора газа расположено между средством (11) для сбора воды и, по меньшей мере, одной системой (4) для сбора газа.
9. Способ работы устройства для анаэробной очистки для очистки текучей среды, предназначенной для очистки, такой как сточные воды, причем устройство для анаэробной очистки включает: резервуар (14) реактора, средство (12) ввода для введения в резервуар (14) текучей среды, предназначенной для очистки, расположенное в нижней части резервуара (14), средство (11) для сбора воды, такое как сливной желоб, для сбора очищенной воды, расположенное в верхней части резервуара (14) и служащее для определения уровня поверхности (21) жидкости в резервуаре (14) реактора, по меньшей мере, одну систему (4) для сбора газа для отделения газа от текучей среды, находящейся в реакторе (14), расположенную ниже уровня средства (11) для сбора воды, устройство (6) для отделения газа от жидкости, расположенное на уровне выше средства (11) для сбора воды, по меньшей мере, одну восходящую трубу (5), имеющую разгрузочное отверстие (18), открывающееся в устройство (6) для отделения, соединенную с, по меньшей мере, одной системой (4) для сбора газа для поднятия текучей среды, находящейся в резервуаре (14), под действием газоподъемного эффекта, обеспечиваемого газом, собираемым в, по меньшей мере, одной системе (4) для сбора газа, причем, по меньшей мере, одна восходящая труба (5) имеет верхнюю часть (26), которая образована как часть восходящей трубы (5), выступающая над поверхностью жидкости (21), причем верхняя часть имеет длину (Н3), которая составляет, по меньшей мере, 1,4 м; нисходящую трубу (8), имеющую вход (17), открывающийся в устройство (6) для отделения, и выход, открывающийся в нижнюю часть резервуара (14) для возвращения жидкости, отделенной в устройстве для отделения, в нижнюю часть резервуара, отличающийся тем, что работу устройства для анаэробной очистки проводят так, чтобы в нисходящей трубе (8) на уровне поверхности (21) жидкости устанавливался гидростатический напор, по меньшей мере, приблизительно 1,4 м водного столба (приблизительно 0,14 бар), как результат действия газоподъемного эффекта в восходящей трубе (5).
10. Способ по п.9, в котором гидростатический напор составляет, по меньшей мере, приблизительно 1,5 м водного столба (приблизительно 0,15 бар), предпочтительно, по меньшей мере, приблизительно 1,6 м водного столба (приблизительно 0,16 бар).
11. Способ по п.9, в котором гидростатический напор составляет, по меньшей мере, 1,8-2 м водного столба (0,18-0,2 бар), такой как 2,5-3 м водного столба (0,25-0,3 бар) или более.
12. Способ по одному из пп.9-11, в котором устройство (6) для отделения газа от жидкости включает, по существу, закрытый сосуд (16), причем давление газа в сосуде (16) составляет, по меньшей мере, приблизительно 0,3 м водного столба (приблизительно 0,03 бар), такое как, по меньшей мере, приблизительно 0,5 м водного столба (приблизительно 0,05 бар).
13. Способ по п.12, в котором давление газа в сосуде (16) составляет не более приблизительно 1,5 м водного столба (приблизительно 0,15 бар), такое как, по меньшей мере, приблизительно 1,2 м водного столба (приблизительно 0,12 бар).
РИСУНКИ
|
|