|
|
(21), (22) Заявка: 2007131446/11, 19.01.2006
(24) Дата начала отсчета срока действия патента:
19.01.2006
(30) Конвенционный приоритет:
20.01.2005 DK PA200500104
(43) Дата публикации заявки: 27.02.2009
(46) Опубликовано: 10.06.2010
(56) Список документов, цитированных в отчете о поиске:
WO 2004020305 A1, 11.03.2004. EP 1266843 A1, 18.12.2002. DE 3918311 A1, 07.12.1989. EA 005056 B1, 28.10.2004. DE 4218354 A1, 09.12.1993. WO 03000567 A1, 03.01.2003.
(85) Дата перевода заявки PCT на национальную фазу:
20.08.2007
(86) Заявка PCT:
FR 2006/050026 20060119
(87) Публикация PCT:
WO 2006/077347 20060727
Адрес для переписки:
129090, Москва, ул. Б.Спасская, 25, стр.3, ООО “Юридическая фирма Городисский и Партнеры”, пат.пов. С.А.Дорофееву, рег. 146
|
(72) Автор(ы):
ХОЙХОЛЬТ Сусанне (DK)
(73) Патентообладатель(и):
СЭН-ГОБЭН ИЗОВЕР (FR)
|
(54) ТРАНСПОРТИРОВОЧНЫЙ КОМПЛЕКТ ПАНЕЛЕЙ
(57) Реферат:
Изобретение относится к транспортировочному комплекту. Транспортировочный комплект содержит несколько панелей, уложенных в два или в несколько штабелей, которые удерживаются раздельно при помощи одного или нескольких опорных элементов и обернутых общей растяжимой пленкой. При этом пленка выполнена в форме трубы, обладает эластичными свойствами в радиальном направлении и не обладает эластичными свойствами в осевом направлении. Указанная пленка в радиальном направлении может быть растянута в диапазоне от 5% до 100%. Решение заключается в обеспечении устойчивости транспортировочного комплекта в процессе хранения, погрузочно-разгрузочных операций и транспортировки. 10 з.п. ф-лы, 2 ил.
Предлагаемое изобретение относится к транспортировочному комплекту, содержащему множество панелей, уложенных в два или несколько штабелей, удерживаемых при помощи одного или нескольких опорных элементов и обернутых общей пленкой.
Обычно для транспортировки большого количества материалов эти материалы укладываются, например, на поддоны, для того чтобы облегчить их временное хранение, транспортировку и выполнение погрузочно-разгрузочных операций. Применение таких поддонов позволяет поднимать и перемещать материалы с использованием, например, грузоподъемных устройств или подъемных тележек с вилочным захватом. Поддоны различных размеров, изготавливаемые обычно из дерева или из пластических материалов, широко известны и используются во многих отраслях человеческой деятельности. Эти поддоны часто являются достаточно тяжелыми и обычно должны храниться у получателя товара до тех пор, пока их сможет забрать поставщик для возврата производителю. Это приводит к необходимости перемещения поддонов у получателя и требует, кроме того, наличия у него дополнительного пространства для временного хранения пустых поддонов. В тех случаях, когда транспортируемые материалы должны быть использованы в местах, имеющих ограниченный доступ, таких, например, как внутренние помещения зданий и пространства на крышах, важно также иметь как можно меньше упаковочных материалов. Вследствие этого пустые поддоны представляют еще более острую проблему в подобных местах.
Известны попытки, имеющие целью решить эту проблему и описанные, в частности, в патентном документе DE 4218354, в соответствии с которым обычные поддоны заменяются на опорные элементы другого типа, которые позволяют поднимать материалы над землей таким же образом, как и обычные поддоны, и обеспечивают, следовательно, возможность временного хранения, транспортировки и выполнения погрузочно-разгрузочных операций с использованием, например, подъемных устройств для поддонов или подъемных тележек с вилочным захватом. Опорные элементы обычно связаны с материалами в результате обертывания пленкой. Эти опорные элементы, как правило, имеют меньшие размеры и проще поддаются складированию, транспортировке и выполнению погрузочно-разгрузочных работ, чем обычные поддоны. Очевидно, что количество необходимых в данном случае опорных элементов зависит от формы, размеров и упаковки материалов, которые должны быть транспортированы. В процессе транспортировки одного единственного штабеля панелей обычно используются два опорных элемента, которые, как правило, имеют форму щитов, которые проходят под штабелем по всей его глубине.
В процессе транспортировки нескольких штабелей панелей в единственном комплекте проблемы возникают в том случае, когда используют раздельные опорные элементы вместо поддонов. Трудно обеспечить надлежащую опору и устойчивость штабелей, удерживаемых опорными элементами, и существует определенная вероятность того, что недостаточно устойчивые штабели могут опрокинуться, создавая угрозу для пользователя и обусловливая определенные проблемы.
Одна из проблем специфическим образом проявляется в том случае, когда получатель размещенных штабелями материалов должен иметь возможность независимым образом перемещать отдельные штабели. Это часто бывает необходимо, например, на строительных площадках, где ограниченное количество материалов из того или иного комплекта должно быть использовано в одном месте. В этом случае каждый штабель может быть транспортирован и временно складирован с обеспечением устойчивости штабеля, то есть без риска, например, опрокидывания штабеля.
В патенте WO 03/000567, в котором сделана попытка решить одну из вышеуказанных проблем, рассматривается позиционирование всех штабелей на некотором промежуточной слое и последующая установка опорных элементов под этот промежуточный слой. Таким образом обеспечивают удовлетворительную устойчивость в процессе транспортировки, но взамен необходимо после этого удалять опорные элементы и упомянутый дополнительный промежуточный слой. Эти устройства представляют практически столько же дополнительных материалов, что и обычный поддон. Кроме того, оказывается достаточно затруднительным, а иногда и невозможным, поднимать и транспортировать только один из раздельных штабелей, что часто бывает необходимо, как об этом уже было сказано выше. В данном случае отсутствует возможность ввести подъемное устройство для поддонов или вилочный захват подъемной тележки между большой панелью и одним из штабелей, поскольку известно, что эти штабели размещены непосредственно над этой панелью.
Известно также техническое решение, имеющее целью решить упомянутые выше проблемы и описанное в патенте ЕР 0946394, в котором рассматривается использование трех опорных элементов для двух штабелей панелей. Один из этих опорных элементов размещается под перегородкой между двумя штабелями и параллельно этим штабелям, в то время как два других опорных элемента располагаются ближе к краю и каждый из них размещается под одним штабелем и параллельно центральному штабелю. При этом штабели и опорные элементы обернуты общей пленкой. Однако, такое техническое решение оказывается достаточно чувствительным к перемещению центрального опорного элемента. Подобное перемещение может сделать штабели неустойчивыми и привести к их опрокидыванию. Указанные комплекты создают, таким образом, требование повышенной точности на стадии изготовления данного комплекта, что делает работу по их изготовлению более трудоемкой и более дорогостоящей. С другой стороны, разделение и раздельное перемещение двух штабелей создает другие проблемы, поскольку известно, что только один опорный элемент, наиболее близкий к краю, соответствует каждому штабелю после разделения. Этот штабель не является устойчивым в том случае, когда он опирается только на тот опорный элемент, который размещен наиболее близко к краю, может опрокинуться в момент установки. Имеется возможность поддерживать каждый штабель вручную после разделения и приведение его в движение, но это требует наличия опорных элементов, которые могли бы быть использованы в другом месте.
Как было отмечено выше, ни один из известных способов не обеспечивает возможности решить проблемы, связанные с транспортировкой, складированием и выполнением погрузочно-разгрузочных операций или перемещением материалов надежным и эффективным образом.
Обычно получатели материалов, размещенных на классических поддонах или на других опорных элементах, имеют в своем распоряжении крупные сооружения, предназначенные для временного хранения материалов, или представляют строительные площадки. В обоих этих случаях такое место представляет собой место работы, где поставленные задачи должны решаться достаточно быстро и где уже существует достаточно высокий уровень опасности, связанный с использованием подъемно-транспортных механизмов и с необходимостью манипулирования с материалами. В результате оказывается необходимым, чтобы погрузочно-разгрузочные и транспортировочные операции с материалами осуществлялись наиболее эффективным образом и создавали по возможности минимальную опасность для персонала. Само собой разумеется, что выполнение сложных операций занимает достаточно большое время и, следовательно, делают эту работу более дорогостоящей. Пренебрежение требованиями безопасности при складировании, погрузочно-разгрузочных операциях и транспортировке материалов создает дополнительную опасность на этих рабочих местах, и без того являющихся опасными.
Как об этом уже было сказано выше, существует определенная потребность в новых способах транспортировки материалов, которые обеспечивали бы возможность решения упомянутых выше проблем.
Кроме того, существует также потребность в том, чтобы комплект, служащий для транспортировки тех или иных материалов, оставлял у получателя как можно меньше упаковочных материалов, но чтобы он, в то же время, был достаточно устойчивым и обеспечивал вследствие этого его безопасное использование.
Также существует потребность в том, чтобы существовал транспортировочный комплект, который обеспечивает возможность временного хранения, транспортировки и выполнения погрузочно-разгрузочных операций, а также достаточно простого и безопасного перемещения одного единственного штабеля из транспортировочного комплекта, содержащего несколько штабелей.
Кроме того, существует потребность в транспортировочном комплекте, который может быть изготовлен достаточно просто и быстро.
Задача настоящего изобретения состоит в разработке транспортировочного комплекта, который удовлетворял бы эти потребности и который эффективным образом способен решить упомянутые выше проблемы.
Новые элементы и характеристики предлагаемого изобретения состоят в том, что каждый из двух или нескольких штабелей удерживается раздельно при помощи одного или нескольких опорных элементов, причем упомянутая пленка представляет собой поддающуюся растяжению пленку, выполненную в форме трубы, обладающую эластичными свойствами в радиальном направлении, не обладающую такими эластичными свойствами в осевом направлении и располагающуюся горизонтально вокруг штабелей материалов и вокруг одного или нескольких упомянутых опорных элементов, и предназначенную для удержания этих штабелей в виде единого целого и обеспечения устойчивости данного транспортировочного комплекта в процессе выполнения операций временного хранения, погрузочно-разгрузочных операций и транспортировки.
Определение “раздельное удержание” в данном случае следует понимать в том смысле, что каждый опорный элемент размещен только под одним штабелем и не находится, таким образом, в контакте с каким-либо пространством между различными штабелями.
Путем размещения в горизонтальном направлении выполненной в виде трубы поддающейся растяжению пленки вокруг упомянутых штабелей и вокруг одного или нескольких упомянутых опорных элементов устойчивость транспортировочного комплекта повышается значительным образом и количество опорных элементов может быть, таким образом, минимизировано. С другой стороны, эти штабели и опорные элементы удерживаются вместе друг с другом при помощи давления, которое оказывает на них поддающаяся растяжению пленка. Это давление усиливает трение между самими штабелями и между этими штабелями и опорными элементами. Кроме того, взаимное перемещение штабелей относительно друг друга и перемещение опорных элементов по отношению к этим штабелям устраняется эффективным образом. Это означает, что может быть использовано наименьшее количество упомянутых опорных элементов при том, что, как известно, штабели в результате трения удерживаются на месте между собой. Таким образом, получают повышенную устойчивость и обеспечивают возможность использования наименьшего количества опорных элементов без необходимости последующей стабилизации данного транспортировочного комплекта. В рассматриваемом здесь случае понятие “горизонталь” должно будет интерпретироваться как обозначение направления, в основном параллельного верхним поверхностям и/или нижним поверхностям штабелей.
Предпочтительно, чтобы поддающаяся растяжению пленка, выполненная в форме трубы, могла быть изготовлена из полиэтилена и из полиэтилена малой плотности, с радиальным направлением и с осевым направлением, а также с определенными эластичными свойствами в этом радиальном направлении и с отсутствием эластичных свойств в осевом направлении. При этом в рассматриваемом случае упомянутое осевое направление представляет собой направление, которое является параллельным к центральной оси, которая проходит через отверстие, выполненное в поддающейся растяжению пленке, которая изготовлена в форме трубы и которая выступает наружу по отношению к обоим упомянутым концам. Термин “радиальное направление” будет обозначать направление, перпендикулярное к этой центральной оси.
Предпочтительно, чтобы поддающаяся растяжению пленка, выполненная в форме трубы, имела толщину, составляющую примерно от 30 мкм до 200 мкм, причем эта толщина более предпочтительно имела величину, составляющую примерно от 50 мкм до 150 мкм, и еще более предпочтительно величину, составляющую примерно от 80 мкм до 130 мкм.
Предпочтительно, чтобы поддающаяся растяжению пленка, выполненная в форме трубы, могла быть вытянута в диапазоне примерно от 5% до 100% в радиальном направлении, более предпочтительно в диапазоне примерно от 10% до 70% и еще более предпочтительно в диапазоне примерно от 15% до 50%.
Указанные свойства растяжимой пленки, выполненной в форме трубы, приводят к тому, что появляется возможность выбирать эту поддающуюся растяжению пленку, имеющую несколько меньший окружной размер, чем окружной размер штабелей и одного или нескольких связанных с ними опорных элементов. Растяженная пленка вытягивается в радиальном направлении таким образом, чтобы упомянутые штабели и один или несколько связанных с ними опорных элементов могли быть перемещены в горизонтальном направлении внутри этой растяжимой пленки, которая, вследствие этого, плотно прижата вокруг штабелей и одного или нескольких связанных с ними опорных элементов конечного транспортировочного комплекта.
Предпочтительно, чтобы упомянутые панели могли быть изготовлены из материалов, пригодных для реализации функций тепловой изоляции, таких, например, как стекловата или минеральная вата. Эти материалы специальным образом адаптируются для встраивания в транспортировочный комплект в соответствии с предлагаемым изобретением, поскольку известно, что трение между изоляционными панелями, которые удерживаются в соединенном состоянии, оказывается значительным. Это трение содействует устойчивости транспортировочного комплекта.
Кроме того, упомянутые панели могут быть изготовлены из других материалов, приспособленных для упаковки в транспортировочном комплекте предлагаемого типа, таких, например, как дерево, пластические материалы, волокнистые материалы или каучук. Все эти материалы подходят для транспортировки товаров в штабелях с использованием предлагаемого изобретения.
Предпочтительно, чтобы один или несколько упомянутых опорных элементов могли быть изготовлены из материала, идентичного тому материалу, из которого изготовлены упомянутые панели. Такое техническое решение является предпочтительным в том смысле, что имеется возможность использовать опорные элементы вместе с процессом, в котором используются транспортировочные панели. Таким образом, в данном случае такие опорные элементы больше не рассматриваются в качестве упаковочных материалов и они, вследствие этого, больше не должны удаляться так, как это делается обычно. Таким образом, количество отходов, которые представляют определенные неудобства и сложности для получателя панелей, оказывается минимизированным.
С другой стороны, один или несколько упомянутых опорных элементов могут быть изготовлены из любого твердого материала, подходящего для обеспечения опоры и для осуществления транспортировки, например, из дерева, металла, волокнистых материалов и т.п. В рассматриваемом здесь случае твердым материалом считается любой материал, не имеющий тенденции поддаваться деформации в том случае, когда он подвергается воздействию механического напряжения под нагрузкой. Упомянутые опорные элементы не должны сжиматься под нагрузкой, и выбор материала для изготовления этих опорных элементов должен, вследствие этого, быть адаптирован к весу штабелей.
Один или несколько упомянутых опорных элементов могут быть выполнены в форме блоков, кубических элементов, цилиндров или элементов, имеющих другие геометрические формы.
Предпочтительно, чтобы один или несколько упомянутых опорных элементов имели ширину, глубину и высоту, которые по существу соответствовали бы некоторой доле пространственных размеров панелей таким образом, чтобы умножение опорных элементов соответствовало одной или нескольким панелям. Такое техническое решение является предпочтительным, поскольку эти опорные элементы могут, в случае необходимости, быть легко транспортированы при осуществлении рабочего процесса, который используется для временного хранения, транспортировки и выполнения погрузочно-разгрузочных операций с панелями.
Предпочтительно, чтобы каждый штабель мог иметь вертикальную плоскость тяжести с каждым опорным элементом, располагающимся в общем случае на одной вертикальной линии по отношению к вертикальной плоскости тяжести данного штабеля. Такое размещение опорного элемента по отношению к штабелю может сделать осуществление временного хранения, транспортировки и выполнения погрузочно-разгрузочных операций, а также перемещения отдельного штабеля, более простыми и надежными, принимая во внимание то обстоятельство, что штабель может опираться на данный опорный элемент без опасности его опрокидывания.
В этом случае вертикальная плоскость тяжести штабеля представляется обозначающей вертикальную плоскость, которая проходит через центр тяжести штабеля, которая располагается перпендикулярно по отношению к концам штабеля и по отношению к верхним и нижним поверхностям этого штабеля и которая является параллельной к боковым поверхностям этого штабеля.
Предпочтительно, чтобы предварительно определенное расстояние между несколькими опорными элементами могло составлять 500 мм или больше. Равное расстояние позволяет подъемным рычагам, например подъемной тележки с вилочным захватом или подъемного устройства для поддонов обычных размеров, могли входить между опорными элементами и, следовательно, были способны поднимать транспортировочный комплект. Будучи адаптированными к другим способам или функциям подъема, эти опорные элементы могут быть расположены на любом другом требуемом расстоянии между ними, что обеспечивает одновременно устойчивость отдельных транспортируемых штабелей и транспортировочного комплекта в его совокупности.
Предпочтительно, чтобы количество опорных элементов в данном транспортировочном комплекте могло быть превышающим или равным количеству штабелей в этом транспортировочном комплекте. Факт наличия минимально возможного количества опорных элементов обеспечивает возможность того, что количество упаковочных материалов поддерживается на достаточно низком уровне даже при использовании транспортировочных комплектов, имеющих несколько штабелей. Таким образом, транспортировочный комплект, в том случае, когда опорные элементы изготовлены из другого материала, отличного от материала, из которого изготовлены сами панели, и все они являются одинаковыми, оказывается предпочтительным по отношению к транспортировочному комплекту, содержащему большое количество опорных элементов, поскольку известно, что первый из них оставляет после использования меньше упаковочных материалов в форме опорных элементов.
Предлагаемое изобретение поясняется ниже описанием примеров его осуществления, приводимых со ссылками на приведенные в приложении фигуры, в числе которых
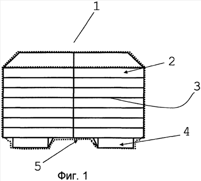
Фиг.1 представляет собой схематический вид спереди транспортировочного комплекта, образованного двумя штабелями и двумя опорными элементами;
Фиг.2 представляет собой схематический вид снизу двух транспортировочных комплектов для грузов, содержащих два штабеля и четыре опорных элемента.
Две приведенные в приложении фигуры являются схематическими, не соответствуют реальному масштабу и демонстрируют только те части, представление которых необходимо для пояснения сути предлагаемого изобретения, тогда как другие части не показаны вообще или только обозначены. Для обозначения идентичных или эквивалентных элементов на приведенных в приложении фигурах использованы идентичные цифровые позиции.
Схематический вид в изометрии, показанный на фиг.1, демонстрирует транспортировочный комплект 1 в соответствии с предлагаемым изобретением, содержащий панели 2, два штабеля 3, опорные элементы 4 и растяжимую пленку 5, располагающуюся горизонтально вокруг упомянутых штабелей и упомянутых опорных элементов.
Панели 2, которые должны формировать транспортировочный комплект 1 в соответствии с предлагаемым изобретением, могут быть изготовлены, например, из дерева, из пластического материала, из металла, из стекла, из камня, из того или иного волокнистого материала, из каучука или из того или иного сочетания этих материалов. Предпочтительно, панели 2 в соответствии с предлагаемым изобретением могут быть изготовлены из материала, пригодного для выполнения функций тепловой изоляции, такого, например, как стекловата или минеральная вата.
Хотя транспортировочный комплект 1, показанный на фиг.1, представлен с двумя штабелями 3 панелей 2, в соответствии с предлагаемым изобретением имеется возможность использовать любое другое количество штабелей 3, например три, четыре или более.
В то же время предлагаемое изобретение не ограничивается использованием двух опорных элементов 4, но оно включает также использование трех, четырех или более чем четырех опорных элементов. Предпочтительным образом количество опорных элементов 4 может быть превышающим или равным количеству штабелей 3. Относительно небольшое количество опорных элементов 4, сопоставимое с количеством штабелей 3, будет способствовать, при прочих равных условиях, упрощенному рабочему процессу в ходе производства транспортировочных комплектов и будет создавать в то же время меньшее количество упаковочных материалов в форме опорных элементов 4.
Один или несколько опорных элементов 4 в соответствии с предлагаемым изобретением могут быть изготовлены из некоторого твердого материала, подходящего для формирования опоры и для транспортировки груза, например, из дерева, из металла, из тех или иных волокнистых материалов и т.п. Предпочтительным образом упомянутые один или несколько опорных элементов 4 могут быть изготовлены из материала, идентичного тому материалу, из которого изготовлены панели 2 транспортировочного комплекта 1. Такое техническое решение является предпочтительным в том смысле, что пользователь, получающий панели 2, сможет использовать упомянутые один или несколько опорных элементов 4 в процессе работы и будет избавлен, таким образом, от необходимости удаления этих элементов другим способом. Такое техническое решение является особенно предпочтительным в тех случаях, когда транспортировка материалов на строительную площадку или с этой строительной площадки является затрудненной или требует значительных финансовых расходов, например, на крышах или внутри зданий.
Как это можно видеть на фиг.1, растяжимая пленка 5 располагается горизонтально вокруг штабелей 3 и опорных элементов 4 и может быть изготовлена из полиэтилена, в частности из полиэтилена низкой плотности, имеющего осевое направление и радиальное направление, а также обладающего эластичными свойствами в радиальном направлении и не обладающего этими эластичными свойствами в осевом направлении.
В соответствии с предпочтительным способом реализации эта растяжимая пленка имеет толщину в диапазоне примерно от 80 мкм до 130 мкм, но в рамках предлагаемого изобретения также может быть использована растяжимая пленка, имеющая другую толщину, составляющую, например, от 30 мкм до 200 мкм или примерно от 50 мкм до 150 мкм. В соответствии с одним из вариантов осуществления предлагаемого изобретения растяжимая пленка 5 может быть растянута на величину примерно от 15% до 50% в радиальном направлении, но в рамках предлагаемого изобретения подразумевается использование растяжимой пленки 5 с другими эластичными свойствами в радиальном направлении, обеспечивающими, например, возможность упругого растяжения в радиальном направлении на уровне примерно от 5% до 100% или примерно от 10% до 70%.
Несмотря на то, что в соответствии с предпочтительными вариантами осуществления предлагаемого изобретения используется поддающаяся растяжению пленка 5, которая не является эластичной в осевом направлении, может быть рассмотрен вариант, в соответствии с которым эта растяжимая пленка 5, обладающая определенными эластичными свойствами в осевом направлении, будет предпочтительной в других вариантах осуществления.
В общем случае изготовление транспортировочного комплекта 1 осуществляется таким образом, что панели 2 прежде всего укладываются в один или в несколько штабелей 3. Затем один или несколько опорных элементов 4 размещаются на штабеле 3. После этого штабели 3, содержащие упомянутые один или несколько опорных элементов 4, транспортируются, обычно посредством транспортера, в комплект, который удерживает поддающуюся растяжению пленку 5, выполненную в форме трубы, растянутой в радиальном направлении. Обычно эта поддающаяся растяжению пленка 5 является открытой на одном своем конце, но она может быть открытой и на двух своих концах. Штабели 3, содержащие опорные элементы 4, входят в растяжимую пленку 5, выполненную в форме трубы, которая таким образом отделяется от комплекта, который предварительно ее удерживал, и плотно размещается вокруг штабелей 3 и упомянутых одного или нескольких опорных элементов 4. Растяжимая пленка 5, после ее освобождения от комплекта, который ее удерживал предварительно, сильно сокращается в радиальном направлении и создает таким образом усилие, воздействующее на штабели 3 и на один или несколько опорных элементов 4. Это усилие удерживает соединенными вместе штабели 3 и один или несколько опорных элементов 4 и усиливает трение между этими элементами. В то же время отсутствие эластичных свойств в осевом направлении у поддающейся растяжению пленки 5 обеспечивает плотное удержание этих элементов в виде единого целого и трение между штабелями 3 делает транспортировочный комплект 1 устойчивым. В конечном счете растяжимая пленка 5, выполненная в форме трубы, закрывается, обычно при помощи сварки, и транспортировочный комплект 1 переворачивается таким образом, чтобы опорные элементы 4 оказались ориентированными вниз, после чего этот комплект готов для его складирования или перемещения.
Неожиданным образом установлено, что транспортировочный комплект 1, содержащий два штабеля 3 панелей 2 может быть транспортирован отдельно и устойчивым образом только с одним опорным элементом 4, размещенным под каждым штабелем 3, без необходимости выполнения стабилизационной связи между двумя штабелями 3, реализуемой, например, в форме проходящей насквозь панели, общего опорного элемента под пространством и т.п. До настоящего времени такое техническое решение не рассматривалось, поскольку известно, что минимальное расстояние, обычно используемое между опорными элементами 4 и составляющее 500 мм, в сочетании с шириной панелей 2 приводит к тому, что штабели 3 поворачиваются в направлении центра, что делает данный комплект неустойчивым. В первую очередь, использование транспортировочного комплекта 1 в соответствии с предлагаемым изобретением позволяет обеспечить описанную выше стабилизацию, кроме всего прочего, по соображениям неожиданного эффекта стабилизатора, формируемого растяжимой пленкой 5, выполненной в форме трубы.
На фиг.2 представлен вид снизу транспортировочного комплекта 1 в соответствии с предлагаемым изобретением, содержащего панели 2, два штабеля 3, четыре опорных элемента 4 и поддающуюся растяжению пленку 5.
Как это можно видеть на фиг.2, представленные опорные элементы 4 имеют на виде снизу прямоугольную форму, но в соответствии с предлагаемым изобретением эти опорные элементы 4 могут иметь форму блоков, кубов, цилиндров или же могут иметь другие геометрические формы. Предпочтительно опорные элементы 4 имеют ширину, глубину и высоту, которые в основном соответствуют некоторым долям пространственных размеров панелей 2. В целом это означает, что некоторое суммарное количество опорных элементов 4 имеет те же внешние размеры, что и одна или несколько панелей 2. Так, например, там может находиться четыре опорных элемента 4 под двумя штабелями 3 панелей 2, где каждый опорный элемент 4 составляет примерно 1/4 размера панели 2. Таким образом, четыре опорных элемента 4 могут совместно занимать то же пространство, что и одна полная панель 2, и могут, таким образом, легко участвовать в погрузочно-разгрузочных работах у пользователя, о котором идет речь. Однако размерные параметры опорных элементов 4 не ограничиваются описанными выше примерами предпочтительного способа осуществления.
Опорные элементы 4, имеющие ширину, глубину и высоту, которые в основном соответствуют определенным долям пространственных размеров панелей, являются особенно предпочтительными, если опорные элементы 4 в то же время изготавливаются из материала, идентичного материалу, из которого изготовлены панели 2. Обычно опорные элементы 4 могут быть использованы непосредственно в данном рабочем процессе.
Как это можно видеть на фиг.2, представленные опорные элементы 4 размещены с наличием определенных расстояний между ними. Расстояние между опорными элементами 4 определяется в качестве длины пространства между опорными элементами 4, измеренной вдоль кромки одной или нескольких нижних панелей 2. Это расстояние является показательным, поскольку известно, например, что именно в этом месте рычаги подъема подъемного механизма для поддонов или вилки подъемной тележки с вилочным захватом могут входить под транспортировочный комплект 1. При использовании различных способов перемещения или подъема транспортировочного комплекта 1 расстояние между опорными элементами может быть более или менее значительным. Предпочтительно, чтобы опорные элементы 4 могли иметь между собой предварительно определенное расстояние, составляющее 500 мм или более. Расстояние в 500 мм представляет собой обычную минимальную ширину подъемных вилок подъемного механизма для поддонов или подъемной тележки с вилочным захватом и является, вследствие этого, особенно предпочтительным расстоянием между опорными элементами 4, если транспортировочный комплект 1 должен подвергаться временному хранению, транспортировке и погрузочно-разгрузочным операциям с использованием упомянутого подъемного механизма для поддонов или подъемной тележки с вилочным захватом.
В то же время, на основе способа реализации, представленного на фиг.2, представляется понятным, что транспортировочный комплект 1 предпочтительно может быть подвергнут транспортировке и погрузочно-разгрузочным операциям с использованием упомянутого подъемного механизма для поддонов или подъемной тележки с вилочным захватом со всех своих сторон, поскольку известно, что все четыре опорных элемента 4 располагаются на упомянутых расстояниях между ними. Кроме того, это обстоятельство представляет преимущество, которое заключается в том, что если поддающаяся растяжению пленка 5, выполненная в форме трубы, разрезана на уровне расположения щели между двумя штабелями 3, два эти штабеля 3 могут быть транспортированы раздельно и могут быть использованы в различных местах.
Предпочтительно, опорные элементы 4 могут быть расположены в основном на вертикальной оси по отношению к вертикальной плоскости центра тяжести по меньшей мере одного штабеля 3. Такое расположение повышает устойчивость каждого штабеля 3 и делает, таким образом, этот штабель 3 устойчивым после возможного разделения транспортировочного комплекта 1. Таким образом, имеется возможность перемещать каждый штабель 3 транспортировочного комплекта 1 без риска опрокидывания штабелей 3, что могло быть создать опасность для находящихся поблизости людей.
Несмотря на то, что предлагаемое изобретение было описано со ссылками на предпочтительные способы осуществления изобретения, специалисту в данной области техники должно быть ясно, что многочисленные модификации и усовершенствования могут внесены в эти варианты без выхода за рамки этого изобретения, определяемые приведенной ниже формулой изобретения.
В контексте приведенного здесь описания данного изобретения под панелью следует понимать любой объем, имеющий по существу форму параллелепипеда, и ширина которого превышает его толщину с коэффициентом, по меньшей мере равным 2, и даже 5, и даже 10.
Панель в соответствии с предлагаемым изобретением может быть образована одним единственным блоком и обычно может представлять собой изолирующую панель классических размеров или может быть образована системой элементарных блоков, индивидуально представляющих различные формы и связанных между собой для того, чтобы сформировать модульную структуру, имеющую по существу форму параллелепипеда, описанную выше. Такие элементарные блоки представляют собой, например, рулоны изоляционного материала, связанные между собой в форме модулей в соответствии со способом упаковки, описанным в патенте ЕР 0220980 В1.
Формула изобретения
1. Транспортировочный комплект (1), содержащий некоторое количество панелей (2), уложенных в два или в несколько штабелей (3), удерживаемых при помощи одного или нескольких опорных элементов (4) и обернутых общей пленкой (5), отличающийся тем, что каждый из упомянутых двух или нескольких штабелей (3) удерживается раздельно при помощи одного или нескольких опорных элементов (4), при этом упомянутая пленка представляет собой растяжимую пленку (5), выполненную в форме трубы и обладающую эластичными свойствами в радиальном направлении, так что упомянутая поддающаяся растяжению пленка в форме трубы может быть растянута в диапазоне от примерно 5 до 100% в радиальном направлении, и не обладающую эластичными свойствами в осевом направлении, располагающуюся в горизонтальном направлении вокруг штабелей (3) и вокруг одного или нескольких упомянутых опорных элементов (4), и предназначенную для удержания этих штабелей вместе, в виде единого целого, и обеспечения устойчивости данного транспортировочного комплекта (1) в процессе выполнения операций временного хранения, погрузочно-разгрузочных операций и транспортировки.
2. Транспортировочный комплект (1) по п.1, отличающийся тем, что растяжимая пленка (5), выполненная в форме трубы, имеет радиальное направление и осевое направление, изготовлена из полиэтилена и обладает эластичными свойствами в радиальном направлении, но не обладает этими эластичными свойствами в осевом направлении.
3. Транспортировочный комплект (1) по любому из пп.1 или 2, отличающийся тем, что панели (2) изготовлены из материалов, пригодных для реализации функций тепловой изоляции, таких, например, как стекловата или минеральная вата.
4. Транспортировочный комплект (1) по любому из пп.1 или 2, отличающийся тем, что панели (2) изготовлены из материалов, приспособленных для упаковки в транспортировочном комплекте предлагаемого типа, таких, например, как дерево, пластические материалы, волокнистые материалы или каучук.
5. Транспортировочный комплект (1) по любому из пп.1 или 2, отличающийся тем, что один или несколько опорных элементов (4) изготовлены из материала, идентичного материалу, из которого изготовлены упомянутые панели (2).
6. Транспортировочный комплект (1) по любому из пп.1 или 2, отличающийся тем, что один или несколько опорных элементов (4) изготовлены из твердого материала, подходящего для обеспечения опоры и для осуществления транспортировки, например, из дерева, металла, волокнистых материалов.
7. Транспортировочный комплект (1) по любому из пп.1 или 2, отличающийся тем, что один или несколько опорных элементов (4) изготовлены в форме блоков, кубических элементов, цилиндров или элементов, имеющих другие геометрические формы.
8. Транспортировочный комплект (1) по любому из пп.1 или 2, отличающийся тем, что панели (2) имеют пространственное измерение, причем один или несколько опорных элементов (4) имеют ширину, глубину и высоту, по существу, соответствующие долям пространственного измерения панелей (2).
9. Транспортировочный комплект (1) по любому из пп.1 или 2, отличающийся тем, что каждый штабель (3) имеет вертикальную плоскость центра тяжести, причем каждый из опорных элементов (4) располагается, по существу, на одной вертикальной линии с вертикальной плоскостью центра тяжести данного штабеля (3).
10. Транспортировочный комплект (1) по любому из пп.1 или 2, отличающийся тем, что он содержит множество опорных элементов (4), позиционированных с предварительно определенным расстоянием между ними, причем это предварительно определенное расстояние составляет 500 мм или более.
11. Транспортировочный комплект (1) по любому из пп.1 или 2, отличающийся тем, что транспортировочный комплект (1) содержит множество штабелей (3) и множество опорных элементов (4), количество которых превышает или равно количеству этих штабелей (3).
РИСУНКИ
|
|