|
|
(21), (22) Заявка: 2008103266/11, 27.06.2006
(24) Дата начала отсчета срока действия патента:
27.06.2006
(30) Конвенционный приоритет:
29.06.2005 FR 05/51821
(43) Дата публикации заявки: 10.08.2009
(46) Опубликовано: 10.06.2010
(56) Список документов, цитированных в отчете о поиске:
ЕР 1129942 А2, 05.09.2001. US 2002104924 A1, 08.08.2002. US 2818225 A, 31.12.1957. RU 2167788 C2 10.04.1998.
(85) Дата перевода заявки PCT на национальную фазу:
29.01.2008
(86) Заявка PCT:
EP 2006/063602 20060627
(87) Публикация PCT:
WO 2007/000458 20070104
Адрес для переписки:
103735, Москва, ул. Ильинка, 5/2, ООО “Союзпатент”, пат.пов. Ю.В.Пинчуку, рег. 656
|
(72) Автор(ы):
ОДАР-НОЭЛЬ Виржини (FR), ГАРД Паскаль (FR)
(73) Патентообладатель(и):
ЭРБЮС ФРАНС (FR)
|
(54) УЗЕЛ ПОДВЕСКИ ДВИГАТЕЛЯ ЛЕТАТЕЛЬНОГО АППАРАТА, ПРЕДНАЗНАЧЕННЫЙ ДЛЯ УСТАНОВКИ МЕЖДУ ДВИГАТЕЛЕМ И СТОЙКОЙ КРЕПЛЕНИЯ
(57) Реферат:
Изобретение относится к области авиации, более конкретно, к узлу подвески двигателя летательного аппарата. Узел (6) подвески двигателя для летательного аппарата, предназначенный для установки между двигателем (2) и стойкой (4) крепления этого двигателя, содержит сцепку (20), соединенную с первым устройством (34) крепления, содержащим вильчатую опору (36), оборудованную двумя проушинами (36а, 36b), и палец (44), проходящий через указанную сцепку (20) и через указанные обе проушины (36а, 36b). Каждая из проушин содержит отверстие (48а, 48b), оборудованное соответственно первой втулкой (50), а также второй втулкой (60) для установки пальца. Первая втулка (50) содержит дно (54), образующее упор для первого конца (44а) указанного пальца (44), а первое устройство (34) крепления дополнительно содержит средства (64) стопорения поступательного движения пальца, взаимодействующие со вторым концом (44b) этого пальца (44). Технический результат заключается в упрощение монтажа узла подвески двигателя летательного аппарата. 2 н. и 18 з.п. ф-лы, 5 ил.
Область техники, к которой относится изобретение
Настоящее изобретение относится в целом к узлу подвески двигателя летательного аппарата, предназначенному для установки между двигателем и стойкой крепления, называемой также «EMS» (от английского «Engine Mounting Structure»), и позволяющему подвешивать двигатель под несущей плоскостью летательного аппарата или устанавливать этот двигатель над этой несущей плоскостью.
Изобретение относится также к силовой установке летательного аппарата, содержащей двигатель, стойку крепления, а также комплект узлов подвески двигателя, установленных между этой стойкой и двигателем, причем эту силовую установку можно использовать для любого типа летательного аппарата, например, содержащего газотурбинные двигатели, подвешенные к его несущей плоскости, такие как турбореактивные двигатели или турбовинтовые двигатели.
Уровень техники
На существующих летательных аппаратах газотурбинные двигатели крепят под несущей плоскостью при помощи сложных устройств крепления, называемых также стойками крепления, при помощи комплекта узлов подвески двигателя, закрепленных на этой стойке.
Действительно, такая стойка крепления предназначена для передачи на конструкцию этого летательного аппарата усилий, создаваемых его двигателем, и ее используют также для прокладки топливных магистралей, электрических, гидравлических и пневматических систем между двигателем и летательным аппаратом.
Для обеспечения передачи этих усилий стойка содержит жесткую конструкцию, чаще всего «кессонного» типа, то есть состоящую из верхних и нижних лонжеронов и боковых панелей, соединенных между собой поперечными нервюрами.
Таким образом, силовая установка, включающая стойку и двигатель, оборудована комплектом узлов подвески двигателя, установленных между этим двигателем и жесткой конструкцией стойки, причем этот комплект узлов подвески включает передний узел подвески, в случае необходимости образующий два полуузла, задний узел подвески, а также устройство передачи тяговых усилий, создаваемых двигателем. В предшествующем уровне техники это устройство выполняют, например, в виде двух боковых тяг, соединенных, с одной стороны, с задней частью картера вентилятора двигателя и, с другой стороны, с задним узлом подвески, закрепленным на центральном картере двигателя.
Например, можно отметить, что стойка крепления связана также с монтажной системой, установленной между жесткой конструкцией этой стойки и несущей плоскостью летательного аппарата, причем эта система обычно состоит из двух или трех элементов подвески.
Для выполнения узлов подвески двигателя и, в частности, переднего узла подвески и заднего узла подвески обычно применяют сцепку, соединенную с устройством крепления, содержащим вильчатую опору, оборудованную двумя проушинами, палец, проходящий через сцепку и через обе проушины, и две втулки для установки пальца, расположенные соответственно в двух отверстиях, выполненных в двух проушинах вильчатой опоры, которую, например, неподвижно соединяют с картером вентилятора двигателя.
Для обеспечения удержания вышеуказанного пальца в вильчатой опоре, как правило, каждый из концов этого пальца оборудуют установленными на нем средствами крепления.
Это техническое решение широко распространено в области узлов подвески двигателя, однако его основным недостатком является все более усугубляющаяся недоступность концов пальца, в частности, по причине стремления к все большей компактности таких силовых установок. Этот недостаток неизбежно приводит к усложнению монтажа этих узлов подвески, к увеличению материальных и временных затрат. Например, эта проблема может встречаться, в частности, на уровне переднего узла подвески, где доступ к переднему концу пальца, проходящего через сцепку, чрезвычайно усложнен из-за присутствия картера вентилятора двигателя, который действительно находится настолько близко к этому концу пальца, что становится практически невозможно применять инструмент, предназначенный для крепления этого пальца.
Раскрытие изобретения
Таким образом, задачей настоящего изобретения является создание узла подвески двигателя для летательного аппарата, который позволяет решить вышеупомянутую проблему, характерную для известных технических решений, а также реализация силовой установки летательного аппарата, содержащей, по меньшей мере, один такой узел подвески.
В связи с этим объектом настоящего изобретения является узел подвески двигателя для летательного аппарата, предназначенный для установки между двигателем и стойкой крепления этого двигателя, при этом узел подвески содержит сцепку, соединенную с первым устройством крепления, содержащим вильчатую опору, оборудованную двумя проушинами, и палец, проходящий через сцепку и через обе проушины, при этом каждая из проушин содержит отверстие, оборудованное соответственно первой втулкой, а также второй втулкой для установки пальца. Согласно изобретению первая втулка содержит дно, образующее упор для первого конца пальца, и первое устройство крепления дополнительно содержит средства стопорения поступательного движения пальца, взаимодействующие со вторым концом этого пальца.
Следовательно, изобретение позволяет обеспечить техническое решение, в котором нет необходимости предусматривать специальные средства крепления для одного из двух концов пальца, так как этот конец опирается на дно втулки, выполненное с возможностью стопорения его поступательного движения. Таким образом, понятно, что такой узел подвески двигателя можно интегрировать в насыщенную деталями и малодоступную окружающую среду и даже увеличить компактность силовой установки, содержащей такой узел подвески, не задумываясь о проблемах доступности этой зоны.
Для узла подвески такой конструкции, который может быть как передним узлом подвески двигателя, таким задним узлом подвески двигателя, предпочтительно можно предусмотреть установку средств стопорения поступательного движения пальца на второй втулке, при этом они могут содержать гайку и контргайку, завинчиваемые на этой второй втулке.
В такой конфигурации средства стопорения поступательного движения пальца, являющиеся неотъемлемой частью первого устройства крепления, могут также содержать, по меньшей мере, одну пружинную шайбу, опирающуюся на гайку, а также на второй конец пальца. При такой конструкции понятно, что гайка, предпочтительно опирающаяся на заплечик, выполненный во второй втулке, не находится в непосредственном контакте со вторым концом пальца, что позволяет избежать проблем слишком сильного затягивания, которые могут отрицательно сказаться на сроке службы втулок. Действительно, такая специальная концепция позволяет получить осевое усилие затягивания пальца, определенное для максимального затягивания гайки, опирающейся на соответствующий заплечик, причем это усилие, естественно, выбирают таким образом, чтобы оно было совместимым с размерами заплечиков, выполненных на втулках и предназначенных для их удержания в соответствующих проушинах вильчатой опоры и, разумеется, чтобы оно не приводило к срезанию этих заплечиков втулки.
Предпочтительно средства стопорения поступательного движения дополнительно содержат предохранительный стержень, проходящий через вторую втулку в поперечном направлении и установленный на уровне свободного конца этой второй втулки с возможностью стопорения поступательного движения пальца в случае ослабления или поломки узла гайка/контргайка. Следует уточнить, что этот предохранительный стержень называют также стержнем «Fail Safe».
Предпочтительно между пальцем и сцепкой устанавливают шаровую опору. Вместе с тем можно предусмотреть вариант выполнения без этой шаровой опоры и получить, таким образом, классическое соединение типа вилка/шип между сцепкой и вилкой, не выходя при этом за рамки настоящего изобретения.
Предпочтительно сцепка выполнена треугольной и может быть двойной сцепкой. В этом случае можно предусмотреть соединение этой треугольной сцепки также со вторым устройством крепления, причем эти два устройства крепления располагают соответственно вблизи двух вершин треугольной сцепки.
Таким образом, полученная конфигурация, в которой треугольная сцепка содержит две вершины, каждая из которых соединена с пальцем, один конец которого установлен в глухой втулке, вполне позволяет выполнить узел подвески двигателя, состоящий из двух полуузлов, каждый из которых может воспринимать усилия, действующие в поперечном направлении, а также в вертикальном направлении двигателя.
Для этого такой узел подвески двигателя может содержать третье устройство крепления, расположенное вблизи третьей вершины треугольной сцепки, и это третье устройство крепления в этом случае предназначено для неподвижного соединения со стойкой крепления, тогда как два первых устройства крепления предназначены для неподвижного соединения с двигателем.
Объектом настоящего изобретения является также силовая установка летательного аппарата, содержащая двигатель, стойку крепления, а также комплект узлов подвески двигателя, установленных между стойкой крепления и двигателем. Согласно изобретению комплект узлов подвески двигателя содержит, по меньшей мере, один узел подвески двигателя, описанный выше и тоже являющийся объектом настоящего изобретения, предпочтительно передний узел подвески двигателя описанного выше типа. Разумеется, оставаясь в рамках настоящего изобретения, силовая установка может также содержать задний узел подвески двигателя, имеющий описанную выше конструкцию.
Предпочтительно сцепка является параллельной поперечному направлению двигателя и имеет наклон таким образом, чтобы отходить от картера вентилятора двигателя в заднюю сторону. Такую специальную конфигурацию выбирают, чтобы освободить относительно большой продольный промежуток пространства между картером вентилятора двигателя и верхней частью сцепки и, в целом, верхней частью переднего узла подвески с целью предотвращения столкновений между этими двумя элементами. Действительно, известно, что верхняя часть картера вентилятора, с которой неподвижно соединен этот передний узел подвески, стремится переместиться назад на разных фазах полета. Например, отмечается, что в результате механических перемещений двигателя картер вентилятора приближается к переднему узлу подвески, что повышает опасность его столкновения с этим узлом подвески.
Поэтому понятно, что наклонное положение сцепки предпочтительно снижает опасность столкновения, но приводит к тенденции увеличения продольного промежутка пространства между стойкой крепления, содержащей этот узел подвески, и картером вентилятора, при этом наклон сцепки, разумеется, вступает в противоречие с желанием повысить компактность. Тем не менее, это возможное увеличение продольного промежутка пространства, связанное с наклоном сцепки, можно вполне компенсировать наличием устройств крепления с глухой втулкой, которые уже не требуют обеспечения доступа между передним концом соединительных пальцев и картером вентилятора.
Иначе говоря, эта предпочтительная конфигурация предусматривает, что картер вентилятора можно существенно приблизить к нижней части переднего узла подвески, не создавая опасности столкновения между верхней частью картера и верхней частью переднего узла подвески, смещенной дальше в заднем направлении по сравнению с нижней частью этого узла подвески.
Наконец, предпочтительно предусмотрено неподвижное соединение вильчатой опоры каждого из двух первых устройств крепления с двигателем, причем симметрично по отношению к вертикальной плоскости, проходящей через продольную ось этого двигателя.
Другие преимущества и отличительные признаки настоящего изобретения будут более очевидны из нижеследующего подробного описания, представленного в качестве не ограничительного примера.
Краткое описание чертежей
Это описание приводится со ссылками на прилагаемые чертежи, на которых:
Фиг.1 – частичный схематичный вид сбоку силовой установки летательного аппарата согласно предпочтительному варианту выполнения настоящего изобретения.
Фиг.2 – увеличенный детальный вид сбоку переднего узла подвески двигателя силовой установки, показанной на фиг.1.
Фиг.3 – вид в перспективе части переднего узла подвески двигателя, показанного на фиг.2.
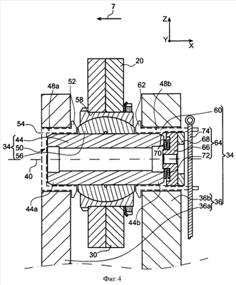
Фиг.4 – вид в разрезе части переднего узла подвески двигателя, показанного на фиг.2 и 3.
Фиг.5 – вид в перспективе силовой установки летательного аппарата согласно другому предпочтительному варианту выполнения настоящего изобретения (двигатель на чертеже не показан).
Осуществление изобретения
На фиг.1 показана силовая установка 1 летательного аппарата, предназначенная для крепления под крылом этого летательного аппарата (крыло показано схематично и обозначено цифровой позицией 3), при этом указанная силовая установка 1 выполнена согласно предпочтительному варианту выполнения настоящего изобретения.
В целом силовая установка 1 содержит двигатель, такой как турбореактивный двигатель 2, стойку 4 крепления и комплект узлов 6, 8, 9 подвески двигателя, установленных между жесткой конструкцией 10 стойки 4 и турбореактивным двигателем 2. Необходимо отметить, что силовую установку 1 охватывает гондола (не показана) и что стойка 4 крепления оборудована другим комплектом элементов подвески (не показаны), предназначенных для обеспечения подвески этой силовой установки 1 под несущей плоскостью летательного аппарата.
В дальнейшем описании условно буквой Х обозначается продольное направление стойки 4, которое также соответствует продольному направлению турбореактивного двигателя 2, причем это направление Х является параллельным продольной оси 5 этого турбореактивного двигателя 2. С другой стороны, буквой Y обозначено направление, поперечное по отношению к стойке 4 и соответствующее также поперечному направлению турбореактивного двигателя 2, а буквой Z обозначено вертикальное направление или высота, причем эти три направления X, Y и Z являются ортогональными относительно друг друга.
С другой стороны, термины «передний» и «задний» следует рассматривать по отношению к направлению полета летательного аппарата под действием тягового усилия, создаваемого турбореактивным двигателем 2, и это направление схематично показано стрелкой 7.
На фиг.1 узлы 6, 8, 9 подвески двигателя показаны схематично, и показана только жесткая конструкция 10 стойки 4 крепления. Другие не показанные на фигуре конструктивные элементы этой стойки 4, такие как средства крепления жесткой конструкции 10 под несущей плоскостью летательного аппарата или вспомогательная конструкция, обеспечивающая разделение и установку систем и одновременно крепление аэродинамических обтекателей, являются классическими элементами, аналогичными элементам из известных специалистам технических решений. В связи с этим их подробное описание опускается.
Кроме того, жесткая конструкция 10 стойки, обеспечивающая передачу усилий, тоже является известной и предпочтительно имеет форму «кессона», образованного соединением лонжеронов и боковых панелей, соединенных между собой поперечными нервюрами. На уровне передней части этой жесткой конструкции 10 показан конец, выполненный в виде металлического крепежного элемента 15, на котором крепится узел 6 подвески двигателя.
С другой стороны, турбореактивный двигатель 2 содержит спереди картер 12 вентилятора большого размера, ограничивающий кольцевой нагнетательный канал 14, и содержит в сторону выхода центральный картер 16 меньшего размера, содержащий рабочую часть этого турбореактивного двигателя. Наконец, центральный картер 16 продолжен назад выпускным картером 17 большего размера, чем картер 16. Разумеется, картеры 12, 16 и 17 неподвижно соединены друг с другом.
Как показано на фиг.1, комплект узлов подвески двигателя состоит из переднего узла 6 подвески двигателя, образующего два передних полуузла подвески, заднего узла 8 подвески, а также узла 9 подвески, образующего устройство передачи тяговых усилий, создаваемых газотурбинным двигателем 2. Как схематично показано на фиг.1, это устройство 9 выполнено, например, в виде двух боковых тяг (поскольку на фигуре показан вид сбоку, то видна только одна тяга), соединенных, с одной стороны, с задней частью картера 12 вентилятора и, с другой стороны, с задним узлом 8 подвески.
Этот задний узел 8 подвески классически выполнен таким образом, чтобы воспринимать только усилия, создаваемые турбореактивным двигателем 2, в направлении Y и в направлении Z, но не усилия, действующие в направлении X. Он установлен между выпускным картером 17 и нижним лонжероном жесткой конструкции 10 стойки.
Передний узел 6 подвески двигателя, неподвижно соединенный с крепежным металлическим элементом 15 и с картером 12 вентилятора, представляет собой отличительный признак настоящего изобретения и будет детально описан со ссылками на фиг.2-4. Например, этот передний узел 6 подвески предпочтительно заходит во внутренний участок картера вентилятора, в котором установлены его неподвижные лопатки, и находится вблизи переднего конца центрального картера. Этот узел подвески выполнен таким образом, что образует два полуузла, расположенных симметрично по отношению к плоскости Р, определенной осью 5 и направлением Z, при этом по своей конструкции этот узел 6 подвески может воспринимать усилия, создаваемые турбореактивным двигателем 2, в направлении Y и в направлении Z, но не усилия, действующего в направлении X.
Таким образом, усилия, действующие в направлении X, воспринимаются узлом 9 подвески, усилия, действующие в направлении Y, воспринимаются передним узлом 6 подвески и задним узлом 8 подвески, и усилия, действующие в направлении Z, воспринимаются тоже совместно узлами 6 и 8 подвески.
С другой стороны, восприятие момента, действующего в направлениях Y и Z, осуществляется соответственно в вертикальном и поперечном направлениях двумя узлами 6 и 8 подвески, тогда как восприятие момента, действующего в направлении X, осуществляется исключительно задним узлом 8 подвески, который тоже может иметь конструкцию в виде двух полуузлов.
На фиг.2 и 3 показано, что узел 6 подвески содержит треугольную сцепку 20, предпочтительно выполненную двойной, причем эта сцепка симметрично пересекается плоскостью Р и содержит вершину 22, направленную вверх.
На уровне этой вершины 22 выполнено сквозное отверстие 24, в которое заходит соединительный штифт 26, неподвижно соединенный с металлическим крепежным элементом 15 стойки крепления. Предпочтительно для установки штифта 26 в отверстии 24 устанавливают шаровую опору (не показана). Таким образом, шаровая опора, а также соединительный штифт 26 совместно образуют устройство 27 крепления сцепки 20 на жесткой конструкции стойки.
Как показано на фиг.2, сцепка 20 в целом находится в плоскости, параллельной направлению Y, и имеет наклон таким образом, чтобы отходить от картера 12 вентилятора назад. Следовательно, ось 28 отверстия 24, совпадающая с осью штифта 26, имеет небольшой наклон относительно направления Х в плоскости XZ, слегка поднимаясь в переднем направлении.
Другим следствием этого наклона сцепки 20 является то, что ее верхняя часть, то есть ее вершина 22 более удалена от картера 12 вентилятора, чем нижняя часть этой треугольной сцепки 20, содержащая две его другие вершины 30, 32.
Эти две нижние вершины 30, 32, находящиеся ближе к картеру 12 вентилятора, содержат, каждая, сквозное отверстие (не показано), взаимодействующее соответственно с первым устройством 34 крепления и со вторым устройством 35 крепления одинаковой конструкции, при этом каждое устройство содержит вильчатую опору, неподвижно соединенную с картером 12 вентилятора (на фиг.2 видна только вильчатая опора 36 первого устройства 34 крепления). Разумеется, в этой конфигурации, в которой обе вильчатые опоры расположены симметрично относительно плоскости Р и неподвижно соединены с внутренним участком картера вентилятора, содержащим его неподвижные лопатки, оси 40 двух сквозных отверстий, выполненных в вершинах 30, 32, являются параллельными оси 28 и, следовательно, имеют небольшой наклон по отношению к направлению Х в плоскости XZ, слегка приподнимаясь в переднем направлении.
Следует уточнить, что сцепка 20 содержит также четвертую точку подвески, оборудованную предохранительной системой 42 крепления, установленной на картере вентилятора. Эта четвертая точка подвески, называемая также точкой подвески «Fail Safe», передает усилия на жесткую конструкцию стойки только в случае неисправности двух других точек подвески, находящихся на уровне вершин 30, 32.
Кроме того, подразумевается, что именно такое специальное и симметричное расположение этих двух нижних точек подвески, содержащих соответственно первое и второе устройства 34, 35 крепления, позволяет получить вышеупомянутые два полуузла подвески двигателя.
Далее со ссылками на фиг.4 следует описание нижней точки подвески, содержащей первое устройство 34 крепления, то есть точки, находящейся на уровне вершины 30. Поскольку другая нижняя точка подвески является по существу идентичной, ее описание, следовательно, опускается.
В целом устройство 34 крепления содержит вильчатую опору 36, называемую охватывающей вильчатой опорой и образованную передней проушиной 36а и задней проушиной 36b, между которыми заходит нижняя вершина 30 сцепки 20, а также палец 44, называемый соединительным пальцем и проходящий через эту сцепку 20, а также через обе проушины 36а, 36b. В этой связи следует отметить, что соединительный палец 44, расположенный вдоль оси 40, не обязательно проходит через проушины 36а, 36b насквозь, а заходит, по меньшей мере, частично, в каждую из этих проушин.
Что касается передней проушины 36а, то она содержит сквозное отверстие 48а, направленное вдоль оси 40, в которое устанавливают первую втулку 50. Эта втулка содержит заплечик 52, опирающийся на внутреннюю поверхность проушины 36а и позволяющий блокировать ее поступательное движение в переднем направлении. Кроме того, один из существенных признаков настоящего изобретения состоит в том, что эта втулка 50, в которую заходит палец 44, содержит дно 54, которое делает ее глухой, и это дно 54 выполнено на уровне переднего конца этой втулки 50.
Таким образом, втулка 50, входящая в состав устройства 34 крепления, за счет наличия своего дна 54 образует упор для первого конца или переднего конца 44а пальца 44, поскольку предпочтительно необходимо получить непосредственный контакт между этим концом 44а и дном 54, выполненным перпендикулярно к оси 40.
Предпочтительно центральная часть соединительного пальца 44 выполнена таким образом, чтобы проходить через шаровую опору 56, также входящую в состав устройства 34 крепления и установленную внутри сквозного отверстия 58, выполненного на уровне вершины 30 треугольной сцепки 20.
Первое устройство 34 крепления дополнительно содержит вторую втулку 60, установленную в сквозном отверстии 48b задней проушины 36b, причем это отверстие 48b направлено вдоль оси 40. Втулка 60 содержит заплечик 62, опирающийся на внутреннюю поверхность проушины 36b и позволяющий блокировать ее поступательное движение назад. Следовательно, каждую из втулок 50, 60 устанавливают на вильчатой опоре 36, вводя их в соответствующие отверстия из пространства, ограниченного между двумя проушинами 36а, 36b.
В собранном состоянии соединительный палец 44 заходит во втулку 60, где его второй конец или задний конец 44b стопорится в заднем направлении при помощи средств 64 стопорения поступательного движения, также входящих в состав устройства 34.
В частности, средства 64 стопорения поступательного движения содержат гайку 66 и контргайку 68 с центром на оси 40, завинчиваемые внутри во второй втулке 60 с ее свободного конца, при этом гайка 66 опирается на внутренний заплечик 70 этой втулки 60. Вместе с тем, узел подвески выполняют таким образом, чтобы задний конец 44b пальца 44 находился спереди по отношению к заплечику 70 таким образом, чтобы избежать контакта между этим концом 44b и гайкой 66, приводящего к сокращению срока службы втулок 50, 60. Так, средства 64 стопорения поступательного движения содержат также пружинную шайбу 72 или несколько таких шайб, опирающихся, с одной стороны, на гайку 66 и, с другой стороны, на второй конец 44b соединительного пальца 44. При такой конструкции усилие осевого затягивания пальца 44 полностью контролируется, так же как и уровни нагрузок на втулки 50, 60.
Наконец, следует уточнить, что средства 64 стопорения поступательного движения содержат также предохранительный стержень 74, проходящий в поперечном направлении через вторую втулку 60, предпочтительно в диаметральном направлении, при этом стержень 74 типа «Fail Safe» находится на уровне заднего свободного конца этой второй втулки 60 сзади относительно контргайки 68. Естественно, в случае какой-либо неисправности средств 64 стопорения поступательного движения стержень 74 позволяет избежать выпадения гайки 66 или контргайки 68 и пальца 44 за пределы задней втулки 60.
Разумеется, специалист может вносить различные изменения в узел подвески двигателя и в силовую установку, описанные выше исключительно в качестве не ограничительных примеров. Отмечается, например, что передний узел подвески двигателя может содержать бугель классической формы с двумя противоположными концами вместо предложенной треугольной формы. В этом случае один из его концов может быть оборудован устройством крепления с глухой втулкой аналогично описанному выше устройству.
Кроме того, изобретение можно также применять в конфигурации, где задние концы тяг 9 шарнирно соединены с траверсой, которую не соединяют с корпусом заднего узла 8 подвески двигателя, а устанавливают спереди относительно этого узла и сзади относительно переднего узла 6 подвески двигателя предпочтительно на нижнем лонжероне жесткой конструкции 10, как показано на фиг.5, где представлен другой вариант выполнения настоящего изобретения.
Формула изобретения
1. Узел (6) подвески двигателя для летательного аппарата, предназначенный для установки между двигателем (2) и стойкой (4) крепления этого двигателя, при этом указанный узел подвески содержит сцепку (20), соединенную с первым устройством (34) крепления, содержащим вильчатую опору (36), оборудованную двумя проушинами (36а, 36b), и палец (44), проходящий через указанную сцепку (20) и через указанные обе проушины (36а, 36b), при этом каждая из проушин содержит отверстие (48а, 48b), оборудованное соответственно первой втулкой (50), а также второй втулкой (60) для установки пальца, отличающийся тем, что указанная первая втулка (50) содержит дно (54), образующее упор для первого конца (44а) указанного пальца (44), и тем, что первое устройство (34) крепления дополнительно содержит средства (64) стопорения поступательного движения пальца, взаимодействующие со вторым концом (44b) этого пальца (44).
2. Узел (6) подвески двигателя по п.1, отличающийся тем, что указанные средства (64) стопорения поступательного движения пальца установлены на указанной второй втулке (60).
3. Узел (6) подвески двигателя по п.1 или 2, отличающийся тем, что указанные средства (64) стопорения поступательного движения пальца содержат гайку (66) и контргайку (68), завинчиваемые на указанной второй втулке (60).
4. Узел (6) подвески двигателя по п.3, отличающийся тем, что указанные средства (64) стопорения поступательного движения пальца дополнительно содержат, по меньшей мере, одну пружинную шайбу (72), опирающуюся на указанную гайку (66), а также на указанный второй конец (44b).
5. Узел (6) подвески двигателя по п.4, отличающийся тем, что гайка (66) опирается на заплечик (70), выполненный в указанной второй втулке (60).
6. Узел (6) подвески двигателя по п.5, отличающийся тем, что указанные средства (64) стопорения поступательного движения дополнительно содержат предохранительный стержень (74), проходящий в поперечном направлении через указанную вторую втулку (60).
7. Узел (6) подвески двигателя по п.3, отличающийся тем, что между указанным пальцем (44) и указанной сцепкой (20) устанавливают шаровую опору (56).
8. Узел (6) подвески двигателя по любому из пп.1, 2, 4-6, отличающийся тем, что между указанным пальцем (44) и указанной сцепкой (20) устанавливают шаровую опору (56).
9. Узел (6) подвески двигателя по любому из пп.1, 2, 4-7, отличающийся тем, что указанная сцепка (20) выполнена треугольной.
10. Узел (6) подвески двигателя по п.3, отличающийся тем, что указанная сцепка (20) выполнена треугольной.
11. Узел (6) подвески двигателя по п.8, отличающийся тем, что указанная сцепка (20) выполнена треугольной.
12. Узел (6) подвески двигателя по п.9, отличающийся тем, что треугольную сцепку (20) соединяют также со вторым устройством (35) крепления, идентичным указанному первому устройству (34) крепления, при этом указанные оба устройства крепления находятся соответственно вблизи двух вершин (30, 32) треугольной сцепки (20).
13. Узел (6) подвески двигателя по п.10 или 11, отличающийся тем, что треугольную сцепку (20) соединяют также со вторым устройством (35) крепления, идентичным указанному первому устройству (34) крепления, при этом указанные оба устройства крепления находятся соответственно вблизи двух вершин (30, 32) треугольной сцепки (20).
14. Узел (6) подвески двигателя по п.12, отличающийся тем, что образует два полуузла, каждый из которых выполнен с возможностью восприятия усилий, действующих в поперечном направлении (Y), а также в вертикальном направлении (Z) двигателя (2).
15. Узел (6) подвески двигателя по п.13, отличающийся тем, что образует два полуузла, каждый из которых выполнен с возможностью восприятия усилий, действующих в поперечном направлении (Y), а также в вертикальном направлении (Z) двигателя (2),
16. Узел (6) подвески двигателя по п.14 или 15, отличающийся тем, что содержит третье устройство (27) крепления, находящееся вблизи третьей вершины (22) треугольной сцепки (20), при этом указанное третье устройство (27) крепления предназначено для неподвижного соединения со стойкой (4) крепления.
17. Силовая установка (1) летательного аппарата, содержащая двигатель (2), стойку (4) крепления, а также комплект узлов (6, 8, 9) подвески двигателя, установленных между указанной стойкой (4) крепления и двигателем (2), отличающаяся тем, что указанный комплект узлов подвески двигателя содержит, по меньшей мере, один узел (6) подвески двигателя по любому из пп.1-16.
18. Установка по п.17, отличающаяся тем, что содержит передний (6) узел подвески по любому из пп.1-16.
19. Установка по п.18, отличающаяся тем, что сцепка (20) является параллельной поперечному направлению (Y) двигателя (2) и имеет наклон таким образом, чтобы отходить назад от картера (12) вентилятора двигателя.
20. Установка по п.19, отличающаяся тем, что вильчатая опора (36) каждого из двух первых устройств (34, 35) крепления неподвижно соединена с двигателем (2) и установлена симметрично относительно вертикальной плоскости (Р), проходящей через продольную ось (5) этого двигателя.
РИСУНКИ
|
|