|
|
(21), (22) Заявка: 2007145358/11, 06.06.2006
(24) Дата начала отсчета срока действия патента:
06.06.2006
(30) Конвенционный приоритет:
07.06.2005 FR 0505758
(43) Дата публикации заявки: 20.06.2009
(46) Опубликовано: 10.06.2010
(56) Список документов, цитированных в отчете о поиске:
US 5716026 А, 10.02.1998. US 4951560 А, 28.08.1990. FR 2843560 А, 20.02.2004. SU 355069 A1, 01.01.1972.
(85) Дата перевода заявки PCT на национальную фазу:
06.12.2007
(86) Заявка PCT:
FR 2006/001272 20060606
(87) Публикация PCT:
WO 2006/131635 20061214
Адрес для переписки:
129090, Москва, ул.Б.Спасская, 25, стр.3, ООО “Юридическая фирма Городисский и Партнеры”, А.В.Мицу
|
(72) Автор(ы):
СЭН-ЖАЛЬМ Брюно (FR), РЕЗАГ Андре (FR), ЗАНЕБОНИ Жазон (FR)
(73) Патентообладатель(и):
ЭРБЮС (FR)
|
(54) ФРАГМЕНТ ПАССАЖИРСКОГО САЛОНА ВОЗДУШНОГО СУДНА, ПАССАЖИРСКИЙ САЛОН ВОЗДУШНОГО СУДНА, СОДЕРЖАЩИЙ ТАКОЙ ФРАГМЕНТ, ВОЗДУШНОЕ СУДНО, СОДЕРЖАЩЕЕ ТАКОЙ ФРАГМЕНТ ПАССАЖИРСКОГО САЛОНА
(57) Реферат:
Изобретение относится к внутренней планировке салона летательного аппарата. Фрагмент пассажирского салона воздушного судна содержит один проход (8) между пассажирскими креслами, ориентированный в продольном направлении, пассажирские кресла, располагающиеся поперечными рядами по отношению к продольному проходу (8). Также упомянутый фрагмент салона содержит систему багажных отсеков (12), располагающихся по одной линии вдоль поперечного направления над пассажирскими креслами, причем предусмотренные в салоне вентиляционные отверстия располагаются между двумя линиями расположения указанных багажных отсеков (12). Технический результат заключается в увеличении пространства, отведенного под багаж, и обеспечении циркуляции воздуха в пассажирском салоне воздушного судна. 3 н. и 11 з.п. ф-лы., 2 ил.
Предлагаемое изобретение относится к размещению кресел и багажных отсеков в пассажирском салоне воздушного судна, например самолета.
Более конкретно, предлагаемое изобретение относится к внутреннему устройству самолетов, выполняющих коммерческие рейсы для перевозки пассажиров на регулярных воздушных линиях или в чартерных перевозках. В таких самолетах всегда возникает проблема одновременного размещения большого количества пассажиров при условии обеспечения наилучшего возможного комфорта для них.
Общепринято, что в линейных или подобных им самолетах кресла располагаются в продольных и в поперечных рядах и ориентированы в одном и том же направлении. Для обеспечения доступа к креслам, в зависимости от ширины салона и количества установленных кресел, располагающихся рядом друг с другом в одном и том же поперечном ряду, обычно предусматривается наличие от одного до трех продольных проходов или коридоров.
Для размещения багажа пассажиров в верхней части пассажирского салона предусмотрены отсеки багажного отделения. Указанные отсеки багажного отделения или багажные отсеки располагаются вдоль одной продольной линии над креслами и проходят по существу по всей длине пассажирского салона воздушного судна или вдоль участка этого салона, располагающегося между двумя последовательно расположенными дверями аварийного выхода. Эти багажные отсеки обычно бывают доступными из упомянутых проходов. Доступ в багажный отсек возможен из положения стоя. При этом пассажир должен повернуться в сторону одной из продольных стенок салона воздушного судна, то есть располагаться поперечно по отношению к воздушному судну.
Такая конфигурация, характерная для существующего уровня техники в данной области, имеет многочисленные недостатки. Первый из этих недостатков состоит в том, что пространство, предназначенное для размещения багажа, является относительно ограниченным. Вследствие этого каждый пассажир может пронести с собой в пассажирский салон только такой багаж, который имеет максимальные разрешенные размеры. При этом учитывают то обстоятельство, что по статистике каждый пассажир проносит с собой в пассажирский салон багаж, объем которого оказывается несколько меньшим, чем максимально разрешенный.
Другой недостаток состоит в том, что отсеки багажного отделения находятся над пассажирскими креслами и располагаются параллельно проходам между рядами кресел таким образом, что в том случае, когда пассажир поднимается со своего кресла, он рискует удариться головой об отсек багажного отделения, располагающийся над ним.
Еще один недостаток состоит в том, что пассажиры, укладывающие багаж в отсеки багажного отделения, стоят в проходе салона самолета, создавая тем самым помехи для других пассажиров, следующих к своим местам.
Ряды отсеков багажных отделений, проходящие в продольном направлении параллельно одному или нескольким проходам между пассажирскими креслами, нарушают эстетику салона, усиливая эффект перспективы, создаваемый одним или несколькими проходами между пассажирскими креслами.
И наконец, современные системы вентиляции в пассажирских салонах воздушных судов не позволяют обеспечить удовлетворительную циркуляцию воздуха. Это обстоятельство неблагоприятным образом влияет на комфорт для пассажиров.
Таким образом, техническая задача данного изобретения состоит в том, чтобы предложить внутреннее устройство пассажирского салона воздушного судна, в котором пространство для размещения багажа значительно увеличивается без ограничения комфорта для пассажиров. Предпочтительно, чтобы такое внутреннее устройство способствовало более комфортной посадке пассажиров на борт воздушного судна. Предпочтительно также, чтобы оформление салона было оригинальным, отвечающим эстетическим требованиям и требованиям эргономики и обеспечивающим удовлетворительную циркуляцию воздуха в салоне.
Для решения этой технической задачи в данном изобретении предлагается элемент пассажирского салона воздушного судна, содержащий:
– по меньшей мере один проход между пассажирскими креслами, ориентированный в продольном направлении;
– пассажирские кресла, располагающиеся поперечными рядами по отношению к продольному проходу между этими креслами;
– по меньшей мере одну систему отсеков багажного отделения, располагающихся по одной линии и размещенных на некоторой высоте.
Предпочтительно, чтобы отсеки багажного отделения располагались на одной линии вдоль поперечного направления над пассажирскими креслами.
В такой конфигурации отсеки багажного отделения располагаются над пассажирскими креслами, то есть в том месте, где пассажиры располагаются в положении сидя или откинувшись, в случае необходимости, но не стоят. Вследствие этого свободное пространство оказывается относительно большим, поскольку здесь нет необходимости предусматривать возможность прохождения пассажира под багажным отделением, как это имеет место в пассажирских салонах, спроектированных в соответствии с существующим уровнем техники. Кроме того, принимая во внимание ориентацию расположения линий багажного отделения, доступ к отсекам багажного отделения осуществляется более естественным образом, то есть в положении стоя перед креслом, которое располагается в продольном проходе, пересекающем пассажирский салон. При этом пассажиры, размещающие свой багаж в отсек багажного отделения или вынимающие его оттуда, не мешают, таким образом, движению других пассажиров в одном или в нескольких продольных проходах между рядами кресел.
Предпочтительно, чтобы в элементе салона багажные отсеки размещались над спинками пассажирских кресел таким образом, чтобы не создавать помех для пассажиров в тех случаях, когда они садятся в свои кресла или встают с них.
Предпочтительно, чтобы во фрагменте пассажирского салона воздушного судна выравнивание багажных отсеков по одной линии прерывалась над продольным проходом между рядами кресел таким образом, чтобы не мешать движению пассажиров и летного экипажа в этом проходе.
Предпочтительно, чтобы конфигурация фрагмента пассажирского салона в соответствии с предлагаемым изобретением предусматривала, чтобы каждое пассажирское кресло содержало сиденье и спинку и чтобы кресла в двух последовательно расположенных рядах размещались чередующимся образом друг против друга или спинка к спинке. Таким образом, два ряда багажных отсеков могут быть соединены друг с другом. С точки зрения визуального восприятия это позволяет ограничить количество поперечных разделений по высоте. Это позволяет также облегчить конструкцию путем использования общих ящиков для двух примыкающих друг к другу рядов багажных отсеков.
Для обеспечения циркуляции воздуха между двумя последовательно расположенными рядами багажных отсеков (не примыкающих друг к другу), последние предпочтительно имеют обтекаемую форму, которая позволяет устранить возможные поперечные острые углы, связанные с наличием этих багажных отсеков.
Предпочтительно также, чтобы каждый багажный отсек содержал выдвижной ящик, закрепленный на потолке фрагмента пассажирского салона воздушного судна таким образом, чтобы этот выдвижной ящик имел возможность перемещаться между закрытым положением, в котором этот выдвижной ящик располагается в коробе, и открытым положением, в котором этот выдвижной ящик выступает за пределы упомянутого багажного отсека, причем багажный отсек и выдвижной ящик имеют стенки, располагающиеся таким образом, чтобы вещи, размещенные в этом выдвижном ящике, были недоступны с наружной стороны багажного отсека в том случае, когда этот выдвижной ящик находится в закрытом положении, и оказывались доступными путем открытия в том случае, когда этот выдвижной ящик находится в положении открытия. Предпочтительно, чтобы упомянутый выдвижной ящик переходил из положения открытия в положение закрытия, например, в результате вертикального поступательного перемещения.
Для обеспечения надлежащей вентиляции фрагмент пассажирского салона в соответствии с предлагаемым изобретением содержит, например, воздушные каналы, проходящие по существу в продольном направлении над упомянутыми багажными отсеками, а также выходные отверстия системы вентиляции, располагающиеся между двумя линиями размещения багажных отсеков и по существу на равных расстояниях от них.
Предлагаемое изобретение относится также к пассажирскому салону воздушного судна и к воздушному судну, имеющему в своем составе по меньшей мере один фрагмент пассажирского салона описанного выше типа.
Другие характеристики и преимущества предлагаемого изобретения будут лучше поняты из описания примера его осуществления, приведенного со ссылками на чертежи, в числе которых:
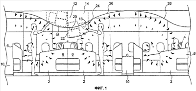
– Фиг.1 представляет собой схематический вид в частичном продольном разрезе фрагмента пассажирского салона воздушного судна в соответствии с предлагаемым изобретением;
– Фиг.2 представляет собой схематический вид в частичном поперечном разрезе фрагмента пассажирского салона воздушного судна в соответствии с предлагаемым изобретением.
На фиг.1 и 2 схематически представлено внутреннее устройство фрагмента пассажирского салона воздушного судна, предназначенного для размещения пассажиров. Рассматриваемое в данном случае воздушное судно представляет собой самолет, предназначенный для перевозки пассажиров, например, пассажирский самолет типа А-340.
В представленном фрагмента пассажирского салона воздушного судна модули 2, каждый из которых предназначен для размещения пассажиров, располагаются в виде поперечных и продольных рядов. На фиг.1 представлены упомянутые модули, принадлежащие к одному продольному ряду, тогда как на фиг.2 представлены модули, принадлежащие к одному поперечному ряду. Каждый такой модуль 2 содержит, в частности, пассажирское кресло, имеющее сиденье (на приведенных в приложении чертежах не показано) и спинку 4 (только часть которой можно видеть на приведенных в приложении чертежах), а также перегородку 6, окружающую каждое пассажирское кресло и ограничивающую определенное пространство, зарезервированное для каждого пассажира. В данном случае пассажирское кресло представляет собой, например, кресло трансформируемого типа, и в модуле могут быть предусмотрены различные вспомогательные устройства и приспособления (например, телевизионный экран или другое подобное оборудование, различные приспособления для размещения, подставки для ног и т.п.).
В представленной конфигурации только один продольно расположенный проход 8 позволяет обеспечить доступ пассажиров к своим местам в модуле 2. Проходы 10 доступа связывают модули 2 одного и того же поперечного ряда кресел с единственным межкресельным проходом 8. В салоне воздушного судна семь модулей 2 располагаются друг против друга, по четыре кресла с первой стороны от упомянутого прохода 8 и по три кресла с другой стороны от этого прохода. Каждый поперечный ряд пассажирских кресел содержит, таким образом, семь модулей 2 и может принять столько же пассажиров.
На приведенных в приложении чертежах ориентация пассажирских кресел, располагающихся в двух последовательно расположенных поперечных рядах, является противоположной. Таким образом, два соседних пассажирских кресла из одного и того же продольного ряда располагаются либо спинка к спинке, либо лицом к лицу. Такое чередующееся расположение пассажирских кресел одного и того же продольного ряда оказывается предпочтительным в рамках предлагаемого изобретения.
Данная конфигурация подобна конфигурации, представленной на фиг.6, приведенной в патенте FR-2843730. Однако предлагаемое изобретение может применяться и в других конфигурациях пассажирского салона с одним единственным продольным проходом – представленных или не представленных в патенте FR-2843730 – или же с несколькими продольными проходами. Кроме того, предлагаемое изобретение может применяться к фрагментам пассажирского салона, в которых каждое из кресел располагается внутри модуля, или же к более привычным конфигурациям, в которых кресла располагаются своими боковыми сторонами рядом друг с другом, без разделения.
Багажные отсеки 12 предназначены для размещения в них багажа пассажиров и располагаются под потолком пассажирского салона. Они размещаются поперечными рядами. Эти ряды багажных отсеков 12 располагаются над спинками 4 пассажирских кресел. При этом на уровне продольного прохода 8 багажные отсеки не предусмотрены. Таким образом, в данном случае багажные отсеки 12 находятся исключительно над креслами.
Каждый багажный отсек 12 образован коробом 14 и выдвижным ящиком 16. Классические багажные отсеки, известные из существующего уровня техники, также могут быть использованы. Короб 14 представляет собой конструкцию, закрепленную на потолке пассажирского салона и предназначенную формирования ложемента для соответствующего выдвижного ящика 16. Короб 14 и выдвижной ящик 16 содержат средства, позволяющие этому выдвижному ящику 16 перемещаться в вертикальном направлении между его открытым опущенным положением и закрытым поднятым положением. Такая достаточно простая кинематика также является оригинальной для багажного отсека. Она позволяет использовать простые и надежные механические элементы.
Выдвижные ящики 16 содержат нижнюю стенку 18, от которой в вертикальном направлении проходят две боковые стенки 20 и донная стенка 22, связывающая между собой две эти боковые стенки 20. Нижняя стенка 18 предпочтительно наклонена по отношению к горизонтальному направлению так, чтобы увлекать за собой багаж, размещенный на выдвижном ящике, в сторону донной стенки 22. В закрытом положении выдвижного ящика 16, то есть в том случае, когда этот выдвижной ящик 16 размещен в своем коробе 14, только наружная поверхность нижней стенки 18 видна из пассажирского салона. В выдвинутом положении выдвижного ящика 16 боковые стенки 20 и донная стенка 22 выступают в пространство салона, и отверстие 24, располагающееся против донной стенки 22, позволяет обеспечить размещение багажа в этом выдвижном ящике или извлечь из него багаж.
Рабочий ход каждого выдвижного ящика 16 регулируется таким образом, чтобы в том случае, когда он находится в своем опущенном положении, он не задевал голову пассажира, сидящего в кресле, находящемся под данным выдвижным ящиком 16. В закрытом положении выдвижного ящика 16 его нижняя стенка совпадает с обтекаемой формой конструкции 26.
На фиг.1 схематически проиллюстрирована загрузка (или разгрузка) багажного отсека 12. При этом пассажир, стоящий перед своим креслом, имеет возможность открыть багажный отсек без опасности ударить сидящего в кресле пассажира. Как это можно видеть на фиг.2, не предусматривается обязательное наличие багажного отсека для каждого кресла. На этой фигуре проиллюстрирован случай, когда имеются три багажных отсека для семи пассажирских кресел. Однако описанные выше багажные отсеки 12 могут представлять собой отсеки очень большой емкости. В проиллюстрированном здесь примере реализации имеются выдвижные ящики 16, в каждом из которых может быть размещено три багажных места, имеющих максимальные разрешенные в настоящее время для проноса в пассажирский салон размеры. Таким образом, имеется достаточный объем пространства для размещения девяти мест багажа, тогда как всего семь пассажиров могут претендовать на эти багажные отсеки. Это обстоятельство представляет собой значительный прогресс по сравнению с большей частью современных самолетов, в которых обычно не хватает места для размещения багажа максимального разрешенного размера для каждого пассажира. Выдвижные ящики 16 после их загрузки багажом могут оказаться достаточно тяжелыми. Для облегчения манипуляций с ними могут быть предусмотрены пневматические подъемники (или подъемники другого типа). Может быть также рассмотрено электрическое управление выдвижными ящиками 16. В этом случае электрический двигатель используется для осуществления открытия и закрытия выдвижного ящика 16 багажного отсека 12.
Упомянутые короба 14 и в целом багажные отсеки 12 объединены конструкцией обтекаемой формы для того, чтобы способствовать циркуляции воздуха в рассматриваемом фрагменте пассажирского салона. Над пассажирскими креслами и проходами 10 доступа эта обтекаемая конструкция 26 представляет форму сплющенной синусоиды. Нижние части этой обтекаемой конструкции 26 охватывают багажные отсеки 12 и располагаются над спинками 4 пассажирских кресел, тогда как верхние части этой обтекаемой конструкции 26 располагаются над проходами 10 доступа.
На фиг.1 и 2 стрелками проиллюстрированы пути циркуляции воздуха в участке пассажирского салона с обтекаемой конструкцией 26 описанного выше типа. При этом вентиляционные отверстия располагаются здесь по существу на уровне проходов 10 доступа, то есть по существу на одинаковых расстояниях от двух соседних поперечных рядов багажных отсеков 12. В этом случае обтекаемая конструкция 26 ориентирует поток воздуха, выходящий из этих вентиляционных отверстий (на приведенных в приложении чертежах не показаны) в направлении пассажиров, сидящих в креслах. На фиг.2 показаны также пути движения воздуха в поперечной плоскости. Как это можно видеть на приведенных в приложении чертежах, наличие обтекаемой конструкции 26 позволяет обеспечить создание завихрений, которые гарантируют удовлетворительную циркуляцию воздуха. Такая циркуляция воздуха отсутствует в самолетах на существующем уровне техники, в которых отсутствие каких-либо поперечных барьеров не позволяет создать сопоставимую с этим циркуляцию воздуха.
Вышеприведенная конфигурация фрагмента пассажирского салона обладает многочисленными преимуществами. Прежде всего, здесь багажные отсеки располагаются только в местах, предназначенных для размещения пассажиров в сидячем или, в случае необходимости, в положении полулежа, но не в положении стоя. Таким образом, обеспечиваются благоприятные условия для передвижения людей по пассажирскому салону.
Расположение багажных отсеков поперечными рядами представляет также определенные преимущества эстетического характера. Пассажирский салон воздушного судна имеет удлиненную форму и то обстоятельство, что сверху предусматриваются располагающиеся в поперечном направлении элементы, разбивает перспективу, создаваемую одним или несколькими продольными проходами, для пассажиров, входящих в салон. Кроме того, для пассажиров, сидящих в своих креслах или стоящих в непосредственной близости от них, такое расположение способствует созданию впечатления некоторого небольшого помещения, более уютного, чем большой зал.
Обтекаемая конструкция багажных отсеков позволяет также создать такие пути движения воздуха, которые отсутствую в пассажирских салонах воздушных судов из существующего уровня техники. Такие пути движения воздуха позволяют обеспечить наилучшую циркуляцию воздуха и наилучшее его возвращение в цикл. Кроме того, такая циркуляция воздуха повышает комфорт для пассажиров.
Циркуляция воздуха может быть обеспечена без модификации сетей распределения воздуха в современных самолетах. Таким образом, на фиг.2 показаны продольные воздушные каналы, которые аналогичны воздушным каналам, имеющимся на воздушных судах из существующего уровня техники. В примере реализации, представленном на фиг.2, можно видеть, таким образом, главный воздушный канал 28 большого диаметра, располагающийся по существу в центре салона и проходящий вдоль всего пассажирского салона воздушного судна. На основе этого главного воздушного канала 28 вторичные воздушные каналы 30, ответвляющиеся от главного воздушного канала 28, позволяют обеспечить подачу свежего воздуха в пассажирский салон воздушного судна. Эти вторичные воздушные каналы 30 могут иметь различные диаметры. В качестве не являющегося ограничительным примера на фиг.2 представлен, с каждой стороны от главного воздушного канала 28, вторичный воздушный канал относительно большого диаметра (составляющего, например, порядка 100 мм) и, несколько более удаленный от главного воздушного канала 28, вторичный воздушный канал 30 меньшего диаметра, составляющего примерно 30 мм.
Факт размещения в представленной конфигурации одного поперечного ряда кресел, в котором кресла ориентированы в направлении по полету, чередующимся образом с другим поперечным рядом кресел, в котором кресла ориентированы в направлении, противоположном направлению полета, позволяет соединить два поперечных ряда багажных отсеков. Это позволяет облегчить конструкцию багажных отсеков путем использования общих ящиков для двух смежных рядов этих багажных отсеков. В том случае, когда багажные отсеки выполнены обтекаемыми, конструкция этого обтекателя имеет по существу синусоидальную форму в виде волны, причем расстояние между двумя последовательными гребнями этой волны может быть двойным по отношению к конфигурации, в которой все кресла ориентированы в одном и том же направлении, и где простой ряд багажных отсеков располагается над каждым рядом кресел.
В предлагаемом варианте емкость багажных отсеков является достаточно большой и позволяет предложить каждому пассажиру больше пространства для размещения его ручной клади, чем в существующих в настоящее время самолетах.
В конфигурации в соответствии с предлагаемым изобретением доступ пассажира к багажным отсекам осуществляется обычно в положении стоя перед своим креслом, но не стоя в продольном проходе доступа. Таким образом, пассажиры, которые перед тем, как занять свое кресло, размещают свой багаж в багажном отсеке, не находятся в общем проходе и не препятствуют, таким образом, движению других пассажиров, занимающих свои места. Таким образом, движение в пассажирском салоне в процессе посадки и высадки пассажиров оказывается более свободным, и эти операции посадки и высадки могут быть проведены быстрее, чем в случае классической конфигурации пассажирского салона из существующего уровня техники.
Преимущество предлагаемой конфигурации также состоит в том, что она не приводит к каким-либо увеличениям затрат по сравнению с классической конфигурацией из существующего уровня техники, с использующей продольные и поперечные ряды пассажирских кресел и ряды багажных отсеков, располагающиеся по одной линии и по одну и по другую стороны от продольных проходов между креслами, позволяющими обеспечить доступ к этим креслам пассажирского салона. Предложенная достаточно простая механика багажных отсеков позволяет даже уменьшить себестоимость этих багажных отсеков по сравнению с обычными багажными отсеками из существующего уровня техники.
Предлагаемое изобретение не ограничивается приведенными выше неограничительными вариантами осуществления, но может также охватывать все возможные и доступные специалисту в данной области техники варианты, не выходящие за рамки приведенной ниже формулы этого изобретения.
Формула изобретения
1. Фрагмент пассажирского салона воздушного судна, содержащий, по меньшей мере, один проход (8) между пассажирскими креслами, ориентированный в продольном направлении, пассажирские кресла, располагающиеся поперечными рядами по отношению к продольному проходу (8), по меньшей мере одну систему багажных отсеков (12), располагающихся по одной линии и размещенных на некоторой высоте, отличающийся тем, что багажные отсеки (12) располагаются на одной линии вдоль поперечного направления над пассажирскими креслами, причем предусмотренные в салоне вентиляционные отверстия располагаются между двумя линиями расположения указанных багажных отсеков (12).
2. Фрагмент пассажирского салона воздушного судна по п.1, отличающийся тем, что он содержит воздушные каналы (28, 30), проходящие в продольном направлении над багажными отсеками, причем вентиляционные отверстия размещаются, по существу, на одинаковых расстояниях от двух линий размещения багажных отсеков, между которыми они располагаются.
3. Фрагмент пассажирского салона воздушного судна по п.1 или 2, отличающийся тем, что багажные отсеки (12) имеют обтекаемую форму без поперечных острых углов.
4. Фрагмент пассажирского салона воздушного судна по п.1, отличающийся тем, что багажные отсеки (12) размещены над спинками (4) пассажирских кресел.
5. Фрагмент пассажирского салона воздушного судна по п.2, отличающийся тем, что багажные отсеки (12) размещены над спинками (4) пассажирских кресел.
6. Фрагмент пассажирского салона воздушного судна по п.1, отличающийся тем, что линия размещения багажных отсеков (12) прерывается над продольным проходом (8) между креслами.
7. Фрагмент пассажирского салона воздушного судна по п.2, отличающийся тем, что линия размещения багажных отсеков (12) прерывается над продольным проходом (8) между креслами.
8. Фрагмент пассажирского салона воздушного судна по п.1, отличающийся тем, что каждое пассажирское кресло содержит сиденье и спинку (4), причем кресла двух последовательно расположенных рядов располагаются чередующимся образом лицом друг к другу или спинками друг к другу.
9. Фрагмент пассажирского салона воздушного судна по п.2, отличающийся тем, что каждое пассажирское кресло содержит сиденье и спинку (4), причем кресла двух последовательно расположенных рядов располагаются чередующимся образом лицом друг к другу или спинками друг к другу.
10. Фрагмент пассажирского салона воздушного судна по п.1, отличающийся тем, что каждый багажный отсек (12) содержит короб (14), закрепленный на потолке этого участка пассажирского салона воздушного судна, а также выдвижной ящик (16), имеющий возможность перемещаться между закрытым положением, в котором выдвижной ящик (16) размещается в коробе (14), и открытым положением, в котором выдвижной ящик (16) выступает за пределы короба (14), причем короб (14) и выдвижной ящик (16) имеют стенки, располагающиеся таким образом, чтобы предметы, размещаемые в упомянутом выдвижном ящике, были недоступными снаружи багажного отсека (12) в том случае, когда выдвижной ящик (16) находится в закрытом положении, и были доступными через отверстие (24) в том случае, когда выдвижной ящик (16) находится в открытом положении.
11. Фрагмент пассажирского салона воздушного судна по п.2, отличающийся тем, что каждый багажный отсек (12) содержит короб (14), закрепленный на потолке этого участка пассажирского салона воздушного судна, а также выдвижной ящик (16), имеющий возможность перемещаться между закрытым положением, в котором выдвижной ящик (16) размещается в коробе (14), и открытым положением, в котором выдвижной ящик (16) выступает за пределы короба (14), причем короб (14) и выдвижной ящик (16) имеют стенки, располагающиеся таким образом, чтобы предметы, размещаемые в упомянутом выдвижном ящике, были недоступными снаружи багажного отсека (12) в том случае, когда выдвижной ящик (16) находится в закрытом положении, и были доступными через отверстие (24) в том случае, когда выдвижной ящик (16) находится в открытом положении.
12. Фрагмент пассажирского салона воздушного судна по п.10 или 11, отличающийся тем, что выдвижной ящик (16) переходит из своего положения открытия в свое положение закрытия при помощи, по существу, вертикального поступательного перемещения.
13. Пассажирский салон воздушного судна, отличающийся тем, что содержит по меньшей мере один фрагмент в соответствии с одним из пп.1-12.
14. Воздушное судно, отличающееся тем, что содержит по меньшей мере один фрагмент пассажирского салона в соответствии с одним из пп.1-12.
РИСУНКИ
|
|