|
|
(21), (22) Заявка: 2008140541/11, 13.10.2008
(24) Дата начала отсчета срока действия патента:
13.10.2008
(46) Опубликовано: 10.06.2010
(56) Список документов, цитированных в отчете о поиске:
US 2006001232 А, 05.01.2006. US 4773663 А, 27.09.1988. SU 1754562 А, 15.08.1992. WO 0003913 A2, 27.01.2000.
Адрес для переписки:
161300, Вологодская обл., г.Тотьма, пер.Северный, 7, кв.10, С.Н.Лукьянову
|
(72) Автор(ы):
Лукьянов Сергей Николаевич (RU)
(73) Патентообладатель(и):
Лукьянов Сергей Николаевич (RU)
|
(54) ВЕЛОСИПЕД
(57) Реферат:
Велосипед относится к велосипедам с опорой на спинку, так называемым рекамбентам. Велосипед состоит из двух рам, соединенных шарниром и амортизатором. К задней части рамы прикреплено сиденье, а в передней части рамы (5) в подшипниках (10) закреплена вилка (12) с двумя перьями (14, 15) внизу и с рулем вверху. Одно перо (14) прикреплено разъемным соединением (16) к гайке (17), накрученной на ось (18) с отверстием. Другое перо (15) прикреплено разъемным соединением (19) к проушине (20) с отверстием, которая накинута на ось (18) с отверстием и имеет на конце буртик (21). На оси (18) с отверстием в подшипнике (22), находящемся между гайкой (17) и проушиной (18), установлена втулка (23) переднего колеса (3). К передней части рамы (5) по бокам переднего колеса (3) прикреплены две трубы (26, 27) с подшипниками (28, 29) на концах, в которые вставлен вал (30) с шатунами (31, 32) и педалями 33 на концах. Вал (30) проходит сквозь ось (18) с отверстием. Вал (30) связан цепной (40) передачей с задним колесом. Решение направлено на повышение надежности подшипника переднего колеса и упрощение снятия переднего колеса. 3 з.п. ф-лы, 4 ил.
Изобретение относится к транспортным средствам с мускульным приводом и может быть использовано для передвижения.
Известен велосипед «BIGHA», выпускаемый серийно в США, с сиденьем в виде кресла со спинкой и с кареткой с шатунами и педалями, расположенными над поворотным передним колесом, и с цепной передачей, связывающей каретку с задним колесом (cм. www.membrana.ru).
Этот велосипед неудобен тем, что надо высоко задирать ноги над передним колесом, а также из-за малого диаметра переднего колеса у этого велосипеда невысокая проходимость.
Известен велосипед «Рейнжер», выпускаемый серийно в США, с сиденьем в виде кресла со спинкой и с кареткой с шатунами и с педалями, расположенными перед поворотным передним колесом, и с цепной передачей, связывающей каретку с задним колесом (cм. www.velomobil.nm.ru).
Этот велосипед имеет, из за длинной базы, очень большие габариты и вес.
Недостатком данного велосипеда является недостаточный угол поворота вилки переднего колеса, а с ним и невысокая маневренность велосипеда, так как из за консольного крепления оси со сквозным отверстием перо вилки для жесткости должно быть широким.
Но при повороте вилки, если еще, как и полагается, сместить ось со сквозным отверстием вперед относительно оси поворота вилки для лучшей управляемости, то широкое перо вилки даже при небольшом повороте упрется в подшипник вала каретки. Расширять же расстояние между педалями крайне нежелательно, так как педали и так расположены гораздо шире, чем у известных велосипедов. Кроме того, консольное крепление оси на ухабах благодаря упругой деформации единственного пера вилки приводит к удару оси с отверстием по валу с шатунами, что приведет к выходу подшипника переднего колеса из строя. Передача двумя цепными передачами имеет меньший кпд, а расположение одной из звездочек в месте движения колена велосипедиста будет мешать педалировать. Недостатком данного велосипеда является также сложность снятия колеса для ремонта камеры при проколе.
Целью настоящего изобретения является повышение удобства эксплуатации путем повышения маневренности, не расширяя расстояние между педалями. Эта цель достигается тем, что велосипед состоит из рамы с сиденьем, установленной на заднем приводном колесе и переднем поворотном колесе, втулка которого снабжена подшипником, установленным на оси со сквозным отверстием, которая закреплена в поворотной вилке, ось которой закреплена в подшипниках рамы и снабжена рулем на конце, при этом к раме в подшипниках прикреплен вал с шатунами и педалями на концах так, что вал проходит сквозь отверстие оси колеса, при этом вал связан цепной передачей и муфтой свободного хода с вращением заднего колеса.
Новым является то, что вилка снабжена двумя перьями, охватывающими колесо с двух сторон. Одно перо вилки прикреплено разъемным соединением, например винтом, к гайке, накрученной на ось с отверстием, а другое перо вилки прикреплено разъемным соединением, например винтом, к проушине с отверстием, накинутой на ось с отверстием и имеющей на конце буртик, при этом гайка прижимает подшипник, установленный на оси с отверстием, к проушине и через нее к буртику на конце оси. Велосипед может быть выполнен так, что для убыстрения снятия колеса при его проколе вал с шатунами на концах выполнен из двух частей, соединенных винтовым соединением. Велосипед может быть выполнен так, что для повышения удобства езды и возможности быстрой разборки велосипеда для транспортировки его другим транспортом рама его состоит из двух частей, соединенных шарниром с горизонтальной поперечной осью, при этом к одной из рам шарниром одним концом прикреплен амортизатор, который другим своим концом шарниром прикреплен к другой раме, при этом сиденье прикреплено к задней части рамы, а к передней части рамы прикреплены два отклоняющих ролика для обеих ветвей цепи, при этом ролики находятся под сиденьем и выше осей колес. Велосипед может быть выполнен так, чтобы не пачкать цепью ногу, а также не дать колесу задевать цепь при повороте вилки в крайнее положение, на верхнюю ветвь цепи около переднего колеса надета пластиковая трубка, а к вилке прикреплен упор, упирающий в трубку и в нижнюю ветвь цепи при повороте вилки переднего колеса.
Изобретение поясняется чертежами.
Фиг.1 изображает велосипед сбоку.
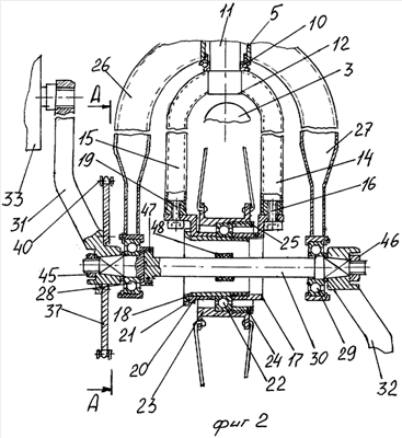
Фиг.2 изображает узел переднего колеса с частичными разрезами.
Фиг.3 – разрез А-А на фиг 2.
Фиг.4 изображает узел переднего колеса с двумя подшипниками во втулке.
Велосипед включает раму с сиденьем 1, установленную на заднем приводном колесе 2 и переднем поворотном колесе 3. Рама состоит из рам 4 и 5, соединенных шарниром 6 с горизонтальной поперечной осью. К раме 4 шарниром 7 прикреплен амортизатор 8, который шарниром 9 прикреплен к раме 5. К раме 5 в подшипниках 10 прикреплена ось 11 поворотной вилки 12 и снабжена рулем 13 на верхнем конце. Вилка 12 снабжена перьями 14 и 15, охватывающими колесо 3. Одно перо 14 разъемным соединением, например винтом 16, прикреплено к гайке 17, накрученной на ось 18 со сквозным отверстием вдоль нее. Другое перо 15 вилки 12 прикреплено разъемным соединением, например винтом 19, к проушине 20 с отверстием, накинутой на ось 18. Ось 18 имеет на конце буртик 21, который снабжен шлицами для вкручивания оси 18 в гайку 17. Между гайкой 17 и проушиной 18 зажат подшипник 22, который установлен во втулке 23 переднего колеса 3 и зажат в ней кольцом 24 с наружной резьбой. Кольцо 24 для его закручивания снабжено шлицами 25 на торце. К раме 5 по бокам переднего колеса 3 прикреплены две трубы 26 и 27, у которых на концах закреплены подшипники 28 и 29. В подшипниках установлен вал каретки 30, снабженный на концах шатунами 31 и 32 с педалями 33 и 34. Трубы 26 и 27 для жесткости прикреплены к раме 5 дополнительными распорками 35. Вал каретки 30 кинематически связан цепной передачей и муфтой свободного хода 36 с вращением заднего колеса 2. Цепная передача состоит из звездочки 37 и блока звездочек 38 с монеточным переключателем скоростей 39, на которые накинута цепь 40. На раме 5 под сиденьем 1 дополнительно закреплены отклоняющие для цепи 40 ролики с ребордами 41 и 42. Для того чтобы не пачкать ногу о цепь 40, на верхнюю ветвь цепи 40 накинута пластиковая трубка 43, один конец которой прикреплен к трубе 26. К вилке 12 прикреплен упор 44, отклоняющий обе ветви цепи от колеса 3 при крайнем повороте вилки 12. Для удобного управления крепление оси 18 к вилке 12 должно быть осуществлено с выносом оси 18 вперед на расстояние L относительно оси 11 поворота вилки 12. В этом случае угол между осью вилки 18 и осью труб 26 и 27 должен быть в пределах 3-7 градусов. Шатуны 31 и 32 крепятся на валу каретки 30 гайками 45 и 46. Вал каретки 30 может быть выполнен составным из двух частей, соединенных винтовым соединением 47, соединенных таким образом, чтобы при закручивания винтового соединения до упора шатуны 31 и 32 встали оппозитно друг другу. При проколе колеса достаточно крутануть педали навстречу друг другу, и винтовое соединение разомкнется. Далее вал каретки 30 сдвигается вбок. Откручиваются винты 16 и 19 и колесо вынимается. На ухабах благодаря упругой деформации вилки 12 возможен удар оси с отверстием 18 по валу каретки 30, что может вывести подшипники 22, 28 и 29 из строя. Поэтому на середине вала каретки закреплено резиновое кольцо 48, смягчающее удар. Сиденье 1 снабжено направляющей 49, вставленной в хомут 50, прикрепленный к раме 4. К сиденью также прикреплен хомут 51, насаженный на направляющую 52, прикрепленную к раме 4. Это позволяет сдвигать сиденье 1 и фиксировать его хомутами 50 и 51 под длину ног водителя. Вместо винтов 19 и 16 может также использоваться крепление хомутами. Хомуты крепятся к гайке 17 и проушине 18, а перья 14 и 15 снабжаются штырями на конце и вставляются в эти хомуты. При вынимании осей шарниров 6 и 9 велосипед раскладывается на две примерно одинаковые части, что удобно при перевозке его другим транспортом. Заявленный велосипед имеет достаточную маневренность, удобную посадку, обеспечивает комфортную езду по любой дороге.
Формула изобретения
1. Велосипед, включающий раму с сиденьем, установленную на заднем приводном колесе и переднем поворотном колесе, втулка которого снабжена подшипником, установленным на оси со сквозным отверстием, которая закреплена в поворотной вилке, ось которой закреплена в подшипниках рамы и снабжена рулем на конце, при этом к раме в подшипниках прикреплен вал с шатунами и педалями на концах так, что вал проходит сквозь отверстие оси колеса, при этом вал связан цепной передачей и муфтой свободного хода с вращением заднего колеса, отличающийся тем, что вилка снабжена двумя перьями, охватывающими колесо с двух сторон, одно перо которой прикреплено разъемным соединением, например винтом, к гайке, накрученной на ось с отверстием, а другое перо вилки прикреплено разъемным соединением, например винтом, к проушине с отверстием, накинутой на ось с отверстием, и имеющим на конце буртик, при этом гайка прижимает подшипник, установленный на оси с отверстием, к проушине и через нее к буртику на конце оси.
2. Велосипед по п.1, отличающийся тем, что вал с шатунами на концах выполнен из двух частей, соединенных винтовым соединением.
3. Велосипед по п.1, отличающийся тем, что рама состоит из двух частей, соединенных шарниром с горизонтальной поперечной осью, при этом к одной из рам шарниром одним концом прикреплен амортизатор, который другим своим концом шарниром прикреплен к другой раме, при этом сиденье прикреплено к задней части рамы, а к передней части рамы прикреплены два отклоняющих ролика для обеих ветвей цепи, при этом ролики находятся под сиденьем и выше осей колес.
4. Велосипед по п.1 или 3, отличающийся тем, что на верхнюю ветвь цепи около переднего колеса надета пластиковая трубка, а к вилке прикреплен упор, упирающийся в трубку и в нижнюю ветвь цепи при повороте вилки переднего колеса.
РИСУНКИ
|
|