|
|
(21), (22) Заявка: 2009114239/11, 14.04.2009
(24) Дата начала отсчета срока действия патента:
14.04.2009
(46) Опубликовано: 10.06.2010
(56) Список документов, цитированных в отчете о поиске:
RU 2297351 C1, 20.04.2007. CH 667243 A5, 30.09.1988. ЕР 0790166 А2, 20.08.1997. ЛУКИН В.В. и др. Вагоны. Общий курс. – М.: Маршрут, 2004, стр.247-249.
Адрес для переписки:
399770, Липецкая обл., г. Елец, ул. Коммунаров, 28, Елецкий государственный университет им. И.А. Бунина, Ректору, В.П. Кузовлеву
|
(72) Автор(ы):
Сливинский Евгений Васильевич (RU), Теслин Вячеслав Владимирович (RU), Карасёв Даниил Игоревич (RU), Анохина Татьяна Николаевна (RU)
(73) Патентообладатель(и):
Государственное образовательное учреждение высшего профессионального образования “Елецкий государственный университет им. И.А. Бунина” (RU)
|
(54) ГРУЗОВОЙ ВАГОН
(57) Реферат:
Изобретение относится к рельсовому транспорту. Грузовой вагон состоит из кузова, рамы, тележек с колесными парами и пневмотормозной системы. На боковине тележки установлен дополнительный пневмоцилиндр (11), в осевом канале штока (8) которого подвижно установлено подпружиненное сферическое тело качения, взаимодействующее в случае истощения тормоза с полусферическим углублением, выполненным на торцевой поверхности колеса (5). Изобретение исключает возможность самодвижения подвижного состава в случае истощения тормоза. 2 ил.
Предлагаемое изобретение относится к области рельсовых транспортных средств и может быть использовано, например, в конструкциях грузовых вагонов.
Известен четырехосный вагон самосвал 6ВС60 грузоподъемностью 60 тонн (см. книгу Логинов А.И., Афанаскин Н.Е. Вагоны-самосвалы. М.; Машиностроение, 1975 г., стр.59-66 рис.34), который состоит из кузова, верхней рамы с бортами, нижней рамы и механизма открывания бортов. Нижняя рама взаимосвязана с двумя двуосными тележками ЦНИИ-ХЗ при помощи шкворней (см. ту же книгу рис.82 стр.126-127). Такие тележки имеют литые боковые рамы (боковины), надрессорную балку, две колесные пары с буксами на подшипниках качения, тормозное оборудование и два рессорных комплекта. Тормозное оборудование включает в себя воздухораспределитель, тормозной цилиндр, запасный резервуар, тормозную магистраль, разобщительный кран и рычажную передачу управления тормозными колодками (см. ту же книгу стр.149-152). Несмотря на совершенство конструкции и эффективность использования такого вагона самосвала последний обладает существенным недостатком, заключающимся в том, что в случаях истощения тормоза при длительных стоянках на станционных, промышленных путях или в пунктах отстоя и отсутствия тормозных башмаков под колесами колесных пар возможно самодвижение как одиночного вагона, так и состава в целом. Известно, что в случае возникновения самодвижения подвижного состава в условиях эксплуатации такое явление приводит к серьезным авариям и катастрофам.
Известен также вагон-самосвал, состоящий из кузова (см. книгу Железнодорожный транспорт: Энциклопедия / Гл. ред. Н.С.Конарев. М.: Большая Российская Энциклопедия, 1994 г., стр.57 рис.3), взаимосвязанного с двухосными тележками, которые снабжены тормозным оборудованием, подобным по конструкции, которое использовано в аналоге. В целом такой вагон самосвал идентичен по всем основным характеристикам вышеописанному грузовому вагону и поэтому недостатки их подобны.
Поэтому целью предлагаемого изобретения является разработка технических мероприятий, исключающих возможность самодвижения вагонов-самосвалов в случае истощения тормоза.
Поставленная цель достигается тем, что на торцевой поверхности по крайней мере одного из колес, обращенной в сторону буксы, выполнено углубление полусферической формы, взаимосвязанное, в случае истощения запасного резервуара, с подпруженным сферическим телом качения, установленным подвижно в осевом канале штока поршня дополнительного цилиндра, в надпоршневой полости которого установлена пружина сжатия, контактирующая с упомянутым поршнем, а подпоршневая его полость соединена трубопроводом с запасным резервуаром пневмотормозной системы грузового вагона.
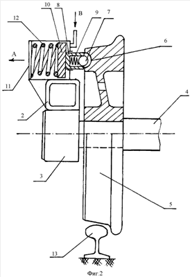
На чертежах: на фиг.1 показан общий вид грузового вагона сбоку и на фиг.2 – укрупненная часть колеса колесной пары в зоне примыкания ее к боковине тележки.
Грузовой вагон состоит из кузова 1, взаимосвязанного с боковинами 2 тележек, в которых размещены буксы 3 с осями 4 и неподвижно на них закрепленными колесами 5. В одном из колес 5 с торцевой его стороны, примыкающей к буксе 3, выполнено углубление полусферической формы 6, взаимодействующее с сферическим телом качения 7, установленным в штоке 8 и подпружиненным относительно него пружиной сжатия 9. Шток 8 жестко присоединен к поршню 10, установленному в пневмоцилиндре 11 и подпружиненному относительно его пружиной сжатия 12. Грузовой вагон перемещается по рельсовому пути 13.
Работает грузовой вагон следующим образом. При длительной стоянке, на перегонах и станциях, или пунктах отстоя, одиночный вагон или вагоны находятся в составе грузового поезда, при отцепленном локомотиве, как известно, может произойти истощение тормоза и тогда возможно возникновение их самодвижения. Однако в данном случае этого не произойдет, так как отсутствие давления сжатого воздуха в подпоршневой части цилиндра 11 (см. фиг.2) позволит занять поршню 10 крайнее правое положение, за счет наличия пружины сжатия 12, и его шток 8 своим сферическим телом качения 7, находясь в углублении полусферической формы 6, исключит возможность углового поворота колеса 5. Такая фиксация колес 5 будет достаточно эффективна не только на ровных площадках рельсового пути 13, но и его руководящих уклонах, наибольше значение которых может наблюдаться на перегонах. Следует отметить, что описанное положение деталей устройства не всегда желательно, например, в случае роспуска и формирования грузовых поездов на сортированных горках, когда истощение тормоза вагона просто необходимо, чтобы тормозные колодки не имели контакта с колесами 5 (такая операция широко известна в технике и осуществляется на практике). Поэтому в штоке 8 предусмотрена установка пружины сжатия 9, жесткость которой подобрана такой, что при уклонах, превышающих руководящие, она не способна удержать сферическое тело качения 7 в углублении полусферической формы 6 и тогда под действием сил собственного веса вагона и крутящего момента, возникшего на его колесе 5, сферическое тело качения 7 переместится по стрелке А, упруго сформировав пружину сжатия 9, что обеспечит колесу 5 вращение, а следовательно, и перемещение грузового вагона вдоль уклона сортировочной горки. Более того колесо 5 грузового вагона, зафиксированное сферическим телом качения 7, может также получить вращение, если к вагону будет приложено усилие, создаваемое силой тяги, например маневровым локомотивом при преодолении подъема сортированной горки или движения указанных звеньев по горизонтальной площадке рельсового пути. В случае же когда грузовой вагон будет прицеплен к локомотиву и их главные тормозные магистрали будут связаны между собой, сжатый воздух поступит по стрелке В в подпоршневую полость цилиндра 11 и тогда его поршень 12 совместно со штоком 8 и сферическим телом качения 7 переместится влево по стрелке А, сжав при этом пружину сжатия 12, обеспечив тем самым свободное вращение колеса 5, а следовательно, и движение грузового вагона. Далее описанные режимы могут повторяться неоднократно.
Технико-экономическое преимущество предложенного технического решения в сравнении с известными конструкциями грузовых вагонов очевидно, так как оно направлено на исключение самодвижения вагонов при истощении тормоза и забывчивости персонала укладывать под колеса подвижного состава башмаки.
Формула изобретения
Грузовой вагон, включающий кузов, раму и тележки, состоящие из боковин с буксами, осями и колесами, а также пневмотормозную систему, состоящую из тормозной магистрали, воздухораспределителя, запасного резервуара и тормозного цилиндра, отличающийся тем, что на торцевой поверхности, по крайней мере, одного из колес, обращенной в сторону буксы, выполнено углубление полусферической формы, взаимосвязанное, в случае истощения запасного резервуара, с подпружиненным сферическим телом качения, установленным подвижно в осевом канале штока поршня дополнительного цилиндра, в надпоршневой полости которого установлена пружина сжатия, контактирующая с упомянутым поршнем, а подпоршневая его полость соединена трубопроводом с запасным резервуаром пневмотормозной системы грузового вагона.
РИСУНКИ
|
|