|
|
(21), (22) Заявка: 2009108833/11, 12.03.2009
(24) Дата начала отсчета срока действия патента:
12.03.2009
(46) Опубликовано: 10.06.2010
(56) Список документов, цитированных в отчете о поиске:
Асадченко В.Р. Автоматические тормоза подвижного состава. – М.: Маршрут, 2006, с.124-134. Асадченко В.Р. Автоматические тормоза подвижного состава железнодорожного транспорта. Воздухораспределитель. Тип 483М. – М.: УМК МПС РОССИИ, 2002; с.30, 50, 71-75. Крылов В.И. и др. Тормозное оборудование железнодорожного подвижного состава. Справочник. – М.:Транспорт, 1989; с.53, 173-179, 194, 349. RU 73297 U1, 20.05.2008. DE 2029408 A1, 23.12.1971. US 4653812 A, 31.03.1987.
Адрес для переписки:
125190, Москва, ул. Лесная, 28, Открытое акционерное общество МТЗ ТРАНСМАШ
|
(72) Автор(ы):
Афанасьев Сергей Иванович (RU), Козюлин Лев Васильевич (RU)
(73) Патентообладатель(и):
Открытое акционерное общество МТЗ ТРАНСМАШ (RU)
|
(54) ТОРМОЗНАЯ СИСТЕМА ЖЕЛЕЗНОДОРОЖНОГО ТРАНСПОРТНОГО СРЕДСТВА
(57) Реферат:
Изобретение относится к области железнодорожного транспорта, а именно к устройству тормозных систем железнодорожных транспортных средств. Тормозная система содержит тормозную магистраль с соединительными рукавами, с концевыми и разобщительными кранами, воздухораспределитель, запасный резервуар, автоматический регулятор грузовых режимов торможения и тормозной цилиндр. Шток тормозного цилиндра через регулятор выхода штока тормозного цилиндра и рычажную передачу связан с тормозной колодкой. Воздухораспределитель пневматически связан через разобщительный кран с тормозной магистралью, а через подводящий воздухопровод и автоматический регулятор – с тормозным цилиндром. Соотношение площадей проходных сечений впускного питательного канала воздухораспределителя и выпускного канала воздухораспределителя выбрано в соответствии с величиной тормозного нажатия на колесо единицы железнодорожного транспортного средства с различной нагрузкой на ось в пределах 1,6÷2,5. Величина диаметра проходного сечения выпускного канала установлена не менее 5 мм. Достигается обеспечение требуемой силы сжатого воздуха в тормозном цилиндре тормозной системы железнодорожных транспортных средств с различной нагрузкой на ось при торможении с обеспечением установленных по техническим требованиям безопасности движения железнодорожных транспортных средств временных характеристик процессов торможения, отпуска и величины тормозного пути. 1 ил.
Изобретение относится к области железнодорожного транспорта, а более конкретно к устройству тормозных систем железнодорожных транспортных средств, предназначенных для осуществления тормозных и отпускных процессов транспортных средств при подаче управляющих пневматических сигналов путем создания соответствующего давления сжатого воздуха в тормозном цилиндре и преобразования силы сжатого воздуха в тормозном цилиндре в силу тормозного нажатия между тормозной колодкой и колесом транспортного средства.
Известны тормозные системы железнодорожных транспортных средств, преимущественно грузовых вагонов (см. авт. св. 1523435, МПК В60T 13/26; патент ФРГ 2029408, МПК В60T 13/26; патент США 4653812, НКИ 303/33; патент РФ 73297, МПК В61Н 11/02). Они содержат тормозную магистраль, воздухораспределитель, запасный резервуар, тормозной цилиндр, шток которого связан с тормозной колодкой. В этих тормозных системах для обеспечения временных характеристик процессов торможения и отпуска, величин тормозного нажатия в соответствии с установленными по условиям безопасности движения железнодорожных транспортных средств техническими нормативами применяют ряд дополнительных узлов и приборов. Это усложняет устройство тормозных систем железнодорожных транспортных средств и может привести к снижению их надежности действия.
Наиболее близкой по совокупности существенных признаков заявляемой тормозной системе является тормозная система грузового вагона (см.: 1) справочник «Тормозное оборудование железнодорожного подвижного состава», Москва: «Транспорт», 1989 г., стр.53, 177, 194, 349; 2) альбом «Автоматические тормоза подвижного состава железнодорожного транспорта», В.Р.Асадченко, УМК МПС России, Москва 2002, стр.50, 30, 71, 72, 74, 75). Она содержит тормозную магистраль с заданной величиной зарядного давления в ней. Тормозная магистраль служит для снабжения сжатым воздухом тормозной системы и подачи управляющих пневматических сигналов и имеет соединительные рукава, концевые и разобщительные краны. Тормозная система содержит также по меньшей мере один воздухораспределитель, имеющий главную и магистральную части, по меньшей мере по одному тормозному цилиндру, запасному резервуару, регулятору грузовых режимов торможения. Воздухораспределитель имеет впускной питательный канал, входом связанный с запасным резервуаром, и выпускной канал, выходом сообщенный с атмосферой. Воздухораспределитель пневматически связан с тормозной магистралью через разобщительный кран. С тормозным цилиндром воздухораспределитель пневматически связан через подводящий воздухопровод и автоматический регулятор грузовых режимов торможения. Подводящий воздухопровод соединен с выходом впускного питательного канала (в процессе торможения) или с входом выпускного канала (в процессе отпуска). Шток тормозного цилиндра через регулятор выхода штока тормозного цилиндра и рычажную передачу связан с тормозными колодками, служащими для передачи силы сжатого воздуха в тормозном цилиндре на колесо единицы железнодорожного транспортного средства и создания тормозного нажатия при торможении. При подаче управляющего пневматического сигнала на торможение в тормозной системе осуществляется подача сжатого воздуха из запасного резервуара в тормозной цилиндр через впускной питательный канал, подводящий воздухопровод, автоматический регулятор грузовых режимов торможения. При полном служебном или экстренном торможении в тормозном цилиндре устанавливается максимально допустимая по техническим требованиям, принятым на железнодорожном транспорте, величина давления сжатого воздуха. Сила этого сжатого воздуха передается через регулятор выхода штока и рычажную передачу на тормозную колодку, преобразуясь в силу тормозного нажатия между тормозной колодкой и колесом, являясь ее основной составляющей. В конечном итоге, между колесом и рельсом возникает тормозная сила, в которую преобразуется сила тормозного нажатия. При этом кинетическая энергия движущегося железнодорожного транспортного средства (грузового вагона) преобразуется в тепловую энергию между колесом и тормозной колодкой, которые нагреваются, рассеивая тепло в атмосферу. Происходит остановка транспортного средства. Для отпуска тормоза подается соответствующий управляющий пневматический сигнал по тормозной магистрали. Тормозной цилиндр сообщается через выпускной канал с атмосферой. На железнодорожном транспорте существует постоянная тенденция к увеличению массы грузового вагона, связанная, в первую очередь, с необходимостью увеличения пропускной способности железнодорожного транспорта. При увеличении массы единицы железнодорожного транспортного средства, например массы грузового вагона, и соответственно увеличении нагрузки на ось, но при сохранении установленной величины тормозной силы, уменьшается замедление вагона и соответственно увеличивается тормозной путь. Поэтому, для сохранения установленной по техническим требованиям безопасности движения на железнодорожном транспорте величины тормозного пути требуется сохранить необходимое замедление вагона, то есть увеличить тормозную силу, силу тормозного нажатия, а следовательно, силу сжатого воздуха в тормозном цилиндре. Так как сила сжатого воздуха в тормозном цилиндре ограничивается заданной установленной величиной давления сжатого воздуха в тормозном цилиндре при торможении, это приводит к необходимости увеличения количества сжатого воздуха в тормозном цилиндре и увеличения объема запасного резервуара. Однако установленные значения проходных сечений впускного питательного канала (не более 28 мм2) и выпускного канала (~6,15 мм2), с одной стороны, увеличивают характеристики тормозных процессов, увеличивая тормозные пути, с другой стороны, увеличивают характеристики отпускных процессов, уменьшая пропускную способность железнодорожного транспорта. Это может привести к нарушению безопасности движения на железнодорожном транспорте.
Заявляемая тормозная система железнодорожного транспортного средства решает задачу повышения безопасности движения железнодорожных транспортных средств с различной нагрузкой на ось.
Технический результат, который будет получен при осуществлении предлагаемого изобретения, заключается в обеспечении требуемой силы сжатого воздуха в тормозном цилиндре тормозной системы железнодорожных транспортных средств с различной нагрузкой на ось при торможении с обеспечением установленных по техническим требованиям безопасности движения железнодорожных транспортных средств временных характеристик процессов торможения и отпуска, величины тормозного пути.
Указанный технический результат достигается тем, что в известной тормозной системе железнодорожного транспортного средства, содержащей тормозную магистраль снабжения сжатым воздухом системы и подачи управляющих пневматических сигналов с заданной величиной зарядного давления в ней, имеющую соединительные рукава, концевые и разобщительные краны, а также содержащей по меньшей мере один воздухораспределитель с главной и магистральной частями, по меньшей мере по одному тормозному цилиндру, запасному резервуару, автоматическому регулятору грузовых режимов торможения, при этом воздухораспределитель, имеющий впускной питательный канал, входом связанный с запасным резервуаром, выпускной канал, выходом сообщенный с атмосферой, пневматически связан с тормозной магистралью через разобщительный кран, с тормозным цилиндром через автоматический регулятор грузовых режимов торможения и подводящий воздухопровод, соединенный с выходом впускного питательного канала при торможении или с входом выпускного канала при отпуске, а шток тормозного цилиндра через регулятор выхода штока тормозного цилиндра и рычажную передачу связан с тормозными колодками передачи силы сжатого воздуха в тормозном цилиндре на колесо единицы железнодорожного транспортного средства и создания тормозного нажатия при торможении, соотношение площадей проходных сечений впускного питательного канала и выпускного канала выбрано в соответствии с величиной тормозного нажатия на колесо единицы железнодорожных транспортных средств с различной нагрузкой на ось в пределах 1,6÷2,5, при этом величина диаметра проходного сечения выпускного канала установлена не менее 5 мм.
Такое выполнение предлагаемой тормозной системы железнодорожного транспортного средства обеспечивает требуемую силу сжатого воздуха в тормозном цилиндре тормозной системы железнодорожных транспортных средств с различной нагрузкой на ось при торможении с обеспечением установленных по техническим требованиям безопасности движения железнодорожных транспортных средств характеристик процессов торможения и отпуска, величины тормозного пути.
В тормозной системе грузовых вагонов с нагрузкой на ось в 25 т и более применяют тормозные цилиндры размером до 16 (или несколько тормозных цилиндров) и запасные резервуары увеличенных объемов. Как видно из установленного соотношения проходных сечений впускного питательного и выпускного каналов и размера проходного сечения выпускного канала, минимальное проходное сечение впускного питательного канала установлено не менее 40 мм2, проходное сечение выпускного канала установлено не менее 19,6 мм2. При торможении грузовые вагоны с такими нагрузками на ось имеют тормозной путь, установленный техническими требованиями безопасности движения железнодорожных транспортных средств. Это объясняется тем, что количество сжатого воздуха, поступившего в тормозной цилиндр через впускной питательный канал при заданной установленной величине давления сжатого воздуха в тормозном цилиндре и заданном установленном времени его поступления, создает силу сжатого воздуха, а значит, силу тормозного нажатия и тормозную силу, определяющую необходимое замедление вагона для остановки на требуемом тормозном пути. При подаче управляющего пневматического сигнала на отпуск тормоза происходит сообщение тормозного цилиндра с атмосферой через выпускной канал. Все количество сжатого воздуха из тормозного цилиндра перетекает в атмосферу за время отпуска тормоза, установленное по техническим требованиям безопасности движения железнодорожных транспортных средств и их пропускной способности.
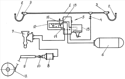
На приведенном чертеже схематично изображен общий вид предлагаемой тормозной системы железнодорожного транспортного средства (пример выполнения).
Тормозная система содержит тормозную магистраль 1, служащую для снабжения сжатым воздухом тормозной системы и подачи управляющих пневматических сигналов. Тормозная магистраль 1 пневматически соединена с устройством подачи управляющих пневматических сигналов, которое связано с источником сжатого воздуха (на чертеже не показано). В тормозной магистрали 1 устанавливается зарядное давление сжатого воздуха заданной величины, принятой на железнодорожном подвижном составе. Тормозная магистраль 1 имеет соединительные рукава 2, концевые краны 3, разобщительный кран 4. Тормозная система содержит по меньшей мере один воздухораспределитель 5, по меньшей мере один запасный резервуар 6, по меньшей мере один автоматический регулятор 7 грузовых режимов торможения (авторежим 7), по меньшей мере один тормозной цилиндр 8. Через регулятор 9 выхода штока тормозного цилиндра и рычажную передачу (на чертеже не изображена) осуществляется связь штока 10 тормозного цилиндра 8 с тормозной колодкой 11, которая в процессе торможения передает силу сжатого воздуха в тормозном цилиндре 8 на колесо единицы железнодорожного транспортного средства, например грузового вагона, для создания силы тормозного нажатия. Воздухораспределитель 5 имеет главную часть 12, магистральную часть 13. Через разобщительный кран 4 воздухораспределитель 5 пневматически связан с тормозной магистралью 1. Через подводящий воздухопровод 14 и авторежим 7 воздухораспределитель 5 пневматически сообщен с тормозным цилиндром 8. Воздухораспределитель 5 имеет впускной питательный канал 15 и выпускной канал 16. Вход впускного питательного канала 15 связан с запасным резервуаром 6, а его выход при торможении соединен с подводящим воздухопроводом 14. Выход выпускного канала 16 связан с атмосферой, а его вход соединен с подводящим воздухопроводом 14 в отпускном положении тормоза. Соотношение площадей проходных сечений впускного питательного канала 15 и выпускного канала 16 установлено в пределах 1,6÷2,5, а диаметр проходного сечения выпускного канала установлен не менее 5 мм. Эти величины выбраны в соответствии с величиной тормозного нажатия на колесо единицы железнодорожных транспортных средств с различной нагрузкой на ось, обеспечивающей их остановку при торможении на заданном, установленном техническими требованиями безопасности движения железнодорожного транспорта, тормозном пути. При этом обеспечивается и установленное по техническим требованиям время отпуска тормоза.
Тормозная система железнодорожного транспортного средства, например грузового вагона, действует следующим образом.
При зарядке тормоза осуществляется подача сжатого воздуха в тормозную магистраль 1 для создания запаса сжатого воздуха в тормозной системе и для обеспечения подачи по тормозной магистрали управляющих пневматических сигналов. Тормозная магистраль 1 заряжается до установленного по техническим требованиям зарядного давления. Также до зарядного давления заряжается запасный резервуар 6 и соответствующие полости и камеры (на чертеже не показаны) воздухораспределителя 5.
Для осуществления процесса торможения по тормозной магистрали 1 подается соответствующий пневматический управляющий сигнал на воздухораспределитель 5, который перекрывает сообщение подводящего воздухопровода 14 с выпускным каналом 16 и сообщает его с выходом впускного питательного канала 15. Происходит подача сжатого воздуха из запасного резервуара 6 в тормозной цилиндр 8 через впускной питательный канал 15, подводящий воздухопровод 14, авторежим 7. При полном служебном или экстренном торможении в тормозном цилиндре 8 устанавливается максимально допустимая по техническим требованиям, принятым на железнодорожном транспорте, величина давления сжатого воздуха. Через впускной питательный канал 15 с площадью проходного сечения, выполненной согласно выбранному соотношению площадей проходных сечений каналов 15 и 16, в тормозной цилиндр 8 поступит такое количество сжатого воздуха в установленное по техническим требованиям время, которое при этом давлении создаст силу сжатого воздуха, а значит, силу тормозного нажатия и тормозную силу, достаточную для остановки железнодорожного транспортного средства на заданном по техническим требованиям тормозном пути.
При подаче управляющего пневматического сигнала на отпуск тормоза подводящий воздухопровод 14 соединяется с выпускным каналом 16. Тормозной цилиндр 8 через выпускной канал 16 с площадью поперечного сечения, выполненной согласно выбранному значению величины его диаметра и соотношению площадей проходных сечений каналов 15 и 16, сообщается с атмосферой. Все количество сжатого воздуха, поступившего в тормозной цилиндр 8, перетекает в атмосферу за время отпуска тормоза, установленное по техническим требованиям безопасности движения железнодорожных транспортных средств и их пропускной способности.
Формула изобретения
Тормозная система железнодорожного транспортного средства, содержащая тормозную магистраль снабжения сжатым воздухом системы и подачи управляющих пневматических сигналов с заданной величиной зарядного давления в ней, имеющую соединительные рукава, концевые и разобщительные краны, а также содержащая по меньшей мере один воздухораспределитель с главной и магистральной частями, по меньшей мере по одному тормозному цилиндру, запасному резервуару, автоматическому регулятору грузовых режимов торможения, при этом воздухораспределитель, имеющий впускной питательный канал, входом связанный с запасным резервуаром, выпускной канал, выходом сообщенный с атмосферой, пневматически связан с тормозной магистралью через разобщительный кран с тормозным цилиндром через автоматический регулятор грузовых режимов торможения и подводящий воздухопровод, соединенный с выходом впускного питательного канала при торможении или с входом выпускного канала при отпуске, а шток тормозного цилиндра через регулятор выхода штока тормозного цилиндра и рычажную передачу связан с тормозными колодками передачи силы сжатого воздуха в тормозном цилиндре на колесо единицы железнодорожного транспортного средства и создания тормозного нажатия при торможении, отличающаяся тем, что соотношение площадей проходных сечений впускного питательного канала и выпускного канала выбрано в соответствии с величиной тормозного нажатия на колесо единицы железнодорожного транспортного средства с различной нагрузкой на ось в пределах 1,6÷2,5, при этом величина диаметра проходного сечения выпускного канала установлена не менее 5 мм.
РИСУНКИ
|
|