|
|
(21), (22) Заявка: 2007117017/11, 01.08.2005
(24) Дата начала отсчета срока действия патента:
01.08.2005
(30) Конвенционный приоритет:
06.10.2004 US 10/959,256
(43) Дата публикации заявки: 20.11.2008
(46) Опубликовано: 10.06.2010
(56) Список документов, цитированных в отчете о поиске:
JP 5085295 А, 06.04.1993. US 2004/0012179 A1, 22.01.2004. US 6139048 A, 31.10.2000. US 2004/0056459 A1, 25.03.2004. RU 2185912 C2, 27.07.2002. RU 2075409 C1, 20.03.1997.
(85) Дата перевода заявки PCT на национальную фазу:
07.05.2007
(86) Заявка PCT:
US 2005/027255 20050801
(87) Публикация PCT:
WO 2006/041552 20060420
Адрес для переписки:
107061, Москва, Преображенская пл., 6, ООО Фирма патентных поверенных “ИННОТЭК”, пат.пов. Т.А.Вахниной, рег. 122
|
(72) Автор(ы):
УИЛЬЯМС Джеффри Д. (US), РОУЗ Лэрри Д. (US), СМИТ Брэдли У. (US), ДЖОРДАН Майкл П. (US), ДЖЕМИСОН Патрик Д. (US)
(73) Патентообладатель(и):
ОТОЛИВ ЭСП, ИНК. (US)
|
(54) ВОЗДУШНАЯ ПОДУШКА БЕЗОПАСНОСТИ С ЗАТЯГИВАЮЩИМ ПАТРУБКОМ ДЛЯ УМЕНЬШЕНИЯ ЭФФЕКТОВ СМЕЩЕНИЯ ПОЛОЖЕНИЯ
(57) Реферат:
Изобретение относится к области создания автомобильных защитных устройств. Воздушная подушка безопасности содержит надувную воздушную подушку, затягивающий патрубок, расположенный на надувной воздушной подушке и имеющий цилиндрическую форму и открытые противоположенные конечные участки, и затягивающий кордный шнур. Один конечный участок присоединен к поверхности воздушной подушки. Затягивающий патрубок определяет высоту между противоположенными конечными участками. Затягивающий кордный шнур соединен с затягивающим патрубком и проходит вокруг большей части периметра затягивающего патрубка. Затягивающий кордный шнур соединен с поверхностью воздушной подушки таким образом, что при раскрывании надувной воздушной подушки безопасности и при наличии препятствия затягивающий кордный шнур выступает не полностью и остается не перекрывающим затягивающий патрубок. При раскрывании надувной воздушной подушки безопасности при отсутствии препятствия затягивающий кордный шнур выступает и, по крайней мере, частично осуществляет перекрытие затягивающего патрубка. Высота указанного затягивающего патрубка достаточна по своей величине для того, чтобы достигать по меньшей мере частичное перекрытие. Затягивающий патрубок втягивается вовнутрь воздушной подушки при натяжении кордного шнура. Достигается улучшение безопасности пассажира. 10 з.п. ф-лы, 9 ил.
ОБЛАСТЬ ТЕХНИКИ, К КОТОРОЙ ОТНОСИТСЯ ИЗОБРЕТЕНИЕ
Настоящее изобретение относится вообще к области создания автомобильных защитных систем. Более конкретно, настоящее изобретение относится к надувным воздушным подушкам безопасности.
КРАТКОЕ ОПИСАНИЕ СОПРОВОДИТЕЛЬНЫХ ЧЕРТЕЖЕЙ
При понимании того что чертежи иллюстрируют только типичные варианты воплощения изобретения и, следовательно, не могут считаться ограничивающими его объем, изобретение будет описано и пояснено конкретно и с дополнительной детализацией посредством использования сопроводительных чертежей, на которых:
фиг.1А является поперечным сечением воздушной подушки безопасности при ее воплощения и при введении ее в действие;
фиг.1В является поперечным сечением воздушной подушки безопасности, показанной на чертеже, изображенном на фиг.1А, при ее введении в действие;
фиг.1C является поперечным сечением воздушной подушки безопасности, показанной на чертежах, изображенных на фиг.1А и фиг.1В, при ее воплощении и при введении ее в действие;
фиг.2А является видом в перспективе затягивающего патрубка;
фиг.2В является видом в перспективе затянутого патрубка, показанного на чертеже фиг.2А;
фиг.3 является видом в перспективе другого варианта воплощения затягивающего патрубка;
фиг.4 является дополнительным вариантом воплощения затягивающего патрубка;
фиг.5А является поперечным сечением, иллюстрирующим начальное введение в действие воздушной подушки безопасности;
фиг.5В является поперечным сечением, иллюстрирующим введение в действие воздушной подушки безопасности;
фиг.5С является поперечным сечением, иллюстрирующим введение в действие воздушной подушки безопасности;
фиг.5D является поперечным сечением, иллюстрирующим начальное введение в действие воздушной подушки безопасности;
фиг.5Е является поперечным сечением, иллюстрирующим введение в действие воздушной подушки безопасности;
фиг.5F является поперечным сечением, иллюстрирующим воздушную подушку безопасности, введенную в действие;
фиг.6 представляет собой пояснительный чертеж, иллюстрирующий график стравливания газа из воздушной подушки безопасности в зависимости от введения в действие этой подушки;
фиг.7 является поперечным сечением, иллюстрирующим введенную в действие воздушную подушку безопасности при альтернативном варианте ее воплощения;
фиг.8 является боковым видом затягивающего патрубка при одном варианте его воплощения;
фиг.9 является боковым видом затягивающего патрубка при другом варианте его воплощения.
ПОДРОБНОЕ ОПИСАНИЕ ПРЕДПОЧТИТЕЛЬНЫХ ВАРИАНТОВ ВОПЛОЩЕНИЯ ИЗОБРЕТЕНИЯ
Ниже описаны варианты воплощения воздушной подушки безопасности и механизма отвода воздуха. Как это будет принято во внимание теми лицами, которые являются специалистами в данной области техники, принципы изобретения могут применяться и использоваться при разнообразии систем введения в действие воздушных подушек безопасности, среди которых имеются передние воздушные подушки безопасности для водителя и пассажиров, наколенные воздушные подушки безопасности, потолочные воздушные подушки безопасности, занавесные воздушные подушки безопасности и т.п. Таким образом, настоящее изобретение может применяться к воздушным подушкам безопасности различных форм и размеров.
Воздушные подушки безопасности часто размещаются в приборной панели и непосредственно впереди пользователя автомобилем. Во время столкновения воздушная подушка безопасности надувается и вводится в действие через проем декоративной крышки. Воздушная подушка безопасности выдвигается в сторону пользователя автомобилем и обеспечивает наличием преграды. Опасная ситуация возникает в том случае, когда пользователь автомобилем расположен вблизи воздушной подушки безопасности, которая заставляет его контактировать с ней, когда она вводится в действие. Идеально, пользователь автомобилем должен находиться в определенном положении для того, чтобы контактировать с воздушной подушкой безопасности только после ее полного раскрытия. Может быть успешным обеспечение наличия воздушной подушки безопасности с более мягким введением ее в действие в том случае, когда пользователь автомобилем смещает свое положение. Нижеописываемые варианты воплощения изобретения обеспечивают наличие воздушной подушки безопасности, которая соответствует положению пользователя автомобилем и соответственно стравливает воздух для устранения чрезмерного удара при введении подушки в действие.
Раскрываемые здесь варианты воплощения изобретения включают в себя кордный шнур для затягивания, который соединен у своего одного конечного участка с затягивающим патрубком, а у другого конечного участка – с внутренней поверхностью воздушной подушки безопасности. Если пользователь автомобилем находится в непосредственной близости к раскрывающейся воздушной подушке безопасности и ограничивает нормальное ее надувание, затягивающий патрубок остается открытым и позволяет газу быстро вытекать. Если пользователь автомобилем находится в своем нормальном положении и надувание ничем не ограничивается, затягивающий патрубок затягивается для его быстрого перекрытия. Герметизация удерживает газ для его использования при нормальном ограничении пользователя автомобилем. Таким образом, затягивающий патрубок может использоваться в качестве изменяемой детали при условиях смещений положения пользователя автомобилем и при нормальных условиях его ограничения. Таким образом, воздушная подушка безопасности является чувствительной к расширению воздушной подушки в условиях наличия препятствия.
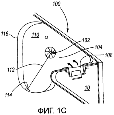
Теперь со ссылками на сопроводительные чертежи будут более подробно описываться конкретные варианты воплощения изобретения. Чертежи, изображенные на фиг.1А-1C, показывают поперечное сечение воздушной подушки 100 безопасности, вводящейся в действие из корпуса 10. Воздушная подушка 100 безопасности включает в себя затягивающий патрубок 102, который может представлять собой нейлоновый тканый материал или выполняться из другого пригодного материала, известного из существующего уровня техники. Затягивающий патрубок 102 может вообще изготавливаться с цилиндрической формой и может иметь открытые противоположные конечные участки для того, чтобы выпускать газ. Затягивающий патрубок 102 может иметь любую пригодную форму, выбираемую из таких, как прямоугольная, треугольная или многоугольная форма. Затягивающий патрубок 102 может изготавливаться с высотой, которая достаточна по своей величине для того, чтобы достигать желаемое перекрытие.
Затягивающий патрубок 102 присоединен к поверхности 104 воздушной подушки 100 безопасности и проходит по кромке отверстия 106, выполненного в поверхности 104. Поверхность 104 может образовывать часть горловины 108 воздушной подушки безопасности или может быть приближенной к горловине 108. Затягивающий патрубок 102 может простираться внутрь полости 110 воздушной подушки безопасности или может выступать из воздушной подушки 100 безопасности. В целях иллюстрации раскрыто наличие одиночного затягивающего патрубка 102, но воздушная подушка 100 безопасности может включать в себя множество затягивающих патрубков для того, чтобы обеспечивать наличие требуемой производительности выпуска воздуха.
Воздушная подушка 100 безопасности включает в себя затягивающий кордный шнур 112, который связан или взаимодействует с затягивающим патрубком 102 и соединен с поверхностью 114 воздушной подушки 100 безопасности. Затягивающий кордный шнур 112 может выполняться из нейлонового материала или из другого пригодного материала, известного из существующего уровня техники. Поверхностью 114 может быть та, которая является внутренней в воздушной подушке безопасности, как это показано. Поверхностью 114 может быть та, которая является противоположной по отношению к лицевой поверхности 116 воздушной подушки безопасности, контактирующей с пользователем автомобилем. При альтернативе поверхность 114 может находиться вблизи поверхности, которая является противоположной по отношению к лицевой поверхности 116. Поверхностью 114 может быть та, которая является наружной и такой, как лицевая поверхность 116. Таким образом, затягивающий кордный шнур 112 может проходить через внутреннюю полость 110 воздушной подушки 100 безопасности или может располагаться снаружи воздушной подушки 100 безопасности. Местоположение поверхности 114 зависит от угла раскрытия модуля, внутренней геометрии автомобиля и типа укладывания воздушной подушки безопасности в ее исходное положение.
Изображенная на чертеже, показанном на фиг.1А, воздушная подушка 100 безопасности имеет слабо натянутый затягивающий кордный шнур 112, и затягивающий патрубок 102 остается не перекрытым. Изображенный на чертеже, показанном на фиг.1В, затягивающий кордный шнур 112 является натянутым, и затягивающий патрубок 102 начинает осуществлять перекрытие. Изображенный на чертеже, показанном на фиг.1C, затягивающий кордный шнур 112 является полностью натянутым, и затягивающий патрубок 102 образует перекрытие.
Обращая внимание на чертежи, изображенные на фиг.2А и 2В, можно видеть, что на них изображены аксонометрические проекции затягивающего патрубка 102 в неперекрытом положении и в положении перекрытия. Затягивающий кордный шнур 112 проходит по краю большей части периметра 200 затягивающего патрубка 102 для того, чтобы надлежащим образом подтягивать и ограничивать затягивающий патрубок 102. Затягивающий кордный шнур 112 имеет длину, которая равна сумме начальной длины в свободном положении и длине периферии затягивающего патрубка 102. Затягивающий кордный шнур 112 может располагаться внутри втулки 202, которая образована внутри затягивающего патрубка 102. Доступ к втулке 202 осуществляется через отверстие 204 втулки, образованное в затягивающем патрубке 102. Затягивающий кордный шнур 112 входит в отверстие 204 втулки, пропускается через втулку 202 и присоединяется к конечному участку 206 внутри втулки 120 к затягивающему патрубку 102. Соединение может осуществляться посредством использования швов, связей или клеящих веществ.
Обращая внимание на чертеж, изображенный на фиг.3, можно видеть, что на нем показан альтернативный вариант воплощения затягивающего патрубка 300, при котором затягивающий кордный шнур 302 образует петлю вокруг большей части периметра 304 затягивающего патрубка. Затягивающий патрубок 300 имеет первое и второе втулочные отверстия 306, 308, которые сообщены со втулкой 310, образованной внутри затягивающего патрубка 300. Затягивающий кордный шнур 302 входит в первое втулочное отверстие 306, пропускается вдоль втулки 310 и выходит из второго втулочного отверстия 308.
Обращая внимание на чертеж, изображенный на фиг.4, можно видеть, что на нем показан альтернативный вариант воплощения затягивающего патрубка 400, при котором затягивающий патрубок 400 включает в себя множество затягивающих петель 402. Затягивающие петли 402 могут располагаться на периферии 404, как это показано, либо на внутренней, либо на наружной поверхности 406, 408 затягивающего патрубка 400. Затягивающий кордный шнур 410 проходит через затягивающие петли 402, благодаря чему он способен, как требуется, ограничивать затягивающий патрубок 400.
Чертежи, изображенные на фиг.5А-5С, иллюстрируют три этапа раскрывания для приведения в действие воздушной подушки 500 безопасности без наличия препятствия на пути раскрывания. Изображенная графически воздушная подушка 500 безопасности включает в себя два затягивающих патрубка 502, симметрично расположенные на воздушной подушке 500 безопасности, и в ней выполнены симметрично расположенные два выпускных отверстия 504. Выпускные отверстия 504 обеспечивают выпуск воздуха из воздушной подушки 500 безопасности, и они не ограничены положением пользователя автомобилем. Выпускные отверстия 504 могут избирательно использоваться при определенных вариантах воплощения воздушной подушки безопасности на основе имеющихся потребностей в выпуске воздуха. Местоположения затягивающих патрубков 502 и отверстий 504 могут меняться, как это осуществляется набором затягивающих патрубков 502 и отверстий 504. Пользователь 12 автомобилем находится в нормальном сидячем положении, которое позволяет полностью расширяться воздушной подушке 500 безопасности перед соударением с ней пользователя автомобилем. Таким образом, пользователь 12 автомобилем освобождается от возможности полного ограничения воздушной подушкой 500 безопасности.
На чертеже, изображенном на фиг.5А, показано, как происходит начальный выход воздушной подушки 500 безопасности. Затягивающие патрубки 502 находятся в открытом положении и при показанном варианте воплощения изобретения выходят из воздушной подушки 500 безопасности. На чертеже, изображенном на фиг.5В, показано, что затягивающие кордные шнуры 506, соответствующие каждому затягивающему патрубку 502, туго натягиваются и являются ограничивающими затягивающие патрубки 502. Затягивающие патрубки 502 могут также натягиваться внутри полости 508 воздушной подушки 500 безопасности. На чертеже, изображенном на фиг.5С, показано, что затягивающие патрубки 502 образуют полное перекрытие, газ выпускается через отверстия 504, чем предусматривается наличие нормального ограничения пользователя 12 автомобилем.
Чертежи, изображенные на фиг.5D-5F, иллюстрируют три этапа раскрывания воздушной подушки 500 безопасности с препятствием на пути раскрывания. Пользователь 12 автомобилем находится в смещенном положении, и он сталкивается с преградой в виде раскрывающейся воздушной подушки 500 безопасности, и этим предотвращается полное надувание этой подушки 500. На чертеже, изображенном на фиг.5D, воздушная подушка 500 безопасности начинает раскрывание таким же образом, как это показано на чертеже, изображенном на фиг.5А. На чертеже, изображенном на фиг.5Е, показано, что воздушная подушка 500 безопасности ударяет пользователя 12 автомобилем и остаются слабо натянутыми затягивающие кордные шнуры 506. Закрывающие патрубки 502 остаются в неперекрытом положении, и происходит быстрый отвод воздуха из патрубков 502 и отверстий 504. Надувание подушки является ограниченным, но пользователь 12 автомобилем принимает меньший удар, чем в случае полного раскрывания подушки 500. На чертеже, изображенном на фиг.5F, показано, что подушка 500 находится в частично надутом положении и обеспечивает наличием лимитированного ограничения. Выпуск воздуха продолжается через патрубки 502 и отверстия 504.
Обращая внимание на чертеж, показанный на фиг.6, можно видеть, что на нем изображен график, иллюстрирующий функциональную зависимость количества выпускаемого воздуха с помощью затягивающего патрубка в зависимости от вытеснения воздуха из подушки безопасности. Для сравнения, воздушная подушка 600 безопасности показана при различных стадиях ее раскрывания с целью введения в действие. Воздушная подушка 600 безопасности включает в себя два симметрично расположенных затягивающих патрубка 602. Во время первоначального раскрывания воздушная подушка 600 безопасности находится в развернутом положении, и затягивающие патрубки обеспечивают малый пропуск воздуха или перекрывают его. Воздушная подушка 600 безопасности расширяется в зону 604 смещенного положения, где в случае наличия препятствия затягивающие патрубки 602 остаются полностью или почти полностью не осуществляющими перекрытие, и происходит полный выпуск воздуха. В этой зоне пользователь автомобилем не имеет возможность получения полного ограничения, но получает пользу от лимитированного ограничения. Если препятствие отсутствует, воздушная подушка 600 безопасности расширяется в сторону зоны 606 частичного выпуска, где начинается частичное перекрытие затягивающими патрубками 602, и выпуск воздуха лимитирован. Затягивающие патрубки 602 могут втягиваться в воздушную подушку 600 безопасности в зависимости от ее конструкции. Если отсутствие препятствия сохраняется и далее, воздушная подушка 600 полностью расширяется до зоны 608 ограничения. В этой зоне затягивающие патрубки 602 осуществляют полное перекрытие, и пользователь автомобилем получает выигрыш от возможности его полного ограничения воздушной подушкой 600 безопасности.
На чертеже, изображенном на фиг.7, можно видеть, что он иллюстрирует альтернативный вариант воплощения воздушной подушки 700 безопасности. Воздушная подушка 700 безопасности включает в себя два симметричных затягивающих патрубка 702, которые могут быть выполнены так, как описано выше. Затягивающие патрубки 702 полностью затягиваются в полость 704 воздушной подушки безопасности. Используется скорее одиночный затягивающий кордный шнур 706, чем затягивающие кордные шнуры, соответствующие каждому затягивающему патрубку 702. Затягивающий кордный шнур 706 сопряжен или взаимодействует с каждым затягивающим патрубком 702 тем же самым способом, который описан ранее. Затягивающий кордный шнур 706 проходит через петлю 708 кордного шнура, которая присоединена к внутренней поверхности 710. Петля 708 кордного шнура может образовываться из тканого материала, подобного или идентичного тому, который использован для изготовления воздушной подушки 700 безопасности. Затягивающий кордный шнур 706 может свободно проходить через петлю 708 и поэтому является «плавающим» затягивающим кордным шнуром. При альтернативном варианте воплощения затягивающий кордный шнур 706 может располагаться на наружной стороне воздушной подушки безопасности и проходить через петлю 708 кордного шнура, связанную с наружной поверхностью воздушной подушки 700 безопасности. При любом варианте воплощения раскрывающаяся воздушная подушка безопасности туго натягивает затягивающий кордный шнур 706, и происходит перекрытие закрывающих патрубков 702.
Обращая внимание на чертеж, изображенный на фиг.8, можно видеть, что он иллюстрирует альтернативный вариант воплощения затягивающего кордного шнура 800, расположенного внутри затягивающего патрубка 802. Затягивающий патрубок 802 включает в себя втулку 804, которая простирается вокруг периферии затягивающего патрубка 802 и укрывает участок затягивающего кордного шнура 800. Затягивающий кордный шнур 800 выходит из втулки 804 через втулочное отверстие 806. Затягивающий кордный шнур 800 включает в себя стопор 808, который перед раскрыванием воздушной подушки безопасности располагается внутри втулки 804. Стопор 808 выбран с размером и конфигурацией, позволяющими осуществлять раскрывание, т.е. из втулки 804 и через отверстие 806, но при этом также осуществлять ограничение перемещения через отверстие 806. При работе стопор 808 предотвращает повторное открывание патрубка 802 после развертывания и закрытия затягивающего патрубка 802. Это может происходить во время выпуска воздуха из воздушной подушки безопасности, когда затягивающий кордный шнур слабо натянут. Выпуск воздуха благодаря этому направляется через другие отверстия.
На чертеже, изображенном на фиг.9, представлен альтернативный вариант воплощения затягивающего патрубка 900, показанного с затягивающим кордным шнуром 902, который частично расположен внутри него. Затягивающий патрубок 900 включает в себя втулку 904, которая содержит в себе участок затягивающего кордного шнура 902.
Дополнительно затягивающий патрубок 900 включает в себя крепежные швы 906, которые проходят внутри через втулку 904 и через затягивающий кордный шнур 902 для удержания последнего и для предотвращения непредусмотренного открытия затягивающего патрубка 900 во время поездки и выполнения манипуляций с подушкой безопасности. Крепежные швы 906 выполнены с небольшим шагом и не влияют на раскрывание воздушной подушки безопасности.
Показанные здесь варианты воплощения иллюстрируют новые технические приемы выпуска воздуха из воздушной подушки безопасности для удержания отверстия открытым, когда пользователь автомобилем является препятствием на пути раскрывания подушки, и для удержания отверстия закрытым, когда пользователь автомобилем не является препятствием для раскрывания подушки. Воздушные подушки безопасности обеспечивают повышенной безопасностью посредством раскрывания при уменьшенном давлении, когда пользователь автомобилем является препятствием для раскрывания. Воздушные подушки безопасности раскрываются с увеличенным давлением, когда пользователь автомобилем не является препятствием для раскрывания и когда увеличенное давление требуется для обеспечения необходимого ограничения. Вышеописанные воздушные подушки безопасности применяются как для ограничения положения водителя, так и для ограничения положения пассажиров. Более того, воздушные подушки безопасности могут профилироваться при разнообразном множестве размеров на основе учета проектных ограничений.
Здесь раскрыты различные варианты воплощения затягивающих патрубков. Затягивающие патрубки 102, 300, 400, 502, 602, 702, 802 и 900 являются примерными средствами для выпуска газа из воздушной подушки безопасности и являются проходящими по периферии отверстия, выполненного в воздушной подушке безопасности. Затягивающие кордные шнуры 112, 302, 410, 506, 706, 800 и 902 являются примерными средствами для ограничения выпуска газа посредством затягивания средств для выпуска с целью уменьшения периферии средств для выпуска при раскрывании надуваемой воздушной подушки безопасности без наличия препятствия, и они позволяют средствам для выпуска оставаться открытыми при раскрывании надувной воздушной подушки безопасности, когда имеется препятствие.
Для специалистов в данной области техники очевидно, что любые изменения могут осуществляться в деталях при вышеописанных вариантах воплощения изобретения без отклонения от принципов, лежащих в основе изобретения. Варианты воплощения изобретения, в которых заявляются эксклюзивные собственность или привилегия, изложены далее в формуле изобретения.
Формула изобретения
1. Воздушная подушка безопасности, содержащая надувную воздушную подушку, затягивающий патрубок, расположенный на надувной воздушной подушке и имеющий в общем цилиндрическую форму и открытые противоположные конечные участки, при этом один конечный участок присоединен к поверхности воздушной подушки, затягивающий патрубок определяет высоту между противоположными конечными участками, и затягивающий кордный шнур, соединенный с затягивающим патрубком и проходящий вокруг большей части периметра затягивающего патрубка, при этом дополнительно затягивающий кордный шнур соединен с поверхностью воздушной подушки таким образом, что при раскрывании надувной воздушной подушки безопасности и при наличии препятствия затягивающий кордный шнур выступает не полностью и остается не перекрывающим затягивающий патрубок, и при раскрывании надувной воздушной подушки безопасности при отсутствии препятствия затягивающий кордный шнур выступает и, по меньшей мере, частично осуществляет перекрытие затягивающего патрубка, где высота указанного затягивающего патрубка достаточна по своей величине для того, чтобы достигать по меньшей мере частичное перекрытие, при этом затягивающий патрубок втягивается вовнутрь воздушной подушки при натяжении кордного шнура.
2. Воздушная подушка безопасности по п.1, дополнительно содержащая второй затягивающий патрубок, расположенный на надувной воздушной подушке и проходящий по периферии второго отверстия, выполненного в воздушной подушке, и второй затягивающий кордный шнур, соединенный со вторым затягивающим патрубком и проходящий вокруг большей части периметра второго затягивающего патрубка, при этом второй затягивающий кордный шнур дополнительно соединен с поверхностью воздушной подушки таким образом, что при раскрывании надувной воздушной подушки безопасности и при наличии препятствия второй затягивающий кордный шнур выступает не полностью и остается не перекрывающим второй затягивающий патрубок, и при раскрывании надувной воздушной подушки безопасности при отсутствии препятствия второй затягивающий кордный шнур вытягивается и частично закрывает второй затягивающий патрубок.
3. Воздушная подушка безопасности по п.2, где второй затягивающий патрубок имеет в общем цилиндрическую форму и открытые противоположные конечные участки, при этом один конечный участок присоединен к поверхности воздушной подушки, затягивающий патрубок определяет высоту между противоположными конечными участками и где высота указанного затягивающего патрубка достаточна по своей величине для того, чтобы достигать по меньшей мере частичное перекрытие, при этом затягивающий патрубок втягивается вовнутрь воздушной подушки при натяжении кордного шнура.
4. Воздушная подушка безопасности по п.3, в которой один или каждый затягивающий патрубок включает втулку, простирающуюся вокруг большей части периметра затягивающегося патрубка и укрывающую участок затягивающего кордного шнура, отверстие втулки, сообщающееся со втулкой, через которое проходит затягивающий кордный шнур.
5. Воздушная подушка безопасности по п.4, дополнительно содержащая стопор, соединенный с затягивающим кордным шнуром и расположенный внутри втулки перед раскрытием воздушной подушки безопасности, при этом стопор приспособлен проходить через отверстие втулки при раскрытии воздушной подушки безопасности и противодействовать входу в отверстие втулки после раскрывания воздушной подушки безопасности.
6. Воздушная подушка безопасности по п.4, дополнительно содержащая первый стопор, соединенный с затягивающим кордным шнуром и расположенный внутри втулки первого затягивающегося патрубка, и второй стопор, соединенный с затягивающим кордным шнуром и расположенный внутри втулки второго затягивающегося патрубка, при этом первый и второй стопоры приспособлены проходить через соответствующие втулочные отверстия при раскрытии воздушной подушки безопасности и сопротивляться входу во втулочные отверстия после раскрывания воздушной подушки безопасности.
7. Воздушная подушка безопасности по п.4, дополнительно содержащая крепежные швы, выполненные внутри втулки, и кордный шнур в одном или каждом затягивающем патрубке.
8. Воздушная подушка безопасности по п.4, в которой один или каждый затягивающий патрубок включает множество петель, внутри которых расположен затягивающий кордный шнур.
9. Воздушная подушка безопасности по п.1, в которой поверхность, соединенная с затягивающим кордным шнуром, является внутренней и затягивающий кордный шнур расположен внутри воздушной подушки безопасности.
10. Воздушная подушка безопасности по п.3, в которой первый и второй затягивающие патрубки расположены симметрично на воздушной подушке безопасности.
11. Воздушная подушка безопасности по п.1, дополнительно включает отверстие, расположенное на воздушной подушке безопасности, приспособленное для выпуска газа во время раскрывания воздушной подушки безопасности при наличии препятствия и при его отсутствии.
РИСУНКИ
|
|