|
(21), (22) Заявка: 2008145367/11, 17.11.2008
(24) Дата начала отсчета срока действия патента:
17.11.2008
(46) Опубликовано: 10.06.2010
(56) Список документов, цитированных в отчете о поиске:
US 4473334 А, 25.09.1984. US 4700852 А, 20.10.1987. RU 42013 U1, 20.11.2004. ЕР 0857120 А1, 12.08.1998. ES 2190705 А1, 01.08.2003.
Адрес для переписки:
603074, г.Нижний Новгород, ул. Маршала Воронова, 11, Генеральному директору ООО “Чайка-НН”, Е.Ф. Ганину
|
(72) Автор(ы):
Ганин Евгений Фёдорович (RU), Лосев Максим Евгеньевич (RU)
(73) Патентообладатель(и):
Общество с ограниченной ответственностью “Чайка-НН” (RU)
|
(54) ОПОРНО-СИЛОВАЯ КОНСТРУКЦИЯ АВТОЭВАКУАТОРА С ЧАСТИЧНОЙ ПОГРУЗКОЙ
(57) Реферат:
Изобретение относится к эвакуаторам неисправных грузовых автомобилей широкого диапазона грузоподъемности. Опорно-силовая конструкция автоэвакуатора с частичной погрузкой содержит надрамник, несущий смонтированные на нем два задних аутригера, расположенный у кабины балластный груз и установленные вдоль надрамника шарнирную опору и поворотный гидропривод с фиксацией ломаной подъемно-транспортирующей стрелы. Стрела снабжена лебедкой с канатной оснасткой. Наклонный участок стрелы своим нижним концом шарнирно соединен с первым концом нижнего раздвижного участка этой же стрелы с поворотным захватом на втором конце данного участка. Надрамник выполнен в виде сварной стальной рамы, состоящей из двух лонжеронов. Лонжероны соединены между собой распределенными вдоль лонжеронов профильными стальными поперечинами и поперечной опорой поворотного гидропривода. Лонжероны выполнены из профиля-двутавра, усиленного приваренными с двух сторон вертикальными боковыми стальными стенками. Надрамник снабжен для крепления с имеющей задний вырез рамой шасси парами приваренных стальных пластин. Поперечная опора поворотного гидропривода усилена приваренными поперечными горизонтальными широкими двойными стальными полосами. Надрамник снабжен стопкой толстых стальных пластин балластного груза. Стрела снабжена своим гидроцилиндром для регулирования длины участка, а фиксаторы его нерабочего и рабочего транспортного положения выполнены в виде талрепа. К двум боковым стенкам наклонного участка стрелы и к двум боковым стенкам лонжеронов приварены стальные пластины с возможностью скользящего контакта между пластинами каждой из двух пар за счет наружной полимерной плоской насадки. Достигается стабильное осевое рабочее положение нижнего участка стрелы при буксировке его захватом приподнятого неисправного автомобиля. 5 з.п. ф-лы, 5 ил.
Изобретение относится к эвакуаторам неисправных грузовых автомобилей широкого диапазона грузоподъемности, а также крупногабаритных автомобилей и спецавтомобилей в аварийном состоянии, допускающем возможность буксировки с опорой на задние колеса, и может быть использовано в автоэвакуаторах с частичной погрузкой.
Тяжелые автоэвакуаторы с частичной погрузкой относятся к сложным спецавтомобилям в связи с повышенными требованиями к устойчивости их конструкций и надежности силовых механизмов подъема передней части большегрузных неисправных автомобилей и буксировки последних в приподнятом положении и характеризуются большим разнообразием конструкций этого вида изделий (исполнения подъемно-транспортирующих устройств и их приводов), подтверждающим комплексное содержание проблемной ситуации в модернизации данных эвакуаторов (см., например патент GB 2198401, В60Р 3/12, 1988; патент GB 2120620, В60Р 3/12, 1983; заявку DE 10319803, В60Р 3/12, 2004; патент US 5163803, В60Р 3/12, 1992; патент US 4946182, В60Р 3/12, 1990; патент US 4838753, В60Р 3/12, 1989; патент US 4543030, В60Р 3/12, 1985; патент FR 2829079, В60Р 3/12, 2003).
Так, английская конструкция (патент GB 2198401) характеризуется расположением с передней стороны (со стороны кабины) балластной массы на ломаной подъемно-транспортирующей стреле, имеющей шарнирную опору своей верхней продольной части на раму шасси с осью этой опоры, смещенной от переднего конца к середине стрелы, и установленный на верхней продольной части стрелы с задней стороны (со стороны эвакуируемой автомашины) выигрышный по усилию механизм гидравлического поворота в вертикальной плоскости нижней захватной части стрелы, шарнирно подвешенной своей серединой на нижнем конце наклонной части стрелы и соединенной противоположным по отношению к захвату концом с тягой указанного механизма.
Вместе с тем, данная опорно-силовая конструкция усложнена, имеет завышенный вынос захвата за пределы шасси эвакуатора и ухудшена по надежности эксплуатации и технологичности изготовления.
Во второй английской конструкции (патент GB 2120620) конструктивные особенности (параллелограмно-шарнирной) подъемно-транспортирующей стрелы и расположения гидроприводов обеспечивают в рабочем транспортном положении стрелы опору ее нижней захватной части на заднюю часть рамы шасси, повышая надежность эксплуатации, но снижая при этих условиях эксплуатации ассортимент эвакуируемых автомобилей.
Немецкая конструкция (заявка DE 10319803), имеющая заднюю ломаную транспортирующую стрелу, состоящую из наклонной и нижней значительно раздвигающейся захватной частей, поворачивающуюся в вертикальной плоскости за счет тросовой тяги передней верхней усиленной отдельной грузовой стрелы, предназначена для эвакуации крупногабаритных автомобилей и не оптимальна для широкого диапазона грузоподъемности эвакуируемых автомобилей.
Группа приведенных в качестве примеров американских конструкций (патенты US 5163803, 4946182, 4838753 и 4543030) включает специфические опорно-силовые решения подъемно-транспортирующей стрелы, обеспечивающей захват эвакуируемых автомобилей (фургонов) повышенной грузоподъемности.
За счет конструктивного усиления нижней (нераздвижной) захватной части стрелы, поворачивающейся в вертикальной плоскости, а также в результате особенностей гидравлического механизма подъема: в первом случае (п. 5163803) обеспечен длинной нижней захватной частью стрелы захват как за передние колеса, так и за раму за кабиной эвакуируемого автомобиля; во втором случае (п. 4946182) – короткой нижней захватной частью стрелы захват эвакуируемых крупногабаритных удлиненных фургонов на полуприцепах; в третьем случае (п. 4838753) – укороченной нижней захватной частью стрелы захват за переднюю ось эвакуируемого автомобиля; в четвертом случае (п. 4543030) – выполненной в виде балки, шарнирно подвешенной серединой поперек стрелы и снабженной крюками на концах, нижней захватной частью стрелы захват за переднюю ось эвакуируемого автомобиля.
При этом гидравлические механизмы подъема выполнены с различной степенью усложнения, что в итоге снижает их надежность и технологичность изготовления, и спроектированы для узкого ассортимента эвакуируемых (тяжелых) автомобилей (фургонов).
Приведенная в качестве примера французская конструкция (патент FR 2829079), в которой выполнение шарнирной фиксации нижней раздвижной захватной части стрелы, поворачивающейся в вертикальной плоскости, позволяет выполнять этой частью функцию рабочего конца грузоподъемной стрелы при расположении этой части вдоль средней поворотной части подъемно-транспортирующей стрелы, шарнирно закрепленной на поворотной платформе надрамника шасси этого автоэвакуатора, также усложнена и неоптимальна, т.к. ограничена возможностью надежной реализации расширенных функциональных возможностей для неисправных автомобилей малой и средней грузоподъемности (надежность эвакуатора, эксплуатируемого в расширенном режиме, низкая при эвакуации перевернутых тяжелых грузовых автомобилей).
Основной проблемой проектирования таких эвакуаторов является требование к приемлемым усложнению и усилению конструкции, обусловленным расширением ассортимента эвакуируемых автомашин и диапазона их грузоподъемности и снижающим надежность или эффективность использования автоэвакуатора при эксплуатации и технологичность его изготовления, а также значительно влияющим на себестоимость этого изделия.
Несмотря на разнообразие известных автоэвакуаторов с частичной погрузкой, эти спецавтомобили можно разделить на две группы конструкций с одинаковым принципиальным решением их подъемно-транспортирующего устройства: первая группа эвакуаторов – для буксировки неисправных легковых автомобилей (см., например патент РФ 1780524, В60Р 3/12, 1992; патент GB 2414980, В60Р 3/12, 2005; патент DE 33265573, В60Р 3/12, В66С 23/36, 1989; патент US 4840534, В60Р 3/12, 1989; патент US 4586866, В60Р 3/12, 1986; патент US 4384817, В60Р 3/12, 1983; патент FR 2764566, В60Р 3/12, В66С 23/42, 1998; патент СА 1299529, B60D 1/00, 1992, патент ES 2190704, В60Р 3/12, 2003) и вторая группа эвакуаторов – для буксировки неисправных автомобилей большей грузоподъемности (см., например патент (полезная модель) РФ 42013, В60Р 3/12, 2004; патент GB 2061193, В60Р 3/12, 3/28, 1981; патент (полезная модель) DE 29510875, В60Р 3/12, В66С 23/36, 1995; патент US 5713714, В60Р 3/12, 1998; патент US 5672042, В60Р 3/12, 1997; патент US 5284415, В60Р 3/06, 1994; патент US 4861221, В60Р 3/12, 1989; патент ES 2190705, В60Р 3/12, 2003; патент WO 97/18104, В60Р 3/12, B60D 1/14, 1997; патент ЕР 0168618, В60Р 3/12, В60Р 1/54, 1986).
Общим для этих двух групп конструкций является распространенное во многих странах выполнение установленного на шасси основного силового механизма для подъема передней части неисправных автомобилей и буксировки последних, снабженного соответствующими приводами и выполненного на основе поворотной ломаной металлоконструкции, состоящей из верхнего продольного участка, промежуточного наклонного участка и нижнего захватного участка, жестко или шарнирно соединенных между собой с возможностью во втором случае дополнительного принудительного поворота поперечного и/или захватного участков в вертикальной плоскости.
При этом аналоги первой группы в своей, той или иной комбинации конструктивных элементов, имеющих особенности их выполнения, не содержат всей совокупности существенных признаков, достаточных для достижения указанного ниже технического результата заявляемого изобретения.
Так, отечественная конструкция (патент РФ 1780524) несмотря на наличие аутригеров и конструктивных элементов (угол 140° между верхней и средней частями ломаного буксировочного устройства, позволяющий укоротить и таким образом упрочить его нижнюю поворотную захватную часть, упор стрелы буксировочного устройства на раму в виде бруса), усиливающих эту конструкцию, усложнена (отдельное выполнение раздвижной крановой стрелы и буксировочного устройства и другое) и неэффективна при эвакуации тяжелых неисправных автомобилей в связи с недостаточно высокой надежностью конструкции, предназначенной для безопасной погрузки и буксировки автомобилей с большим свесом.
Что же касается приведенных в качестве примера остальных конструкций первой группы, они явно имеют особенности выполнения механизма для подъема передней части неисправных автомобилей и буксировки последних, объединенные и ограниченные задачей эвакуации легковых автомобилей.
Так, в английской конструкции (патент GB 2414980) подъемно-транспортирующее устройство имеет работоспособный для эвакуируемых легковых автомобилей очень короткий верхний участок, переходящий в наклонный участок, снабженный на своем нижнем конце колесной опорой и гидроприводом его поворота в вертикальной плоскости с подъемом нижнего конца и нижней раздвижной захватной части, являющейся конструктивным продолжением наклонного участка.
В немецкой конструкции (патент DE 33265573) реализовано облегченное рассчитанное для эвакуации легковых автомобилей решение поворачивающегося с помощью гидропривода в вертикальной плоскости подъемно-транспортирующего устройства с возможностью его дополнительного поворота в горизонтальной плоскости, дополнительного складывания поперечного участка в нерабочем транспортном положении и поворота в вертикальной плоскости нижнего захватного участка ниже его горизонтального положения.
В группе приведенных в качестве примеров трех американских конструкций (патенты US 4840534, 4586866, 4384817) также осуществлены предназначенные для эвакуации легковых автомобилей варианты конструктивного решения приводов поворота в вертикальной плоскости подъемно-транспортирующего устройства в целом и его нижней захватной части.
В первой конструкции (патент US 4840534) на укороченной раме шасси закреплена стойка, несущая два гидроцилиндра для поворота ломаной металлоконструкции подъемно-транспортирующего устройства, причем автоэвакуатор снабжен балластным грузом, вынесенным перед кабиной на уровне рамы, что в итоге выливается в громоздкое сооружение (ухудшены габаритные характеристики), неэффективное для эвакуации тяжелых автомобилей.
Во второй конструкции (патент US 4586866) неудачным является само сочетание гидропривода поворота подъемно-транспортирующего устройства в целом и лебедки для поворота тросом его нижнего захватного участка при излишне длинном верхнем участке указанного устройства и неудачном вертикальном заниженным и завышенным размещением, соответственно двух гидроцилиндров (ухудшены габаритные характеристики).
В третьей конструкции (патент US 4384817) недостатком является использование стрелы крана для поворота нижней захватной части поворачивающегося с помощью гидропривода подъемно-транспортирующего устройства, имеющего кроме того нетехнологичную в изготовлении форму своей верхней продольной части.
Во французской конструкции (патент FR 2764566) неэффективно отмечавшееся выше совмещение функций подъемно-транспортирующего устройства с функциями грузового крана, снижающее надежность эвакуации тяжелых автомобилей (см. критику патента FR 2829079).
Канадская конструкция (патент СА 1299529) проста, но предназначена для эвакуации легковых автомобилей и не содержит существенных признаков опорно-силовой конструкции автоэвакуатора для подъема передней части тяжелых несправных автомобилей и буксировки последних.
Наконец, в последнем примере конструкции первой группы – в испанской конструкции (патент ES 2190704) без аутригеров надрамник, рассчитанный на более низкий интервал рабочих нагрузок, предназначен для автоэвакуатора, надежного при эвакуации легковых автомобилей и грузовых автомобилей малой грузоподъемности.
Основными причинами, по которым приведенные конструкции второй группы по мнению заявителя также являются отдаленными аналогами, являются отсутствие в одних из них конструктивных элементов, создающих минимально допустимую базу для корректного сравнения с точки зрения аналогичного технического решения – опорно-силовой конструкции автоэвакуатора с частичной погрузкой для эвакуации неисправных грузовых автомобилей малой и средней грузоподъемности, а также тяжелых грузовых автомобилей и наличие в других из них конструктивных признаков, раскрывающих техническую сущность автоэвакуаторов с частичной погрузкой для эвакуации неисправных автомобилей повышенной грузоподъемности, выходящих из диапазона грузоподъемности эвакуируемых автомобилей автоэвакуатором с заявляемой опорно-силовой конструкцией.
Так в отечественной конструкции (патент (полезная модель) РФ 42013) раскрыта совокупность конструктивных элементов эвакуатора на уровне основных его составных частей автомобильного шасси, смонтированных на его раме аутригеров и грузоподъемной стрелы, выполненной в виде металлоконструкции Г-образной формы, снабженной шарнирной опорой на раму и приводом ее поворота, и транспортирующего устройства, смонтированного с опорой на консольную часть грузоподъемной стрелы и поворотно-выдвижным захватным элементом, а также по меньшей мере одной лебедки с канатной оснасткой.
При этом грузоподъемная стрела выполнена телескопической, что эффективно для эвакуации автомобилей повышенной грузоподъемности (для заявляемой конструкции выполнение верхнего продольного участка ломаной подъемно-транспортирующей стрелы раздвижным – конструктивное усложнение при выходе на эффективное опорно-силовое решение в рамках задач автоэвакуатора с частичной погрузкой для эвакуации широкого класса неисправных машин в среднем диапазоне их грузоподъемности с точки зрения расхода на изготовление автоэвакуатора материально-технических ресурсов).
Кроме того, в данном аналоге раскрыто укрупненное решение конструкции автоэвакуатора в целом с отдельными составляющими конструктивными элементами без решения опорно-силовой конструкции автоэвакуатора, т.к. не раскрыто выполнение надрамника (основы заявляемой опорно-силовой конструкции) и балластного груза.
Английская конструкция (патент GB 2061193) – отдаленный аналог, т.к. включает отдельную поворачивающуюся в горизонтальной плоскости раздвижную стрелу крана;
немецкая (патент (полезная модель) DE 29510875), т.к. также включает отдельную поворачивающуюся в горизонтальной плоскости стрелу крана и поворотную ломаную подъемно-транспортирующую стрелу, выполненную в виде монометаллоконструкции с жестко зафиксированными друг относительно друга верхним, наклонным и нижним участками;
первая американская (патент US 5713714), т.к. также включает отдельную стрелу крана и нетехнологичную в изготовлении на участке шарнирного крепления к раме шасси верхнюю продольную часть подъемно-транспортирующей стрелы и другое, несмотря на наличие схемного (без деталировки) решения устройства рамы;
вторая американская (патент US 5672042), т.к. нет решения опорно-силовой конструкции (отсутствуют сведения о выполнении надрамника);
третья американская (патент US 5284415), т.к. включает выдвижную из верхнего продольного участка подъемно-транспортирующей стрелы грузовую стрелу и представляет собой решение узла поворотного нижнего захватного участка подъемно-транспортирующей стрелы;
четвертая американская (патент US 4861221), т.к. представляет собой решение лишь подъемно-транспортирующей стрелы с выносом вверх продолжения его промежуточного наклонного участка для шарнирной фиксации на верхнем конце указанного продолжения корпуса гидроцилиндра, обеспечивающего поворот в вертикальной плоскости всей стрелы;
испанская (патент ES 2190705), т.к. включает выдвижную из верхнего продольного участка подъемно-транспортирующей стрелы грузовую стрелу, поворотный относительно верхнего продольного участка подъемно-транспортирующей стрелы промежуточный наклонный участок этой же стрелы и выполненный с учетом необходимости расположения дополнительного гидропривода поворота наклонного участка и усиленный для эвакуации автомобилей повышенной грузоподъемности надрамник;
международная (патент WO 97/18104), т.к. представляет собой лишь решение подъемно-транспортирующей стрелы;
европейская (патент ЕР 0168618), т.к. включает поворачивающуюся в горизонтальной плоскости подъемно-транспортирующую стрелу и выдвигаемую из верхнего продольного участка подъемно-транспортирующей стрелы грузовую стрелу, а также дополнительные аутригеры для усиления конструкции эвтоэвакуатора под задачи эвакуации автомобилей повышенной грузоподъемности без сведений о конструкции рамы или надрамника.
К наиболее близким заявляемой конструкции относятся аналоги, имеющие кроме подъемно-транспортирующей стрелы аутригеры и балластный груз, повышающие устойчивость автоэвакуатора (см., например патент (полезная модель) РФ 47298, В60Р 3/12, 2005; патент US 4473334, В60Р 3/12, 1984).
В связи с тем, что заявляемая опорно-силовая конструкция автоэвакуатора с частичной погрузкой характеризуется в качестве технического решения совокупностью (в предлагаемом качестве) конструктивных элементов (в предлагаемом количестве), являющихся существенными признаками с точки зрения достижения технического результата предлагаемого изобретения, по мнению заявителя в во всех приведенных выше примерах отсутствует ближайший аналог (прототип), соответствующий требованиям совпадения максимального количества существенных признаков при условии их раскрытия и достижения технического результата заявляемого изобретения.
Так и в ближайших аналогах: полезной модели (патент РФ 47298) и изобретении (патент US 4473334) также не раскрыта техническая сущность опорно-силовой конструкции в объеме, корректном для сравнения с признаками в заявляемом назначении.
Поэтому, с учетом изложенного заявитель в соответствии с правилами оформления заявки на выдачу патента РФ на изобретение выбрал вариант оформления настоящего описания изобретения и формулы изобретения без прототипа.
Технический результат заявляемого изобретения заключается в оптимальном решении опорно-силовой конструкции автоэвакуатора с частичной погрузкой с точки зрения соотношения между максимизацией эффективности использования материально-технических ресурсов изготовления эвакуаторов, предназначенных для подъема передней части неисправных автомобилей и буксировки последних в широком диапазоне их грузоподъемности и габаритов, в частности грузовых автомобилей малой, средней и большой грузоподъемности, а также автобусов и минимизацией сложности конструкции автоэвакуатора в сочетании с улучшенной технологичностью его изготовления и надежной его эксплуатацией.
Для достижения указанного технического результата предлагается опорно-силовая конструкция автоэвакуатора с частичной погрузкой, представляющая собой совокупность конструктивных элементов для подъема передней части неисправных автомобилей и буксировки последних в приподнятом положении, содержащую закрепленный на раме шасси грузового автомобиля, с грузоподъемностью, занимающей начальное положение в интервале величин грузоподъемности большегрузных грузовых автомобилей, надрамник, несущий смонтированные на нем два задних аутригера, расположенный у кабины балластный груз и установленные вдоль надрамника шарнирную опору и поворотный гидропривод с их рабочей фиксацией, соответственно, в начале и конце, расположенного в центральном проеме между закрепленными под двумя боковыми обвесами на наружных стенках надрамника ступенчатыми продольными инструментально-функциональными отсеками обшивки автоэвакуатора, верхнего продольного участка поворотной ломаной подъемно-транспортирующей стрелы.
Верхний продольный участок поворотной ломаной подъемно-транспортирующей стрелы снабжен установленной на нем со стороны шарнирной опоры по меньшей мере одной лебедкой с канатной оснасткой и выполнен конструктивно переходящим в промежуточный наклонный участок упомянутой стрелы, своим нижним концом шарнирно соединенный с первым концом нижнего раздвижного участка этой же стрелы с поворотным захватом на втором конце данного участка и с возможностью принудительного поворота указанного нижнего участка в вертикальной плоскости и фиксации нижнего продольного участка в нерабочем и рабочем транспортном положении.
При этом изложенная совокупность конструктивных элементов характеризуется тем, что надрамник выполнен в виде сварной стальной рамы, состоящей из двух лонжеронов, соединенных между собой распределенными вдоль лонжеронов профильными стальными поперечинами и поперечной опорой упомянутого поворотного гидропривода, образующей с двумя задними концами лонжеронов вырез надрамника под наклонный участок поворотной ломаной подъемно-транспортирующей стрелы.
Причем лонжероны выполнены из профиля-двутавра, усиленного приваренными с двух сторон вертикальными боковыми стальными стенками, надрамник снабжен для крепления с имеющей задний вырез рамой шасси распределенными вдоль вертикальных боковых стенок лонжеронов с двух его внешних сторон парами приваренных к этим стенкам боковых стальных пластин.
Две пары из указанных боковых стальных пластин в передней части надрамника являются элементами крепления шарнирной опоры к лонжеронам, несущими над ними посадочные отверстия двух узлов шарнирной опоры под горизонтальную ось верхнего продольного участка поворотной ломаной подъемно-транспортирующей стрелы.
Две пары из указанных боковых стальных пластин в задней части надрамника являются элементами крепления кожухов двух задних аутригеров к задним концам выреза надрамника.
А поперечная опора поворотного гидропривода с двумя шарнирными опорами двух боковых поворотных гидроцилиндров усилена приваренными к верхней и нижней полкам двутавров лонжеронов поперечными верхней и нижней горизонтальными широкими двойными стальными полосами, скрепленными между собой вертикальными расположенными поперек надрамника узкими стальными полосами.
При этом надрамник снабжен со стороны кабины боковыми вертикальными фиксаторами горизонтального расположения стопкой на лонжеронах толстых стальных пластин балластного груза с боковыми прорезями в пластинах под фиксаторы, обеспечивающего возможность размещения на указанных фиксаторах над балластным грузом масляного бака гидравлической системы автоэвакуатора.
Наклонный участок ломаной подъемно-транспортирующей стрелы снабжен установленным внутри него гидроцилиндром для поворота нижнего раздвижного двухколенного участка указанной стрелы, снабженного в свою очередь своим гидроцилиндром для регулирования длины этого участка.
А фиксаторы нерабочего и рабочего транспортного положения нижнего раздвижного участка ломаной подъемно-транспортирующей стрелы выполнены, соответственно в виде талрепа между наклонным и нижним раздвижным участками стрелы при крайнем верхнем положении последнего и в виде стержневого фиксатора, вставляемого в совпадающие сквозные фиксационные отверстия опорной проушины нижнего раздвижного участка в его крайнем нижнем положении и двух боковых стенок наклонного участка стрелы на нижнем его конце.
Кроме того, к двум боковым стенкам наклонного участка стрелы и к двум боковым стенкам лонжеронов в задней части надрамника с внутренней стороны его выреза приварены стальные пластины с возможностью скользящего контакта между пластинами каждой из двух пар за счет наружной полимерной плоской насадки, закрепленной на одной из пластин пары, обеспечивающего стабильное осевое рабочее положение нижнего участка стрелы при буксировке его захватом приподнятого неисправного автомобиля.
В частном варианте выполнения предлагаемой опорно-силовой конструкции поперечины надрамника усилены в местах их соединения с лонжеронами дополнительными приваренными горизонтальными треугольными ребрами жесткости.
Крепление к лонжеронам каждого из двух узлов шарнирной опоры с посадочными отверстиями под горизонтальную ось верхнего продольного участка поворотной ломаной подъемно-транспортирующей стрелы усилено дополнительной боковой пластиной, несущей посадочное отверстие узла и приваренной к боковой стенке лонжерона с внутренней стороны надрамника.
В качестве элементов крепления кожухов двух задних аутригеров к задним концам выреза надрамника служат боковые стенки кожухов аутригеров, причем крепление каждого аутригера к внешней боковой стенке лонжерона усилено дополнительными стальными пластинами, приваренными к кожуху аутригера и к верхней стенке лонжерона.
Кроме того, надрамник снабжен со стороны кабины дополнительными вертикальными стержнями, предотвращающими смещения пластин балластного груза в горизонтальной плоскости во время движения автоэвакуатора, в которых выполнены сквозные отверстия под эти стержни, а четыре боковых вертикальных фиксатора горизонтального размещения стопкой на лонжеронах толстых стальных пластин балластного груза имеют два накладных прижима указанных пластин к надрамнику.
Предлагаемая в объеме первого пункта формулы изобретения совокупность конструктивных элементов опорно-силовой конструкции взаимосвязана задачей достижения указанного технического результата.
Автоэвакуатор с частичной погрузкой, имеющий заявляемую опорно-силовую конструкцию, представляет собой новое изделие, обладающее выигрышным сочетанием ресурсных затрат и потребительских возможностей, т.е. расширяет ассортимент эвакуаторов, занимая в нем свое место в качестве эффективного и приемлемого по стоимости средства эвакуации неисправных автомобилей, наиболее распространенного диапазона грузоподъемности: в частности грузовых автомобилей малой, средней и большой грузоподъемности, а также крупногабаритных автомобилей (автобусов) и других спецавтомобилей и автоизделий (прицепов, полуприцепов).
Источники информации, в которых бы содержались отдельные из заявленных конструктивных элементов в предложенном назначении (обеспечение сочетания широкого ассортимента эффективно эвакуируемых автомобилей, простоты конструкции, улучшенной технологичности изготовления и надежности эвакуатора в эксплуатации), не обнаружены.
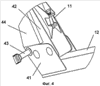
На фиг.1 показан общий вид в аксонометрии автоэвакуатора с частичной погрузкой, имеющего заявляемую опорно-силовую конструкцию; на фиг.2 – вид сбоку автоэвакуатора на фиг.1 (а – с поднятым нижним раздвижным участком подъемно-транспортирующей стрелы в его нерабочем транспортном положении, б – с опущенным нижним раздвижным участком подъемно-транспортирующей стрелы); на фиг.3 – надрамник, входящий в состав заявляемой опорно-силовой конструкции, с расположенными на нем балластным грузом, шарнирной опорой переднего конца верхнего продольного участка подъемно-транспортирующей стрелы (стрела не показана) и двумя шарнирными опорами двух боковых гидроцилиндров для поворота подъемно-транспортирующей стрелы (гидроцилиндры и стрела не показаны); на фиг.4 – узел шарнирного соединения наклонного участка подъемно-транспортирующей стрелы с нижним раздвижным участком этой же стрелы; на фиг.5 – сечение А-А на фиг.2 (поперечное сечение поперечной опоры поворотного гидропривода, состоящего из двух боковых гидроцилиндров для поворота подъемно-транспортирующей стрелы).
Заявляемая опорно-силовая конструкция (см. фиг.1-3) содержит закрепленный на раме 1 шасси трехосного грузового автомобиля с колесной базой не менее 4-х метров надрамник 2, несущий смонтированные на нем два задних аутригера 3, расположенный у кабины балластный груз 4 и установленные вдоль надрамника 2 шарнирную опору 5 и две шарнирные опоры 6 под два боковых поворотных гидроцилиндра 7 (на фиг.1 гидроцилиндры 7 не показаны для обзора других конструктивных элементов) для поворота в вертикальной плоскости подъемно-транспортирующей стрелы 8.
Подъемно-транспортирующая стрела 8 выполнена ломаной и состоит из верхнего продольного участка 9, опирающегося своим передним (со стороны кабины) концом на шарнирную опору 5 и двумя боковыми шарнирными узлами 10, расположенными у перелома стрелы 8, через два боковых поворотных гидроцилиндра 7 на две шарнирные опоры 6, промежуточного наклонного участка 11, являющегося конструктивным продолжением участка 9, и нижнего раздвижного участка 12 с захватом 13, шарнирно соединенного с нижним концом участка 11.
Наклонный участок 11 стрелы 8 снабжен установленным внутри него гидроцилиндром для поворота в вертикальной плоскости двухколенного раздвижного участка 12 (см. фиг.2), снабженного в свою очередь своим гидроцилиндром для регулирования и задания длины выноса под переднюю ось эвакуируемого автомобиля поперечного захвата 13, шарнирно зафиксированного на конце участка 12 с возможностью поворота в плоскости расположения нижнего раздвижного участка 12 и поперечного захвата 13 (оба гидроцилиндра на фигурах не показаны).
Верхний продольный участок 9 стрелы 8 снабжен установленными на нем со стороны шарнирной опоры 5 двумя лебедками 14 и 15 с канатной оснасткой.
Надрамник 2 (см. фиг.3) выполнен в виде сварной стальной рамы, состоящей из двух прямых лонжеронов 16, соединенных между собой распределенными вдоль них профильными стальными поперечинами 17 и поперечной опорой 18, несущей с лонжеронами 16 две шарнирные опоры 6 под два боковых поворотных гидроцилиндра 7 и образующей с двумя задними концами 19 лонжеронов 16 вырез надрамника 2 под наклонный участок 11 стрелы 8.
Поперечины 17 надрамника 2 усилены в местах их соединения с лонжеронами 16 дополнительными приваренными горизонтальными треугольными стальными пластинами 20, выполняющими роль ребер жесткости.
Лонжероны 16 выполнены из профиля-двутавра, усиленного приваренными с двух сторон вертикальными боковыми стенками 21.
Надрамник 2 снабжен для крепления с имеющей задний вырез рамой шасси распределенными вдоль внешних вертикальных боковых стенок 21 лонжеронов 16 с двух его сторон парами приваренных к этим стенкам боковых стальных пластин 22.
Две пары (из числа пластин 22) пластин 23 в передней части надрамника 2 являются элементами крепления шарнирной опоры 5 к лонжеронам 16, несущими над ними посадочные отверстия 24 двух узлов шарнирной опоры 5 под горизонтальную ось верхнего продольного участка 9 стрелы 8. Крепление к лонжеронам 16 каждого из двух узлов шарнирной опоры 5 усилено дополнительной боковой пластиной 25, несущей посадочное отверстие 24 узла и приваренной к внутренней боковой стенке 21 лонжерона 16.
Две пары боковых пластин 22 (на фигурах не показаны) являются стенками кожухов 26 двух аутригеров 3, выполняющими роль элементов крепления кожухов 26 аутригеров 3 и приваренными к внешним боковым стенкам 21 двух лонжеронов 16 на их задних концах 19. Крепление каждого аутригера 3 к стенке 21 усилено дополнительными стальными пластинами 27 (см. фиг.1), приваренными к кожуху 26 аутригера 3 и к верхней стенке 28 лонжерона 16.
Поперечная опора 18 (см. фиг.5) усилена приваренными к верхней и нижней полкам двутавров лонжеронов 16 поперечными верхней 29 и нижней 30 горизонтальными широкими двойными стальными полосами, скрепленными между собой вертикальными расположенными поперек надрамника 2 узкими стальными полосами 31.
Надрамник 2 (см. фиг.3) снабжен со стороны кабины четырьмя боковыми вертикальными фиксаторами 32 горизонтального расположения стопкой на лонжеронах 16 толстых стальных пластин 33 балластного груза 4 с боковыми прорезями 34 в пластинах 33 под фиксаторы 32, обеспечивающего возможность размещения на фиксаторах 32 над балластным грузом 4 масляного бака 35 гидравлической системы автоэвакуатора. Кроме того, надрамник 2 снабжен дополнительными вертикальными стержнями 36, предотвращающими смещения пластин 33 в горизонтальной плоскости во время движения автоэвакуатора. В связи с чем в пластинах 33 выполнены сквозные отверстия под стержни 36, а фиксаторы 32 снабжены накладными прижимами 37 пластин 33 к надрамнику 2.
Поворотная ломаная подъемно-транспортирующая стрела 8 установлена на надрамнике 2 с размещением своего верхнего продольного участка 9 (см. фиг.1) в центральном проеме между закрепленными под двумя боковыми обвесами 38 на наружных стенках 21 надрамника 2 двухступенчатыми продольными инструментально-функциональными отсеками обшивки автоэвакуатора.
На задней стенке 39 наклонного участка 11 стрелы 8 смонтирован талреп 40 (см. фиг.2а) для фиксации максимально поднятого нижнего раздвижного участка 12 стрелы 8 в нерабочем (сложенном) транспортном положении.
В опорной проушине 41 нижнего раздвижного участка 12 стрелы 8 и двух боковых стенках 42 наклонного участка 11 стрелы 8 на нижнем его конце (см. фиг.1 и 4) выполнены сквозные фиксационные отверстия, совпадающие при крайнем нижнем (рабочем) положении участка 12 (см. фиг.2б), под стержневой фиксатор 43.
К двум боковым стенкам 42 наклонного участка 11 стрелы 8 и к двум боковым стенкам 21 лонжеронов 16 на их задних концах 19 с внутренней стороны выреза надрамника 2 (см. фиг.1) приварены, соответственно стальные пластины 44 и 45 для стабильного осевого рабочего положения нижнего раздвижного участка 12 стрелы 8 при буксировке его захватом 13 приподнятого неисправного автомобиля в результате скользящего контакта двух пар пластин 44 и 45 за счет двух наружных полимерных (фторопластовых) плоских насадок 46, прикрепленных к пластинам 45.
При работе автоэвакуатора с частичной погрузкой, имеющего заявляемую опорно-силовую конструкцию, заключающейся в подводе нижнего раздвижного участка 12 стрелы 8 поперечным захватом 13 под переднюю ось неисправного автомобиля и в поднятии стрелы 8 до рабочего транспортного положения участка 12 с приподнятым эвакуируемым автомобилем и буксировке последнего, с одной стороны надежную эксплуатацию автоэвакуатора обеспечивает сочетание изложенного конструктивного усиления надрамника 2, введения в опорно-силовую конструкцию фиксаторов 43 и 32, пластин-щек 44 и 45 и простоты конструкции надрамника 2 и подъемно-транспортирующей стрелы 8 (без грузовой стрелы, выдвижной из верхнего продольного участка подъемно-транспортирующей стрелы например в конструкции автоэвакуатора, раскрытой в патенте ЕР 0168618), повышающими с предлагаемым решением балластного груза 4 технологичность изготовления автоэвакуатора.
Новое качество спец. автомобиля, расширяющего арсенал автоэвакуаторов с частичной погрузкой, заявляемая опорно-силовая конструкция с другой стороны придает автоэвакуатору в результате приобретения им оптимального комплекса характеристик: экономичная начальная для большегрузных автомобилей грузоподъемность шасси (20-22 т), приемлемая стоимость данного автоизделия (3,3-3,5 млн руб. на дату подачи настоящей заявки), минимально допустимая для данного класса спецавтомобилей металлоемкость надстройки (вес 17-18 т), определяющие повышенную технико-экономическую эффективность использования такого автоэвакуатора для подъема передней части неисправных нагруженных автомобилей и буксировки последних в расширенном интервале их грузоподъемности (от 2 т до 12 т).
Формула изобретения
1. Опорно-силовая конструкция автоэвакуатора с частичной погрузкой, содержащая закрепленный на раме (1) шасси грузового автомобиля надрамник (2), несущий смонтированные на нем два задних аутригера (3), расположенный у кабины балластный груз (4) и установленные вдоль надрамника (2) шарнирную опору (5) и поворотный гидропривод (7) с их рабочей фиксацией соответственно в начале и конце верхнего продольного участка (9) поворотной ломаной подъемно-транспортирующей стрелы (8), который расположен в центральном проеме между ступенчатыми продольными инструментально-функциональными отсеками обшивки автоэвакуатора, которые закреплены под двумя боковыми обвесами (38) на наружных стенках надрамника (2), и снабжен установленной на нем со стороны шарнирной опоры (5) по меньшей мере одной лебедкой (14) с канатной оснасткой, верхний продольный участок (9) упомянутой стрелы (8) конструктивно переходит в промежуточный наклонный участок (11) упомянутой стрелы (8), который своим нижним концом шарнирно соединен с первым концом нижнего раздвижного участка (12) упомянутой стрелы (8), при этом поворотный захват (13) шарнирно зафиксирован на втором конце раздвижного участка (12), верхний продольный участок (9) обладает возможностью принудительного поворота нижнего раздвижного участка (12) в вертикальной плоскости и фиксации нижнего раздвижного участка (12) в рабочем и нерабочем транспортных положениях, при этом надрамник (2) выполнен в виде сварной стальной рамы, состоящей из двух лонжеронов (16), соединенных между собой распределенными вдоль лонжеронов профильными стальными поперечинами (17) и поперечной опорой (18) поворотного гидропривода (7), образующей с двумя задними концами лонжеронов (19) вырез надрамника под наклонный участок (11) поворотной ломаной подъемно-транспортирующей стрелы (8), причем лонжероны (16) выполнены из профиля-двутавра, усиленного приваренными с двух сторон вертикальными боковыми стальными стенками (21), при этом надрамник (2) снабжен для крепления с имеющей задний вырез рамой шасси (1) боковыми стальными пластинами (22,23), которые распределены и приварены вдоль вертикальных боковых стенок лонжеронов (21) с двух его внешних сторон, причем две пары стальных пластин (23), расположенные в передней части надрамника (2), являются элементами крепления шарнирной опоры (5) к лонжеронам (16), при этом над упомянутыми элементами крепления выполнены посадочные отверстия (24) для двух узлов шарнирной опоры (5) под горизонтальную ось верхнего продольного участка (9) поворотной ломаной подъемно-транспортирующей стрелы (8), при этом две пары стальных пластин (22), расположенные в задней части надрамника, являются элементами крепления кожухов (26) двух задних аутригеров (3) к задним концам (19) выреза надрамника (2), а поперечная опора (18) поворотного гидропривода (7) с двумя шарнирными опорами (6) двух боковых поворотных гидроцилиндров усилена приваренными к верхней и нижней полкам двутавров лонжеронов (16) поперечными верхней (29) и нижней (30) горизонтальными двойными стальными полосами, скрепленными между собой вертикальными расположенными поперек надрамника стальными полосами (31), при этом со стороны кабины надрамник (2) снабжен боковыми вертикальными фиксаторами (32) горизонтального расположения на лонжеронах (16), стопкой стальных пластин (33) балластного груза (4), в которых выполнены боковые прорези (34) под упомянутые фиксаторы (32), причем стальные пластины (33) обеспечивают возможность размещения на упомянутых фиксаторах (32) над балластным грузом (4) масляного бака (35) гидравлической системы автоэвакуатора, при этом наклонный участок (11) ломаной подъемно-транспортирующей стрелы (8) снабжен установленным внутри него гидроцилиндром для поворота нижнего раздвижного (12) двухколенного участка упомянутой стрелы (8), который снабжен в свою очередь своим гидроцилиндром для регулирования длины этого участка, а фиксаторы его рабочего и нерабочего транспортных положений выполнены соответственно в виде талрепа (40) между наклонным (11) и нижним раздвижным (12) участками упомянутой стрелы (8) при крайнем верхнем положении последнего и в виде стержневого фиксатора (43), вставляемого в совпадающие сквозные фиксационные отверстия опорной проушины (41) нижнего участка (12) в его крайнем нижнем положении и двух боковых стенок (42) наклонного участка (11) упомянутой стрелы (8) на нижнем его конце, кроме того, к двум боковым стенкам (42) наклонного участка (11) упомянутой стрелы (8) и к двум боковым стенкам (21) лонжеронов (16) в задней части (19) надрамника (2) с внутренней стороны его выреза приварены стальные пластины (44,45) с возможностью скользящего контакта двух пар пластин за счет двух наружных полимерных плоских насадок (46), которые прикреплены к пластинам (45), причем скользящий контакт обеспечивает стабильное осевое рабочее положение нижнего участка стрелы при буксировке его захватом приподнятого неисправного автомобиля.
2. Опорно-силовая конструкция автоэвакуатора по п.1, отличающаяся тем, что поперечины надрамника (2) усилены в местах их соединения с лонжеронами (16) дополнительными приваренными горизонтальными треугольными ребрами жесткости (20).
3. Опорно-силовая конструкция автоэвакуатора по п.1, отличающаяся тем, что крепление к лонжеронам (16) каждого из двух узлов шарнирной опоры (5) с посадочными отверстиями (24) под горизонтальную ось верхнего продольного участка (9) поворотной ломаной подъемно-транспортирующей стрелы (8) усилено дополнительной боковой пластиной (25), приваренной к боковой стенке лонжерона (16) с внутренней стороны надрамника, причем над боковой пластиной (25) выполнено посадочное отверстие (24).
4. Опорно-силовая конструкция автоэвакуатора по п.1, отличающаяся тем, что в качестве элементов крепления кожухов (26) двух задних аутригеров (3) к задним концам (19) выреза надрамника (2) служат боковые стенки кожухов (26) аутригеров (3), причем крепление каждого аутригера (3) к внешней боковой стенке (21) лонжерона (16) усилено дополнительными стальными пластинами (27), приваренными к кожуху аутригера (26) и к верхней стенке (28) лонжерона (16).
5. Опорно-силовая конструкция автоэвакуатора по п.1, отличающаяся тем, что надрамник (2) снабжен со стороны кабины дополнительными вертикальными стержнями (36), предотвращающими смещения пластин (33) балластного груза (4) в горизонтальной плоскости во время движения автоэвакуатора, в которых выполнены сквозные отверстия под эти стержни (36), а четыре боковых вертикальных фиксатора (32) горизонтального размещения стопкой на лонжеронах стальных пластин (33) балластного груза (4) имеют два накладных прижима (37) указанных пластин (33) к надрамнику (2).
РИСУНКИ
|