|
(21), (22) Заявка: 2007139103/11, 22.03.2006
(24) Дата начала отсчета срока действия патента:
22.03.2006
(30) Конвенционный приоритет:
23.03.2005 DE 102005013569.2
(43) Дата публикации заявки: 27.04.2009
(46) Опубликовано: 10.06.2010
(56) Список документов, цитированных в отчете о поиске:
RU 3729 U1, 16.03.1997. DE 2458029 B1, 22.04.1975. DE 8806387 U1, 11.08.1988. US 3790725 A, 05.02.1074.
(85) Дата перевода заявки PCT на национальную фазу:
23.10.2007
(86) Заявка PCT:
EP 2006/060955 20060322
(87) Публикация PCT:
WO 2006/100267 20060928
Адрес для переписки:
129090, Москва, ул.Б.Спасская, 25, стр.3, ООО “Юридическая фирма Городисский и Партнеры”, пат.пов. А.В.Мицу, рег. 364
|
(72) Автор(ы):
КАЛИТЦКИ Робин (DE)
(73) Патентообладатель(и):
СИМЕНС АКЦИЕНГЕЗЕЛЛЬШАФТ (DE)
|
(54) ДЕРЖАТЕЛЬ КОНТАКТНОГО РЕЛЬСА
(57) Реферат:
Изобретение относится к области электрифицированного транспорта и направлено на усовершенствование средств крепления контактного рельса. Держатель контактного рельса выполнен с базовой частью (1), которая имеет выемку для приема первого приформованного участка (2а) контактного рельса (2). При этом вдвижная часть (3), которая имеет выемку для приема второго приформованного участка (2b) контактного рельса (2), является надвигаемой на базовую часть (1) в направлении контактного рельса (2). Базовая часть (1) содержит приформованный участок (1a) в виде ласточкина хвоста и направляющий паз с выемкой в виде ласточкина хвоста в вдвижной части (3), которую принимает приформованный участок (1a). Направляющий паз принимает направляющую цапфу (3а), которая приформована на вдвижной части (3). 7 з.п. ф-лы, 1 ил.
Изобретение относится к держателю контактного рельса с базовой частью, которая имеет выемку для приема первого приформованного участка контактного рельса, причем вдвижная часть, которая имеет выемку для приема второго приформованного участка контактного рельса, является надвигаемой на базовую часть в направлении контактного рельса, арретированно в других направлениях.
Такой держатель контактного рельса является известным из ЕР 1165341 В1. Там контактный рельс вложен первым приформованным участком в паз, который находится в теле держателя, служащем в качестве базовой части. Для арретирования контактного рельса служит так называемый вводимый в паз элемент-фиксатор, который имеет выемку для приема второго приформованного участка контактного рельса и для монтажа контактного рельса насаживается сверху на тело держателя.
Из патента US 3341670 известен держатель контактного рельса, который в своем поперечном сечении сформован в виде буквы С. Контактный рельс вдвигается при монтаже с торцовой стороны в держатель контактного рельса так, что два приформованных участка контактного рельса удерживают его в С-образном профиле.
Держатель контактного рельса согласно патенту US 3341670 требует сложного монтажа. Держатель контактного рельса согласно ЕР 1165341 В1 хотя и является легким в обращении, однако не всегда обеспечивает оптимальную стабильность. Конструкция защелкивающего устройства является сложной, если постоянно является желательной стабильная фиксация.
Из DE 9203213 U1 известен держатель контактного рельса, в котором контактный рельс удерживается на теле держателя с помощью зажимных профилей.
В основе изобретения лежит задача указать держатель контактного рельса, в случае которого контактный рельс можно монтировать быстро и надежно и обеспечивать прочное соединение с малой потребностью в пространстве.
Задача решается согласно изобретению за счет того, что базовая часть имеет приформованный участок в виде ласточкина хвоста и направляющий паз и что выемка в виде ласточкина хвоста во вдвижной части принимает приформованный участок в виде ласточкина хвоста и направляющий паз принимает направляющую цапфу, которая приформована на вдвижной части.
Как с держателем контактного рельса согласно ЕР 1165341 В1 для монтажа контактный рельс сначала вкладывают в выемку базовой части и затем обеспечивают арретирование контактного рельса с другой частью держателя контактного рельса.
В случае держателя контактного рельса согласно изобретению является важным, что предусмотрена вдвижная часть, которая является вдвигаемой в подходящие выемки базовой части в направлении контактного рельса. Этот способ соединения является особенно стабильным, в частности, при направленных вверх силах. Держатель контактного рельса согласно изобретению, кроме того, можно просто и быстро монтировать. Для этого он не требует никаких сложных удерживающих элементов, как, например, механические пружины, которые могут вводиться в выемку. Более того, он обходится с простыми штекерными элементами. Вдвижная часть не должна охватывать базовую часть.
При этом достигается преимущество, что контактный рельс с малой потребностью в пространстве является прочно соединенным с геометрическим замыканием с базовой частью. Это обеспечено за счет двойного ласточкина хвоста. В то время как на базовой части приформован ласточкин хвост, который заходит во вдвижную часть, оба приформованных участка контактного рельса также образуют ласточкин хвост, который заходит во вдвижную часть.
Например, формы вдвижной части входят в зацепление с геометрическим замыканием в соответствующие формы базовой части. Таким образом, имеет место особенно стабильное закрепление.
Например, для фиксации базовую часть и вдвижную часть соединяет по меньшей мере один винт. Как правило, может иметься множество винтов. За счет этой фиксации достигается преимущество, что также силы, которые действуют в направлении контактного рельса, не могут ухудшать контактный рельс в его стабильности.
Базовая часть закреплена, например, на строительной структуре. Строительная структура может состоять из металла или представлять собой бетонное тело. Гладкая поверхность крепления строительной структуры позволяет экономию места.
Например, строительная структура является частью пути движения для магнитной подвесной дороги. Дело в том, что магнитные подвесные дороги требуют в области трогания с места на вокзалах подвод электропитания через контактный рельс, который должен быть расположен на пути движения для магнитной подвесной дороги. Токоприемник, который находится в нижней области транспортного средства, находится тогда в контакте с контактным рельсом. Для магнитных подвесных дорог держатель контактного рельса согласно изобретению вследствие его стабильности является особенно пригодным.
Базовая часть и вдвижная часть выполнены, например, из самоизолирующей пластмассы. При этом может идти речь об армированной стекловолокном пластмассе (GFK). Тогда предпочтительным образом не требуется никаких отдельных изоляторов.
Например, между контактным рельсом, с одной стороны, и базовой частью и/или вдвижной частью, с другой стороны, расположены элементы скольжения. Они, как правило, состоят из пластмассы и позволяют относительные движения, которые могут вызываться тепловым расширением контактного рельса.
Например, вдвижная часть соединена с базовой частью через трос. За счет этого обеспечено, что перед монтажом базовая часть и относящаяся к ней вдвижная часть постоянно остаются вместе в виде пары.
С держателем контактного рельса согласно изобретению достигается, в частности, преимущество, что контактный рельс можно быстро и надежно монтировать простыми средствами.
Кроме того, достигается преимущество, что для случая, когда должны монтироваться два расположенных друг над другом контактных рельса, можно устанавливать друг над другом два подобных держателя контактного рельса.
Пример выполнения для держателя контактного рельса согласно изобретению поясняется более подробно с помощью чертежа.
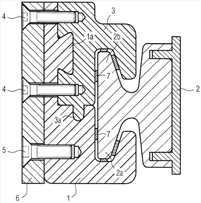
Чертеж показывает базовую часть 1 держателя контактного рельса, которая имеет выемку для приема первого приформованного участка 2а контактного рельса 2. Для монтажа контактный рельс 2 вкладывают в выемку базовой части 1. Вдвижная часть 3 имеет выемку для приема второго приформованного участка 2b контактного рельса 2. Эта вдвижная часть 3 является надвигаемой на базовую часть 1 в направлении контактного рельса 2. Для этого формы базовой части 1 и вдвижной части 3 заходят в зацепление друг в друга с геометрическим замыканием. Базовая часть 1 в форме выполнения имеет приформованный участок в виде ласточкина хвоста 1а, который охватывается с геометрическим замыканием монтированной вдвижной частью 3. Кроме того, вдвижная часть 3 заходит направляющей цапфой 3а в соответствующий направляющий паз базовой части 1.
Для особенной фиксации вдвижной части 3 на базовой части 1 служат винты 4. Через эти винты 4 и через дополнительный винт 5 базовая часть 1 закреплена на строительной структуре 6. Эта строительная структура 6 состоит из металла и является, например, частью пути движения для магнитной подвесной дороги. Базовая часть 1 и вдвижная часть 3 состоят из самоизолирующей пластмассы, например, армированной стекловолокном пластмассы GFK так, что имеет место достаточная изоляция контактного рельса 2 относительно строительной структуры 6.
Держатель контактного рельса согласно изобретению обеспечивает стабильное крепление контактного рельса 2 и может просто монтироваться.
Между контактным рельсом 2, с одной стороны, и базовой частью 1 и/или вдвижной частью 3, с другой стороны, расположены элементы скольжения 7 так, что при тепловом расширении контактного рельса 2 он может скользить в держателе контактного рельса.
Вдвижная часть 3 может быть соединена с базовой частью 1 через непоказанный трос. За счет этого обеспечено, что всегда имеется пара из базовой части 1 и вдвижной части 3.
Формула изобретения
1. Держатель контактного рельса с базовой частью (1), которая имеет выемку для приема первого приформованного участка (2а) контактного рельса (2), причем вдвижная часть (3), которая имеет выемку для приема второго приформованного участка (2b) контактного рельса (2), является надвигаемой на базовую часть (1) в направлении контактного рельса (2), арретированно в других направлениях, отличающийся тем, что базовая часть (1) содержит приформованный участок в виде ласточкина хвоста (1а) и направляющий паз и что выемка в виде ласточкина хвоста во вдвижной части (3) принимает приформованный участок в виде ласточкина хвоста (1а) и направляющий паз принимает направляющую цапфу (3а), которая приформована на вдвижной части (3).
2. Держатель по п.1, отличающийся тем, что формы вдвижной части (3) входят в зацепление с геометрическим замыканием с соответствующими формами базовой части (1).
3. Держатель по п.1 или 2, отличающийся тем, что для фиксирования базовую часть (1) и вдвижную часть (3) соединяет по меньшей мере один винт (4).
4. Держатель по п.1 или 2, отличающийся тем, что базовая часть (1) закреплена на строительной структуре (6).
5. Держатель по п.4, отличающийся тем, что строительная структура (б) является частью пути движения для магнитной подвесной дороги.
6. Держатель по п.1 или 2, отличающийся тем, что базовая часть (1) и вдвижная часть (3) выполнены из самоизолирующей пластмассы.
7. Держатель по п.1 или 2, отличающийся тем, что между контактным рельсом (2), с одной стороны, и базовой частью (1) и/или вдвижной частью (3), с другой стороны, расположены элементы скольжения (7).
8. Держатель по п.1 или 2, отличающийся тем, что вдвижная часть (3) соединена с базовой частью (1) через трос.
РИСУНКИ
|