|
|
(21), (22) Заявка: 2009115214/28, 21.04.2009
(24) Дата начала отсчета срока действия патента:
21.04.2009
(46) Опубликовано: 10.06.2010
(56) Список документов, цитированных в отчете о поиске:
RU 2098198 C1, 10.12.1997. RU 2046679 C1, 27.10.1995. SU 695722 A1, 05.11.1979. RU 2162751 C2, 20.04.2000. FR 2701873 A1, 02.09.1994. GB 1355591 A, 05.06.1974.
Адрес для переписки:
630116, г.Новосибирск, Боровая партия, 9, кв.6, Н.А. Радкевичу
|
(72) Автор(ы):
Радкевич Николай Александрович (RU)
(73) Патентообладатель(и):
Радкевич Николай Александрович (RU)
|
(54) ВИБРАТОР
(57) Реферат:
Изобретение относится к вибрационной технике и может быть применено в строительной и горной промышленности. Технический результат – повышение надежности и улучшение экономичности при работе вибратора достигается за счет оптимизации формирования потоков энергоносителя. Для достижения данного результата в корпус вибратора установлен дебаланс с поверхностью в виде кольцевого венца лопастей, предназначенных для взаимодействия с потоками энергоносителя из тангенциальных сопел. Кольцевой венец лопастей размещен в кольцевом пазу дебаланса, который в свою очередь соединен с полостью корпуса каналами, выполненными в периферийной стенке дебаланса тангенциально. 1 з.п. ф-лы, 1 ил.
Изобретение относится к вибрационной технике, конкретно к устройствам для генерирования механических колебаний, и может быть использовано в строительной индустрии, горной промышленности и других отраслях.
Известен пневматический вибровозбудитель, содержащий корпус и дебаланс с боковой поверхностью, предназначенной для взаимодействия с рабочей средой из тангенциальных сопел, расположенных во втулке, закрепленной на корпусе и охватывающей дебаланс. При этом полость между корпусом и этой втулкой с помощью специального патрубка с осевыми и радиальными каналами сообщена с источником энергоносителя, а полость между втулкой и дебалансом – с атмосферой. Дебаланс установлен на шаровых опорах и под действием струй из тангенциальных сопел может вращаться и перемещаться параллельно оси корпуса (А.с. СССР 1733119, МПК В06В 1/18, опубл. 15.05.92, бюл. 18).
Основным недостатком этого вибровозбудителя является сложное конструктивное исполнение из-за наличия дополнительных элементов и каналов системы распределения энергоносителя, а также сравнительно низкое использование внутреннего пространства корпуса, вызванного расположением втулки с тангенциальными соплами в последнем.
Наиболее близким устройством по конструктивному исполнению можно считать пневматический вибратор, содержащий корпус, закрепленную в нем втулку с тангенциальными соплами и установленный на подшипниках дебаланс с поверхностью, предназначенной для взаимодействия с потоками энергоносителя из тангенциальных сопел в виде кольцевого венца лопастей, причем полость втулки с тангенциальными соплами соединена с патрубком подачи энергоносителя, а полость корпуса соединена с атмосферой (Патент РФ 2098198, МПК 6 В06В 1/16, 1/18, опубл. 10.12.97, бюл. 34).
К недостаткам этого пневматического вибратора можно отнести наличие при работе вибратора паразитного осевого усилия, действующего на торец дебаланса со стороны кольцевого венца лопастей за счет асимметрии динамических давлений энергоносителя, вызванной наличием одной торцевой поверхностью дебаланса в зоне взаимодействия энергоносителя с поверхностью дебаланса, что отрицательно сказывается на надежности подшипников и, как следствие, пневматического вибратора в целом, а также недоиспользование кинетической энергии потока энергоносителя.
Поэтому в основу изобретения поставлена задача создания сходного по конструкции с известным, но более надежного вибратора с улучшенным использованием энергоносителя.
Поставленная задача решается в вибраторе, который, как и прототип, содержит корпус, закрепленную в нем втулку с тангенциальными соплами и установленный на подшипниках дебаланс с поверхностью, предназначенной для взаимодействия с потоками энергоносителя из тангенциальных сопел в виде кольцевого венца лопастей, причем полость втулки с тангенциальными соплами соединена с патрубком подачи энергоносителя, а полость корпуса соединена с атмосферой. В отличие от известного кольцевой венец лопастей размещен в кольцевом пазу дебаланса, при этом кольцевой паз дебаланса соединен с полостью корпуса каналами. В частном случае выполнения вибратора каналы, соединяющие кольцевой паз дебаланса с полостью корпуса, могут быть выполненные в периферийной стенке дебаланса тангенциально.
Предложенное исполнение вибратора уменьшает осевое усилие, действующее на дебаланс, и позволяет более полно использовать кинетическую энергию энергоносителя.
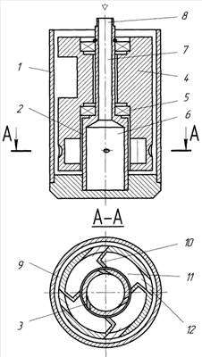
На чертеже схематически изображен вибратор в разрезе с поперечным сечением на уровне тангенциальных сопел и каналов.
Вибратор содержит корпус 1, в котором закреплена втулка 2, имеющая тангенциальные сопла 3, и установлен дебаланс 4 с возможностью вращения на подшипниках 5. Полость втулки 2 выполнена ступенчатой в виде полости 6 и канала 7, переходящего в патрубок 8 подачи энергоносителя. Полость 9 корпуса 1, в которой располагается дебаланс 4, сообщена с атмосферой. Поверхность дебаланса 4, взаимодействующая с потоками энергоносителя из сопел 3, выполнена в виде кольцевого венца лопастей 10, которые размещены в кольцевом пазу 11 дебаланса 4. Кольцевой паз 11 соединен с полостью 9 каналами 12, расположенными тангенциально в периферийной стенке дебаланса 4.
Вибратор работает следующим образом.
Подача энергоносителя под давлением осуществляется через патрубок 8, далее по каналу 7 в полость 6 втулки 2. Из этой полости через тангенциальные сопла 3 энергоноситель формируется в потоки в виде косых струй, которые взаимодействуют с лопастями 10 в виде кольцевого венца, размещенными в кольцевом пазу 11. При взаимодействии с лопастями 10 кинетическая энергия потоков энергоносителя сообщает дебалансу 4 вращательное движение. Наличие у кольцевого паза 11 симметричных боковых стенок уменьшает паразитное динамическое давление энергоносителя в осевом направлении на дебаланс 4, а также позволяет более полно использовать энергию потоков энергоносителя. Далее энергоноситель под остаточным давлением через каналы 12, расположенные тангенциально в периферийной стенке дебаланса 4, поступает в полость 9 и в атмосферу, добавляя энергию для вращения дебаланса 4 за счет направленного истечения энергоносителя из каналов 12. При вращении дебаланса 4 со смещенным центром масс создается вынуждающая сила, которая через подшипники 5 передается на корпус 1, сообщая ему круговые механические колебания.
Из описания конструкции и работы предложенного вибратора видно, что он, как и прототип, достаточно прост и может запускаться и работать в любом пространственном положении, но при этом более надежен и экономичен в эксплуатации.
Формула изобретения
1. Вибратор, содержащий корпус, закрепленную в нем втулку с тангенциальными соплами и установленный на подшипниках дебаланс с поверхностью, предназначенной для взаимодействия с потоками энергоносителя из тангенциальных сопел в виде кольцевого венца лопастей, причем полость втулки с тангенциальными соплами соединена с патрубком подачи энергоносителя, а полость корпуса соединена с атмосферой, отличающийся тем, что кольцевой венец лопастей размещен в кольцевом пазу дебаланса, при этом кольцевой паз дебаланса соединен с полостью корпуса каналами.
2. Вибратор по п.1, отличающийся тем, что каналы, соединяющие кольцевой паз дебаланса с полостью корпуса, выполнены в периферийной стенке дебаланса тангенциально.
РИСУНКИ
|
|