|
|
(21), (22) Заявка: 2007116166/09, 29.09.2005
(24) Дата начала отсчета срока действия патента:
29.09.2005
(30) Конвенционный приоритет:
30.09.2004 US 60/615,106 15.06.2005 KR 10-2005-0051300
(43) Дата публикации заявки: 20.11.2008
(46) Опубликовано: 27.05.2010
(56) Список документов, цитированных в отчете о поиске:
LG ELECTRONICS: ‘MAC-e PDU Overhead Reduction’ 3GPP TSG-RAN WG 2 REL-6 ADHOC, R2-041348, 21-24 June 2004, Sections 1-4, figs 1,2 LG ELECTRONICS: ‘Multiplexing Options and MAC-e PDU Overhead’ 3GPP TSG-RAN WORKING GROUP 2 MEETING #42, R2-041055,10-14 May 2004, Sections 2-4. EP 0991208 A2, 05.04.2000. RU 2232477 C2, 10.02.2004. RU 2233543 C2, 27.07.2004. WO 2004/042964 A1, 21.05.2004.
(85) Дата перевода заявки PCT на национальную фазу:
02.05.2007
(86) Заявка PCT:
KR 2005/003232 20050929
(87) Публикация PCT:
WO 2006/036048 20060406
Адрес для переписки:
129090, Москва, ул. Б.Спасская, 25, стр.3, ООО “Юридическая фирма Городисский и Партнеры”, пат.пов. Ю.Д.Кузнецову, рег. 595
|
(72) Автор(ы):
ДЗУНГ Миунг Чеул (KR), ЧУН Сунг Дук (KR), ЛИ Янг Дае (KR)
(73) Патентообладатель(и):
ЭлДжи ЭЛЕКТРОНИКС ИНК. (KR)
|
(54) СПОСОБ ОБРАБОТКИ ДАННЫХ НА УРОВНЕ УПРАВЛЕНИЯ ДОСТУПОМ К СРЕДЕ ПЕРЕДАЧИ (МАС)
(57) Реферат:
Изобретение относится к технике связи и может быть использовано в беспроводных мобильных системах связи. Способ обработки данных на уровне управления доступом к среде передачи (MAC) заключается в том, что по меньшей мере один первый канал отображают во второй канал на передающей стороне системы беспроводной связи. Блок данных уровня MAC компонуют посредством того, что включают в состав по меньшей мере один блок данных более высокого уровня, принятый через по меньшей мере один первый канал, и включают в состав заголовок, содержащий одно или более полей, при этом отдельно взятое поле из одного или более полей идентифицирует по меньшей мере два типа информации, используемой для идентификации по меньшей мере одного блока данных более высокого уровня из блока данных уровня MAC, причем по меньшей мере два типа информации содержат информацию о логическом канале и размер по меньшей мере одного блока данных более высокого уровня. Блок данных уровня MAC передают на более низкий уровень через второй канал. Технический результат – повышение эффективности использования ресурсов. 3 н. и 17 з.п. ф-лы, 6 ил., 1 табл.
ОБЛАСТЬ ТЕХНИКИ, К КОТОРОЙ ОТНОСИТСЯ ИЗОБРЕТЕНИЕ
Настоящее изобретение относится к способу обработки данных, а более точно к обработке данных на уровне управления доступом к среде передачи (MAC).
УРОВЕНЬ ТЕХНИКИ
Фиг. 1 – структурная схема, иллюстрирующая сеть универсальной системы мобильных телекоммуникаций (UMTS) традиционной системы мобильной связи. UMTS, в значительной степени, состоит из пользовательского оборудования (UE), наземной сети радиодоступа (UTRAN) UMTS и базовой сети (CN). UTRAN содержит по меньшей мере одну подсистему радиосети (RNS), а каждая RNS состоит из одного контроллера радиосети (RNC) и по меньшей мере одной базовой станции (Узла Б), которая управляется посредством RNC. Поблизости каждого Узла Б есть по меньшей мере одна сота.
Фиг. 2 – схема, иллюстрирующая структуру протокола радиоинтерфейса (RIP), который расположен между UE и UTRAN. Здесь, UE связано со стандартом сети беспроводного доступа Проекта партнерства 3-го поколения (3GPP). Структура RIP состоит из физического уровня, уровня канала передачи данных и сетевого уровня по горизонтальным уровням. В вертикальной плоскости структура RIP состоит из плоскости пользователя, которая используется для передачи данных, и плоскости управления, которая используется для передачи управляющих сигналов. Протокольные уровни по фиг. 2 могут классифицироваться как L1 (первый уровень), L2 (второй уровень) и L3 (третий уровень), используя принцип взаимодействия открытых систем (OSI) в качестве основы.
L1 использует физический канал для предоставления услуги передачи информации (ITS) более высокому уровню. Физический уровень связан с уровнем MAC через транспортный канал, по которому передаются данные между двумя уровнями. Что касается передачи данных между передающей стороной и приемной стороной, данные передаются через физический канал.
На L2 MAC связан с RNC через логический канал, по которому MAC предоставляет обслуживание RNC. Здесь, MAC может быть дополнительно определен множеством подуровней, таких как MAC-b (логический объект уровня MAC, манипулирующий широковещательным каналом), MAC-c/sh (логический объект уровня MAC, манипулирующий общими и совместно используемыми каналами), MAC-d (логический объект уровня MAC, отвечающий за управление выделенными каналами), MAC-e (логический объект уровня MAC, отвечающий за управление выделенным расширенным каналом), на основании каналов передачи.
Фиг. 3 – схема, иллюстрирующая протокол расширенного выделенного канала (E-DCH). Как проиллюстрировано на фиг. 3, подуровень MAC-e, который поддерживает E-DCH, расположен ниже UTRAN и подуровня MAC-D UE соответственно. Подуровень MAC-e UTRAN расположен в Узле Б и в каждом UE. С другой стороны, подуровень MAC-d UTRAN расположен в обслуживающем RNC (SRNC) и каждом UE.
Как обсуждено выше, уровень MAC содержит подуровень MAC-d, подуровень MAC-es и подуровень MAC-d. Что касается UE, есть более чем один канал данных, которые могут передавать данные одновременно, и каждый канал данных обеспечивается разными качествами обслуживания. Здесь, качество обслуживания указывает, например, на коэффициент ошибок данных и время задержки передачи и сопровождает независимый параметр качества обслуживания для каждого канала данных. Другими словами, например, если есть голосовая услуга и Интернет-услуга, поскольку параметры для предоставления каждой услуги различны, настройки для каналов нисходящей линии связи, передающих данные, являются разными.
Более того, скорость передачи данных, передаваемая по каждому каналу, является непостоянной, и скорость передачи данных изменяется во времени. Например, в системе беспроводной связи один E-DCH может быть выделен UE, а следовательно, если только один канал данных может отображаться в E-DCH в определенном периоде времени, эффективность передачи данных могла бы уменьшаться, а ресурсы беспроводного канала растрачивались бы впустую. В деталях, допустим, что E-DCH обладает возможностью передавать 1000 битов данных за определенный период времени. В этом примере, первый назначенный на E-DCH канал данных содержит 500 битов данных в определенном периоде времени, а второй назначенный на E-DCH канал данных содержит 300 битов данных в том же самом определенном периоде времени. Если один назначенный на E-DCH канал данных, который может передавать 1000 битов данных за определенный период времени, используется для передачи 800 битов данных вместо использования двух разных каналов для передачи того же самого количества данных, неэффективное использование канала данных может минимизироваться наряду со снижением ненужной траты излишних беспроводных ресурсов.
Для повышения эффективности ресурсов беспроводной связи каждый раз, когда данные проходят через каждый подуровень MAC-d/MAC-es/MAC-e, блоки данных каждого более высокого уровня могут объединяться для формирования блока данных более низкого уровня. В этом случае, передающая сторона должна поставлять принимающей стороне информацию об идентификации блока данных более высокого уровня, с тем чтобы принимающая сторона могла точно идентифицировать и выделять множество блоков данных более высокого уровня из блока данных более низкого уровня. Такая информация указывается ссылкой как информация отображения.
Хотя предоставление подробного описания комбинаций блоков данных в информации отображения помогает принимающей стороне выделять блоки данных, предоставление слишком большого количества информации в действительности может быть более пагубным. То есть, так как информация отображения является не данными, но управляющей информацией, а потому предоставление слишком большого количества управляющей информации может засорять канал передачи и растрачивать впустую дорогостоящие ресурсы. Более того, информация отображения должна минимизировать использование более низкоуровневых каналов (например, транспортных каналов), с тем чтобы приемная сторона могла более точно разделять блоки данных. Другими словами, информация отображения должна состоять из очень небольшого количества битов или должна использовать минимальное количество ресурсов более низкоуровневых каналов, наряду с переносом максимального количества данных.
СУЩНОСТЬ ИЗОБРЕТЕНИЯ
Соответственно, настоящее изобретение направлено на способ обработки данных на уровне управления доступом к среде передачи (MAC), который, по существу, устраняет одну или несколько проблем, обусловленных ограничениями и недостатками существующего уровня техники.
Задача настоящего изобретения состоит в том, чтобы предоставить способ обработки данных на уровне управления доступом к среде передачи (MAC), посредством которого по меньшей мере один первый канал отображают во второй канал на передающей стороне системы беспроводной связи.
Еще одна задача настоящего изобретения состоит в том, чтобы предоставить способ обработки данных на уровне управления доступом к среде передачи (MAC), посредством которого по меньшей мере один первый канал отображают во второй канал на приемной стороне системы беспроводной связи.
Дополнительная задача настоящего изобретения состоит в том, чтобы предоставить способ обработки данных на уровне управления доступом к среде передачи (MAC) пользовательского оборудования (UE), посредством которого по меньшей мере один первый канал отображают во второй канал на передающей стороне системы беспроводной связи.
Дополнительные преимущества, задачи и признаки изобретения будут частично изложены в описании, которое следует, а частично станут очевидными специалистам в данной области техники после изучения последующего описания или могут быть узнаны из осуществления изобретения на практике. Задачи и другие преимущества изобретения могут быть реализованы и достигнуты посредством конструкции, подробно показанной в его письменно изложенном описании и формуле изобретения, а также прилагаемых чертежах.
Для решения этих задач и достижения других преимуществ и в соответствии с назначением изобретения в качестве воплощенного и в общих чертах описанного в материалах настоящей заявки предоставлен способ обработки данных на уровне управления доступом к среде передачи (MAC), посредством которого по меньшей мере один первый канал отображают во второй канал на передающей стороне системы беспроводной связи. Более точно, способ заключается в том, что компонуют блок данных уровня MAC посредством того, что включают в состав по меньшей мере один блок данных более высокого уровня, принятый через по меньшей мере один первый канал, и добавляют к нему заголовок, который включает в себя по меньшей мере одно поле. Здесь, любое поле из по меньшей мере одного поля указывает по меньшей мере два типа информации. Более того, согласно способу передают блок данных уровня MAC на более низкий уровень через второй канал.
В еще одном аспекте настоящего изобретения способ на приемной стороне в системе беспроводной связи заключается в том, что принимают блок данных уровня MAC с более низкого уровня по второму каналу, при этом блок данных уровня MAC включает в себя заголовок, который включает в себя по меньшей мере одно поле. Здесь, любое поле из по меньшей мере одного поля указывает по меньшей мере два типа информации. Более того, согласно способу передают по меньшей мере один блок данных более высокого уровня, включенный в блок данных уровня MAC, на более высокий уровень через по меньшей мере один первый канал с использованием по меньшей мере двух типов информации, включенных в любое поле из по меньшей мере одного поля.
Кроме того, в еще одном аспекте настоящего изобретения способ обработки данных на уровне управления доступом к среде передачи (MAC) пользовательского оборудования (UE) заключается в том, что компонуют блок данных уровня MAC посредством того, что включают в состав по меньшей мере один блок данных более высокого уровня, принятый через по меньшей мере один первый канал, и присоединяют к нему заголовок, который включает в себя по меньшей мере одно поле. Здесь, любое поле из по меньшей мере одного поля указывает по меньшей мере два типа информации. Более того, согласно способу передают блок данных уровня MAC на более низкий уровень через второй канал.
Должно быть понятно, что как вышеизложенное общее описание, так и последующее подробное описание настоящего изобретения являются примерными и пояснительными и предназначены для предоставления дополнительного разъяснения заявленного изобретения.
КРАТКОЕ ОПИСАНИЕ ЧЕРТЕЖЕЙ
Прилагаемые чертежи, которые включены в состав, чтобы обеспечить дополнительное понимание изобретения, и включены в и составляют часть этой заявки, иллюстрируют вариант(ы) осуществления изобретения и вместе с описанием служат для объяснения принципа изобретения. На чертежах:
фиг. 1 – структурная схема, иллюстрирующая сеть универсальной системы мобильных телекоммуникаций (UMTS) традиционной системы мобильной связи;
фиг. 2 – схема, иллюстрирующая структуру протокола радиоинтерфейса (RIP), который расположен между UE и UTRAN;
фиг. 3 – схема, иллюстрирующая протокол расширенного выделенного канала (E-DCH);
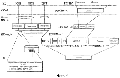
фиг. 4 – схема, иллюстрирующая протокол для расширенного выделенного канала (E-DCH);
фиг. 5 – схема, иллюстрирующая пример формата данных PDU MAC-e;
фиг. 6 – структурная схема устройства беспроводной связи для реализации вариантов осуществления настоящего изобретения.
НАИЛУЧШИЙ ВАРИАНТ ОСУЩЕСТВЛЕНИЯ ИЗОБРЕТЕНИЯ
Далее будет сделана подробная ссылка на предпочтительные варианты осуществления настоящего изобретения, примеры которых проиллюстрированы на прилагаемых чертежах. Где возможно, идентичные ссылочные номера будут использоваться на всем протяжении чертежей для ссылки на одинаковые или подобные части.
Фиг. 4 – схема, иллюстрирующая протокол для расширенного выделенного канала (E-DCH). На фиг. 4, оба, выделенный канал (DCH) и E-DCH, являются каналом передачи, используемым исключительно UE. В частности, E-DCH используется UE для передачи данных в направлении восходящей линии связи в UTRAN и может передавать данные на высокой скорости в отличие от DCH. Для того чтобы передавать данные на высокой скорости, E-DCH использует схемы, такие как гибридный автоматический запрос на повторение (HARQ) и адаптивные модуляция и кодирование (AMC), и управляемую Узлом Б диспетчеризацию.
Для того чтобы обеспечить поддержку E-DCH, Узел Б передает на UE управляющую информацию нисходящей линии связи для управления передачей E-DCH посредством UE. Управляющая информация нисходящей линии связи включает в себя, например, ответное сообщение (например, подтверждение/отрицательное подтверждение) для управления HARQ и информацию о выделении ресурсов E-DCH для управляемой Узлом Б диспетчеризации. Наоборот, UE передает управляющую информацию восходящей линии связи на Узел Б. В качестве управляющей информации восходящей линии связи фигурирует информация запроса скорости передачи E-DCH для управляемой Узлом Б диспетчеризации, информация о состоянии буфера UE и информация о состоянии мощности UE, чтобы назвать немногие.
Для E-DCH поток MAC-d определен между MAC-d и MAC-e. Здесь, логические каналы отображаются в поток MAC-d, который отображается в E-DCH, который отображается в расширенный выделенный физический канал данных (E-DPDCH).
Подуровень MAC-d ответственен за управление DCH, а подуровни MAC-e/MAC-es ответственны за управление E-DCH, который используется для передачи высокоскоростных данных в направлении восходящей линии связи. В настоящее время подуровень MAC-e и подуровень MAC-es определены в UE неочевидно.
Подуровень MAC-d передающей стороны компонует модуль протокольных данных (PDU) из модуля служебных данных (SDU) MAC-d, принятого с более высокого уровня (или RLC, чтобы быть точным). В качестве альтернативы, подуровень MAC-d приемной стороны идентифицирует или выделяет SDU MAC-d из PDU MAC-d, принятого с более низкого уровня, а после этого передает на более высокий уровень. Здесь, MAC-d обменивается PDU MAC-d с подуровнем MAC-e через поток MAC-d или обменивается PDU MAC-d с физическим уровнем через DCH. Подуровень MAC-d приемной стороны использует заголовок MAC-d, который присоединен к PDU MAC-d, для восстановления SDU MAC-d и передает восстановленный SDU MAC-d на более высокий уровень.
Подуровни MAC-e/MAC-es передающей стороны компонуют PDU MAC-es из PDU MAC-d, принятого с более высокого уровня или, более точно, с подуровня MAC-d. PDU MAC-es может компоноваться из PDU MAC-d, принятого через логический канал. Более того, так как PDU MAC-e может компоноваться из множества PDU MAC-es, PDU MAC-e может быть скомпонован по меньшей мере из двух PDU MAC-d, переданных через по меньшей мере два логических канала. Более того, в процессе создания PDU более низкого уровня из PDU более высокого уровня на передающей стороне уровня MAC присоединяется заголовок. Здесь, присоединенный заголовок может включать в себя различную управляющую информацию, такую как информация отображения. На приемной стороне PDU MAC-es может идентифицироваться или выделяться из PDU MAC-e, принятого с физического уровня, и подуровень MAC-es приемной стороны восстанавливает PDU MAC-d из PDU MAC-es, а также передает восстановленный PDU MAC-d на MAC-d. Здесь, MAC-e обменивается PDU MAC-e с физическим уровнем через E-DCH.
Как обсуждено выше, для того чтобы приемной стороне принимать блок данных (например, PDU MAC-e) и точно разделять или идентифицировать принятый блок данных на множество блоков данных более высокого уровня (например, PDU MAC-es или PDU MAC-d), передающая сторона должна снабжать приемную сторону информацией отображения. Предпочтительно при поставке информации отображения на приемную сторону заголовок блока данных должен быть включен в состав.
Фиг. 5 – схема, иллюстрирующая пример формата данных PDU MAC-e. На фиг. 5 PDU MAC-e состоит из порции заголовка и порции данных. Порция данных может включать в себя по меньшей мере один PDU MAC-es или по меньшей мере один PDU MAC-d, и на этой иллюстрации два PDU MAC-es включены в порцию данных. В порции заголовка MAC-e включена информация отображения. Информация 1 отображения и информация 2 отображения на фиг. 5 представляют информацию отображения, имеющую отношение к PDU 1 MAC-es и PDU 2 MAC-es соответственно.
Более того, порция заголовка включает в себя различные поля. То есть, поля могут быть описаны в качестве различной информации, такой как размер блока данных, количество блоков данных более высокого уровня в блоке данных более низкого уровня и идентификация логического канала, для облегчения и предоставления возможности идентификации блоков данных верхнего уровня из блока данных более низкого уровня. Без этих полей или информации идентификация блоков данных была бы затруднительной. Более точно, в рамках ссылки на фиг. 5 порция заголовка MAC-e может включать в себя различные поля. В частности, одно из полей может включать в себя информацию для описания или идентификации данных из порции данных. Это поле может идентифицировать, например, логический канал, поток MAC-d и размер PDU MAC-d, сцепленных в связанный PDU MAC-es. В дополнение, другие поля могут идентифицировать другую информацию, такую как размер набора следующих друг за другом PDU MAC-d, количество PDU MAC-d и идентификация логического канала.
Предпочтительно информация отображения использует минимальное количество ресурсов более низкоуровневого канала (то есть транспортного канала) и предоставляет точную информацию, с тем чтобы приемная сторона могла точно выделять или идентифицировать блоки данных более высокого уровня из блока данных более низкого уровня. Другими словами, информация отображения должна быть составлена из очень небольшого количества битов или должна использовать минимальное количество ресурсов более низкоуровневого канала, наряду с включением в состав максимального количества данных.
В информации отображения определенная информация может считаться необходимой при создании эффективной информации отображения. Информация отображения должна включать в себя информацию для идентификации каналов, информацию для идентификации размера блока данных и информацию о количестве блоков данных. Детализация каждого типа информации будет описана подробно.
В качестве варианта осуществления настоящего изобретения задача состоит в том, чтобы минимизировать размер информации отображения. Чтобы выполнить это, как описано выше, информация отображения должна включать в себя информацию для идентификации каналов. То есть, если по меньшей мере один блок данных более высокого уровня, переданный по меньшей мере через один более высокоуровневый канал (например, логический канал), используется для формирования или компоновки одиночного блока данных более низкого уровня, информация отображения должна предоставлять информацию, необходимую для идентификации того, через какой логический канал(ы) пришел по меньшей мере один блок данных. Дополнительно, информация отображения должна включать в себя информацию для идентификации размера блока данных более высокого уровня (или количества (объема) данных в каждом блоке данных) либо, в качестве альтернативы, линии раздела для каждого блока данных более высокого уровня в блоке более низкого уровня. По существу, используя информацию отображения, приемная сторона должна быть способна идентифицировать по одиночному блоку данных более низкого уровня, какие данные более высокого уровня передавались и через какой логический канал.
В отсутствие информации отображения все же возможно определять, каким образом формировался или компоновался блок данных более низкого уровня на приемной стороне. Однако, так как приемная сторона не обладает информацией об идентификации канала и/или размере блоков данных, приемная сторона, наиболее вероятно, не сможет точно восстанавливать и передавать данные в каждый соответственный канал.
В дополнение к информации для идентификации каналов и информации для идентификации размера блока данных информацией отображения, которая может быть включена в состав, является количество блоков данных более высокого уровня. Обсуждение количества блоков данных будет предоставлено ниже.
Что касается минимизации размера информации отображения, информация, имеющая отношение к идентификации каналов, может быть уменьшена. Более точно, блок данных более высокого уровня (например, PDU MAC-e) включает в себя заголовок, в то время как он передается через логический канал. Заголовок содержит по меньшей мере одно поле, в которое включена различная информация, имеющая отношение к блоку данных. Например, поле может включать в себя информацию, идентифицирующую логический канал, поток MAC-d и размер PDU MAC-d, сцепленных в связанный PDU MAC-es (в дальнейшем, это поле указывается как «поле описания данных»). Более того, заголовок может включать в себя поля, содержащие информацию о PDU MAC-e в отношении, например, индекса размера, каковой является полем, которое идентифицирует размер набора следующих друг за другом PDU MAC-d, идентификатора (ID) логического канала, каковой является полем, которое обеспечивает идентификацию экземпляра логического канала, когда многочисленные логические каналы ведутся в одном и том же потоке MAC-d, и количества PDU MAC-d, которое идентифицирует количество следующих друг за другом PDU MAC-d, соответствующих значению поля описания данных.
Соответствие между значением поля описания данных и ID логического канала, потоком MAC-d и размером PDU обеспечивается более высокими уровнями. Более того, вследствие дискретизации в размерах более низкоуровневого блока (например, размерах транспортного блока), которые могут поддерживаться, значение поля описания данных может быть присоединено в конце заголовка MAC-e для указания, что больше нет PDU MAC-es, сцепленных в этот конкретный PDU MAC-e.
Естественно, каждое поле в заголовке представлено по меньшей мере 1 битом. По существу, множество этих информационных полей может привести в результате к тому, что заголовок будет содержать относительно большое количество битов. Поле информации о размере состоит из индекса размера (3 бита), количества PDU MAC-d (7 битов) и флага (1 бит), составляя в сумме 11 битов. Одновременно ID логического канала, который состоит из 4 битов, может принимать изменяющийся размер в зависимости от количества логических каналов и количества PDU MAC-d. Очевидно, размер поля информации о размере и поля ID логического канала в заголовке является заметно значимым.
Функциональные возможности поля ID логического канала необходимы, так как оно идентифицирует логический канал, к которому имеет отношение PDU MAC-d. Однако не является необходимым включать поле ID логического канала в каждый PDU MAC-d, это означает, что увеличение в размере заголовка точно соответствует количеству PDU MAC-d. Из того факта, что один PDU MAC-e включает в себя более чем один PDU MAC-d из одного и того же логического канала, ID логического канала может быть включен только однажды для каждой последовательности SDU MAC из одного логического канала. Другими словами, только один общий ID логической идентификации должен присоединяться для всех SDU MAC-d, которые принадлежат одному и тому же логическому каналу. На практике, наличие одного общего поля ID логического канала не вызывает проблему неопределенности на стороне приемника, так как SDU MAC-d имеют одно и то же значение поля ID логического канала.
В качестве альтернативы, поле индекса размера может исключаться из заголовка, чтобы уменьшить размер PDU MAC-e, посредством ссылки на поле ID логического канала. Другими словами, это может делаться логическим выводом размера PDU из логического канала, управляемого полем ID логического канала.
Вкратце, размер информации отображения может быть уменьшен включением поля ID логического канала единожды, для последовательности PDU MAC-d для одного и того же логического канала, в заголовке PDU MAC-e и невключением поля индекса размера в заголовок PDU MAC-e.
В дополнение к уменьшению размера информации отображения уменьшением или устранением информации лишних полей из заголовка блока данных блок данных может использоваться более эффективно. Как описано выше, одна из информации, которую должна включать в себя информация отображения, идентифицирует размер блока данных или количество данных для каждого блока данных. В качестве одного из способов уменьшения размера информации отображения информация, имеющая отношение к количеству данных, переданных через логический канал, включенный в информацию отображения, может предоставляться непосредственно. То есть, если 100-битные данные переданы через первый логический канал в блок данных более низкого уровня, эта информация предоставляется приемной стороне непосредственно. В этой ситуации размер информации отображения, который предоставляет количество данных, увеличивается в соответствии с максимальным количеством данных, которые могут быть включены в одиночный блок данных более низкого уровня. Например, если количеством данных, которое может передавать блок данных более низкого уровня, является максимум 1000 бит, информация отображения для предоставления информации о каналах должна быть по меньшей мере log210000=14 битов.
Альтернативно, в качестве еще одного способа уменьшения размера информации отображения, набор блоков данных меньшего размера или размеры объема могут задаваться по отношению к блоку данных более высокого уровня. Другими словами, размер блоков данных меньшего размера (или объем меньшего размера) является меньшим, чем размер (или объем) одного блока данных более высокого уровня. После этого размер или объем блока данных более высокого уровня определяется на основании количества блоков данных меньшего размера. Например, если объемом данных в блоке данных более высокого уровня является 100 битов, этот 100-битный блок данных может быть выражен 10 блоками данных, где размером каждого блока является 10 битов, или 5 блоками данных, где размером каждого блока данных является 20 битов. Здесь, если передающая сторона и приемная сторона, обе договариваются выражать или индексировать и отображать 10-битный блок данных или 20-битный блок данных в меньший размер данных (например, 10 битов = ‘1’ или 20 битов = ‘2’), размер блока данных более высокого уровня может уменьшаться, так как размер данных выражается с использованием индекса.
В работе является возможным учитывать разную природу или характеристики каждого канала. Например, если первый логический канал передает меньший размер данных, то первый логический канал может использовать индексацию 10 битов=’1′ и 20 битов = ‘2’ для отображения блоков денных. Одновременно, если второй логический канал передает больший размер данных, второй логический канал может использовать индексацию 50 битов=’1′ и 100 битов = ‘2’ для отображения блоков данных. По существу, могут специализироваться разные логические каналы.
Следующей является таблица, которая иллюстрирует пример индексов в информации отображения относительно размеров блоков данных из каждого канала.
 |
1ый логический канал |
2ой логический канал |
3ий логический канал |
| Индекс 1 |
100 битов |
50 битов |
50 битов |
| Индекс 2 |
200 битов |
60 битов |
75 битов |
| Индекс 3 |
300 битов |
70 битов |
100 битов |
В предыдущем примере битовые размеры данных у данных в заданном канале могут фиксироваться без изменения. То есть, если размеры блока данных в заданном канале фиксированы или постоянны, передающая и приемная стороны не должны подтверждать битовые размеры данных каждый раз, когда блок данных передается или принимается. Взамен до тех пор, пока приемная сторона знает, из какого логического канала передается блок данных, приемная сторона может определять размеры блока данных. Поэтому возможно объединять или разделять блок данных, не передавая и не принимая информацию отображения.
При объединении по меньшей мере одного блока данных более высокого уровня в одиночный блок данных более низкого уровня или наоборот, не имеет смысла владеть информацией о размере по меньшей мере одного блока данных более высокого уровня. То есть, для того чтобы приемная сторона точно определила из одиночного блока данных более низкого уровня размеры данных, передаваемых через каждый канал, приемной стороне необходима информация не только о размере по меньшей мере одних данных более высокого уровня, ей также необходима информация о количестве блоков данных более высокого уровня.
Более того, в еще одном способе, если одиночный блок данных более низкого уровня сформирован из по меньшей мере одного блока данных более высокого уровня, размер данных блока данных более высокого уровня, передаваемого через один логический канал, может определяться по меньшей мере индексом. Например, обращение к таблице, при конфигурировании одного блока данных более низкого уровня, предполагает что есть 500 битов данных в первом логическом канале. Здесь, пять блоков данных индекса 1 со 100-битным размером могут использоваться для определения 500 битов. Другими словами, тот же самый индекс того же самого канала может использоваться для определения или выражения размера блока данных более высокого уровня. В качестве альтернативы, один блок данных индекса 2 с 200-битным размером может использоваться вместе с одним блоком данных индекса 3 с 300-битным размером для определения 500 битов.
Преимущество использования одного индекса при формировании или компоновке одного блока данных более низкого уровня состоит в том, что при использовании одного и того же индекса для определения или выражения размера каждого блока данных более высокого уровня информация отображения может быть меньшей по размеру, чем если используется более чем один индекс. С другой стороны, недостаток использования одного индекса по сравнению с множеством индексов состоит в том, что, в зависимости от размера блока данных более высокого уровня, фиксированный размер по одному индексу иногда не может точно определять или выражать размер блока данных более высокого уровня. Если второй логический канал содержит, например, 130 битов, вновь обращаясь к таблице, использование только индекса 1 было бы не способным точно определять или выражать 130 битов, так как размером блока данных по индексу 1 второго канала является 50 (50 битов x 3 = 150), следовательно, 20 битов были бы потрачены впустую. Однако, если такое же количество битов может определяться или выражаться с использованием индекса 2 и индекса 3 (60 битов + 70 битов = 130 битов), размер данных блока данных более высокого уровня может выражаться точно.
Как упомянуто выше, другой информацией, которая должна быть включена в информацию отображения блока данных более низкого уровня, является количество блоков данных, которое ставится в соответствие каждому индексу для определения или выражения размера данных блоков данных более низкого уровня. Со ссылкой на предыдущий пример, блок данных более высокого уровня в 500 битов передается по первому логическому каналу. В этом случае, приемная сторона не может точно идентифицировать блоки данных более высокого уровня из блока данных более низкого уровня, если информация отображения содержит информацию, например, такую, что блок данных более высокого уровня передавался через первый логический канал и что размеры данных, которыми определялся или выражался блок данных более высокого уровня, основаны на индексе 1. Чтобы заставить делать по-другому, информация о количестве 50-битных блоков данных также должна быть предоставлена. Здесь, значение, указанное индексом, может быть информацией о размере блока данных или другим параметром, имеющим отношение к характеристике канала.
Другой способ минимизации размера информации отображения, идентификация (ID) канала у канала, используемого для передачи блоков данных более высокого уровня, и размер блоков данных верхнего уровня могут быть предопределены между передающей стороной и приемной стороной с использованием индекса. Отличие в этом способе от ранее разъясненного способа состоит в том, что ID канала у канала передачи блока данных более высокого уровня может определяться с использованием индекса. Здесь, индекс может рассматриваться в качестве поля в заголовке.
Более точно, индекс может использоваться для определения исходящего канала, через который передавались данные блока данных более высокого уровня, который является частью одного блока данных более низкого уровня, и для заблаговременной подготовки передающей стороны и приемной стороны касательно предоставления размера блока данных более высокого уровня. Этот индекс, содержащий вышеприведенную информацию, в таком случае, включается в отображающую информацию. Например, допустим, что первый логический канал и второй логический канал отображаются вместе в одиночный канал, использующий MAC уровень, и что первый логический канал имеет в распоряжении набор, содержащий три размера, которые могут компоноваться, а второй логический канал имеет в распоряжении набор, содержащий пять размеров, которые могут компоноваться. Здесь, если информация об ID канала и размере данных закодирована в информацию отображения, соответственно, необходимы 1-битная информация ID канала и 3-битная информация размера данных, составляющие в сумме 4 бита. Однако, если информация об ID канала и размере данных выражена или определена одним индексом, а затем закодирована, индекс может иметь размер в 3 бита, так как возможной полной комбинацией является 8. Следовательно, размер информации отображения может быть минимизирован.
Варианты осуществления настоящего изобретения описаны по отношению к системе беспроводной связи. Однако варианты осуществления настоящего изобретения могут применяться к другим устройствам, таким как персональный цифровой секретарь (PDA) и блокнотный/мобильный компьютер, обладающий возможностями беспроводной связи. В дополнение, технологии, использованные для описания вариантов изобретения настоящего изобретения, не ограничены UMTS или подобными системами беспроводной связи. Более того, варианты осуществления настоящего изобретения могут применяться к различным интерфейсным технологиям, таким как множественный доступ с временным разделением каналов (TDMA), множественный доступ с кодовым разделением каналов (CDMA) и множественный доступ с частотным разделением каналов (FDMA), а также могут применяться к системам беспроводной связи, использующим физический уровень.
Варианты осуществления настоящего изобретения могут быть представлены в программном обеспечении, программно-аппаратных средствах, аппаратных средствах или в любой их комбинации. Другими словами, варианты осуществления настоящего изобретения могут быть воплощены в аппаратных средствах с использованием аппаратно реализованной логики, такой как управляющие программы, линейная микросхема, специализированная интегральная схема (ASIC). Более того, компьютерный язык может использоваться для отображения в виде управляющих программ вариантов осуществления настоящего изобретения на устройство записи, такое как накопитель на жестком диске (HDD), гибкий магнитный диск и лента, а также оптический носитель информации, постоянное запоминающее устройство (ПЗУ, ROM) и оперативное запоминающее устройство (ОЗУ, RAM).
Фиг. 6 – структурная схема устройства беспроводной связи для реализации вариантов осуществления настоящего изобретения. На фиг. 6 устройство 100 мобильной связи включает в себя модуль 110 процессора (например, микропроцессор или цифровой процессор), радиочастотный (РЧ, RF) модуль 135, модуль 106 регулирования мощности, антенну 140, аккумулятор 155, модуль 115 отображения, кнопочную панель 120, модуль 130 запоминающего устройства, динамик 145 и микрофон 150.
Пользователь вводит командную информацию через кнопочную панель 120 или микрофон 145. Процессор 110 обрабатывает введенную командную информацию для того, чтобы выполнить запрошенную пользователем команду. Одновременно, модуль 130 запоминающего устройства подвергается поиску необходимых данных при выполнении команд, а модуль 110 процессора снабжает модуль 115 отображения инструкциями для отображения пользователю введенной командной информации и полученных данных из модуля 130 запоминающего устройства.
После этого модуль 110 процессора передает командную информацию в РЧ-модуль 135, с тем чтобы беспроводный сигнал, включающий в себя данные голосовой связи, мог передаваться РЧ-модулем 135. РЧ-модуль 135 располагает передатчиком и приемником для передачи и приема сигналов, а беспроводные сигналы передаются и принимаются, в конечном счете, на и с антенны 140. Если РЧ-модуль 135 принимает беспроводный сигнал, модуль 110 процессора преобразует принятый беспроводной сигнал в полосу модулирующих частот, с тем чтобы беспроводной сигнал мог обрабатываться. Преобразованный сигнал передается на динамик 145 или передается в качестве декодированной информации.
РЧ-модуль 135 используется для приема данных из сети или передачи информации, детектированной или сформированной из устройства беспроводной связи. Модуль 130 запоминающего устройства хранит информацию, детектированную или сформированную из устройства беспроводной связи. Более того, модуль 110 процессора принимает данные из устройства беспроводной связи, обрабатывает принятые данные и/или передает обработанные данные.
Устройство беспроводной связи согласно вариантам осуществления настоящего изобретения, как проиллюстрировано на фиг. 4, может включать в себя стек протоколов, который состоит из множества уровней. Уровень MAC UE может комбинировать блок данных более высокого уровня с блоком данных уровня MAC посредством по меньшей мере одного логического канала. Более того, уровень MAC UE также может комбинировать информацию ID канала более высокого уровня, доставленную на уровень MAC посредством блока данных более высокого уровня, и комбинировать информацию отображения, в том числе информацию, имеющую отношение к количеству данных каждого блока данных более высокого уровня, в блок данных уровня MAC. В дополнение, уровень MAC UE может передавать блок данных уровня MAC на более низкий уровень через низкоуровневый канал (например, транспортный канал). Этапы вышеприведенного могут быть представлены или закодированы в программном обеспечении или аппаратных средствах.
ПРОМЫШЛЕННАЯ ПРИМЕНИМОСТЬ
Специалистам в данной области техники будет очевидно, что различные модификации и варианты могут быть сделаны в настоящем изобретении не выходя из сущности или объема изобретения. Таким образом, подразумевается, что настоящее изобретение покрывает модификации и варианты этого изобретения, при условии, что они оказываются в пределах объема прилагаемой формулы изобретения и ее эквивалентов.
Формула изобретения
1. Способ обработки данных на уровне управления доступом к среде передачи (MAC), посредством которого по меньшей мере один первый канал отображают во второй канал на передающей стороне системы беспроводной связи, заключающийся том, что компонуют блок данных уровня MAC посредством того, что включают в состав по меньшей мере один блок данных более высокого уровня, принятый через по меньшей мере один первый канал, и включают в состав заголовок, содержащий одно или более полей, при этом отдельно взятое поле из одного или более полей идентифицирует по меньшей мере два типа информации, используемой для идентификации по меньшей мере одного блока данных более высокого уровня из блока данных уровня MAC, причем по меньшей мере два типа информации содержат информацию о логическом канале и размер по меньшей мере одного блока данных более высокого уровня; и передают блок данных уровня MAC на более низкий уровень через второй канал.
2. Способ по п.1, в котором первым каналом является логический канал, а вторым каналом является транспортный канал.
3. Способ по п.1, в котором каждое из одного или более полей включают для каждого логического канала.
4. Способ по п.1, в котором информацией о логическом канале является идентификация логического канала.
5. Способ по п.4, в котором дополнительно добавляют идентификацию одного общего логического канала во все блоки данных более высокого уровня, передаваемые через один и тот же логический канал.
6. Способ по п.2, в котором по меньшей мере два типа информации дополнительно содержат поток MAC-d.
7. Способ по п.6, в котором транспортным каналом является расширенный выделенный канал (E-DCH).
8. Способ по п.1, в котором заголовок дополнительно содержит поле, указывающее количество блоков данных более высокого уровня, переданных через по меньшей мере один первый канал, включенных в блок данных уровня MAC, при этом по меньшей мере одним первым каналом является логический канал.
9. Способ по п.1, в котором дополнительно индексируют объем блоков данных более высокого уровня, переданных через по меньшей мере один первый канал, в меньшие размеры объема и вставляют индекс в заголовок.
10. Способ по п.9, в котором каждый меньший размер объема, представляющий каждый логический канал, является разным.
11. Способ обработки данных на уровне управления доступом к среде передачи (MAC), посредством которого по меньшей мере один первый канал отображают во второй канал на приемной стороне системы беспроводной связи, заключающийся в том, что принимают блок данных уровня MAC с более низкого уровня через второй канал, причем блок данных уровня MAC содержит заголовок, включающий в себя одно или более полей, при этом отдельно взятое поле из одного или более полей идентифицирует по меньшей мере два типа информации, используемой для идентификации по меньшей мере одного блока данных более высокого уровня из блока данных уровня MAC, причем по меньшей мере два типа информации содержат информацию о логическим канале и размер по меньшей мере одного блока данных более высокого уровня; и передают по меньшей мере один блок данных более высокого уровня в блоке данных уровня MAC на более высокий уровень через по меньшей мере один первый канал с использованием по меньшей мере двух типов информации в отдельно взятом поле.
12. Способ по п.11, в котором по меньшей мере одним первым каналом является логический канал, а вторым каналом является транспортный канал.
13. Способ по п.11, в котором каждое из одного или более полей включают для каждого логического канала.
14. Способ по п.11, в котором информацией о логическом канале является идентификация логического канала.
15. Способ по п.14, в котором дополнительно добавляют идентификацию одного общего логического канала во все блоки данных более высокого уровня, передаваемых через один и тот же логический канал.
16. Способ по п.12, в котором по меньшей мере два типа информации дополнительно содержат поток MAC-d.
17. Способ по п.16, в котором транспортным каналом является расширенный выделенный канал (E-DCH).
18. Способ по п.11, в котором заголовок дополнительно содержит поле, указывающее количество блоков данных более высокого уровня, переданных через по меньшей мере один первый канал, включенных в блок данных уровня MAC, при этом по меньшей мере одним первым каналом является логический канал.
19. Способ обработки данных на уровне управления доступом к среде передачи (MAC), посредством которого по меньшей мере один первый канал отображают во второй канал в пользовательском оборудовании (UE) системы беспроводной связи, заключающийся в том, что компонуют блок данных уровня MAC посредством того, что включают в состав по меньшей мере один блок данных более высокого уровня, принятый через по меньшей мере один первый канал, и включают в состав заголовок, содержащий одно или более полей, при этом отдельно взятое поле из одного или более полей идентифицирует по меньшей мере два типа информации, используемой для идентификации по меньшей мере одного блока данных более высокого уровня из блока данных уровня MAC, причем по меньшей мере два типа информации содержат информацию о логическом канале и размер по меньшей мере одного блока данных более высокого уровня; и передают блок данных уровня MAC на более низкий уровень через второй канал.
20. Способ по п.19, в котором по меньшей мере одним первым каналом является логический канал, а вторым каналом является транспортный канал.
РИСУНКИ
|
|