|
|
(21), (22) Заявка: 2006139071/09, 16.03.2005
(24) Дата начала отсчета срока действия патента:
16.03.2005
(30) Конвенционный приоритет:
05.04.2004 US 10/818,006
(43) Дата публикации заявки: 20.05.2008
(46) Опубликовано: 27.05.2010
(56) Список документов, цитированных в отчете о поиске:
WO 0078012 A1, 2000.12.21. RU 2142206 C1, 1999.11.27. EP 1376992 A2, 2004.01.02. GB 2391752 A, 2004.02.11. WO 0163888 A1, 2001.08.30. EP 0838907 A2, 1998.04.29.
(85) Дата перевода заявки PCT на национальную фазу:
07.11.2006
(86) Заявка PCT:
EP 2005/002773 20050316
(87) Публикация PCT:
WO 2005/099105 20051020
Адрес для переписки:
129090, Москва, ул. Б.Спасская, 25, стр.3, ООО “Юридическая фирма Городисский и Партнеры”, пат.пов. Ю.Д.Кузнецову, рег. 595
|
(72) Автор(ы):
АНГЕЛЬХАГ Андерс (SE)
(73) Патентообладатель(и):
СОНИ ЭРИКССОН МОБАЙЛ КОММЬЮНИКЕЙШНЗ АБ (SE)
|
(54) ДАТЧИК ЭКРАННОЙ ЗАСТАВКИ
(57) Реферат:
Изобретение относится к устройствам связи. Техническим результатом является сокращение энергопотребления устройства связи. Результат достигается тем, что гарнитура или телефонная трубка включают в себя по меньшей мере один экран дисплея для отображения информации связи относительно устройства, датчик для предоставления сигнала управления и средство управления для управления процессом работы экрана дисплея, реагирующее на сигнал управления. Устройство имеет первый режим, в котором экран дисплея отображает по меньшей мере малое количество информации, и второй режим, в котором экран дисплея использует меньше энергии по сравнению с первым режимом. Сигнал управления вызывает переключение между первым режимом и вторым режимом. 2 н. и 18 з.п. ф-лы, 5 ил.
Область техники, к которой относится изобретение
Настоящее изобретение относится к устройствам связи, и более конкретно, но не в качестве ограничения, к трубкам мобильных телефонов, головным гарнитурам и соотнесенным устройствам связи, использующим датчики для содействия в сокращении энергопотребления.
Уровень техники
Популярность и всемирное признание портативных мобильных телефонов являются общепризнанными. Это широко распространенное использование привело к тому, что мобильный телефон стал общей частью как современного общества, так и современного бизнеса. Существует множество причин успеха мобильных телефонов, они включают в себя присущую ему легкость, с которой пользователь может получить доступ к телефонной связи, перемещаясь с места на место, без участия стационарных сетей связи. Эта легкость доступа к связи предоставляет более значительное удобство для потребителя и увеличивает эффективность бизнеса.
Обычно портативные мобильные телефоны носят в карманах, на поясе, в дамских сумочках и портфелях. Обычно такие телефоны находятся в состоянии «готовности», поскольку пользователь зачастую желает, чтобы телефон был легко доступен для немедленного использования и был в состоянии принимать вызовы. Такие требования функций современной портативной трубки мобильного телефона требуют улучшенной эффективности в энергопотреблении и сроке службы аккумулятора (батареи). Таким образом, является популярным «выключение питания» экранов телефонной трубки и/или связанных функций телефонной трубки по прохождении заданного промежутка времени с последнего использования экрана для отображения информации. Этот аспект «выключения питания» способствует продлению срока службы аккумулятора и позволяет пользователю оставлять телефон в режиме «готовности» в течение продолжительных периодов времени без лишних потерь энергии.
С точки зрения уровня техники технологии, популярно использовать датчики пространственной близости в телефонах для активации различных функций. Например, патент США 5.224.151 раскрывает датчик пространственной близости для использования громкоговорящей связи в телефонной трубке. Эта специфическая схема использует встроенный в телефонную трубку модуль обнаружения инфракрасного диапазона для управления переключениями между режимом разговора по телефонной трубке и режимом громкой связи. Аналогично патент США 5.337.353 раскрывает функциональные возможности датчика пространственной близости. В этой специфической схеме электрод защиты и электрод датчика разделены изолирующим слоем и используются для управления переключениями между режимом разговора по телефонной трубке и режимом громкоговорящей связи.
Из патента США 5.712.911 может быть видно, что система телефонной связи изложена, показана и описана для активации громкоговорящей связи, в ответ на входящий вызов, на основании присутствия или отсутствия абонента в пределах заданной зоны пространственной близости. Эта специфическая технология использует модуль пространственной близости и блок управления для автоматической активации громкоговорящей связи для установления связи с вызывающим абонентом, если абонент находится в пределах заданной зоны пространственной близости. Аналогично патент США 3.109.893 раскрывает телефон, управляемый пространственной близостью, в котором переключатели пространственной близости используются для включения телефона, если абонент проводит руку вблизи датчика для установления связи с вызывающим абонентом. Европейский патент EP0541439 раскрывает устройство речевой связи, использующее датчик пространственной близости для активации микрофона, если динамик присутствует в пределах заданной зоны пространственной близости. В этом конкретном случае сокращаются эффекты акустического фона окружающей среды.
Наконец, патент США 6.532.447, заявленный от имени Telefonaktiebolaget L М. Ericsson (publ) и полностью включенный сюда посредством ссылки, предлагает еще одно использование датчика пространственной близости в электронном устройстве. В этом патенте датчик пространственной близости используется для предоставления сигнала управления, указывающего, находится ли объект вблизи устройства. Сигнал управления включает или отключает схему распознавания речи мобильного телефона.
Последние разработки в технологии портативных мобильных телефонов также привели к отделению наушников или гарнитур, которые сообщаются со взаимосвязанной трубкой мобильного телефона, посредством использования технологии беспроводной связи с малым радиусом действия, например Bluetooth. Несмотря на то, что следующее описание может использовать термин «Bluetooth» для описания конкретной схемы беспроводной связи, специалистам в данной области техники будет понято, что может быть использована любая схема беспроводной связи с малым радиусом действия. Будущие схемы (модели) гарнитур Bluetooth должны в скором времени включать в себя устройства отображения, и некоторые из них могут быть цветными. Общепризнано, что цветные дисплеи и лампы подсветки, в настоящее время обычно используемые в трубках мобильных телефонов и гарнитурах, в активном режиме потребляют относительно большое количество энергии. Эти обсуждения схем дополнительно усилены аспектами коммерческой конкурентоспособности гарнитур, которые сосредоточены на вопросах, например, веса, размера и длительности энергопотребления в режиме хранения.
Как было упомянуто выше, определенные дисплеи трубки мобильного телефона переходят в энергосберегающий режим исключительно на основе факторов выбора определенного времени. Несмотря на то, что эффективно для телефонных трубок с относительно большими батареями (аккумуляторами), телефонные гарнитуры типа Bluetooth могут требовать даже больше средств сохранения энергии в случае объединения с устройствами отображения.
Сущность изобретения
Настоящее изобретение относится к устройствам связи, и более конкретно, к трубкам мобильных телефонов, гарнитурам и соотнесенным устройствам связи, использующим датчики для содействия в сокращении энергопотребления. В одном варианте осуществления настоящее изобретение включает в себя устройство связи, содержащее по меньшей мере экран дисплея для отображения информации и лампу подсветки для освещения части устройства. Устройство также включает в себя датчик для предоставления сигнала управления и средство управления для управления процессом работы устройства отображения в ответ на сигнал управления. Устройство имеет первый режим, в котором экран дисплея отображает информацию, и второй режим, имеющий более низкое энергопотребление по сравнению с первым режимом, а сигнал управления вызывает переключение между первым режимом и вторым режимом. В еще одном аспекте изобретения устройство связи является портативным, а в другом варианте осуществления содержит мобильный телефон.
В дополнительном аспекте вариант осуществления изобретения содержит способ управления процессом работы экрана дисплея в устройстве связи, содержащий этапы обеспечения датчика в пределах устройства связи, формирования сигнала управления, указывающего на то, находится ли объект вблизи устройства, или на то, был ли превышен порог температуры или давления и т.д., и управления дисплеем устройства в ответ на сигнал управления. В еще одном аспекте изобретения управление процессом работы устройства отображения достигается посредством сигнала управления и заканчивается посредством отсутствия сигнала управления.
Краткое описание чертежей
Более полное понимание способа и устройства настоящего изобретения может быть получено посредством ссылки на следующее подробное описание, взятое совместно с сопроводительными чертежами, на которых изображено следующее:
Фиг.1 – блок-схема, иллюстрирующая один вариант осуществления устройства, согласно настоящему изобретению;
Фиг.2 – схематическая иллюстрация процесса работы гарнитуры мобильного телефона и телефонной трубки, иллюстрирующая один аспект способов и устройства для настоящего изобретения;
Фиг.3 – графическое представление алгоритма одного варианта осуществления способа, согласно настоящему изобретению;
Фиг.4 – вид в перспективе одного варианта осуществления телефонной гарнитуры, содержащей устройство для использования способа одного варианта осуществления настоящего изобретения;
Фиг.5 – вид в перспективе одного варианта осуществления телефонной трубки, содержащей устройство для использования способа одного варианта осуществления настоящего изобретения.
Подробное описание изобретения
Изобретатель настоящей заявки догадался, что использование датчика в устройстве связи, например телефонной гарнитуре, телефонной трубке или другом вспомогательном устройстве, может позволить пользователю увеличить эффективность посредством сокращения энергопотребления. В одном варианте осуществления настоящего изобретения устройство связи включает в себя датчик, размещенный в нем для обнаружения факта того, если устройство находится достаточно близко к голове пользователя или любой другой поверхности, для предотвращения его эффективного просмотра дисплея или вспомогательной клавиатуры. В этом случае энергоснабжение экрана дисплея, лампы подсветки дисплея, лампы подсветки вспомогательной клавиатуры или других энергопотребляемых приложений может быть отключено, и/или устройство помещено в предварительно выбранный энергосберегающий режим для сокращения энергопотребления и продления срока службы аккумулятора.
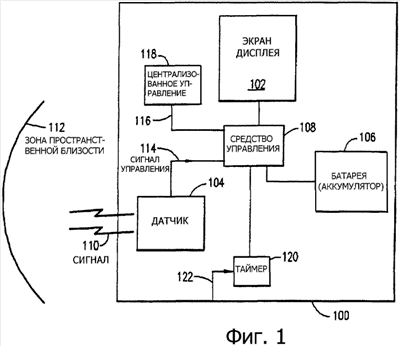
На Фиг.1 изображена блок-схема, иллюстрирующая устройство, согласно варианту осуществления настоящего изобретения. Как показано, устройство 100 связи, содержащее экран 102 дисплея, включает в себя датчик 104. Несмотря на то, что датчик 104 в этом конкретном варианте осуществления является датчиком пространственной близости, могут быть использованы и другие датчики (то есть, датчики давления, датчики температуры, датчики исходящей речи, светочувствительные датчики и т.д.). Источник питания в виде батареи 106 обеспечивается в пределах устройства 100 связи для приведения в действие экрана 102 дисплея через средство 108 управления. Средство 108 управления соединено с датчиком 104 и реагирует на сигналы, сформированные в нем. Датчик 104, здесь датчик пространственной близости, выполнен с возможностью обработки сигнала 110, приводящего в готовность датчик 104, когда объект находится в пределах зоны 112 пространственной близости, и для генерации соответствующего сигнала 114 управления. Сигнал 114 управления поставляется средству 108 управления для выборочного выключения питания экрана 102 дисплея или переключения иным способом устройства 100 связи в энергосберегающий режим.
Как было отмечено выше, датчик 104 может быть датчиком, отличным от датчика пространственной близости. Например, если датчик 104 является датчиком давления, то в этом случае сигнал 110 может быть давлением, приложенным к датчику давления. Сигнал 114 управления формируется на основании обнаруженного давления. Подобным датчику давления при использовании датчика температуры сигнал 110 может быть температурой, принятой температурным датчиком. Обнаруженная температура может указать на то, что устройство 100 связи находится вблизи головы пользователя, а сигнал 114 управления формируется на основании обнаруженной температуры. Подобные сигналы могут быть сформированы, когда, например, светочувствительный датчик или датчик другого типа используется вариантом осуществления настоящего изобретения.
Кроме того, сигнал 114 управления также может затронуть другие параметры настройки устройства 100 связи. Например, устройство 100 связи может работать в режиме вибрационного звонка. В некоторых случаях пользователь может желать, чтобы устройство 100 связи не вибрировало на входящий вызов. Аспект настоящего изобретения предотвращает устройство 100 связи от подачи звонка или вибрирования, когда сигнал управления 114, посланный средству 108 управления, указывает на то, что экран 102 дисплея должен быть переключен в энергосберегающий режим. В другом варианте осуществления параметры настройки могут заставить экран 102 дисплея переключиться в энергосберегающий режим. Например, установка режима деловой встречи может заставить устройство 100 связи не звонить и не вибрировать по поступлению вызова. Установка режима деловой встречи может также заставить экран 102 дисплея переключиться в энергосберегающий режим. Кроме того, датчик 104 может быть использован совместно с другими параметрами настройки, таймером, приложением и т.д. для осуществления энергосберегающего режима. Например, несмотря на то, что датчик 104 не обнаруживает состояния для переключения в энергосберегающий режим, таймер может быть использован для определения того, когда время истекает без активности. В этом случае устройство 100 связи может переключиться в энергосберегающий режим из-за таймера, превысившего заданный интервал времени.
Датчик 104 в случае, если он является датчиком пространственной близости, может быть емкостным, индуктивным, температурным, инфракрасным (IR) или датчиком другого типа, способным к обнаружению того, присутствует ли объект в зоне 112 пространственной близости. Основным объектом обнаружения в зоне 112 пространственной близости может являться голова пользователя или любой другой объект, который препятствует просмотру экрана 102 дисплея. В этом отношении сигнал 116 централизованного управления может испускаться посредством централизованного управления 118, разрешая пользователю или устройству связи реактивировать экран 102 дисплея, даже если объект был обнаружен в пределах зоны 112 пространственной близости, обнаруженное давление превышает заданный порог, обнаруженная температура превышает заданный порог и т.д. Централизованное управление 118 может использоваться, например, когда пользователь неосторожно перекрыл датчик 104 или желает, чтобы экран дисплея оставался активным, даже если датчик 104 обнаруживает объект в пределах зоны 112 пространственной близости, или в датчике давления или температуры превышен заданный порог. Кроме того, централизованное управление 118 может быть активировано, когда устройство связи принимает входящий вызов. Таким образом, пользователь может видеть телефонный номер вызывающей стороны.
На Фиг.1 в одном варианте осуществления настоящего изобретения датчик 104 может срабатывать на его выходе в качестве простого переключателя, применяющего сигнал 110 в качестве управляющего сигнала управления переключением, таким образом, когда уровень сигнала 110, например, высокий (1), сигнал 114 управления выводится из датчика 104. Когда уровень сигнала 110, например, низкий (0), из датчика 104 ничего не выводится. Подобным способом сигнал 114 управления может быть выведен из датчика 104, когда обнаруженное давление или температура и т.д. превышает заданный порог. Если обнаруженное давление или температура и т.д. не превышает заданный порог, то из датчика 104 не выводится никакой сигнал. В другом возможном варианте сигнал 114 управления можно посылать с заданными интервалами.
Другие системы управления могут быть включены для управления устройством отображения, включая в себя активацию или дезактивацию его питания, что является типичным в предшествующем уровне техники для технологии мобильного телефона. Например, экран 102 дисплея также может быть выключен через средство 108 управления после истечения определенного периода времени, как признано, посредством таймера 120, который обнаруживает использование устройства 100 связи по сигналу 122. Таким способом экран 102 дисплея, находящийся в положении пользовательского просмотра, может быть выключен в соответствии с существующей экранной заставкой/стандартами энергопотребления, вне зависимости от того, действительно ли датчик 104 обнаруживает, что экран 102 дисплея должен быть выключен. Это может произойти, например, когда устройство 100 связи просто оставлено в течение длительного периода времени.
Кроме того, для переключения в энергосберегающий режим датчик 104 и сигнал 114 управления могут быть использованы для восстановления питания части устройства, предварительно находящегося в энергосберегающем режиме. Например, если устройство 100 связи находится в непосредственной пространственной близости к объекту, например голове пользователя, то дисплей, лампа подсветки вспомогательной клавиатуры, другие энергопотребляющие приложения и т.д. могут быть переключены в энергосберегающий режим. Если датчик 104 обнаруживает, что устройство 100 связи больше не находится в непосредственной пространственной близости к объекту, то дисплей, лампа подсветки вспомогательной клавиатуры и т.д. могут быть уполномочены возвратиться в энергопотребляющий режим.
На Фиг.2 изображена схематическая иллюстрация пользователя 200, держащего телефонную трубку 202, подкюченную через Bluetooth к телефонной гарнитуре 204. Может быть замечено, что, если гарнитура 204 находится слишком близко к пользователю 200 для того, чтобы пользователь мог рассмотреть любой обеспеченный в ней экран дисплея, то телефонная трубка 202, которая может включать в себя экран 203 дисплея, находится на достаточном для просмотра упомянутого экрана 203 дисплея расстоянии от пользователя 200. В одном варианте осуществления настоящего изобретения и телефонная трубка 202 и гарнитура 204 включают в себя датчик, в соответствии с принципами настоящего изобретения, для предоставления возможности сокращения энергопотребления в различных устройствах связи. Альтернативно, телефонная трубка 202 может содержать датчик, а гарнитура 204 может не включать в себя датчик или наоборот. В этом варианте осуществления экран 203 дисплея, находящийся в гарнитуре 204 (не показан в этом представлении), «выключается» посредством датчика 104, в то время как экран 203 дисплея, находящийся в телефонной трубке 202, остается в состоянии «включено» по причине расстояния до пользователя 200 относительно каждого из них. Может быть замечено, что объект, например голова пользователя, может находиться в пределах зоны 112 пространственной близости гарнитуры 204, в то время как объект может находиться вне зоны 112 пространственной близости телефонной трубки 202. В этом отношении может быть замечено, что ориентация, а так же, как тип датчика 104, используемого в конкретном устройстве связи, может изменяться из-за способа, которым обращаются с каждой из телефонной трубки 202 и гарнитуры 204. Например, телефонная трубка 202 может удерживаться пользователем 200 таким способом, что ее датчик не должен отключать ее экран дисплея просто посредством присутствия руки 205 пользователя. То же самое может быть сказано относительно гарнитуры 204, которая будет часто удерживаться пользователем, но из-за конструкции гарнитуры 204 пользователь может иметь больше маневренности при удерживании гарнитуры 204 способом, не подвергаемым к активации ее датчика. Однако должно быть отмечено, что централизованное управление, например вышеупомянутое централизованное управление 118, может быть обеспечено в таких устройствах связи только для таких ситуаций, в которых пользователь 200 не располагает и/или берет и/или иначе переносит определенное устройство связи способом, который обычно вызывает сигнал управления, например сигнал управления 114, к средству управления, например, отсылается средству 108 управления.
На Фиг.3 изображено графическое представление алгоритма способа, согласно принципам настоящего изобретения. На этапе 250 способ инициализируется. На этапе 252 происходит проверка того, активирован ли датчик 104. На этапе 252 может произойти активация, например, если датчик пространственной близости обнаруживает присутствие в пределах предопределенной зоны пространственной близости, или заданный порог давления или температуры был превышен. Если объект обнаружен, то на этапе 254 сигнал управления 114 предоставляется средству 108 управления. В противном случае способ возвращается к началу цикла, и снова выполняется проверка после предварительно выбранного временного интервала. Если на этапе 252 датчик 104 активирован, а сигнал 114 управления сформирован на этапе 254, то на этапе 256 выполняется энергосберегающий режим. С этапа 256 способ возвращается к началу цикла графического представления алгоритма (то есть, на этап 250), и на этапе 252 снова выполняется проверка. Вышеописанный процесс способа повторяется непрерывно до тех пор, пока датчик 104 больше не активизируется на этапе 252, или устройство 100 связи не является выключенным.
На Фиг.4 изображен вид в перспективе одного варианта осуществления изобретения, воплощенного в телефонной гарнитуре. В этом конкретном варианте осуществления телефонная гарнитура 300 содержит датчик 302 и экран 304 дисплея. Гарнитура 300 также включает в себя динамик 306 для его размещения в ухе пользователя. Дугообразная секция 308 обеспечивается для крепления динамика 306 к уху пользователя способом, улучшающим комфорт для пользователя и неподвижность динамика 306. Несмотря на то, что этот вариант осуществления настоящего изобретения включает в себя дугообразную секцию 308, могут быть использованы и различные другие средства крепления гарнитуры 300, в соответствии с вариантами осуществления настоящего изобретения. Другие аспекты такой гарнитуры общеизвестны в предшествующем уровне техники и могут включать в себя средства связи Bluetooth для связи с телефонной трубкой или чем-либо подобным.
На Фиг.4 датчик 302 обнаруживает изменения в давлении, температуре, свете, речи, зоне пространственной близости и т.д., если гарнитура 300 помещена в пределах предопределенной близости к голове пользователя или другого объекта. Таким образом, датчик 302 предоставляет гарнитуре 300 возможность выполнять энергосберегающий режим для экрана 304 дисплея, лампы подсветки вспомогательной клавиатуры, лампы подсветки дисплея или другим энергопотребляющим элементам гарнитуры 300 для гарантии эффективного энергопотребления.
На Фиг.5 изображена трубка 400 мобильного телефона, включающая в себя один вариант осуществления способа и устройства настоящего изобретения. Трубка 400 мобильного телефона содержит экран 404 дисплея, вспомогательную клавиатуру 405, микрофон 406 и динамик 403. Микрофон 406 и динамик 403 подключены к электрической схеме, которая обеспечивает передачу, например, речевых сигналов. Экран 404 дисплея может дополнительно быть подключен или непосредственно, или опосредованно к датчику 410, который обнаруживает изменения в температуре, давлении, свете, пространственной близости и т.д., если экран 404 дисплея находится слишком близко к объекту, чтобы быть легко просмотренным пользователем. Таким образом, датчик 410 предоставляет экрану 404 дисплея возможность отключения, если он не находится в положении, подходящем для эффективного использования, что сохраняет энергию для пользователя.
Несмотря на то, что вышеупомянутое описание иллюстрирует использование одного датчика для помощи в определении режима работы дисплея или лампы подсветки, также для определения режима работы дисплея или лампы подсветки может быть использовано множество датчиков. Например, датчик давления и светочувствительный датчик могут быть использованы для определения того, должна ли часть устройства переключиться в энергосберегающий режим. Кроме того, варианты осуществления настоящего изобретения могут сотрудничать с другими приложениями, таймерами, параметрами настройки и т.д. для определения того, должна ли часть устройства переключиться в энергосберегающий режим.
Таким образом, полагается, что процесс работы и конструкция различных вариантов осуществления настоящего изобретения будут очевидны из вышеупомянутого подробного описания. Наряду с тем, что были описаны различные устройства, специалистам в данной области техники будет очевидно, что могут быть сделаны различные изменения и модификации, не отступая от сущности и объема изобретения, как определено в нижеследующей формуле изобретения. Поэтому, сущность и объем приложенной формулы изобретения не должны быть ограничены содержащимся в данном документе описанием вариантов осуществления.
Формула изобретения
1. Устройство связи, содержащее по меньшей мере одно из: устройства (102) отображения для отображения информации и лампы подсветки для освещения части устройства; датчик (104) для предоставления сигнала управления, причем датчик является датчиком пространственной близости для обнаружения объекта в пределах заданной зоны (112) пространственной близости; средство (108) управления для управления процессом работы устройства в ответ на сигнал управления; причем устройство имеет первый режим, в котором устройство использует энергию, и второй режим, в котором устройство использует меньшее количество энергии по сравнению с первым режимом, причем устройство (102) отображения деактивируют в упомянутом втором режиме, причем сигнал управления вызывает переключение между первым режимом и вторым режимом; причем устройство имеет централизованное управление (118), отличающееся тем, что централизованное управление (118) выполнено с возможностью активации по приему устройством связи входящего вызова, и реактивирует устройство отображения, несмотря на то, что в пределах зоны пространственной близости обнаруживается объект, который будет вызывать сигнал управления для переключения между первым режимом и вторым режимом.
2. Устройство связи по п.1, в котором устройство является портативным.
3. Устройство связи по п.2, в котором устройство является мобильным телефоном.
4. Устройство связи по п.2, в котором устройство содержит гарнитуру мобильного телефона.
5. Устройство связи по п.1, в котором датчик выполнен с возможностью обнаружения головы пользователя вблизи устройства отображения для сокращения энергопотребления.
6. Устройство связи по п.1, в котором датчик содержит датчик давления для обнаружения того, что давление превышает заданный порог.
7. Устройство связи по п.1, в котором датчик содержит датчик температуры для обнаружения того, что температура превышает заданный порог.
8. Устройство связи по п.1, в котором датчик содержит светочувствительный датчик для обнаружения того, что количество света превышает заданный порог.
9. Устройство связи по п.1, в котором датчик содержит два работающих совместно друг с другом датчика для определения того, должно ли быть выполнено переключение между первым режимом и вторым режимом.
10. Устройство связи по п.1, в котором датчик работает совместно с приложением для определения того, должно ли быть выполнено переключение между первым режимом и вторым режимом.
11. Устройство связи по п.1, в котором датчик работает совместно с таймером (120) для определения того, должно ли быть выполнено переключение между первым режимом и вторым режимом, который выполнен с возможностью использования в случаях, когда, несмотря на то, что датчик не обнаруживает условия для переключения во второй режим экономии энергопотребления, время истекает при отсутствии активности.
12. Способ управления процессом работы устройства связи, содержащий этапы, на которых обеспечивают по меньшей мере один датчик (104) пространственной близости в пределах устройства связи для обнаружения объекта в пределах заданной зоны пространственной близости; передают сигнал управления для управления процессом работы устройства; управляют количеством энергии, предоставляемым к части устройства в ответ на сигнал управления путем переключения между первым режимом, в котором устройство использует энергию, и вторым режимом, в котором устройство использует меньшее количество энергии по сравнению с первым режимом, причем устройство (102) отображения упомянутого устройства деактивируют во втором режиме; обеспечивают централизованное управление (118), отличающееся тем, что централизованное управление (118) выполнено с возможностью активации по приему устройством связи входящего вызова, и реактивирует устройство отображения несмотря на то, что в пределах зоны пространственной близости обнаруживается объект, который будет вызывать сигнал управления для переключения между первым режимом и вторым режимом.
13. Способ по п.12, в котором этап управления реагирует на прием сигнала управления.
14. Способ по п.13, дополнительно содержащий этап завершения управления, реагирующий на неприем сигнала управления.
15. Способ по п.12, в котором этап предоставления сигнала управления повторяется через заранее заданные интервалы.
16. Способ по п.12, в котором датчик является датчиком давления для обнаружения того, что давление превышает заданный порог.
17. Способ по п.12, в котором датчик является светочувствительным датчиком для обнаружения того, что количество света превышает заданный порог.
18. Способ по п.12, в котором по меньшей мере один датчик содержит два совместно работающих друг с другом датчика для определения того, должно ли быть выполнено переключение между первым режимом и вторым режимом.
19. Способ по п.14, содержащий этап, на котором предоставляют работающее совместно с датчиком приложение для определения того, должно ли быть выполнено переключение между первым режимом и вторым режимом.
20. Способ по п.12, дополнительно содержащий этап, на котором обеспечивают таймер, работающий совместно с датчиком, для определения того, должно ли быть выполнено переключение между первым режимом и вторым режимом, который выполнен с возможностью использования в случаях, когда, несмотря на то, что датчик не обнаруживает условия для переключения во второй режим экономии энергопотребления, время истекает при отсутствии активности.
РИСУНКИ
|
|