|
|
(21), (22) Заявка: 2008105309/09, 13.07.2005
(24) Дата начала отсчета срока действия патента:
13.07.2005
(43) Дата публикации заявки: 20.08.2009
(46) Опубликовано: 27.05.2010
(56) Список документов, цитированных в отчете о поиске:
WO 2005/050253 A, 02.05.2005. RU 2217265 C2, 27.11.2003. RU 2132761 C1, 20.10.1993. US 4742583 A, 10.05.1988. US 4467251 A, 21.08.1984. US 2002/088837 A1, 11.07.2002.
(85) Дата перевода заявки PCT на национальную фазу:
13.02.2008
(86) Заявка PCT:
EP 2005/007616 20050713
(87) Публикация PCT:
WO 2007/006330 20070118
Адрес для переписки:
129090, Москва, ул. Б.Спасская, 25, стр.3, ООО “Юридическая фирма Городисский и Партнеры”, пат.пов. Ю.Д.Кузнецову, рег. 595
|
(72) Автор(ы):
МОК Кин Лун (CN), МОК Кинг Лун (CN), НГ Хонг (CN)
(73) Патентообладатель(и):
СКА ХАЙДЖИН ПРОДАКТС АБ (SE)
|
(54) АВТОМАТИЧЕСКИЙ ДОЗАТОР С СЕНСОРНОЙ КОМПОНОВКОЙ
(57) Реферат:
Автоматический дозатор с электромеханическим приводом для дозирования изделия, хранимого в дозаторе, включает в себя активную чувствительную ИК-систему для обнаружения пользователя. Чувствительная ИК-система включает в себя по меньшей мере один ИК-излучатель и по меньшей мере один ИК-приемник. Чувствительная ИК-система выполнена с возможностью осуществлять сканирование на присутствие возможного пользователя при определенной частоте сканирования. Чувствительная система управления снабжает активный ИК-излучатель(и) первым током, который постоянен в течение одного или более одиночных циклов сканирования, и переключается на другой, второй ток для дальнейшего сканирования. Первый и второй токи определяются на основе интенсивности сигнала среднего принятого ИК-излучения, которое принимается ИК-приемником(ами) в течение некоторого количества предыдущих одиночных циклов сканирования. В упрощенной системе среднее значение самых последних по времени принятых значений ИК-излучения может сравниваться со стандартным значением, установленным в системе управления для изменения тока, подаваемого в ИК-излучатель(и). Технический результат – экономия электроэнергии. 22 з.п. ф-лы, 9 ил.
Область техники, к которой относится изобретение
Настоящее изобретение в целом относится к дозатору, содержащему активную инфракрасную (ИК) систему, в частности, для дозаторов типа, включающего в себя систему дозирования с приводом от электродвигателя, комбинированную со схемой управления для опознавания присутствия возможного пользователя посредством упомянутой сенсорной ИК-системы и управления работой упомянутого электродвигателя для осуществления дозирования материала.
Более того, изобретение, в частности, относится к автоматическому дозатору полотенец (предпочтительно, с бумажными полотенцами, хранимыми внутри корпуса дозатора) типа с электрическим приводом, предпочтительно, действующим от аккумулятора (но который также мог бы питаться переменным током (AC) или питаться комбинацией источников питания переменного тока и постоянного тока (DC)), в котором сенсорная ИК-система используется для управления дозированием изделий, таких как бумажные листы (например, бумажные полотенца для рук), когда присутствие возможного/потенциального пользователя обнаружено находящимся в пределах заданной зоны, без физического контактирования пользователя с дозатором (или чувствительными элементами), требуемого для инициирования последовательности дозирования.
Уровень техники для изобретения
Дозаторы вышеупомянутого типа известны, например, из US-B1-6695246.
Например, в дозаторе согласно US-B1-6695246, чувствительная схема управления использует активное ИК-излучение (то есть, как испускание ИК-излучения, так и детектирование ИК-излучения) для управления опознаванием присутствия возможного пользователя. ИК-излучение испускается импульсами. В режиме активного ИК-излучения присутствие объекта (то есть, возможного пользователя) может обнаруживаться в пределах зоны обнаружения приблизительно от 12 до 24 см у дозатора и по упомянутому обнаружению управляет электродвигателем для дозированной выдачи полотенца для рук пользователю. Один ИК-приемник и один ИК-излучатель расположены за передней крышкой дозатора, и каждый установлен в соответственной трубке, трубки размещаются прилегающими одна к другой. Посредством этой компоновки расстояние обнаружения поддерживается небольшими (между приблизительно от 12 до 24 см), так что объекты, которые находятся вне зоны обнаружения, не приводят к нежелательному и непреднамеренному дозированию. Подобным образом, объект должен быть в правильном положении и под правильным углом, в ином случае трубки будут предохранять ИК-излучение от отражения обратно и сбора приемником. Таким образом, наряду с тем, что снижена вероятность нежелательных отражений от других поверхностей или тому подобного, сенсорная система требует точного позиционирования рук для осуществления работы. Когда объект обнаружен, микропроцессор приводит в действие электродвигатель для дозирования полотенца, если два цикла сканирования с достаточным отраженным ИК-излучением приняты ИК-системой управления. Для того чтобы приводить в действие электродвигатель, система использует контрольную схему уровня фонового освещения, которая выдает опорное напряжение VB, имеющее отношение к уровню фонового освещения, и с которым сравнивается напряжение VA с ИК-датчика (чувствительного элемента). Когда напряжение VA является большим, чем напряжение VB, электродвигатель может действовать для дозирования полотенца для рук. Это предусматривает автоматическую компенсацию уровня фонового освещения, так что сигнал, улавливаемый ИК-приемником, должен возрастать до более высокого уровня для того, чтобы обнаруживался пользователь.
В вышеупомянутом дозаторе, хотя определенная степень компенсации производится в отношении уровней фонового освещения, которые могут учитывать некоторые условия, в таком устройстве возникают проблемы, обусловленные временными воздействиями интенсивных изменений ИК-излучения вследствие атмосферных условий, в частности, когда фоновое ИК-излучение является очень низким, поскольку всего лишь очень небольшие изменения в отраженном ИК-излучении могут вызвать дозирование, даже когда не требуется.
Подобным образом, также могла бы встретиться проблема, что по мере того, как уровни фонового ИК-излучения в целом возрастают до высокого уровня, рука пользователя становится более трудной для различения по сравнению с фоновым ИК-излучением, так как возросший уровень ИК-излучения вследствие отражения ИК-излучения от руки пользователя, когда рука находится перед дозатором, может быть приблизительно на таком же уровне, как фоновое ИК-излучение, или, вследствие временного блокирования высокоуровневого фонового ИК-излучения, присутствие руки может даже снижать уровень ниже такового у фонового ИК-излучения, принимаемого в ИК-датчике (чувствительном элементе), так что рука во многих случаях надежно не обнаруживается.
К тому же, рука пользователя, которая не обнаруживается, или не правильно расположена относительно небольшой области обнаружения чувствительных элементов на дозаторе, то есть, в небольшом диапазоне обнаруживаемой области, и, таким образом, которая не приводит в действие дозирование полотенца для рук немедленно, зачастую будет соблазнена прикоснуться к дозатору, чтобы попытаться вызвать дозирование, в убеждении, что требуется касание кожуха, близко расположенного к чувствительным элементам, вопреки любым письменным уведомлениям, которые может содержать дозатор в этом отношении. Это, в частности, имеет место, так как рука пользователя уже на высоте дозатора, как в вышеупомянутом документе. Это может иметь результатом недостаток гигиены, когда несколько пользователей последовательно касаются дозатора.
Кроме того, в то время как испускаемая интенсивность ИК-излучения из излучателя, по-видимому, постоянна в вышеизложенном документе (не говоря уже о возможных вариантах относительно низкого напряжения аккумулятора), такая конструкция, при надежде на аккумуляторное питание от аккумуляторов (предпочтительнее, чем солнечных элементов), часто влечет использование излишне большой мощности.
Настоящее изобретение должно, в качестве одной из своих целей, предложить усовершенствование в отношении активного обнаружения ИК-излучения для учета изменений фонового ИК-излучения.
Дополнительная цель состоит в том, чтобы улучшить возможность лучшей гигиены.
Дополнительная цель состоит в том, чтобы минимизировать энергопотребление устройства в определенные моменты времени посредством учета уровня фонового ИК-излучения.
Дополнительные цели изобретения будут очевидны по прочтению этого описания изобретения.
Сущность изобретения
Основная цель изобретения достигается дозатором, обладающим признаками, определенными в пункте 1 формулы изобретения. Некоторые предпочтительные признаки изобретения определены в зависимых пунктах формулы изобретения.
Дополнительные признаки изобретения будут очевидны читателю этого описания изобретения.
Изобретение предлагает средство усовершенствования надежности обнаружения посредством компенсации уровней фонового ИК-излучения нарастающей или убывающей интенсивности посредством изменения тока, подаваемого в ИК-излучатель(и), тем самым, изменения величины испускаемого ИК-излучения, используемого чувствительной системой. Один из способов осуществления этого, когда общие уровни фонового ИК-излучения в целом высоки, состоит в том, что энергия, передаваемая ИК-излучателями, делается более высокой посредством повышения тока, пропускаемого через ИК-излучатель. Таким образом, пользователь, подходящий к дозатору, в условиях яркого освещения будет обнаруживаться легче, поскольку количество отраженного ИК-излучения, по сравнению с фоновым ИК-излучением, будет больше, чем если бы не было произведено никакого изменения тока. Поэтому разница между принятым ИК-излучением от отражения с руки пользователя по сравнению с фоновым ИК-излучением будет большим и, соответственно, рука пользователя будет без труда обнаруживаться, каковое, в частности, полезно, когда рука пользователя является менее белой, вследствие более низкого полученного отражения ИК-излучения.
Подобным образом, в условиях низкого фонового ИК-излучения зачастую нет необходимости в сильном токе в излучателе, поскольку рука пользователя уже будет давать высокопроцентное повышение отраженного ИК-излучения по сравнению с фоновым ИК-излучением для обнаружения. Таким образом, ток, подаваемый в излучатель(и), может делаться более низким, каковое также сберегает энергию. Подобным образом, когда происходят внезапные изменения в фоновом ИК-излучении вследствие солнечного света, проникшего в помещение, или включаемого света, более низкий ток в чувствительном элементе означает, что относительное влияние этих изменений на отраженное ИК-излучение (то есть, испускаемое излучателем и отраженное обратно в приемник) по сравнению с фоновым ИК-излучением будет фактически необнаруженным. Однако, когда пользователь подходит к дозатору в условиях низкого фонового ИК-излучения, повышение отраженного ИК-излучения, принятого ИК-приемником, будет высоким по сравнению с фоновым ИК-излучением, даже при низких уровнях тока.
Альтернативный, возможно, более простой способ, который может использоваться для изменения тока ИК-излучателя(ей), предпочтительнее, чем посредством сравнения (как выше) значений уровней отражения с фоновым, состоит в том, чтобы устанавливать так называемое «стандартное значение» (пороговое значение) в схеме управления, которое является значением ожидаемой интенсивности детектируемого сигнала, который должен приниматься в нормальных рабочих условиях. Подаваемым током могли бы быть, например, 5 мА при этом стандартном значении. Если это стандартное значение, установленное в системе, названо A1, то во время работы схема управления (ее MCU (главное устройство управления)) может быть выполнена с возможностью рассчитывать уровень ИК-излучения, A2, по предварительно определенному количеству самых последних по времени принятых значений ИК-излучения (то есть, скользящему среднему самых последних значений). Если A2>A1 (то есть, уровень A2 сигнала скользящего среднего детектированного отражения выше хранимого уровня A1 стандартного сигнала), например, как рассчитано в MCU, ток, подаваемый в излучатель, может уменьшаться, предпочтительно по шагам приращения. Наоборот, в случае, если A2
Чувствительные элементы в обладающем признаками изобретения дозаторе предпочтительно расположены так, что ИК-излучатели создают широкую и практичную зону детектирования ИК-излучения, а ИК-детекторы (то есть, ИК-приемники) выполнены с возможностью предотвращать ИК-излучение из излучателей, непосредственно проникающее в приемники, а также снижать отражения ИК-излучения с других направлений.
Любые местоположения по поводу дозатора или чувствительных элементов, и т. п., определены относительно дозатора в его нормальном положении использования и не устанавливаются вверх дном или подобным образом. Таким образом, нижняя часть дозатора предназначена для нахождения у основания. Подобным образом, боковое направление дозатора находится, в целом, в горизонтальном направлении.
В тех случаях, когда упоминается вертикальное направление или плоскость, это обычно предназначено для указания ссылкой на в целом вертикальное направление. Когда дозатор установлен на точно вертикальной стене (как будет описано позже, например, со ссылкой на фиг. 2), вертикальное направление, соответственно, является точно вертикальным направлением. Однако, если стена слегка наклонена на несколько градусов, вертикальное направление, упоминаемое относительно дозатора, также будет наклонено на такую же величину и в таком же направлении, как наклон стены.
Отчасти из-за хорошей рабочей зоны сенсорной системы, которая может обнаруживать потенциальных (возможных) пользователей на достаточном расстоянии с большого диапазона нормальных положений подхода к дозатору, и благодаря компенсирующему току, который прикладывается для предоставления возможности лучшего обнаружения, это предоставляет системе возможность рано реагировать на присутствие пользователя и, таким образом, обеспечивает дозатору возможность быть сконструированным для потребления низкой мощности. Это пониженное энергопотребление возможно, поскольку в периоды, когда возможный пользователь (то есть, объект, предполагаемый пользователем, требующим дозирования изделия, такого как отрезок полотенца для рук или туалетная бумага), не расположен возле дозатора, частота сканирования, в дополнение к низкому току, подаваемому в излучатели, может быть также понижена, без какого бы то ни было заметного риска, что частота сканирования будет слишком низкой для достаточно быстрого реагирования, когда изделие должно дозироваться обнаруживаемым пользователем. Когда обнаружен пользователь, частота сканирования, соответственно, изменяется до более частой частоты.
Низкое энергопотребление особенно важно в дозаторах, которые полностью питаются от аккумулятора, аккумулятором или аккумуляторами, которые, в целом, предназначены для работы в течение продолжительного времени (например, достаточного времени, чтобы дозировать 60 или более рулонов бумаги, не требуя замены аккумуляторов), а усовершенствованная компоновка чувствительных элементов и сенсорная система управления предоставляют возможность использоваться меньшей энергии, когда не присутствуют никакие пользователи, требующие, чтобы дозировалось изделие.
Частота сканирования, то есть, количество циклов сканирования, выполняемых за секунду, сделана изменяющейся по расположению пользователя относительно дозатора, из условия чтобы дозатор работал при первой частоте сканирования (то есть, выполнял последовательность сканирования приведением в действие схем ИК-приемника и излучателя, а затем испусканием импульсов сканирования при первом количестве одиночных циклов сканирования, то есть, импульсов, в секунду), когда не обнаружено никакого возможного/потенциального пользователя. Система затем повышает частоту сканирования, когда пользователь считается близко расположенным к дозатору (то есть, проник в «первую» зону обнаружения). Эта переменная частота сканирования предоставляет возможность использоваться очень низкой мощности, когда никакие пользователи не являются в достаточной мере близко расположенными к дозатору, поскольку каждый цикл сканирования требует определенного количества энергии, а количество циклов сканирования в секунду может быть снижено, и использовать более высокий уровень мощности (большее количество циклов сканирования в секунду), только когда требуется, так что пользователем испытывается быстрое время реакции для дозирования изделия.
Чувствительная система дозатора может быть дополнительно усовершенствована для снижения энергопотребления предоставлением дополнительного вынесенного чувствительного элемента, связанного либо проводным соединением с дозатором, либо беспроводной линией связи (например, ИК или радио) с дозатором. Этот дополнительный чувствительный элемент может использоваться, например, для обнаружения пользователя, входящего в туалетную комнату, в которой размещен дозатор, в другом месте относительно входа, и, таким образом, может вызывать изменение первой частоты сканирования на вторую частоту сканирования. Такой «вынесенный» чувствительный элемент мог бы, если требуется, в качестве альтернативы, устанавливаться на передней облицовочной части дозатора и мог бы быть выполненным с возможностью работать при очень низкой частоте сканирования, обусловленной расстоянием входа в туалетную комнату от местоположения дозатора, из условия чтобы к тому времени, когда возможный пользователь желает использовать дозатор и, соответственно, переместился ближе к дозатору, дозатор уже был работающим при более высокой второй частоте сканирования, предоставляющей возможность быстрого обнаружения активной ИК-системой дозатора, определенной в формуле изобретения.
В качестве альтернативы, такой же набор активных ИК-чувствительных элементов, как определенный в формуле изобретения, которые используются для побуждения дозатора дозировать изделие при обнаружении возможного пользователя, также может использоваться для обнаружения пользователя, проникающего в первую зону обнаружения. Этим способом пользователь, подходящий к дозатору (например, на от 40 до 50 см или может быть еще дальше от дозатора), будет приводить сенсорную систему в действие для изменения частоты сканирования до более высокой частоты сканирования и по мере того как пользователь продолжает перемещать его/ее руки и/или тело ближе к выпускному отверстию дозатора, пользователь будет обнаруживаться в качестве находящегося в «зоне дозирования» и, соответственно, заставлять дозатор дозировать изделие (например, бумажное полотенце для рук или бумажную туалетную принадлежность).
Если требуется, может использоваться более чем две частоты сканирования. Например, может использоваться первая медленная частота сканирования (такая как 1 или 2 раза в секунду), сопровождаемая более высокой второй частотой сканирования (например, при с 3 до 6 разах в секунду), которые сопровождаются дополнительной более высокой частотой (например, с 7 до 12 раз в секунду), в силу чего, частота сканирования заменяется с одной частоты на следующую, по мере того как пользователь обнаруживается перемещающимся ближе к дозатору. Это может выполняться, например, последовательностью разных чувствительных элементов, каждый из которых обнаруживает на разных расстояниях, с конечной сенсорной системой, являющейся такой, как определенная в прилагаемой формуле изобретения, или, например, компоновкой такого же набора чувствительных элементов для обнаружения повышенного отражения ИК-сигнала от пользователя по мере того, как пользователь становится ближе к дозатору.
Когда пользователь перемещается в сторону от дозатора, частота сканирования, в таком случае, может вновь снижаться до более низкой частоты, тем самым, потребляя меньше энергии на работу сенсоров.
Как будет очевидно, даже при относительно коротких расстояниях для первой зоны обнаружения (например, вплоть до приблизительно 50 см от дозатора, например, с углом от приблизительно 10° до приблизительно 45°, или от приблизительно 30° до приблизительно 60°, к вертикальной плоскости, отклоненной в переднем направлении от задней стороны дозатора и по направлению вниз), система обладает преимуществами значительного энергосбережения, по-прежнему, наряду с предоставлением возможности хорошего времени реакции для дозирования полотенца.
Это происходит потому, что пользователь предполагает, что следует перемещать его/ее руки относительно близко к устройству для того, чтобы происходило дозирование, а это занимает порядка между четвертью и половиной секунды при нормальных скоростях перемещения рук (между 0,2 м/с и 0,5 м/с), к тому времени дозатор уже может быть сделан сканирующим при второй, более высокой, частоте (или даже еще более высокой частоте), и таким образом, способным осуществлять дозирование очень близко к моменту времени, когда руки находятся в «предполагаемом» положении для дозирования (то есть, положении, в котором пользователь мог бы ожидать, чтобы дозировалось полотенце, типично, каких-нибудь от 15 до 25 см от выпускного отверстия дозатора).
Подобным образом, целесообразно, чтобы при использовании сенсорной ИК-системы, сенсорная система предпочтительно должна была способна справляться с исключительными аномалиями краткосрочных отражений высокого ИК-излучения, как иногда возникают, которые не могли бы вполне компенсироваться уровнем тока, в текущий момент прикладываемым к излучателю, не осуществляя дозирование полотенца, так что она является подходящей для восприятия двух или более следующих друг за другом циклов сканирования или, например, предварительно определенного количества циклов сканирования за некоторое количество следующих друг за другом циклов сканирования (например, двух из трех следующих друг за другом циклов сканирования), каждый из которых происходит при предварительно определенном уровне ИК-излучения выше уровня фонового ИК-излучения, до дозирования изделия.
Преимущественное использование может состоять из изменяющейся частоты сканирования посредством установления первой частоты сканирования, например, между 0,15 и 0,25 секунд между циклами сканирования (то есть, частоты сканирования, когда возможный пользователь находится вне первой зоны обнаружения), или даже продолжительнее (такой как между 0,25 секундами и 0,5 секундами), и второй частоты сканирования, порядка приблизительно от 0,08 до 0,12 секунд, между циклами сканирования, и требования только двух следующих друг за другом циклов сканирования (или, например, двух из трех следующих друг за другом циклов сканирования), предусматривающих уровень отраженного ИК-излучения выше уровня фонового ИК-излучения, для приведения в действие дозирования. Такое дозирование будет восприниматься в качестве почти незамедлительного, тем не менее, значительное количество энергии, используемой сенсорной системой, может сберегаться благодаря низкой начальной частоте сканирования, которая расходует меньшую энергию.
Краткое описание чертежей
Изобретение далее будет пояснено более подробно со ссылкой на некоторые неограничивающие варианты его осуществления и с помощью прилагаемых чертежей, на которых:
фиг. 1 показывает схематический вид спереди дозатора бумажных полотенец, изображающий схематический вид первой зоны обнаружения,
фиг. 2 показывает вид сбоку компоновки по фиг. 1, в соответствии с которым боковая панель дозатора была снята, чтобы показать схематичные детали рулона бумаги и механизма транспортировки бумаги,
фиг. 3A – увеличенный вид в разрезе, показывающий более подробную и взятую от начала до конца нижнюю часть кожуха, показанного на фиг. 1, также спереди и в местоположении ИК-чувствительных элементов,
фиг. 3B – схематическое представление вида спереди компоновки, показанной на фиг. 3A, показывающее приближенный вид спереди первой зоны обнаружения, достигаемой компоновкой активных ИК-чувствительных элементов,
фиг. 4 показывает примерный график амплитуды излучательной способности импульсов сканирования в зависимости от времени,
фиг. 5 показывает график уровня принятого сигнала в зависимости от времени для последовательности принятых отражений ИК-излучения, происходящих вследствие испускаемых импульсов ИК-излучения по фиг. 4,
фиг. 6 показывает схематическое представление основных элементов системы по варианту осуществления дозатора согласно изобретению,
фиг. 7 показывает RC-цепь, используемую для осуществления перевода в активное состояние микропроцессора в MCU, с тем чтобы выполнять цикл сканирования, и
фиг. 8 показывает альтернативный вариант RC-цепи, изображенной на фиг. 7,
Фиг. 9 показывает вариант осуществления, использующий дополнительный чувствительный элемент, дополнительный по отношению к основной активной чувствительной ИК-системе, способный обнаруживать на дальнем расстоянии от дозатора.
Подробное описание предпочтительных вариантов осуществления
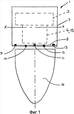
Фиг. 1 и фиг. 2 показывают дозатор 1 на видах спереди и сбоку соответственно, в соответствии с чем фиг. 2 показывает дозатор 1, прикрепленный на его задней стороне к стене W (средство крепления не показано, но может быть любого подходящего типа, такого как винты, клей или другие средства крепления), в силу чего задняя поверхность дозатора лежит на упомянутой стене W, которая обычно вертикальна.
Дозатор 1 содержит корпус 2, в пределах которого расположен запас изделия, в этом случае запас бумаги в рулоне 3. Рулон 3 соответственно является рулоном непрерывной неперфорированной бумаги, но также может содержать перфорированную бумагу. Также расположенным в корпусе 2 является механизм 4 транспортировки бумаги, предпочтительно, в виде модульной приводной кассеты со своим собственным кожухом 15, которая предпочтительно может выниматься в виде единого узла из корпуса 2, когда корпус открыт.
Фиг. 1 показывает рулон 3 бумаги и механизм 4 транспортировки, который подает бумагу из рулона по направлению к выпускному отверстию (дополнительное описание смотрите ниже), в качестве простых блоков ради упрощения. Подобным образом, фиг. 2 показывает рулон 3 бумаги и механизм 4 транспортировки в очень упрощенной форме, в силу чего механизм транспортировки включает в себя приводной валик 5, сцепленный с опорным валиком 6, в силу чего участок бумажного листа 7 показан расположенным между упомянутыми валиками 5, 6, с ведущей кромкой упомянутого бумажного листа 7, готовой для дозирования, в выпускном отверстии 8, сформированном в корпусе 2 на его нижней стороне.
Приводной валик 5 схематично показан присоединенным к приводному электродвигателю M, питаемому аккумуляторами B. Зубчатая передача, типично, в редукторе, может быть включена между приводным валом электродвигателя и приводным валиком 5. Подходящие аккумуляторы могут подавать напряжение 6В, когда новые, и типично четыре аккумулятора в 1,5 В являются подходящими для этой цели. Примерными из подходящих типов являются аккумуляторы MN1300 Duracell, в силу чего каждый аккумулятор имеет емкость в 13А·ч, и который может работать от целиком наполненного до полностью разряженного в диапазоне от 1,5 до 0,8В. Работа электродвигателя M заставляет приводной валик 5 вращаться и, в силу этого, протягивать бумажный лист 7 из рулона 3 бумаги посредством защемления бумаги в зоне контакта валиков 5 и 6. При приведении в действие электродвигатель вращается, тем самым, извлекая бумажный лист из рулона 3, который также вращается, с тем чтобы предоставить бумаге возможность перемещаться по направлению к выпускному отверстию 8. Другие разновидности приводных механизмов для извлечения бумаги из рулона также могут использоваться. Детали механизма транспортировки бумаги или другого механизма транспортировки изделий, однако, не важны для понимания изобретения. Такие устройства также хорошо известны в данной области техники сами по себе.
Также будет априори понятно, что приводной валик 5 и опорный валик 6 могут иметь свои функции взаимно переставленными, из условия чтобы опорный валик 6 был бы приводным валиком, который работоспособным образом присоединен к приводному электродвигателю (и, таким образом, приводной валик 5, изображенный на фиг. 2, действует только в качестве опорного валика в соприкосновении с валиком 6, обычно, с бумагой или полотенцем в зоне контакта между ними).
Хотя принцип работы пояснен с использованием бумаги в виде непрерывно бумажного листа в рулоне, должно быть понятно, что дозатор может использоваться для дозирования других изделий из запаса изделий, например, такого как непрерывный кусок бумаги в виде гармошки. Альтернативные изделия могут дозироваться устройством при надлежащем его переконструировании. Также возможно, что другие устройства дозирования могут соединяться с дозатором. Например, дозатор дополнительно может включать в себя освежитель воздуха, который приводится в действие, например, каждые 5 или 10 минут (или другое подходящее время) или один раз после определенного количества дозированных полотенец. Этот снабженный дополнительными элементами дозатор может управляться схемой управления элементами (будет описана ниже) или отдельной схемой управления (не описанной в материалах настоящей заявки).
Электродвигатель M находится в состоянии покоя и без энергии, поданной на него, когда бумага совсем не должна дозироваться. Электродвигатель M вращается, когда бумага должна дозироваться через выпускное отверстие 8. Работа электродвигателя M управляется главным устройством управления (не показано на фиг. 1 и 2, но описано позже), присоединенным к чувствительной системе, содержащей чувствительные элементы 9-13, из которых чувствительные элементы 10 и 12 являются излучателями, предпочтительно ИК-излучателями, а чувствительные 9, 11 и 13 являются ИК-приемниками. Такие ИК-излучатели и приемники хорошо известны в данной области техники и типично содержат диодные структуры. Подходящие ИК-излучатели и приемники, например, изготовлены компанией Lite-ON Electronics Inc., под типовым номером LTE-3279K для ИК-излучателей и под типовым номером LTR-323DB для приемников. Другие типы ИК-излучателей и приемников, конечно, также могут использоваться. В показанном варианте осуществления ИК-излучатели 10, 12 и ИК-приемники 9, 11, 13 показаны распределенными приблизительно с равномерным интервалом непрерывно в поперечном направлении X-X корпуса (в целом параллельном рулону 3 запаса изделий). Интервал, надлежащим образом, может быть интервалом около 5 см между следующими друг за другом излучателем и приемником, из условия чтобы расстояния между чувствительными элементами 9 и 10, 10 и 11, 11 и 12, 12 и 13 все были приблизительно равными.
Излучатели и приемники показаны (смотрите фиг. 2) размещенными на самой задней стороне выпускного отверстия 8. Другие компоновки чувствительных элементов также возможны, такие как все сенсоры, размещенные на передней облицовочной стороне выпуска, предпочтительно, в прямом ряду вдоль выпускного отверстия. В качестве альтернативы, сенсоры могли бы размещаться на каждой стороне выпускного отверстия (например, излучатели на одной стороне, а приемники на другой стороне) и, подобным образом, тянуться вдоль выпускного отверстия. Выпускное отверстие, однако, в качестве альтернативы, могло бы располагаться где-то в другом месте. Компоновка чувствительных элементов, показанная последовательно в порядке приемник/излучатель/приемник…/излучатель/приемник с надлежащим интервалом, предоставляет возможность преимущественной формы зоны 14 обнаружения, которая до некоторой степени подобна языку по форме (смотрите фиг. 1, 2 и 3B). Лежащая в основе формы языка может слегка изменяться в зависимости от мощности, подаваемой на излучатели, и также их степени выступания из поверхности их корпуса, и, к тому же, степени углубления ИК-приемников, и также согласно их интервалу.
При понимании из этого описания, что имеющая форму языка зона обнаружения создается вследствие интервала между чувствительными элементами, до небольшой степени, согласно подаваемой мощности, и вследствие взаимных расположений углублений/выступаний ИК-излучателей и приемников, специалист будет способен легко изменять форму языка для удовлетворения уточненных потребностей дозатора при любой особой ситуации или размере дозатора, просто посредством обычного экспериментирования.
Дозатор 1, при обнаружении возможного пользователя (последовательность операций обнаружения дополнительно описывается ниже), без какого бы то ни было соприкосновения пользователя с дозатором или чувствительными элементами, в течение достаточного времени в первой зоне обнаружения, таким образом, заставляет дозатор определять, что пользователь присутствует в зоне дозирования и, соответственно, осуществлять дозирование изделия. Дозирование, в этом случае, выполняется в отношении переднего участка бумаги 7, являющейся автоматически выпускаемой через выпускное отверстие 8 (то есть, тянущийся в боковом направлении проем, в нижней части корпуса, и предпочтительно выдающий по направлению вниз). Это предоставляет пользователю возможность захватывать бумагу 7 и тянуть ее к режущей кромке, такой как режущая кромка 16, показанная на фиг. 2, приближенная к выпускному отверстию 8, с тем чтобы удалить оборванный/отрезанный кусок бумаги. Местоположение режущей кромки 16, конечно, может изменяться, например, чтобы быть на уровне или вплоть до 1 см ниже, и напротив валика 5.
Первая зона 14 обнаружения, как показано на фиг. 1, 2 и 3B, показана в качестве языкоподобной и наклонена по направлению вниз и вперед от выпускного отверстия под углом x°, предпочтительно, между от 20° до 30° относительно вертикальной оси Y. Это достигается установкой ИК-излучателей и приемников под между 20° и 30° к вертикальной плоскости, которая проходит в сторону поперек дозатора. Угол, под которым наклонен каждый из излучателей и приемников, может изменяться вплоть до нескольких градусов, но обычно является равным для всех излучателей и приемников, с тем чтобы создавать лучшую зону обнаружения. Сенсорная система, таким образом, способна обнаруживать для подавляющего большинства полной ее протяженности, типично, между 10 и 60 см, в направлении Z при угле в какие-нибудь от 10° до 45° к вертикальной плоскости (то есть, обнаружение в зоне, до некоторой степени соответствующей зоне 14, показанной на фиг. 2).
Подробности одной из предпочтительных компоновок излучателей и приемников по отношению к кожуху далее будут пояснены по фиг. 3A. Излучатели и приемники в этом случае надлежащим образом могут быть излучателями и приемниками Lite-ON, описанными выше.
Нижняя часть дозатора содержит первую крышку 50, к которой прикреплена главная PCB (печатная плата) для чувствительных элементов 9-13, которые являются излучателями и приемниками, как описано выше. К этой PCB прикреплен ряд держателей 52a и 52b, удерживающих каждый из чувствительных элементов. Держатели 52a приемников короче, чем держатели 52b излучателей, для того чтобы предусмотреть средство углубления приемников 9, 11, 13, большего, чем излучателей, относительно ровной плоской наружной крышки 53, которая в показанном случае снабжена углублениями переменной длины. Наружная крышка 53 может прикрепляться к излучателям и приемникам, например, фрикционной посадкой, в случае, если решено присоединять таковые в виде единого узла, хотя наружная крышка 53 также может крепиться к PCB или первой крышке 50 там, где требуется.
Как можно видеть на фиг. 3A, каждое из углублений, в которых размещены излучатели и приемники, по существу, являются округлыми. Если предусмотрены, например, имеющие коническую форму углубления, степень выступания активной части излучателей и степень выступания активной части приемников (то есть, для случая, в котором приемники действительно выступают дальше нижней поверхности 54, как происходит в случае, показанном на фиг. 3A, предпочтительнее, чем будучи полностью углубленными) могут требовать небольших адаптаций, чтобы добиться требуемой формы поля обнаружения. Относительное выступание излучателей и приемников может быть наблюдаться посредством сравнения положения короткой боковой штрихпунктирной линии на каждом чувствительном элементе, каковая линия находится либо под, либо над (нижней) внешней поверхностью 54 наружной крышки 53. В случае излучателей 20, 12, которые выполнены с возможностью иметь активную излучающую часть выступающей наружу из внешней поверхности 54 на больший размер, чем приемники 9, 11 и 13, линия показана ниже внешней поверхности 54 (то есть, снаружи внешней поверхности 54), тогда как в случае активной принимающей части приемников 9, 11, 13 линии находятся выше внешней поверхности 54, так как активная принимающая часть по меньшей мере частично углублена за внешнюю поверхность 54 (она также может быть полностью углублена, из условия чтобы она совсем не имела ее части, выступающей наружу за поверхность 54).
В показанном случае расстояние «A» верхушки излучателей 10, 12 от поверхности 54 составляет приблизительно 3 мм, а расстояние «B» верхушек каждого из приемников 9, 11, 13 от поверхности 54 составляет приблизительно 1 мм. Расстояния между соответственными чувствительными элементами 9-13 таковы, что x1 приблизительно равно каждому из расстояний x2, x3 и x4. С углубленными и выступающими размерами в 1 мм и 3 мм соответственно, расстояние приблизительно в 50 мм для каждого расстояния x1, x2, x3 и x4 было найдено как раз подходящим.
Величина углубления и выступания, как только поняты принципы этого изобретения, могут определяться обычным экспериментом. Однако может использоваться углубление, из условия чтобы ИК-приемники выступали на расстояние B между -2 мм (то есть, полностью углублялись на 2 мм) и +1,5 мм, хотя небольшое положительное расстояние B между 0,2 мм и 1,5 мм является наиболее подходящим. Подобным образом, для ИК-излучателей может использоваться выступание расстояния A на от 2 до 4 мм.
Априорная конфигурация выступания приблизительно на 3 мм и 1 мм за поверхность 54 соответственно для излучателей и приемников создает очень благоприятную форму языка зоны обнаружения. Общая форма языка созданной зоны 14 обнаружения показана на фиг. 3B (которая соответствует конфигурации по фиг. 3A) штрихпунктирной линией 55 периметра, указывающей внешнюю границу зоны 14. Будет небольшое отклонение формы, а также суммарной протяженности имеющей форму языка зоны 14 от выпускного отверстия 8 в направлении Z (смотрите направление Z на фиг. 2), из условия чтобы она изменялась между приблизительно 25 см и приблизительно 50 см, на основании применения изменяющейся мощности к излучателям, между 0,001 мА·с и 0,1 мА·с в установившемся режиме. Глубина показанной зоны 14 обнаружения согласно размеру C по фиг. 2, однако, будет мало изменяться, даже в то время как протяженность зоны 14 изменяется в направлении Z, когда изменяется мощность. Она остается относительно постоянной для компоновки чувствительных элементов в показанном примере, приблизительно на 8 см.
Когда ток меняется для изменения вышеприведенной дальности опознавания, предполагается, что конкретная дальность опознавания требуется в условиях установившегося режима, поскольку изменения тока, определенные в материалах настоящей заявки относящимися к среднему принимаемому ИК-излучению, несмотря на это затрагиваются не в такой большой степени при изменении формы зоны 14 обнаружения, но при компенсации фонового ИК-излучения наряду с поддержанием приблизительно одинакового размера зоны обнаружения.
На фиг. 3B эллипсы 56, 57, 58, показанные под каждым из приемников 9, 11, 13, являются меньшими, чем эллипсы 59, 60, показанные под каждым из излучателей 10, 12. Эта разница в размере обусловлена, соответственно, углубленной и выступающей сущностью этих сенсоров. Эллипсы, однако, являются всего лишь способом схематичного представления принципа основного поля обнаружения и приема, поскольку практическое испытание точной формы зоны обнаружения показывает, что она фактически соответствует области 14, ограниченной линией 55 периметра. Часть пользователя, проникающая в любую часть зоны 14, ограниченной периметром 55, таким образом, может обнаруживаться системой.
Фиг. 3B также показывает, что образуется слепой промежуток обнаружения, который тянется на расстояние приблизительно в 5 см (с некоторым разбросом, приблизительно в 0,5 см, соответственно, изменяясь между расстоянием 4,5 см и 5,5 см), под нижней поверхностью 54, каковая поверхность 54 может быть по существу на таком же вертикальном уровне, как выпускное отверстие 8. Поверхность 54, однако, может быть скомпонована, из условия чтобы она находилась от 1 до 4 см выше выпускного отверстия, при этом, однако, по-прежнему предусматривая наружную поверхность дозатора, из условия чтобы ожидаемое поле обнаружения не блокировалось каким-нибудь способом частями корпуса дозатора.
Слепой промежуток, однако, может быть сделан имеющим расстояние предпочтительно между 4 и 6 см от нижней поверхности 54 в зависимости от относительного выступания излучателей и приемников и их поперечного интервала.
Относительно большой размер слепого промежутка вызван в значительной степени углублением почти всей активной части приемников за поверхность 54 (то есть, вертикально выше поверхности 54 в положении использования).
Слепой промежуток также показан на фиг. 1 и 2.
Углубление приемников 9, 11, 13 (то есть, их меньшее выступание наружу за поверхность 54 по сравнению с излучателями, или их полное углубление, полностью выше поверхности 54) имеет конкретное преимущество, поскольку оно по существу предотвращает испускаемые ИК-сигналы от освещения непосредственно на все части приемников, которые, в противном случае, могут ухудшать чувствительность приема системы. Более того, оно снижает помехи отражения ИК-излучения с иных направлений, нежели зона 14 обнаружения.
Это, конечно, способствует обеспечению более надежного опознавания, которое при комбинировании с лежащей в основе и обладающей признаками изобретения конструкцией, описанной в материалах настоящей заявки, ввиду изменения тока на основании среднего фонового ИК-излучения, дает еще лучший результат.
Как будет более подробно пояснено ниже, когда часть тела возможного пользователя проникает в эту первую зону 14 обнаружения, сенсорная система обнаруживает присутствие пользователя и побуждает сенсорную систему осуществлять изменение с первой частоты сканирования на вторую частоту сканирования, которая выше, чем первая частота сканирования. Сенсорная система также заставляет электродвигатель M вращаться при расценивании пользователя (благодаря принимаемым сигналам) в качестве являющегося присутствующим в зоне дозирования.
Эта компоновка предоставляет возможность обеспечения поля надежного и точного приема ИК-излучения с формой, которая хорошо применима к ожидаемому позиционированию руки пользователя, когда руки пользователя приближаются к дозатору.
Несмотря на то что предпочтительная форма компоновки излучателей/приемников, как показано на фигурах, обладает определенными преимуществами, применение только одного излучателя и двух приемников или более чем двух излучателей и трех приемников также могло бы использоваться. Однако, предпочтительно, чтобы формировать требуемую зону обнаружения, должен быть еще один приемник, нежели излучатель, когда они скомпонованы последовательно, в виде приемник/излучатель/приемник и т. д. Два приемника (один на каждой боковой кромке) предпочтительно должны размещаться приближенными к наружным боковым кромкам сенсорной компоновки (и, таким образом, также, дозатора), чтобы предусмотреть прием ИК-излучения по ширине самой широкой части сенсорной компоновки в дозаторе и, таким образом, делают дозатор более дружественным пользователю посредством создания требуемой зоны обнаружения.
В альтернативном варианте осуществления изобретения, показанном на фиг. 9, дополнительный чувствительный элемент 19, вынесенный из корпуса 2 дозатора и при работе присоединенный беспроводным или проводным соединением 20 к чувствительной системе (схематично показанной под 22) и ее системе управления в корпусе дозатора, может использоваться для формирования первой зоны 18 обнаружения, которая дальше от дозатора, чем зона 17 обнаружения (зона 17 обнаружения в этом случае подобна по форме первой зоне 14 обнаружения на фиг. 1 и 2). В качестве альтернативы или дополнительно, дополнительный чувствительный элемент может быть размещен на передней части, например передней поверхности, корпуса дозатора и быть обращенным по ходу движения от любой стены или тому подобного, на которой смонтирован дозатор, чтобы предоставить возможность большей дальности обнаружения спереди дозатора, такой как чувствительный элемент 21, показанный схематично, который также присоединен к чувствительной системе 22. Чувствительный элемент 19 и/или 21, например, может быть выполнен с возможностью обнаруживать присутствие возможных пользователей вплоть до расстояния, большего, чем первая зона обнаружения, например, расстояния в более чем 50 см, предпочтительно, более чем 100 см, более предпочтительно, более чем 200 см, а еще более предпочтительно, более чем 300 см, или даже дальше от корпуса 2 дозатора.
Излучатели 10, 12 сенсорной системы скомпонованы с помощью подходящей схемы управления, которая может управлять схемой, как по сути известно в данной области техники, чтобы испускать импульсное ИК-излучение в узкой полосе частот, например, приблизительно 15 кГц ±0,5%. Однако могла бы быть выбрана другая частота ИК-излучения. Приемники 9, 11, 13 выполнены с возможностью обнаружения испускаемого ИК-излучения, которое отражается от объектов (неподвижных или движущихся) обратно на приемники. Для того чтобы детектировать ИК-излучение, которое берет начало главным образом и почти полностью от испускаемого ИК-излучения (даже вплоть до условий очень яркого освещения в 10000 люкс или более), предпочтительнее чем от всех источников и частот ИК-излучения, обусловленных фоновыми воздействиями, ИК-приемникам необходимо настраиваться на частоту излучателей. Таким образом, ИК-приемники снабжены схемой детектирования, которая подавляет ИК-излучение вне ожидаемого частотного диапазона отраженных волн и усиливает ИК-излучение на уровне диапазона 15 кГц. В этом отношении, несмотря на то, что диапазон детектирования частот как выше, так и ниже диапазона полосы испускаемых частот между с 2 до 10 кГц может действовать в большинстве ситуаций, может быть найдено более подходящим использовать частотный диапазон (полосу частот), который лежит около 3 кГц или выше, а также ниже центральной частоты испускаемого ИК-излучения. Таким образом, приемники настраиваются (или, другими словами, «синхронизируются») по испускаемому ИК-излучению на центральной частоте в 15 кГц, предоставляя возможность детектироваться ИК-излучению в диапазоне от 12 до 18 кГц (например, посредством использования проходного полосового фильтра, настроенного на с 12 до 18 кГц). Частоты вне такой полосы, таким образом, подавляются в большой степени, тогда как частоты в пределах полосы от 12 до 18 кГц усиливаются, с максимальным усилением, находящимся на центральной частоте приблизительно в 15 кГц, например, вплоть до приблизительно 53 дБ.
Посредством работы с модулированной частотой в излучателях и приемниках, воздействия, например, яркого солнечного света, которые в противном случае могут вызывать насыщенность принятого ИК-сигнала в сравнении с любым отраженным сигналом, по существу устраняются с предоставлением возможности устройству работать в условиях освещения фоновой подсветки вплоть до приблизительно 10000 люкс. Эта способность отличает возможных пользователей от других фоновых источников ИК-излучения, также дополнительно улучшается возможностью подачи изменяющегося тока в ИК-излучатели, как раскрыто в материалах настоящей заявки.
Фиг. 4 показывает последовательность отдельных циклов сканирования (то есть, испускание импульсного ИК-излучения) на первой частоте сканирования, имеющей время между отдельными циклами сканирования t1, второй частоте сканирования, имеющей время между отдельными циклами сканирования t2, которое короче, чем t1 (то есть большей частоте сканирования, чем t1), и третьей частоте сканирования, имеющей время между отдельными циклами сканирования t3, где t3 больше, чем t1 и t2. Время между отдельными циклами сканирования измеряется в качестве времени между началом одного одиночного цикла сканирования до момента времени запуска следующего отдельного цикла сканирования. Каждый из отдельных циклов сканирования здесь показан в качестве имеющего одну и ту же интенсивность импульса (то есть, никакая регулировка не производится между отдельными циклами сканирования для учета предыдущих принятых отраженных сканирований, которая может иметь результатом разную излучательную мощность, подаваемую на ИК-излучатели). Показано дополнительное время t4, которое является предварительно определенным временным интервалом или предварительно определенным количеством импульсов, отделенных временем t1 (первая частота сканирования), которому необходимо истекать до того, как система изменит частоту сканирования до третьей, самой медленной частоты сканирования с временным интервалом t3. Длительность импульса каждого отдельного импульса обычно постоянна.
Время t1 установлено на постоянном уровне, чтобы находиться между от 0,15 до 1,0 секунд, предпочтительно, от 0,15 до 0,4 секунд, то есть из условия, чтобы отдельный импульс сканирования отделялся равным временем t1. Время t1, однако, может изменяться, а точно подходящая частота для оптимизации устройства ради сбережения мощности аккумулятора и время реакции до дозирования были найдены находящимися около t1=0,17 секунд. Вторая частота сканирования является всегда более частой, чем первая частота сканирования, а t2 установлено, чтобы предпочтительно находиться между от 0,05 до 0,2 секунд, предпочтительно, между от 0,08 и 0,12 секунд, между циклами сканирования. Время t2, однако, может изменяться, чтобы быть другим подходящим значением, но предпочтительно находится между от 30% до 70% t1. Время t3 может быть установлено, примерно, между 0,3 и 0,6 секундами, хотя также возможно более длительное время t3, такое как 1 секунда или даже продолжительнее. Однако для запуска времени работы излучательной схемы (в частности, посредством использования запускающей RC-цепи, использующей постоянную времени RC, чтобы вызывать разряд тока, по отношению к микропроцессору для инициирования операции синхронизации) является наиболее подходящим, если t3 установлено, чтобы удваивать продолжительность t1. Таким образом, t3 может быть установлено в 0,34 секунды в случае, когда t1 составляет 0,17 секунд. Начальный момент t1 может быть сделан изменяемым, например, посредством переменного резистора, управляемого снаружи устройства, хотя, типично, это может быть заводской настройкой, с тем чтобы избежать непреднамеренного изменения времени t1, каковое является неподобающим в определенных ситуациях.
Время t4 типично может выбираться, чтобы быть порядка между от 30 секунд до 10 минут, а также может настраиваться переменным образом в устройстве в зависимости от типа использования и окружающей среды, которая обычно встречается там, где должно располагаться устройство. Однако подходящее значение для оптимизированной работы было найдено являющимся приблизительно 300 секундами, хотя также может большим, там где требуется сберегать дополнительную энергию.
Хотя не показано, будет очевидно, что дополнительные временные периоды также могут устанавливаться в устройстве с промежуточными временными периодами (то есть, промежуточными между значениями T1 и значениями T2, или промежуточными между t2 и t3 и т. д.) или даже большими временными периодами, в зависимости от рабочих условий, хотя было показано использование трех разных частот сканирования, чтобы учесть большинство ситуаций с хорошими эксплуатационными показателями исходя из времени реакции и сбережения энергии. Например, дополнительный временной период, более продолжительный, чем t4, например, 30 минут, происходящий во время действия циклов сканирования с интервалом t3, мог бы использоваться, с тем чтобы изменять временной период между циклами сканирования, чтобы был более длительным, чем t3 (например, 10 секунд между отдельными циклами сканирования). Такая ситуация может быть полезной, когда дозатор не может использоваться жестко в течение периодов ночного времени. Причина для этого станет яснее при изучении последующего описания работы.
Как видно из фиг. 4, после четырех циклов S1-S4 сканирования с временным интервалом t1 частота сканирования изменяется до второй более частой частоты сканирования с интервалом t2 и остается на второй частоте сканирования в течение двух дальнейших циклов сканирования S5 и S6. Причина для этого изменения будет пояснена ниже со ссылкой на фиг. 5.
Фиг. 5 показывает пример возможного уровня принятых сигналов R1-R7, вызванных в ответ на испускание импульсов S1-S7 сканирования.
Приближенный уровень фонового ИК-излучения указан в качестве принимаемого уровня сигнала Q0. Этот уровень Q0, конечно, может изменяться, и, как дополнительно показано ниже, это, однако, может учитываться несколькими способами. Тем не менее, для простоты пояснения, в последующем примере, чтобы пояснить основную работу сенсорной системы для перестройки детектирования и сканирования, допущено, что Q0 остается по существу постоянным.
Когда испускается S1, и нет объекта, который не учтен в последнем фоновом значении принятого сигнала, фоновый уровень, принятый в R1, будет приблизительно на уровне Q0. Подобным образом, в следующем цикле S2 сканирования уровень принимаемого ИК-излучения также близок к Q0 и в силу этого не вызывает изменения первой частоты сканирования. В цикле S3 сканирования уровень R3 принятого сигнала, однако, находится выше фонового уровня, но всего лишь в самой минимальной степени (например, менее чем на предопределенное значение, например, менее чем на 10%, выше уровня фонового ИК-излучения) и в силу этого сохраняется первая частота сканирования. Такие небольшие изменения (ниже предопределенного уровня) выше или ниже Q0 могут происходить вследствие временных изменений уровней влажности или лиц, перемещающихся на большем расстоянии от дозатора, либо паразитного ИК-излучения, обусловленного изменениями условий солнечного света или температурных условий вокруг дозатора.
В цикле S4 сканирования уровень принятого сигнала достиг или превысил предварительно определенное значение, например, на 10% выше фонового ИК-излучения, и сенсорная система и ее устройство управления, таким образом, предполагают, что вероятный пользователь (например, руки или все тело пользователя) перемещается ближе к дозатору, для того чтобы извлечь изделие, такое как бумажное полотенце. Для того, чтобы быть способным быстрее реагировать, когда предполагается, что пользователь желает, чтобы дозировалось полотенце (то есть, когда уровень принятого сигнала достиг или превзошел предопределенное значение, например, на 10% выше фонового ИК-излучения), частота сканирования соответственно возрастает до второй частоты сканирования и, таким образом, выдает следующий импульс сканирования с более коротким временем t2 после предыдущего импульса.
Если уровень R5 сигнала, принятый в следующем цикле S5 сканирования, также удовлетворяет критериям существования при или более чем предопределенном уровне выше фонового ИК-излучения (например, при или более чем 10% выше фонового ИК-излучения, в соответствии с критериями, используемыми для предыдущих циклов сканирования) сенсорная система регистрирует посредством счетчика (например, в памяти или другом виде регистра) одиночное детектирование выше предопределенного уровня, а затем выдает дополнительный цикл S6 сканирования с интервалом t2, чтобы проверить, находится ли принятое ИК-излучение по-прежнему на или выше уровня, на 10% большего, чем Q0 фонового ИК-излучения. Как показано на фиг. 5, это имеет место для цикла S6 сканирования, и устройство управления сенсорной системы (содержащее как программное обеспечение, так и микропроцессор, в предпочтительной форме) затем немедленно выдает выходной сигнал на электродвигатель M, чтобы начать вращение электродвигателя, для того чтобы осуществить дозирование изделия (например, порции бумаги 7 из рулона 3). В этом случае, то есть, когда два следующих друг за другом цикла сканирования находятся выше предопределенного уровня, система соответственно определила, что возможный пользователь находится в зоне, требуя, чтобы дозировался продукт, и, таким образом, определяет, что пользователь находится в зоне «дозирования».
В случае, где только один набор чувствительных элементов используется для обнаружения присутствия пользователя в первой зоне обнаружения (например, вариант осуществления по фиг. 1 и 2), зона обнаружения и зона дозирования будут одной и той же физической зоной, но он является всего лишь сенсорной системой управления, которая логически определяет, что пользователь проник в зону дозирования.
Однако в варианте осуществления изобретения по фиг. 9, где используется дополнительный сенсор 9 и/или 21, уровень R4 сигнала будет опознаваться в зоне 18 и, таким образом, будет заставлять первую частоту сканирования изменяться до второй частоты сканирования уже до того, как пользователь проник в зону 17, которая, в случае по фиг. 9, была бы зоной дозирования, которая отлична от первой зоны 18 обнаружения. Зоны 17 и 18, конечно, могли бы перекрываться в меньшей или большей степени, но зона 18 в таком случае всегда имеет по меньшей мере ее часть, которая скомпонована, чтобы тянуться дальше от дозатора, чем зона 17. В таком случае, однако, для второй частоты сканирования уместно поддерживаться в течение времени, подходящего, чтобы пользователь физически проник в зону 17 (например, времени для перемещения к раковине, мытья рук, а затем использования полотенца). Такое подходящее время, например, может устанавливаться между 1 и 10 минутами, в течение какового времени поддерживается вторая частота сканирования, в ожидании приема отраженных ИК-сигналов R, которые удовлетворяют критериям, по которым должно дозироваться изделие.
В дополнительной ситуации (не показана), где уровень при R5 ниже предварительно определенного уровня (например, на 10% выше фонового ИК-излучения), система может быть запрограммирована выдавать дополнительный цикл сканирования и снова проверять, находится ли уровень принятого сигнала выше предварительно определенного уровня, с тем чтобы указывать, что пользователь присутствует и желает получить полотенце. Таким образом, предпочтительнее, чем неизменное требование двух следующих друг за другом циклов сканирования для выработки двух принятых сигналов, имеющих интенсивность принятого сигнала выше предопределенного уровня, было найдено предпочтительным предоставлять любым двум или трем следующим друг за другом циклам сканирования возможность быть выше предопределенного уровня. Конечно, также существуют дополнительные возможности, в силу которых количеством циклов сканирования для предоставления возможности дозирования полотенца были бы любые два из четырех следующих друг за другом циклов сканирования, или любые три из четырех следующих друг за другом циклов сканирования, или дополнительные комбинации. Однако при t1, установленном в 0,17 секунды, а t2 – в 0,1 секунды, было найдено подходящим предоставлять любым двум из трех следующих друг за другом циклов сканирования возможность запускать дозирование изделия.
В случае, показанном на фиг. 4, после того, как полотенце или другое изделие было дозировано (высвобождено), система изменяет частоту сканирования обратно до первой частоты сканирования, с тем чтобы сберегать энергию, и, таким образом, цикл S7 сканирования испускается при времени t1 после цикла S6 сканирования. Понятно, что это сберегает энергию как можно своевременно. Однако вторая частота сканирования, тем не менее, может сохраняться дольше, если требуется (ситуация не изображена на фиг. 4), так что, когда пользователь снова желает получить второе или дополнительное изделие (например, дополнительное полотенце), снова перемещая свои руки к выпускному отверстию дозатора, снова быстро происходит дозирование.
В случае, показанном на фиг. 5, однако, показан случай, соответствующий фиг. 4, где пользователь, например, оторвал кусок бумаги, который был дозирован из дозатора, и, таким образом, уровень ИК-излучения, принятый на R7, ниже предопределенного уровня (например, уровня на 10% или в большей степени выше Q0).
Предварительно определенный уровень выше фонового уровня, при котором устройство управления сенсорной системы заставляет происходить высвобождение изделия, был описан выше в качестве существующего на 10% выше фонового для двух из трех следующих друг за другом циклов сканирования. Однако практические испытания показали, что более подходящий уровень находится при или свыше 12% большем, чем фоновое ИК-излучение, и даже более предпочтительно, при или свыше 15% большем, чем фоновое ИК-излучение. Это, предназначено, например, для учета изменяющихся условий освещения, которые могут возникать, когда пользователь находится вплотную к дозатору, но фактически не желает его использовать.
Однако при испытании также было обнаружено, что повышение отраженного ИК-излучения, которое принимается, предоставляет возможность использоваться совершенно разным пороговым значениям в тех случаях, когда требуется. Таким образом, чувствительные схемы, например, могут настраиваться, из условия чтобы предварительно определенный уровень выше фонового уровня составлял вплоть до 90% или более, даже вплоть до 95% или более, выше фонового ИК-излучения, перед тем, как происходит дозирование. Это, например, предоставляет возможность гораздо лучшего различения отражения от рук пользователя по сравнению с любым нежелательным принимаемым ИК-излучением при ширине полосы частотного спектра импульса от 12 до 18 кГц (например, в случае условий очень яркого освещения). В то же время близость, при которой возникает такой высокий уровень, обычно является меньшей, чем когда используется предварительно определенный уровень, до тех пор, пока слегка не повышен ток в излучателях.
В некоторых редких случаях пользователи могут перемещать свои руки очень быстро к дозатору и могут раздражаться вынуждением ожидать в течение некоторого времени, большего, чем точно необходимо, чтобы первая частота сканирования заменялась на вторую частоту сканирования, и ожидать дополнительные 0,2 секунды (при использовании t2=0,1), даже если это незначительное время. Дополнительный блок управления ручной коррекцией, таким образом, может быть включен в состав, в котором любой одиночный принятый сигнал сканирования при или выше на 30% (или более высокую величину, такую как выше 95%, в случае, описанном в предыдущем параграфе) по сравнению с фоновым уровнем может использоваться для вызова немедленного дозирования изделия, без требования следующих друг за другом циклов сканирования при или выше предварительно определенного уровня, даже когда в режиме первой частоты сканирования. Это также может применяться, будучи выполненным для применения в режиме второй частоты сканирования.
После периода бездействия в течение удлиненного временного периода t4, во время которого сенсорная система была сканирующей на первой частоте, системе может быть предоставлена возможность допускать, что нет возможных пользователей поблизости дозатора. В таком случае, даже время t1 может считаться слишком коротким, чтобы предоставлять возможность оптимального сбережения энергии, и таким образом, система может изменять частоту сканирования до третьей частоты сканирования (более низкой, чем первая частота сканирования), во время которой импульс сканирования выдается только однажды после истечения времени t3. Однако в таком случае, когда принимается ИК-сигнал, который находится на или выше предварительно определенного уровня (например, на 15% или больше выше фонового уровня), тогда система должна изменять частоту сканирования прямо до второй более высокой частоты сканирования, предпочтительнее чем сначала перенимая исходную первую частоту сканирования. Однако в таком случае, уместно требовать по меньшей мере двух циклов сканирования, но предпочтительно, большего количество циклов сканирования, для вызова дозирования изделия. Например, когда туалетная комната, где размещен дозатор, погружается в темноту, а затем, позже, в некоторый момент времени включаются лампы, принимаемые уровни ИК-излучения могут приниматься во внимание, чтобы определять, что присутствует пользователь. Чтобы избежать дозирования изделия в таком случае, может быть уместным позволять системе иметь в распоряжении время для учета уровней фонового ИК-излучения до предоставления возможности осуществлять дозирование.
В показателях фонового уровня ИК-излучения, как упомянуто выше, таковой будет изменяться со временем. Подобным образом, присутствию неподвижных объектов (например, мыльниц, других контейнеров или других неподвижных объектов) в пределах области дозатора необходимо учитываться в качестве фонового ИК-излучения. Для того, чтобы сделать это, было найдено подходящим получать скользящее среднее самых последних по времени зарегистрированных принятых ИК-сигналов R, с тем чтобы изменять уровень Q0 на непрерывной основе.
Например, четыре (либо больше или меньше, чем четыре) самых последних по времени принятых значений ИК-сигнала могут использоваться для формирования среднего значения уровня фонового сигнала, например, посредством деления, например, суммы четырех самых последних принятых уровней сигнала на четыре. По мере того, как принимается каждое новое значение ИК-излучения, самое старое значение из четырех значений вымещается из расчета (например, удалением его из регистра или накопителя самых последних значений в схеме управления) и расчетом нового среднего значения на основании самых последних значений. Расчет скользящего среднего и средство, требуемое для этого, в обоих аппаратных средствах и/или программном обеспечении, для самого последнего по времени зарегистрированного набора значений, очень хорошо известны в данной области техники электроники и, таким образом, здесь считаются не требующими дальнейшего пояснения.
Предварительно определенное количество предыдущих одиночных циклов сканирования, которые используются для формирования (скользящего) среднего, типично находится между двумя и десятью циклами сканирования, предпочтительно, между тремя и шестью циклами сканирования, а наиболее предпочтительно, является четырьмя или пятью циклами сканирования. Если три или менее циклов сканирования используются для формирования среднего значения принимаемого ИК-излучения, и это используется при установлении второго тока, который должен подаваться в излучатель(и), может возникать затруднение, что последние значения включают в себя значения высокого ИК-излучения вследствие руки, временно присутствующей, а затем, удаленной, которая вызывает искусственно высокое среднее значение принимаемого ИК-излучения. Это явление, конечно, может использоваться, если требуется, чтобы давать преимущество в установлении уровня тока для излучателя посредством сравнения набора (например, трех последних следующих друг за другом циклов сканирования) принятых значений ИК-излучения, которые заставляли возникать дозирование, с самым последним набором принятых значений ИК-излучения, которые не заставляли происходить дозирование. Когда используются четыре или более циклов сканирования, это дает более стабильные результаты для фонового ИК-излучения, хотя использование слишком большого количества значений может заставлять дозатор не реагировать достаточно быстро на фоновые изменения, каковое, таким образом, в некоторых случаях может заставлять дозатор реагировать более медленно на присутствие пользователя.
Посредством использования скользящего среднего уровня фонового ИК-излучения получено дополнительное преимущество, при котором, когда пользователь, который только что извлек полотенце или другое изделие, удерживает его/ее руки у выпускного отверстия дозирования, уровень принимаемого ИК-излучения будет оставаться высоким. Однако для не допущения пользователя, вызывающего таким образом высвобождение большого количества изделия, например материала бумажных полотенец, руки пользователя будут рассматриваться в качестве являющихся фоновым ИК-излучением, когда они относительно неподвижны, и, таким образом, дозирование не будет происходить. Для дозирования дополнительного изделия (например, бумаги), пользователь, поэтому, должен удалять его/ее руки от сенсоров дозатора, чтобы предоставить возможность считывания «истинного» фонового ИК-излучения (то есть, фонового ИК-излучения без рук пользователя, присутствующих слишком близко к устройству). Только при возобновленном движении рук пользователя по направлению к чувствительным элементам дозатора может вызываться дозирование изделия для возникновения вновь.
Кроме того, еще дополнительное средство, посредством которого может предотвращаться неправильное использование дозатора при излишнем повторном извлечении полотенец, состоит в организации, в дополнение к или даже в качестве альтернативы вышеприведенному скользящему среднему, регулируемого минимального времени истечения между дозированием полотенец (например, времени между 2 и 10 секундами). Однако этот признак обычно не требуется, поскольку в большинстве случаев присущее время истечения для системы на определение пользователя в качестве присутствующего в зоне дозирования и на поворот электродвигателя для дозирования полотенца будет достаточным для предотвращения такого неправильного использования.
Также будет приниматься во внимание, что по мере того, как аккумуляторы дозатора разряжаются со временем, мощность, подаваемая на чувствительные элементы, также может подвергаться влиянию, каковое может служить причиной менее эффективной работы. Чтобы предотвратить возникновение этого и, таким образом, гарантировать, что постоянное напряжение имеется в распоряжении для подачи на чувствительные элементы (до времени, близкого к полному разряду аккумуляторов), может применяться постоянная нагрузка по току. Такие постоянные нагрузки по току для обеспечения стабильности напряжения хорошо известны сами по себе в данной области электроники и, таким образом, здесь считаются не требующими дополнительного описания, хотя, может быть понятно, что их использование в сенсорной схеме для такого дозатора, как описанный в материалах настоящей заявки, является особенно полезным. Количество добавочной энергии, требуемой для управления постоянной нагрузки по току, является незначительным, и, соответственно, использование такого устройства едва заметно в пригодном для эксплуатации времени действия аккумулятора.
Мощность, подаваемая на излучатели, дополнительно может быть выполнена с возможностью изменяться посредством автоматического управления, соответственно, между величиной с 0,001 до 0,1 мА·с (с использованием аккумуляторной сборки в 6В), для того чтобы учитывать принимаемую интенсивность отраженного сигнала из предыдущих циклов сканирования, в частности таковых, имеющих результатом возникновение дозирования, по сравнению с теми, которые не вызывали дозирование (то есть, более позднее представление неизменного фонового ИК-излучения), и чтобы регулировать уровень испускаемого ИК-излучения до более подходящего уровня.
Это может достигаться изменением тока в излучателях, например, между 1 и 100 мА (то есть, возможностью 100-кратного изменения). Это может делаться посредством использования модуля 106 (который будет описан позже) ШИМ (широтно-импульсного модулятора, PWM), в силу чего прямоугольный ШИМ-сигнал преобразуется в напряжение постоянного тока (DC), имеющее выходную мощность, пропорциональную коэффициенту заполнения ШИМ, и в силу чего MCU изменяет коэффициент заполнения ШИМ, чтобы регулировать напряжение постоянного тока в схемах излучателей и, соответственно, мощность испускаемого ИК-сигнала на основании входных данных об интенсивности сигнала, принятых сенсорами и отправленных в MCU. Например, если интенсивность отраженного сигнала очень низка в последних нескольких циклах сканирования (например, пяти циклах сканирования), когда происходило дозирование, это может быть, так как типичная яркость рук пользователя низка, а уровни фонового освещения относительно высоки. Это может заставлять уровни принятого сигнала быть только едва выше предварительно определенного уровня по сравнению с фоновым ИК-излучением, пока руки пользователя не расположены очень близко к чувствительным элементам, каковое может приводить к затруднению при детектировании в некоторых условиях. В таком случае может быть надлежащим увеличивать мощность, подаваемую на ИК-излучатели, с тем чтобы принимать более легко воспринимаемое изменение сигнала, то есть, первый ток повышается до второго более высокого тока, и этот второй ток применяется в течение следующего импульса (или импульсов) сканирования, который будет отправляться (пока не обнаружено дополнительное изменение фонового ИК-излучения, которое может приводить к дополнительному изменению тока, отправляемого в излучатель(и)).
Подобным образом, если типичная яркость рук пользователя высока, а уровни фонового ИК-излучения низки, может быть надлежащим понижать мощность, подаваемую на ИК-излучатели, в то время как принимается легко воспринимаемое изменение уровня сигнала (то есть, уровень отраженного ИК-излучения во время дозирования по сравнению с уровнем фонового ИК-излучения). Этим способом, мощность, подаваемая на излучатели, кроме того, еще дополнительно оптимизируется, чтобы учитывать такие условия наряду с обеспечением надежного и быстрого опознавания и дозирования. Таким образом, кроме условий очень высокого освещения, только очень низкая мощность может использоваться в отношении чувствительных элементов. Таким образом, также будет понятно, что дозатор может быть оптимизирован, из условия чтобы первая зона обнаружения, в которой присутствие возможного пользователя вызывает изменение с первой до второй частоты сканирования, выбиралась находящейся между приблизительно 20 и 60 см, предпочтительно, между 25 см и 50 см от выпускного отверстия. Будет очевидно, что дополнительные повышения мощности в отношении излучателей будут повышать дальность обнаружения, но энергопотребление будет возрастать в гораздо большей степени, и ложные обнаружения также могут происходить чаще. Дальность вплоть до 50 см от дозатора для предоставления возможности обнаружения пользователя является предпочтительным максимумом для большинства сборок.
При изменении уровня тока с первого до второго тока, однако, может быть подходящим проектировать схему управления, из условия чтобы первый и второй уровень тока удерживался постоянным, например, в течение по меньшей мере одной секунды (или даже дольше) до предоставления возможности изменяться до другого уровня тока.
Изменением подаваемого тока в излучатели вышеупомянутым способом мощность, подаваемая на излучатели, оптимизируется, чтобы учитывать фоновые условия, с тем чтобы обеспечивать надежное и быстрое опознавание и дозирование без использования излишней энергии аккумуляторов.
Альтернативный, возможно, более простой способ, который может использоваться для изменения тока ИК-излучателя, предпочтительнее, чем посредством сравнения (как выше) значений уровней отраженного ИК-излучения с общим фоновым, состоит в том, чтобы устанавливать так называемое «стандартное значение» или «пороговое значение» в схеме управления, которое является значением ожидаемой интенсивности детектируемого сигнала, принимаемой в нормальных рабочих условиях. Подаваемый ток может составлять, например, 5 мА. Если это стандартное значение названо A1, то во время работы схема управления (ее MCU) может делать рассчитывающим уровень ИК-излучения, A2, по предварительно определенному количеству самых последних по времени принятых значений ИК-излучения (то есть, скользящему среднему самых последних значений). Если A2>A1 (то есть, уровень A2 сигнала скользящего среднего детектированного отражения выше сохраненного уровня A1 стандартного сигнала), ток, подаваемый на излучатель, может снижаться, предпочтительно по шагам приращения. Наоборот, в случае, если A2
Для каждого одиночного цикла сканирования ток, подаваемый в излучатель, нормально должен удерживаться по существу постоянным. Таким образом, как для первого уровня тока, так и для второго уровня тока, ток удерживается по существу постоянным на таком соответственном уровне тока. К тому же, как будет ясно, есть не только два возможных уровня тока, поскольку как только упомянутый второй уровень тока отправляется в одном одиночном цикле сканирования, такой второй уровень тока становится первым уровнем тока для следующего сканирования, и второй уровень тока будет следующим уровнем тока, который должен быть установлен (с повышением или понижением, либо неизменным в каждом цикле сканирования), все в зависимости от результатов самого последнего по времени скользящего среднего принимаемого ИК-излучения.
Среднее значение принимаемого ИК-излучения рассчитывается по предварительно определенному количеству предыдущих одиночных циклов сканирования. Предпочтительно, предварительно определенное количество предыдущих одиночных циклов сканирования указывает ссылкой на циклы сканирования, которые непосредственно предшествуют самому последнему циклу сканирования. Подходящее предварительно определенное количество циклов сканирования может быть между 2 и 10 циклами сканирования, предпочтительно, между тремя и шестью циклами сканирования, а наиболее предпочтительно, четырьмя или пятью циклами сканирования. Для расчета среднего принимаемого ИК-излучения, используются последние (например четыре) одиночные циклы сканирования, и среднее значение всех входных сигналов ИК-приемника используется для каждого цикла сканирования. В следующем среднем ИК-излучении, которое рассчитывается, непосредственно последние по времени четыре одиночных цикла сканирования, затем используются снова (самый старый цикл сканирования из предыдущих циклов сканирования теперь подвергнут удалению из расчета).
Дополнительный способ выполнения измерения фонового ИК-излучения, предпочтительнее, чем взятие среднего значения предварительно принятых значений ИК-излучения, которые включают в себя принятые значения отражения ИК-излучения от испущенного ИК-излучения, состоит в том, чтобы выполнять цикл сканирования приема (то есть, приводить в действие схемы приема на небольшое количество времени при выключенных излучателях) и измерять уровень поступающего ИК-излучения. Это может выполняться, например посредством MCU. Среднее значение предварительно определенного количества предшествующих одиночных циклов сканирования приема, которые, в таком случае, используются для формирования среднего значения принимаемого ИК-излучения (с выведенным из работы излучателем) уже описанным способом.
В случае использования отключенных излучателей для установления фонового ИК-излучения также может быть подходящим фиксировать уровень принимаемого ИК-излучения (в особенности, в случаях, где остаточная энергия аккумуляторов очень низка, так что уровни тока, подаваемые в излучатели, не должны или дальше не могут увеличиваться), который находится, например, на приблизительно 90% принимаемого значения ИК-излучения ИК-приемником, когда ИК-излучатель выключен. Могли бы выбираться другие значения, например, 85% и выше. Отклонения ИК-излучения при этом абсолютном уровне принимаемого ИК-излучения часто слишком малы для существования безошибочной способности различать изменение в принимаемом ИК-излучении, которое вызывается вследствие присутствия пользователя, по сравнению с внешними воздействиями, а это может приводить к ненадлежащему дозированию. Такая ситуация наиболее вероятна для возникновения в дозаторах, где не используется импульсное ИК-излучение с ограниченной частотой (то есть, в противоположность вышеизложенной системе излучения с априорно ограниченной частотой 15 кГц и детектированием 12-18 кГц, описанной выше), вследствие в значительной степени более низких абсолютных уровней фонового ИК-излучения, которые требуются для насыщения сенсорной системы приема.
Также будет понятно, что дозатор может быть оптимизирован, из условия чтобы самый внешний край первой зоны обнаружения, в которой присутствие возможного пользователя вызывает переключение с первой на вторую частоту сканирования, выбирался находящимся между приблизительно 20 и 60 см, предпочтительно между 25 см и 50 см от выпускного отверстия. Дополнительное повышение мощности в излучателях для достижения большей дальности будет повышать дальность обнаружения, но энергопотребление будет возрастать в гораздо большей степени, и ложные обнаружения также могут легче возникать несмотря на дополнительное измерение уровня электропитания излучателя.
В дополнительном предпочтительном варианте осуществления дозатор может быть выполнен с возможностью иметь в распоряжении два режима работы, один, являющийся режимом опознавания (или режимом «опознавания пользователя»), описанным ранее, в силу которого является действующим активное восприятие ИК-излучения, другой режим, являющийся режимом «вывешивания» полотенца, например, в силу которого, каждый раз, когда бумажное полотенце дозируется и, к тому же, снимается (например, обрывается), новое бумажное полотенце высвобождается из дозатора. Для этой цели, например, режущая кромка 16, как показано на фиг. 2, могла бы устанавливаться из условия, чтобы применение нажима на режущую кромку (часто указываемую, как режущий механизм) заставляет приводиться в действие переключатель для запуска электродвигателя M, чтобы выдавать новый кусок полотенца, готового быть оторванным. Устройство также может включать в себя ручной переключатель, так что этот режим «вывешивания» полотенца может вручную устанавливаться пользователем или автоматически устанавливаться таймером, например, с известными временными периодами, когда дозатор нормально будет в постоянном использовании, а использование активной сенсорной ИК-системы является временно излишним.
Режим «вывешивания» полотенца, например, также может быть пригодным в условиях чрезмерно высокого фонового ИК-излучения (например, выше 5000, а предпочтительно выше 10000 люкс), когда сенсорная ИК-система полностью насыщена и, таким образом, не может детектировать отличие в повышенном уровне ИК-излучения от пользователя по сравнению с фоновыми уровнями, несмотря на любые переключения с первого тока на второй ток, подаваемые в излучатели. Дозатор, таким образом, выполнен с возможностью детектировать уровень ИК-излучения по отношению к пороговому значению (то есть, максимальному пороговому значению), и, когда упомянутое пороговое значение достигается, сенсорная система управления (то есть, система управления для сенсорной системы) переключает режим дозирования дозатора с режима опознавания пользователя (то есть, сравнения принимаемого ИК-излучения с фоновым ИК-излучением для приведения в действие дозирования, как описано ранее) на режим «вывешивания» полотенца, в котором кусок бумажного листового полотенца выдается из выпускного отверстия и остается висящим там до тех пор, пока оно не снято, после которого дополнительное бумажное полотенце выдается из выпускного отверстия 8 и снова остается висящим там.
Однако детектирование среднего значения принимаемого ИК-излучения, предпочтительно, по-прежнему рассчитывается в течение времени, которое находится в работе режим «вывешивания» полотенца, а система управления выполнена с возможностью переключать режим обратно из режима «вывешивания» полотенца в режим дозирования, когда среднее значение принимаемого ИК-излучения падает ниже порогового значения.
Немедленное переключение обратно может быть не всегда подходящим, поскольку среднее ИК-излучение могло падать ниже порогового значения только временно, а устройство было бы постоянно переключающимся между режимами вывешивания и опознавания пользователя, каковое может сбивать пользователя с толку. Таким образом, может быть предпочтительным включать временную задержку первого предопределенного промежутка времени (например, пяти секунд или более, или даже более длительных временных периодов) перед переключением обратно в режим опознавания пользователя.
Даже еще дополнительное улучшение может достигаться выполнением программного обеспечения (или, по выбору, аппаратных средств) системы управления с возможностью предотвращать переключение обратно в упомянутый режим опознавания пользователя в течение упомянутого первого предопределенного временного периода, если среднее значение принимаемого ИК-излучения в течение такого времени выше максимального порогового значения ИК-излучения. К тому же это помогает дополнительно сглаживать воздействия временных изменений фонового ИК-излучения.
В дозаторе, использующем испускаемое импульсное ИК-излучение (например, при напряжении переменного тока 15 кГц, как пояснено выше), уровень фонового ИК-излучения, вызываемого, в частности, светом (содержащим все частоты ИК-излучения), при котором требуется такой переход в режим «вывешивания» полотенца, нормально будет очень высоким уровнем (например, вплоть до или более чем 10000 люкс). Однако переключение режима с режима опознавания пользователя на режим «вывешивания» полотенца является особенно полезным в недорогом типе системы дозатора, где ИК-излучение не является импульсным, а просто испускается широкая полоса частот ИК-излучения и принимается широкая полоса частот. В таких случаях уровень насыщения приемной стороны сенсорной системы наступает на гораздо более низких уровнях освещения (например, порядка 1000 люкс). Таким образом, переключение с режима опознавания пользователя на режим вывешивания полотенца могло бы предлагать полезное дополнение таким устройствам, не привнося расходы на ограниченное импульсное частотное испускание и специальные усилители и фильтры на стороне приемника.
Дополнительное обстоятельство, по которому может быть полезным переключаться на режим «вывешивания» полотенца, имеет место в момент времени, близкий к полному разряду аккумулятора, когда энергопотребление активной сенсорной ИК-системы неподобающе высоко для оставшейся энергии аккумуляторов (когда имеет отношение к нормальному использованию, для которого поставлено устройство). В таком случае малой мощности аккумуляторов может использоваться автоматическое переключение (посредством системы управления дозатором, включающей в себя сенсорную систему) на режим «вывешивания» полотенца и выключение излучателей, используемых для режима опознавания. В качестве альтернативы, устройство может быть оборудовано индикатором предупреждения о низкой мощности аккумуляторов, который мог бы использоваться обслуживающим лицом для перевода ручного переключателя в режим вывешивания полотенца на время до замены аккумуляторов.
Фиг. 6 показывает структурную схему базовой системы по одному из вариантов осуществления дозатора согласно изобретению, в которой часть, показанная пунктирной линией, включает в себя основные компоненты для модуляции ИК-сигнала, испускания ИК-излучения и приема ИК-излучения, используемых для передачи сигнала опознавания в (аналого/цифровую) A/D-модуляцию главного устройства управления (MCU), каковое устройство содержит микропроцессор.
Прямоугольник 101 и 102 обозначает ИК-излучатель(и) и приемник(и), соответственно, в целом соответствующие ранее описанным излучателям 10, 12 и приемникам 9, 11, 13, описанным выше. Эти ИК-излучатели и приемники предпочтительно являются фотодиодами. Рука, показанная за пределами пунктирных линий, указывает, что ИК-излучение, испускаемое излучателем(ями) 101, отражается рукой обратно в приемник(и) 102. Узел 103 является фотоэлектрическим преобразователем для преобразования принятого ИК-сигнала перед тем, как он пропускается в узел 104 фильтрации и усиления, где схемы проходного полосового фильтра и усиления действуют для усиления принятого сигнала около центральной частоты в ограниченной ширине полосы и, тем самым, для соразмерного подавления других частот ИК-излучения. Сигнал затем пропускается в узел 105 выпрямления сигнала, поскольку ИК-сигнал является сигналом переменного тока. Из узла 105 сигнал проходит в A/D-модуль MCU.
Выход модуля 106 ШИМ управляется MCU из условия, чтобы сигнал прямоугольной формы из ШИМ мог иметь свой коэффициент заполнения изменяемым посредством MCU для регулирования напряжения постоянного тока в схемах излучателей и, таким образом, мощности испускаемого ИК-сигнала. ШИМ 106 присоединен к D/A-преобразователю 107 и к узлу 109 схемы возбуждения ИК-излучателя, который включает в себя постоянную нагрузку по току, упомянутую ранее. В ту же самую схему возбуждения ИК-излучателей также подается сигнал из модуля 108 фазочастотного детектирования, который выдает импульсный модулированный сигнал 15 кГц (0,5%) (или другую частоту модулированного сигнала, которая считается уместной), с тем чтобы возбуждать излучатели 101 через схему 109 возбуждения излучателей для испускания модулированных ИК-сигналов в течение коротких интервалов (например, каждый сигнал испускается в течение приблизительно 1 мс). В этом отношении должно быть отмечено, что перед тем как испускается модулированный сигнал, MCU, прежде всего, уже должен ввести в работу узел 104 схемы фильтра и усиления для принятого сигнала на короткий период, например 2,5 мс, до испускания модулированного импульса, с тем чтобы предоставить схеме приемника возможность осуществлять стабилизацию, для того чтобы надежно детектировать отраженное ИК-излучение у испускаемого ИК-сигнала. Поскольку узел 104 уже в работе, когда испускается импульс сканирования ИК-излучения, и поскольку фильтры и узел усиления центрированы по центральной частоте испускаемого импульса, нет необходимости синхронизировать временную привязку испускаемого импульса и принимаемого импульса до какой бы то ни было дополнительной степени.
Сигнал из узла 109 поставляет информацию в узел 110 управления включением/выключением ИК-излучателя. Модуль 118 ввода/вывода MCU также поставляет сигнал в узел 110, чтобы включаться и выключаться, по необходимости, чтобы тем самым выполнять цикл сканирования ИК-излучения посредством излучателя 101.
Для того чтобы приводить в действие микропроцессор (то есть, переводить его в активное состояние для выполнения цикла сканирования с определенной частотой), RC-цепь 115 запуска подает сигнал на MCU, в узел 114 обнаружения перевода в активное состояние. Узел 117 является узлом обнаружения внешнего прерывания.
Из модуля 118 ввода/вывода происходит передача в узел 119, который может рассматриваться в качестве схемы управления электродвигателем, которая приводит в действие электродвигатель M, когда сенсорная система (которая предпочтительно включает в себя MCU и программное обеспечение) обнаружила, что изделие должно дозироваться вследствие определения присутствия пользователя в зоне дозирования.
Дополнительными периферийными узлами 111, 112, соответственно, являются узел схемы опознавания бумаги и схема детектирования малой мощности (то есть, для детектирования аккумуляторов, близких к полному разряду). Узел 116 указывает мощность аккумулятора, которая используется для приведения в действие MCU, а также всех других внешних устройств и электродвигателя. Узел 120 может быть схемой перегрузки электродвигателя, которая отсекает питание на электродвигатель, например, когда бумага становится застрявшей в дозаторе или когда в дозаторе нет бумаги. Узел 121 является узлом контроля длины бумаги, который действует из условия, чтобы постоянная длина бумаги (которая, сама по себе, является настраиваемой переменным образом посредством ручной операции, например, с переменным резистором или тому подобным), каждый раз, когда электродвигатель делается работающим для дозирования некоторой длины бумажного листа 7 через выпускное отверстие 8. Этот узел 121 также может включать в себя модуль компенсации малой мощности, посредством которого электродвигатель при малой мощности делается вращающимся в течение более длительного периода времени, для того чтобы дозировать идентичную длину бумажного листа, хотя узел может быть просто системой импульсного управления положением, посредством которой вращение электродвигателя отсчитывается по последовательности импульсов и вращение останавливается, только когда достигнуто точное количество импульсов. Такая система импульсного управления положением, например, могла бы включать в себя жестко расположенный фотопрерыватель, который может детектировать щели в соответствующем разрезном узле, прикрепленном к приводному валу электродвигателя (или, в качестве альтернативы, на приводном валике 5, работоспособным образом присоединенном к приводному электродвигателю). Узел 122 может быть схемой детектирования недостаточной бумаги, а узел 123 может быть узлом, используемым для указания, открыт или закрыт корпус. Это, например, может использоваться для обеспечения автоматической подачи первой порции бумаги из рулона бумаги через выпускное отверстие, когда корпус закрыт, например, после повторного заполнения новым рулоном бумаги, так что лицо, повторно заполняющее дозатор, уверено, что устройство является дозирующим надлежащим образом после того, как было закрыто.
Хотя здесь не показано, последовательность ламп предупреждения или индикации состояния может быть ассоциативно связана, например, с различными узлами, такими как узлы 111, 112, со 120 по 123, чтобы указывать конкретные условия потенциальному пользователю, либо обслуживающему дозатор лицу или ремонтному рабочему (например, если заклинен электродвигатель дозатора или дозатор нуждается в повторном заполнении бумагой, или тому подобное).
Фиг. 7 показывает один из вариантов осуществления RC-цепи управления, которая может использоваться для предоставления синхронизированного перевода в активное состояние микропроцессора в MCU. Принцип такой схемы широко известен и, в настоящем случае, подходящим значением для резистора Re является 820 кОм, а для конденсатора – 0,33 микрофарад. Хотя не показано конкретно на фиг. 6, RC-цепь перевода в активное состояние использует узел 118 ввода/вывода MCU для обеспечения функции синхронизированного перевода в активное состояние микропроцессора, так что цикл сканирования происходит в предписанный временной интервал (например, t1, t2 или t3). Когда есть падение с высокого до низкого напряжения на входе/выходе, в результате RC-цепи, MCU будет «переходить в активное состояние» и выполнять цикл сканирования. Этот переход в активное состояние, ведущий к выполнению цикла сканирования, также требует программной поддержки. Подобным образом, продолжительность времени t1 и/или, t2 и/или t3 может выполняться надлежащим образом в качестве кратного количества постоянной времени RC-цепи, в силу чего входной сигнал из RC-цепи может использоваться в программном обеспечении для определения, требуется или нет цикл сканирования в каждом интервале. В этом отношении будет отмечено, что RC-цепь подвергается изменениям напряжения на входе (через VDD, который является источником напряжения питания MCU, полученным после прохождения через диод из аккумуляторного источника напряжения). Так как напряжение аккумулятора (или аккумуляторов) падает, то будет увеличение постоянной времени RC в схеме по фиг. 7, и, таким образом, промежутки t1, t2 и t3 времени, установленные первоначально, будет изменяться по мере того, как аккумуляторы становятся более истощенными. Например, при промежутке t1 времени, установленном на предопределенном уровне в 0,17 секунд для уровня аккумулятора в 6 В, падение до уровня полного разряда в 4,2 В будет увеличивать промежуток t1 времени до 0,22 с. Таким образом, значения t1, t2, t3 и т. д., в качестве используемых в материалах настоящей заявки, должны пониматься как являющиеся значениями при полностью разряженном аккумуляторном источнике.
Фиг. 8 показывает модифицированную RC-цепь, которая обладает преимуществом использования меньшего тока, чем схема, показанная на фиг. 7. На фиг. 8 три биполярных транзистора используются для минимизации тока, используемого, когда MCU является бездействующим.
При нормальных условиях цифровая схема внутри MCU действует в логическом состоянии высокого напряжения и логическом состоянии низкого напряжения, в котором ток нагрузки очень низок. Однако, когда RS-цепь перевода в активное состояние присоединена, как на фиг. 7 (в силу чего, указание «к MCU» предполагает присоединение к порту ввода/вывода MCU), это создает скачкообразное изменение напряжения на порте ввода/вывода MCU, которое является пропорционально увеличивающимся скачкообразным изменением напряжения, вследствие процесса заряда и разряда в RC-цепи. Это создает относительно длительный период работы для цифровой схемы в MCU, в свою очередь, имеющий результатом внутренне более высокий расход энергии во внутренних цепях ИС (интегральной схемы, IC), чем наличествующее во время нормальных условий работы. Это имеет результатом до некоторой степени более высокое энергопотребление для MCU во время его цикла «отключения» (то есть, цикла «бездействия» MCU).
Согласно схеме по фиг. 8, модификация включает в себя использование двух портов PA7 (с правой стороны на фигуре) и PB7 (с левой стороны на фигуре) ввода/вывода у MCU. Важный аспект этой схемы состоит в том, что два транзистора Q2 и Q3 были добавлены в каскад, которые вместе модифицируют характеристики разряда RC. Вывод PA7 MCU, в таком случае, дает более крутую кривую разряда. Постоянная времени задержки для перевода MCU в активное состояние определяется согласно R4 и C1, которым были заданы значения 820 кОм и 0,68 мкФ соответственно, в показанном примере. Конечно, могут выбираться другие значения для других постоянных времени.
Быстрое скачкообразное изменение напряжения на порте PA7 достигается после преобразования на Q2 и Q3, которое минимизирует время, требуемое для перехода с логического уровня высокого напряжения на логический уровень низкого напряжения. Такая схема, как на фиг. 8, может достигать понижения мощности приблизительно на 40% во время цикла бездействия по сравнению с цепями схемы 7 для приблизительно одинаковых постоянных времени RC. Таким образом, RC-цепь синхронизации по фиг. 8 особенно полезна в тех случаях, когда должна сберегаться максимальная энергия.
Формула изобретения
1. Дозатор для автоматического дозирования изделия, хранимого в запасе изделий упомянутого дозатора, упомянутый дозатор содержит электрический, предпочтительно аккумуляторный, источник питания и активную сенсорную ИК-систему, упомянутая сенсорная ИК-система включает в себя по меньшей мере один ИК-излучатель и по меньшей мере один ИК-приемник, при этом упомянутая сенсорная ИК-система выполнена с возможностью осуществлять сканирование на присутствие возможного пользователя по меньшей мере при первой частоте сканирования, и при этом предусмотрена сенсорная система управления из условия, чтобы упомянутый активный ИК-излучатель снабжался первым током, который является по существу постоянным в течение одного или более одиночных циклов сканирования, но который может изменяться до другого, второго по существу постоянного тока для дополнительного сканирования, упомянутый первый и второй токи определяются на основе интенсивности сигнала среднего значения принимаемого ИК-излучения, которое принимается упомянутым по меньшей мере одним ИК-приемником в течение предварительно определенного количества предыдущих одиночных циклов сканирования, при этом упомянутый дозатор является дозатором бумажных полотенец, причем сенсорная система управления выполнена с возможностью детектировать максимальное пороговое значение среднего принимаемого ИК-излучения, по которому упомянутая чувствительная система управления переключает режим дозирования упомянутого дозатора с режима опознавания пользователя на режим вывешивания полотенца.
2. Дозатор по п.1, в котором упомянутая сенсорная система управления переключает упомянутый режим дозирования с упомянутого режима вывешивания полотенца на упомянутый режим опознавания пользователя, когда среднее значение принятого ИК-излучения измеряется находящимся ниже упомянутого максимального порогового значения.
3. Дозатор по п.2, в котором упомянутая система управления выполнена с временной задержкой из условия, чтобы, когда среднее значение принятого ИК-излучения измерено находящимся ниже упомянутого максимального порогового значения, упомянутая операция переключения с упомянутого режима вывешивания полотенца на упомянутый режим опознавания пользователя задерживается на по меньшей мере первое предварительно определенное время.
4. Дозатор по п.3, в котором упомянутое первое предварительно определенное время составляет по меньшей мере пять секунд.
5. Дозатор по п.3, в котором упомянутая система управления выполнена с возможностью препятствовать переключению на упомянутый режим опознавания пользователя, если в рамках первого предварительно определенного времени превышено упомянутое максимальное пороговое значение.
6. Дозатор по п.2 в котором среднее значение принятого ИК-излучения измеряется с помощью каждого выключенного ИК-излучателя.
7. Дозатор по п.6, в котором сенсорная система управления скомпонована из условия, чтобы, когда среднее значение принятого ИК-излучения с выключенным каждым ИК-излучателем находится выше 90% среднего значения принятого ИК-излучения при включенном каждом ИК-излучателе, упомянутый режим опознавания пользователя отключался.
8. Дозатор по п.7, в котором упомянутая система управления переключается на режим вывешивания полотенца после отключения режима опознавания пользователя.
9. Дозатор по п.7, в котором система управления переключается с упомянутого режима вывешивания полотенца обратно в упомянутый режим опознавания пользователя при обнаружении, что среднее значение принятого ИК-излучения с каждым выключенным ИК-излучателем находится на или ниже 90% среднего значения, принимаемого ИК-излучения с каждым включенным ИК-излучателем.
10. Дозатор по п.1, в котором упомянутый второй ток делается более высоким чем упомянутый первый ток, когда среднее значение ИК-излучения, принятое упомянутым ИК-приемником, повышается с первого среднего значения принятого ИК-излучения до второго более высокого среднего значения принятого ИК-излучения, и делается более низким чем упомянутый первый ток, когда среднее значение ИК-излучения, принятое упомянутым ИК-приемником, снижается от первого среднего значения принятого ИК-излучения до второго более низкого среднего значения принятого ИК-излучения.
11. Дозатор по п.1, в котором первое стандартное значение А1 было установлено в схеме управления, соответствующее значению ожидаемой интенсивности детектированного сигнала, принимаемой в нормальных рабочих условиях, и в котором система управления выполнена с возможностью рассчитывать скользяще среднее значение А2 по предварительно определенному количеству самых последних по времени принятых значений ИК-излучения, при этом, когда А2>А1, ток, подаваемый в излучатель, снижается предпочтительно шагами приращений, а в случае, где А2<А1, ток, подаваемый в излучатели, повышается предпочтительно по шагам приращения.
12. Дозатор по п.1, в котором упомянутое предварительно определенное количество предыдущих одиночных циклов сканирования находится между двумя и десятью циклами сканирования, предпочтительно между тремя и десятью циклами сканирования, а наиболее предпочтительно является четырьмя или пятью циклами сканирования.
13. Дозатор по п.1, в котором упомянутый первый ток и упомянутый второй ток могут изменяться в рамках фиксированных максимального и минимального пределов.
14. Дозатор по п.13, в котором максимальный предел находится между 10 и 150 больше чем упомянутый минимальный предел, предпочтительно между 50 и 120 больше, а более предпочтительно между 95 и 105 больше.
15. Дозатор по любому из пп.1-14, в котором упомянутая сенсорная система также может осуществлять сканирование на второй частоте сканирования, при этом упомянутая вторая частота сканирования является более высокой чем упомянутая первая частота сканирования, и в котором сенсорная система выполнена с возможностью изменять упомянутую частоту сканирования с упомянутой первой частоты сканирования до упомянутой второй частоты сканирования по приему уровня отраженного ИК-излучения, большего чем предварительно определенное значение выше фонового уровня ИК-излучения в течение первого предварительно определенного количества одиночных циклов сканирования, и в котором сенсорная система вызывает дозирование изделия упомянутым дозатором, когда упомянутая сенсорная система детектирует изменение в принятой интенсивности ИК-сигнала, которая находится на или большем, чем предварительно определенный уровень интенсивности ИК-сигнала выше фонового уровня интенсивности ИК-сигнала в течение второго предварительно определенного количества одиночных циклов сканирования.
16. Дозатор по п.15, при этом упомянутый предварительно определенный уровень интенсивности сигнала находится на или сверх 10% выше чем фоновый уровень, предпочтительно на или сверх 12% выше чем фоновый уровень, а более предпочтительно на или сверх 15% выше чем фоновый уровень.
17. Дозатор по любому из пп.1-14, при этом упомянутая сенсорная система содержит множество ИК-приемников и по меньшей мере один ИК-излучатель, предпочтительно, по меньшей мере на один ИК-приемник больше чем количество ИК-излучателей, и при этом значение из значений принятого ИК-излучения на всех приемниках используется для формирования одиночного среднего значения принятого ИК-излучения в течение одного одиночного цикла сканирования.
18. Дозатор по п.17, в котором упомянутая сенсорная система содержит по меньшей мере два ИК-излучателя и по меньшей мере три ИК-приемника, при этом каждый излучатель имеет один приемник на каждой боковой его стороне из условия, чтобы излучатели и приемники были в порядке приемник-излучатель-приемник-излучатель-приемник в боковом направлении поперек дозатора, и при этом интервал между каждым излучателем и каждым прилегающим сбоку приемником является по существу равным.
19. Дозатор по любому из пп.1-14, в котором упомянутый дозатор содержит выпускное отверстие на или приближенное к его нижней поверхности, и при этом каждый из упомянутых излучателей и приемников скомпонован на упомянутой нижней поверхности.
20. Дозатор по п.1, в котором упомянутый дозатор является дозатором бумажных полотенец, выполненным с возможностью хранения запаса бумаги так и дозирования по меньшей мере части упомянутого запаса бумаги.
21. Дозатор по п.19, при этом упомянутые ИК-излучатели управляются сенсорной системой управления, чтобы доводить ИК-излучение до такого уровня, что поле обнаружения, обеспечиваемое упомянутыми излучателями, способно обнаруживать присутствие возможного пользователя на расстоянии вплоть до 25 см от упомянутого выпускного отверстия, предпочтительно вплоть до 50 см от упомянутого выпускного отверстия.
22. Дозатор по любому из пп.1-14, в котором упомянутая сенсорная система выполнена с возможностью испускать ИК-излучение только с первой полосой частот испускания, и при этом упомянутая чувствительная система выполнена с возможностью детектировать излучение в ограниченном частотном диапазоне обнаружения, при этом упомянутая первая частота испускания предпочтительно составляет около 15 кГц, а упомянутым частотным диапазоном обнаружения предпочтительно является диапазон между приблизительно 12 кГц и около 18 кГц.
23. Дозатор по одному из пп.1-14, в котором нагрузка постоянного тока используется для подачи постоянного тока в каждый ИК-излучатель.
РИСУНКИ
,>
,>
|
|