|
|
(21), (22) Заявка: 2008149596/28, 17.12.2008
(24) Дата начала отсчета срока действия патента:
17.12.2008
(46) Опубликовано: 27.05.2010
(56) Список документов, цитированных в отчете о поиске:
RU 2264012 C1, 10.11.2005. JP 2002344051 A, 29.11.2002. RU 2291532 C1, 01.10.2007. US 76304224 A1, 30.10.2008. EP 0339868 A1, 02.11.1989.
Адрес для переписки:
119002, Москва, пер. Сивцев Вражек, 9, кв.2, А.И. Ляшенко
|
(72) Автор(ы):
Бульбин Алексей Анатольевич (RU), Ляшенко Александр Иванович (RU)
(73) Патентообладатель(и):
Бульбин Алексей Анатольевич (RU), Ляшенко Александр Иванович (RU)
|
(54) ИМПУЛЬСНЫЙ ТВЕРДОТЕЛЬНЫЙ ЛАЗЕР
(57) Реферат:
Импульсный твердотельный лазер содержит резонатор, образованный частично прозрачным и глухим зеркалами, внутри которого установлены активный элемент, поляризатор и электрооптический элемент. Между активным элементом и частично прозрачным зеркалом установлен 90-градусный вращатель плоскости поляризации излучения и второй поляризатор. Вне резонатора установлены два поворотных зеркала таким образом, что вместе с поляризаторами они образуют кольцевой резонатор, содержащий активный элемент и 90-градусный вращатель плоскости поляризации излучения. Активный элемент выполнен из оптически изотропного кристалла. Технический результат заключается в повышении КПД, степени равномерности пространственной структуры излучения, стабильности энергетических параметров импульсов излучения от импульса к импульсу и степени поляризации выходного излучения. 1 ил.
Изобретение относится к лазерной технике, в частности к твердотельным импульсным лазерам.
Импульсные твердотельные лазеры с модуляцией добротности резонатора как генераторы мощных импульсов узконаправленного излучения в наносекундном диапазоне длительностей импульсов в ближнем ИК спектральном диапазоне широко применяются в научно-прикладных исследованиях, в медицине, в системах экологического мониторинга окружающей среды, в технологических установках.
В качестве лазеров ИК-диапазона часто используются лазеры на кристаллах, содержащих ионы Nd (АИГ:Nd, AИ:Nd, ГСГГ:Сr, Nd, ИСГГ:Сr, Nd и т.д.).
Известен импульсный твердотельный лазер, содержащий резонатор, образованный частично прозрачным и глухим зеркалами, внутри которого установлены активный элемент из оптически изотропного кристалла (АИГ:Nd, ГСГГ:Сr, Nd, ИСГГ:Сr, Nd и т.д.), поляризатор и электрооптический элемент [1].
Пространственная структура многомодового излучения данного лазера в режиме модуляции добротности резонатора является неоднородной, что снижает КПД лазера и эффективность процессов преобразования длины волны излучения в другие спектральные диапазоны методами нелинейной оптики.
Более того, степень равномерности пространственной структуры излучения уменьшается при увеличении частоты повторения импульсов вследствие деполяризации излучения в активном элементе из оптически изотропного кристалла из-за двулучепреломления, наведенного излучением лампы накачки, что, как показано в работе [2], наиболее сильно сказывается при ориентации оси цилиндрического элемента из АИГ:Nd3+ относительно кристаллографических осей в направлении [111]. Производство активных элементов данной ориентации высокого оптического качества налажено во многих странах.
В резонаторе с поляризатором деполяризованное излучение покидает резонатор, отражаясь от поляризатора, при этом КПД лазера снижается. Эффективность нелинейных эффектов преобразования излучения в другие спектральные диапазоны также снижается в том числе из-за деполяризации выходного излучения в активном элементе.
Наиболее близкими к предлагаемому по технической сущности является импульсный твердотельный лазер, содержащий активный элемент из анизотропного кристалла ортоалюмината иттрия с неодимом (АИ:Nd), в котором эффект наведенного двулучепреломления отсутствует из-за собственного двулучепреломления [3, 4], глухое и частично прозрачное зеркала, поляризатор, электрооптический элемент.
Однако элемент из АИ:Nd обладает более низкой лучевой стойкостью и более сильной наведенной термической линзой, а также требует более тщательной фильтрации УФ излучения лампы, чем элемент из оптически изотропного алюмоиттриевого граната с неодимом (АИГ:Nd).
Задачей настоящего изобретения является повышение КПД, степени равномерности пространственной структуры излучения, стабильности энергетических параметров импульсов излучения от импульса к импульсу и степени поляризации выходного излучения в лазере на активном элементе из оптически изотропного кристалла при частотах повторения импульсов десятки герц.
Поставленная задача решается за счет того, что в импульсном твердотельном лазере, содержащем резонатор, образованный частично прозрачным и глухим зеркалами, внутри которого установлены активный элемент, поляризатор и электрооптический элемент, отличающийся тем, что между активным элементом и частично прозрачным зеркалом дополнительно установлен 90-градусный вращатель плоскости поляризации излучения и второй поляризатор, а вне резонатора установлены два поворотных зеркала таким образом, что вместе с поляризаторами они образуют кольцевой резонатор, содержащий активный элемент и 90-градусный вращатель плоскости поляризации излучения, причем активный элемент выполнен из оптически изотропного кристалла.
Применение 90-градусного вращателя, второго поляризатора и двух поворотных зеркал обеспечивает дополнительный проход излучением активного элемента при проходе излучения от глухого зеркала к частично прозрачному, что приводит к двукратному снижению порога генерации. При этом деполяризованное излучение проходит один раз активный элемент при проходе от глухого к частично прозрачному зеркалу, но не покидает резонатор и на обратном проходе дважды проходит активный элемент.
Таким образом, резонатор становится частично закольцованным, что приводит к снижению порога генерации из-за дополнительного прохода излучением через активный элемент и улучшению равномерности пространственной структуры из-за отсутствия потерь излучения на поляризаторах.
В лазере с частично закольцованным резонатором из-за понижения порога повышается КПД (особенно сильно в припороговой области энергий импульсов накачки), повышается степень равномерности пространственной структуры излучения и улучшается стабильность энергии импульсов излучения от импульса к импульсу, которая зависит от превышения над порогом генерации. Выходное излучение лазера линейно поляризовано с высокой степенью, близкой к 1.
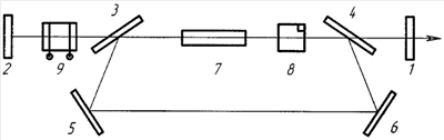
На чертеже представлена оптическая схема предлагаемого устройства.
Резонатор лазера образован частично прозрачным зеркалом 1, глухим зеркалом 2, двумя поляризаторами – пластинами с диэлектрическим покрытием 3, 4 и двумя поворотными зеркалами 5, 6. Рядом с активным элементом из оптически изотропного кристалла 7 расположен 90-градусный вращатель плоскости поляризации излучения из оптически активного кристаллического кварца 8. Электрооптический элемент 9 вместе с глухим зеркалом 2 и поляризатором 3 образуют электрооптический затвор по схеме « /4».
В качестве активного элемента 7 могут быть использованы элементы из оптически изотропных кристаллов АИГ:Nd, ГСГГ:Сr, Nd, ИСГГ:Сr, Nd и др.
В качестве электрооптического элемента могут быть использованы элементы из кристаллов LiNbO3, DKDP, RTP и др.
Предлагаемый лазер работает следующим образом. В импульсно-периодическом режиме за время каждого импульса накачки при закрытом электрооптическом затворе происходит накопление инверсной населенности в активном элементе 7. При подаче отпирающего импульса высоковольтного напряжения на электроды элемента 9 электрооптический затвор открывается и в резонаторе генерируется моноимпульс излучения.
Плоскость поляризации излучения, подходящего к частично прозрачному зеркалу 1 и частично отражающегося от него, совпадает с плоскостью чертежа. Проходя поляризатор 4 и 90-градусный вращатель плоскости поляризации 8 плоскость поляризации излучения становится вертикальной. После прохода активного элемента 7 излучение отражается от поляризатора 3, поворотных зеркал 5 и 6, поляризатора 4 и снова проходит 90-градусный вращатель 8 плоскости поляризации и активный элемент 7.
После 2-го прохода 90-градусного вращателя плоскости поляризации 8 излучение становится поляризованным в горизонтальной плоскости и через поляризатор 3 направляется к глухому зеркалу 2.
Деполяризованное вследствие эффекта наведенного двулучепреломления излучение в активном элементе 7 не покидает резонатор.
Результаты испытаний макета лазера на АИГ:Nd ( =1064 нм) размером 6,3×65 мм с ориентацией кристаллографических осей [111] в импульсно-периодическом режиме с частотой повторения 20 Гц с электрооптической модуляцией добротности затвором на основе элемента из DKDP подтверждают эффективность предложенного устройства.
По сравнению с известным лазером предлагаемый лазер обладает большим КПД (в 1,35 раза) в рабочей точке по энергии импульсов накачки 20 Дж, в 1,5 раза более высокой степенью равномерности пространственной структуры, в 1,25 раза более высокой стабильностью энергии импульсов от импульса к импульсу и степенью поляризации выходного излучения (близким к 1).
Известный лазер на AИ:Nd уступает предлагаемому лазеру на АИГ:Nd по КПД в 1,3 раза, по степени равномерности в 1,2 раза и по стабильности энергии импульсов в 1,2 раза.
Таким образом, предлагаемый лазер может эффективно работать в импульсно-периодическом режиме с модуляцией добротности резонатора в присутствии эффектов наведенного двулучепреломления в активном элементе из оптически изотропного кристалла в лазерных системах с преобразованием частоты излучения в другие спектральные диапазоны.
Источники информации
1. Г.М.Зверев, Ю.Д.Голяев. Лазеры на кристаллах и их применение. М. «Радио и связь», «Рикел», 1994, с.237.
2. Л.Н.Сомс, А.А.Тарасов, В.В.Шашкин. К вопросу о деполяризации линейно-поляризованного излучения лазерного активного элемента из AИГ:Nd3+ в условиях термически наведенного двулучепреломления, Квантовая электроника, т.7, 3, с.619, 1980.
3. А.А.Каминский. Лазерные кристаллы. Издательство «Наука», 1975, с.211.
4. Е.И.Агеенков, В.А.Коновалов, А.И.Ляшенко, В.Л.Павлович, Е.В.Раевский, А.И.Романов, Е.А.Шалаев. Высокочастотный импульсный лазер на алюминате иттрия с удвоением частоты излучения. Электронная техника, Сер. Лазерная техника и оптоэлектроника. 1998, вып.2, стр.58-63 (прототип).
Формула изобретения
Импульсный твердотельный лазер, содержащий резонатор, образованный частично прозрачным и глухим зеркалами, внутри которого установлены активный элемент, поляризатор и электрооптический элемент, отличающийся тем, что между активным элементом и частично прозрачным зеркалом дополнительно установлен 90-градусный вращатель плоскости поляризации излучения и второй поляризатор, а вне резонатора установлены два поворотных зеркала таким образом, что вместе с поляризаторами они образуют кольцевой резонатор, содержащий активный элемент и 90-градусный вращатель плоскости поляризации излучения, причем активный элемент выполнен из оптически изотропного кристалла.
РИСУНКИ
|
|