|
(21), (22) Заявка: 2009113208/28, 08.04.2009
(24) Дата начала отсчета срока действия патента:
08.04.2009
(46) Опубликовано: 27.05.2010
(56) Список документов, цитированных в отчете о поиске:
RU 2227345 С2, 10.10.2003. RU 2302056 C1, 27.06.2007. RU 2025822 C1, 30.12.1994. US 4130855 A, 19.12.1978. US 5122930 A, 16.06.1992.
Адрес для переписки:
141190, Московская обл., г. Фрязино, ул. Вокзальная, 2А, Федеральное государственное унитарное предприятие “Научно-производственное предприятие “Исток”, патентный отдел
|
(72) Автор(ы):
Иовдальский Виктор Анатольевич (RU), Лапин Владимир Григорьевич (RU), Земляков Валерий Евгеньевич (RU), Виноградов Владимир Григорьевич (RU), Лисицин Александр Андреевич (RU)
(73) Патентообладатель(и):
Федеральное государственное унитарное предприятие “Научно-производственное предприятие “Исток” (ФГУП НПП “Исток”) (RU)
|
(54) ГИБРИДНАЯ ИНТЕГРАЛЬНАЯ СХЕМА СВЧ-ДИАПАЗОНА
(57) Реферат:
Изобретение относится к электронной технике СВЧ. Сущность изобретения: в гибридной интегральной схеме СВЧ-диапазона, содержащей диэлектрическую подложку, на лицевой стороне которой расположен топологический рисунок металлизации, а на обратной стороне – экранная заземляющая металлизация, по меньшей мере, одну металлизированную посадочную площадку, соединенную с экранной заземляющей металлизацией, по меньшей мере, один транзистор, по меньшей мере, два конденсатора с разных сторон транзистора, при этом, по меньшей мере, один из выводов транзистора электрически соединен с верхними обкладками конденсаторов, по меньшей мере, два другие его вывода электрически соединены с топологическим рисунком металлизации, нижние обкладки конденсаторов электрически соединены с металлизированной посадочной площадкой и через нее с экранной заземляющей металлизацией. Транзистор с выводами, два конденсатора и электрические соединения одного из выводов транзистора с верхними обкладками конденсаторов выполнены в виде, по меньшей мере, одного кристалла монолитной интегральной схемы, расположенного на одной металлизированной посадочной площадке, при этом оба конденсатора выполнены пленочными, верхние обкладки конденсаторов, выводы транзистора и электрические соединения одного из выводов транзистора с верхними обкладками конденсаторов выполнены в одном слое металлизации кристалла монолитной интегральной схемы, при этом в кристалле монолитной интегральной схемы непосредственно под нижними обкладками конденсаторов выполнены сквозные металлизированные отверстия для электрического соединения нижних обкладок конденсаторов с металлизированной посадочной площадкой. Технический результат – повышение электрических и массогабаритных характеристик, повышение надежности, снижение трудоемкости изготовления. 5 з.п. ф-лы, 3 ил.
Изобретение относится к электронной технике СВЧ, а именно к гибридным интегральным схемам СВЧ-диапазона, и может быть использовано в твердотельных модулях СВЧ различного назначения.
Известна гибридная интегральная схема СВЧ-диапазона, содержащая диэлектрическую плату с топологическим рисунком металлизации на лицевой стороне и экранной заземляющей металлизацией на обратной и вертикальные металлизированные отверстия, полупроводниковые кристаллы, при этом диэлектрическая подложка расположена обратной стороной на металлическом теплоотводящем основании и соединена с ним [1].
В указанной схеме с целью повышения электрических и массогабаритных характеристик в плате выполнена ступенчатая выемка с металлизированным дном, в которой над металлизированными отверстиями расположены полупроводниковые кристаллы, при этом расстояние между полупроводниковыми кристаллами не более 0,1 мм, а расстояние между плоскостями лицевой поверхности полупроводниковых кристаллов и среза ступенчатой выемки не более 0,02 мм.
Расположение полупроводниковых кристаллов в ступенчатой выемке и электрические соединения контактных площадок (выводов) полупроводниковых кристаллов посредством металлизированных отверстий позволили улучшить отвод тепла и уменьшить длину электрических соединений и тем самым уменьшить паразитные индуктивности и емкости этих соединений и, как следствие, несколько повысить электрические и массогабаритные характеристики.
Однако данная гибридная интегральная схема СВЧ-диапазона отличается:
– низкой надежностью из-за наличия большого количества сварных и паяных электрических соединений,
– высокой трудоемкостью изготовления, обусловленной, прежде всего, трудоемкостью изготовления ступенчатой выемки.
Известна гибридная интегральная схема СВЧ-диапазона, содержащая диэлектрическую подложку, на лицевой стороне которой расположен топологический рисунок металлизации, а на обратной – экранная заземляющая металлизация, конденсаторы, под которыми расположены металлизированные отверстия, при этом нижние обкладки конденсаторов соединены через металлизированные отверстия с экранной заземляющей металлизацией. На лицевой стороне диэлектрической подложки выполнено углубление (металлизированная посадочная площадка), в котором расположен кристалл полупроводникового прибора в одной плоскости с лицевой стороной диэлектрической подложки и соединен с ним связующим веществом, контактные площадки (выводы) кристалла полупроводникового прибора соединены с верхними обкладками конденсаторов и топологическим рисунком металлизации. При этом диэлектрическая подложка расположена обратной стороной на металлическом теплоотводящем основании и соединена с ним связующим электро- и теплопроводящим веществом.
В данной схеме с целью улучшения отвода тепла от кристалла полупроводникового прибора и повышения надежности гибридной интегральной схемы металлизированные отверстия выполнены глухими с лицевой стороны диэлектрической подложки толщиной дна не более 0,5 мм. При этом металлизация дна упомянутых отверстий служит нижними обкладками конденсаторов, а верхние обкладки конденсаторов выполнены в составе топологического рисунка металлизации, толщина подложки между упомянутыми отверстиями и сторонами углубления не более 1 мм [2 – прототип].
Данная конструкция гибридной интегральной схемы позволила:
– использовать металлизацию дна металлизированных глухих отверстий в качестве нижних обкладок конденсаторов,
– остаточную толщину диэлектрической подложки в металлизированных глухих отверстиях в качестве слоя диэлектрика конденсаторов,
– формировать верхние обкладки конденсаторов в составе топологического рисунка металлизации.
Это позволило по сравнению с первым аналогом исключить часть паяных электрических соединений из конструкции гибридной интегральной схемы и, как следствие, повысить ее надежность.
Однако с другой стороны выполнение верхних обкладок конденсаторов в составе топологического рисунка металлизации затрудняет возможность получения тонкого слоя диэлектрика конденсаторов, толщиной менее 0,05 мм, что определяет его большие геометрические размеры и тем самым малую удельную емкость и, как следствие, низкие массогабаритные характеристики.
Кроме того, данная конструкция гибридной интегральной схемы отличается высокой трудоемкостью изготовления, обусловленной необходимыми и при этом достаточно сложными и трудоемкими технологическими операциями при выполнении углублений с обеих сторон диэлектрической подложки.
Техническим результатом изобретения является повышение электрических и массогабаритных характеристик, повышение надежности, снижение трудоемкости изготовления.
Указанный технический результат достигается заявленной гибридной интегральной схемой СВЧ-диапазона, содержащей
– диэлектрическую подложку, на лицевой стороне которой расположен топологический рисунок металлизации, а на обратной стороне – экранная заземляющая металлизация, при этом диэлектрическая подложка расположена обратной стороной на металлическом теплоотводящем основании и соединена с ним электро- и теплопроводящим веществом,
– по меньшей мере, одну металлизированную посадочную площадку, электрически соединенную с экранной заземляющей металлизацией,
– по меньшей мере, один транзистор с выводами,
– по меньшей мере, два конденсатора, расположенные с разных сторон транзистора,
– при этом, по меньшей мере, один из выводов транзистора электрически соединен с верхними обкладками конденсаторов, по меньшей мере, два другие его выводы электрически соединены с топологическим рисунком металлизации,
– нижние обкладки конденсаторов электрически соединены с металлизированной посадочной площадкой и через нее с экранной заземляющей металлизацией.
В предлагаемой интегральной схеме
– транзистор с выводами, два конденсатора и электрические соединения одного из выводов транзистора с верхними обкладками конденсаторов выполнены в виде, по меньшей мере, одного кристалла монолитной интегральной схемы, каждый из которых расположен на одной металлизированной посадочной площадке, при этом
– конденсаторы выполнены пленочными,
– верхние обкладки конденсаторов, выводы транзистора и электрические соединения одного из выводов транзистора с верхними обкладками конденсаторов выполнены в одном слое металлизации кристалла монолитной интегральной схемы,
– в кристалле монолитной интегральной схемы, непосредственно под нижними обкладками конденсаторов, выполнены сквозные металлизированные отверстия для электрического соединения нижних обкладок конденсаторов с металлизированной посадочной площадкой.
Транзистор кристалла монолитной интегральной схемы может быть выполнен, например, в виде полевого транзистора с барьером Шотки, при этом, по меньшей мере, один исток полевого транзистора с барьером Шотки электрически соединен с верхними обкладками конденсаторов, а по меньшей мере, один затвор и один сток – с топологическим рисунком металлизации.
Металлизированная посадочная площадка может быть выполнена на лицевой стороне диэлектрической подложки в составе топологического рисунка металлизации либо в углублении, выполненном на ее лицевой стороне, причем его глубина обеспечивает расположение лицевых сторон кристалла монолитной интегральной схемы и диэлектрической подложки в одной плоскости, а расстояние от кристалла монолитной интегральной схемы до краев углубления в направлении соединений других выводов транзистора кристалла монолитной интегральной схемы с топологическим рисунком металлизации равно или менее 0,15 мм.
В металлизированной посадочной площадке и диэлектрической подложке под транзистором кристалла монолитной интегральной схемы может быть выполнено, по меньшей мере, одно сквозное металлизированное отверстие, заполненное металлом или системой металлов.
Металлическое теплоотводящее основание может быть выполнено с выступом, а в диэлектрической подложке соосно с выступом выполнено сквозное отверстие для его расположения. При этом на упомянутом выступе расположена металлизированная посадочная площадка, причем высота выступа обеспечивает расположение лицевых сторон кристалла монолитной интегральной схемы и диэлектрической подложки в одной плоскости. Расстояние от кристалла монолитной интегральной схемы в направлении соединений других выводов транзистора кристалла монолитной интегральной схемы с топологическим рисунком металлизации равно или менее 0,2 мм.
Заявленная совокупность существенных признаков гибридной интегральной схемы СВЧ-диапазона, а именно:
выполнение транзистора с выводами, конденсаторов и электрических соединений одного из выводов транзистора с верхними обкладками конденсаторов в виде кристалла монолитной интегральной схемы, а также – верхних обкладок конденсаторов, выводов транзистора и электрических соединений одного из выводов транзистора с верхними обкладками конденсаторов в одном слое металлизации кристалла монолитной интегральной схемы, а также – сквозных металлизированных отверстий в кристалле монолитной интегральной схемы непосредственно под нижними обкладками конденсаторов для электрического соединения нижних обкладок конденсаторов с металлизированной посадочной площадкой обеспечит уменьшение длины соответствующих электрических соединений и, как следствие, повышение электрических характеристик;
выполнение конденсаторов пленочными обеспечит возможность выполнения диэлектрического слоя конденсаторов толщиной менее 0,001 мм и тем самым обеспечивается увеличение емкости и уменьшение габаритов и, как следствие, повышение электрических и массогабаритных характеристик.
При этом следует подчеркнуть, что габариты кристалла монолитной интегральной схемы практически равны габаритам транзистора.
Более того, благодаря выполнению транзистора и конденсаторов в едином технологическом цикле в составе кристалла монолитной интегральной схемы обеспечивается значительное снижение трудоемкости изготовления.
Более того, благодаря дальнейшему сокращению по сравнению с прототипом числа сварных электрических соединений обеспечивается повышение надежности.
Предложенные частные случаи выполнения металлизированной посадочной площадки обеспечивают следующее:
а) на лицевой стороне диэлектрической подложки в составе топологического рисунка металлизации – снижение трудоемкости изготовления,
б) в углублении, выполненном на ее лицевой стороне с указанными технологическими параметрами – повышение электрических характеристик благодаря,
во-первых, уменьшению толщины диэлектрической подложки под кристаллом монолитной интегральной схемы и тем самым улучшению отвода тепла от кристалла монолитной интегральной схемы,
во-вторых, уменьшению длины электрических соединений других выводов транзистора кристалла монолитной интегральной схемы с топологическим рисунком металлизации.
Расстояние от кристалла монолитной интегральной схемы до краев углубления в направлении соединений других выводов транзистора кристалла монолитной интегральной схемы с топологическим рисунком металлизации более 0,15 мм нежелательно, так как приводит к увеличению длины указанных выше соединений и тем самым – к увеличению паразитных индуктивностей и емкостей и, как следствие, снижению электрических характеристик.
Выполнение в металлизированной посадочной площадке и диэлектрической подложке под транзистором кристалла монолитной интегральной схемы, по меньшей мере, одного сквозного металлизированного отверстия, заполненного металлом или системой металлов, благодаря улучшению отвода тепла от кристалла монолитной интегральной схемы обеспечивает повышение электрических характеристик.
Расположение металлизированной посадочной площадки на выступе металлического теплоотводящего основания, расположенного в сквозном отверстии диэлектрической подложки, обеспечивает улучшение отвода тепла от кристалла монолитной интегральной схемы и, как следствие, повышение электрических характеристик.
Расстояние от кристалла монолитной интегральной схемы в направлении соединений других выводов транзистора кристалла монолитной интегральной схемы с топологическим рисунком металлизации более 0,2 мм нежелательно, так как приводит к увеличению длины указанных соединений и тем самым – к увеличению паразитных индуктивностей и емкостей и, как следствие, снижению электрических характеристик.
Итак, предложенная совокупность существенных признаков заявленной гибридной интегральной схемы СВЧ-диапазона позволит в полной мере реализовать технический результат, а именно повышение электрических и массогабаритных характеристик, повышение надежности, снижение трудоемкости изготовления.
Изобретение поясняется чертежами.
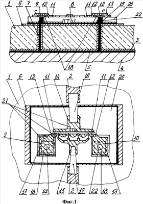
На фиг.1 дан разрез и вид сверху фрагмента выполнения заявленной гибридной интегральной схемы СВЧ-диапазона, содержащей один кристалл монолитной интегральной схемы (при этом металлизированная посадочная площадка выполнена на лицевой стороне диэлектрической подложки в составе топологического рисунка металлизации), где:
– диэлектрическая подложка – 1,
– топологический рисунок металлизации – 2 на ее лицевой стороне,
– экранная заземляющая металлизация – 3 на ее обратной стороне,
– металлическое теплоотводящее основание – 4,
– электро- и теплопроводящее вещество – 5,
– металлизированная посадочная площадка – 6,
-электрическое соединение – 7 металлизированной посадочной площадки с экранной заземляющей металлизацией,
– транзистор – 8,
– два конденсатора – 9 и 10 соответственно,
– один из выводов транзистора – 11,
– электрические соединения одного из выводов транзистора – 12 с верхними обкладками конденсаторов,
– верхние обкладки конденсаторов – 13,
– два другие вывода транзистора 14 и 15 соответственно,
– электрические соединения двух других выводов транзистора – 16 и 17 соответственно с топологическим рисунком металлизации,
– нижние обкладки конденсаторов – 18,
– электрические соединения нижних обкладок конденсаторов – 19 с металлизированной посадочной площадкой,
– кристалл монолитной интегральной схемы – 20,
– слой металлизации кристалла монолитной интегральной схемы – 21,
– сквозные металлизированные отверстия – 22 в кристалле монолитной интегральной схемы.
На фиг.2 дан частный случай выполнения, когда металлизированная посадочная площадка выполнена в углублении на лицевой стороне диэлектрической подложки, где:
– углубление – 23 на лицевой стороне диэлектрической подложки,
– по меньшей мере, одно сквозное металлизированное отверстие – 24 под транзистором кристалла монолитной интегральной схемы,
– металл или система металлов – 25 сквозного металлизированного отверстия.
На фиг.3 – частный случай выполнения, когда металлизированная посадочная площадка выполнена на выступе металлического теплоотводящего основания, где:
– выступ – 26 металлического теплоотводящего основания.
– сквозное отверстие – 27 в диэлектрической подложке,
Примеры конкретного выполнения заявленной гибридной интегральной схемы СВЧ-диапазона.
Пример 1 – в том числе частный случай, когда транзистор кристалла монолитной интегральной схемы выполнен в виде полевого транзистора с барьером Шотки, а металлизированная посадочная площадка выполнена на лицевой стороне диэлектрической подложки в составе топологического рисунка металлизации.
Прежде осуществляют выполнение кристалла монолитной интегральной схемы 20 в едином технологическом цикле посредством тонкопленочной технологии (размер кристалла 0,5×0,5×0,1 мм) на полуизолирующей подложке арсенида галлия с активными слоями n-типа проводимости, толщиной 0,15 мкм и концентрацией 5×1017-5×1018 см-3 соответственно, содержащего:
– полевой транзистор с барьером Шотки, КРПГ.432143.001ТУ 8, с выводами 11, 14 и 15, соответственно исток-затвор-сток, структурой металлизации его выводов титан-золото толщиной 0,0001 и 0,0007 мм соответственно,
– два конденсатора 9 и 10, емкостью, например, от 2-5 пФ, расположены, например, с противоположных сторон полевого транзистора с барьером Шотки 8,
– электрические соединения – 12 истока 11 полевого транзистора с барьером Шотки с верхними обкладками 13 конденсаторов,
при этом
– конденсаторы выполнены пленочными, нижняя и верхняя обкладки выполнены структурой металлизации титан-золото 0,0001 и 0,0007 мм соответственно, слой диэлектрика конденсаторов – из двуокиси кремния толщиной 0,005 мм,
– верхние обкладки конденсаторов 13, выводы исток-затвор-сток 11, 14 и 15 соответственно полевого транзистора с барьером Шотки 8, электрические соединения 12 его истока 11 с верхними обкладками 13 конденсаторов 9 и 10 выполнены в одном слое металлизации 21 монолитной интегральной схемы 20.
На диэлектрической подложке 1, например поликоровой, посредством тонкопленочной технологии выполнены: на лицевой ее стороне – топологический рисунок металлизации 2, на обратной стороне – экранная заземляющая металлизация 3 одинаковой структурой хром-медь-никель-золото (Cr-Cu-Ni-Au), при этом диэлектрическая подложка расположена обратной стороной вместе с экранной заземляющей металлизацией 3 на металлическом теплоотводящем основании 4, выполненном из псевдосплава МД-50 (50% меди (Cu) и 50% молибдена (Мо)) и соединена с ним, например, припоем золото-кремний эвтектического состава 5.
На лицевой стороне диэлектрической подложки 1 выполнена в составе топологического рисунка металлизации 2 металлизированная посадочная площадка 6, например, структурой хром-медь-никель-золото (Cr-Cu-Ni-Au), аналогичной структуре топологического рисунка металлизации 2.
При этом она электрически соединена 7, например, через сквозное металлизированное отверстие 24, заполненное, например, припоем золото-кремний эвтектического состава 25 с экранной заземляющей металлизацией 3.
На металлизированной посадочной площадке 6 расположен вышеуказанный кристалл монолитной интегральной схемы 20 и соединен с ней припоем олово-золото эвтектического состава.
При этом нижние обкладки 18 конденсаторов 9 и 10 электрически соединены 19 через металлизированные сквозные отверстия 22 в кристалле монолитной интегральной схемы 20 с металлизированной посадочной площадкой 6 и через нее экранной заземляющей металлизацией 3.
Пример 2
Гибридная интегральная схема СВЧ-диапазона выполнена аналогично изложенному в примере 1 – частный случай, когда металлизированная посадочная площадка выполнена в углублении 23 на лицевой стороне диэлектрической подложки 1 и в металлизированной посадочной площадке 6 и диэлектрической подложке 1 под транзистором 8 кристалла монолитной интегральной схемы 20 выполнено сквозное металлизированное отверстие 24, заполненное припоем золото-кремний эвтектического состава 25.
Пример 3
Гибридная интегральная схема СВЧ-диапазона выполнена аналогично изложенному в примере 1 – частный случай, когда металлизированная посадочная площадка расположена на выступе 26 металлического теплоотводящего основания, расположенного в сквозном отверстии 27, выполненном в диэлектрической подложке.
На изготовленных образцах гибридной интегральной схемы СВЧ-диапазона были измерены электрические характеристики, а именно коэффициент усиления по мощности.
Как показали измерения, коэффициент усиления по мощности повышен примерно на 7-8 процентов на частоте 10 ГГц.
Таким образом, заявленная гибридная интегральная схема СВЧ-диапазона позволит по сравнению с прототипом
во-первых, повысить электрические и массогабаритные характеристики, при этом габариты снижены на 60-65 процентов,
во-вторых, снизить трудоемкость изготовления примерно в 1,2 раза.
Данная гибридная интегральная схема может найти широкое применение, в том числе в балансных усилителях СВЧ.
Источники информации
1. Патент РФ 2025822, МПК H01L 21/00, приоритет 19.03.91, опубл. 30.12.94, бюл. 24.
2. Патент РФ 2227345, МПК H01L 27/13, H05K 1/16, приоритет 26.02.02, опубл. 20.04.04, бюл. 11 – прототип.
Формула изобретения
1. Гибридная интегральная схема СВЧ-диапазона, содержащая диэлектрическую подложку, на лицевой стороне которой расположен топологический рисунок металлизации, а на обратной стороне – экранная заземляющая металлизация, при этом диэлектрическая подложка расположена обратной стороной на металлическом теплоотводящем основании и соединена с ним электро- и теплопроводящим веществом, по меньшей мере, одну металлизированную посадочную площадку, электрически соединенную с экранной заземляющей металлизацией, по меньшей мере, один транзистор с выводами, по меньшей мере, два конденсатора с разных сторон транзистора, при этом, по меньшей мере, один из выводов транзистора электрически соединен с верхними обкладками конденсаторов, по меньшей мере, два другие его вывода электрически соединены с топологическим рисунком металлизации, нижние обкладки конденсаторов электрически соединены с металлизированной посадочной площадкой и через нее с экранной заземляющей металлизацией, отличающаяся тем, что транзистор с выводами, два конденсатора и электрические соединения одного из выводов транзистора с верхними обкладками конденсаторов выполнены в виде, по меньшей мере, одного кристалла монолитной интегральной схемы, каждый из которых расположен на одной металлизированной посадочной площадке, при этом оба конденсатора выполнены пленочными, верхние обкладки конденсаторов, выводы транзистора и электрические соединения одного из выводов транзистора с верхними обкладками конденсаторов выполнены в одном слое металлизации кристалла монолитной интегральной схемы, при этом в кристалле монолитной интегральной схемы непосредственно под нижними обкладками конденсаторов выполнены сквозные металлизированные отверстия для электрического соединения нижних обкладок конденсаторов с металлизированной посадочной площадкой.
2. Гибридная интегральная схема СВЧ-диапазона по п.1, отличающаяся тем, что транзистор кристалла монолитной интегральной схемы выполнен в виде полевого транзистора с барьером Шотки, при этом, по меньшей мере, один исток полевого транзистора с барьером Шотки-электрически соединен с верхними обкладками конденсаторов, по меньшей мере, один затвор и один сток – с топологическим рисунком металлизации.
3. Гибридная интегральная схема СВЧ-диапазона по любому из пп.1 и 2, отличающаяся тем, что металлизированная посадочная площадка выполнена на лицевой стороне диэлектрической подложки в составе топологического рисунка металлизации.
4. Гибридная интегральная схема СВЧ-диапазона по любому из пп.1 и 2, отличающаяся тем, что металлизированная посадочная площадка выполнена в углублении на лицевой стороне диэлектрической подложки, причем его глубина обеспечивает расположение лицевых сторон кристалла монолитной интегральной схемы и диэлектрической подложки в одной плоскости, а расстояние от кристалла монолитной интегральной схемы до краев углубления в направлении соединений других выводов транзистора кристалла монолитной интегральной схемы с топологическим рисунком металлизации равно или менее 0,15 мм.
5. Гибридная интегральная схема СВЧ-диапазона по любому из пп.1 и 2, отличающаяся тем, что в металлизированной посадочной площадке и диэлектрической подложке под транзистором кристалла монолитной интегральной схемы выполнено, по меньшей мере, одно сквозное металлизированное отверстие, заполненное металлом или системой металлов.
6. Гибридная интегральная схема СВЧ-диапазона по любому из пп.1 и 2, отличающаяся тем, что металлическое теплоотводящее основание выполнено с выступом, а в диэлектрической подложке соосно с выступом выполнено сквозное отверстие для его расположения, при этом на упомянутом выступе расположена металлизированная посадочная площадка, причем высота выступа обеспечивает расположение лицевых сторон кристалла монолитной интегральной схемы и диэлектрической подложки в одной плоскости, расстояние от кристалла монолитной интегральной схемы в направлении соединений других выводов транзистора кристалла монолитной интегральной схемы с топологическим рисунком металлизации до краев упомянутого отверстия равно или менее 0,2 мм.
РИСУНКИ
|