|
(21), (22) Заявка: 2009113846/28, 13.04.2009
(24) Дата начала отсчета срока действия патента:
13.04.2009
(46) Опубликовано: 27.05.2010
(56) Список документов, цитированных в отчете о поиске:
Jong-Won Lim et all. Fabrication and characteristics of 0,12 m AlGaAs/InGaAs/GaAs pseudomorphic HEMT using a silicon nitride assisted process. Semicond. Sci. Technol. 19 (2004) 1416-1421. RU 2285976 C1, 20.10.2006. RU 2192069 С2, 27.10.2002. US 2009/0085063 A1, 02.04.2009. US 6087256 A, 11.07.2000. US 5462884 A, 31.10.1995. EP 0591608 A2, 13.04.1994. DE 4234777 A1, 21.04.1994. KR 100276077 В1, 15.01.2001.
Адрес для переписки:
141190, Московская обл., г. Фрязино, ул. Вокзальная, 2А, Федеральное государственное унитарное предприятие “Научно-производственное предприятие “Исток”, патентный отдел
|
(72) Автор(ы):
Антонова Нина Евгеньевна (RU), Земляков Валерий Евгеньевич (RU), Красник Валерий Анатольевич (RU), Снегирев Владислав Петрович (RU)
(73) Патентообладатель(и):
Федеральное государственное унитарное предприятие “Научно-производственное предприятие “Исток” (ФГУП НПП “Исток”) (RU)
|
(54) СПОСОБ ИЗГОТОВЛЕНИЯ ТРАНЗИСТОРА СВЧ С УПРАВЛЯЮЩИМ ЭЛЕКТРОДОМ Т-ОБРАЗНОЙ КОНФИГУРАЦИИ СУБМИКРОННОЙ ДЛИНЫ
(57) Реферат:
Изобретение относится к электронной технике СВЧ. Сущность изобретения: способ изготовления транзистора СВЧ с управляющим электродом Т-образной конфигурации субмикронной длины включает формирование на лицевой стороне полуизолирующей полупроводниковой пластины с активным слоем заданной структуры пары электродов транзистора, образующих омические контакты, посредством метода литографии, травления и последующего напыления металла или системы металлов, формирование канала транзистора посредством электронной литографии и травления, нанесение маскирующего диэлектрического слоя, формирование в маскирующем диэлектрическом слое субмикронной щели посредством электронной литографии и травления, при этом субмикронную щель формируют с переменным поперечным сечением, уменьшающимся по ее высоте от широкой верхней части, примыкающей к шляпке упомянутого управляющего электрода, к узкой нижней части, примыкающей к каналу транзистора, формирование топологии упомянутого управляющего электрода методом электронной литографии, формирование в субмикронной щели упомянутого управляющего электрода посредством напыления металла или системы металлов, при этом конфигурация его основания повторяет конфигурацию субмикронной щели. При формировании в маскирующем диэлектрическом слое субмикронной щели с переменным поперечным сечением, уменьшающимся по ее высоте, посредством электронной литографии и травления травление маскирующего диэлектрического слоя осуществляют в одном едином технологическом процессе в высокочастотной плазме гексафторида серы, кислорода и гелия и мощности разряда 8-10 Вт. Изобретение обеспечивает повышение выходной мощности и коэффициента усиления, повышение воспроизводимости указанных выходных параметров и соответственно выхода годных, упрощение и снижение трудоемкости изготовления. 1 з.п. ф-лы, 1 ил., 1 табл.
Изобретение относится к электронной технике СВЧ, а именно к способам изготовления мощных полупроводниковых приборов СВЧ, прежде всего мощных транзисторов СВЧ и монолитно-интегральных схем на их основе.
Коэффициент усиления по мощности (далее коэффициент усиления) и выходная мощность – один из основных параметров мощных транзисторов СВЧ.
Снижение теплового и электрического сопротивления, снижение общей внутренней паразитной емкости транзистора – один из возможных путей повышения указанных параметров мощного транзистора СВЧ.
Использование в транзисторе управляющего электрода с так называемой T-образной конфигурацией субмикронной длины – один из известных и широко используемых на сегодня конструктивных решений, который позволяет снизить электрическое сопротивление и тем самым снизить коэффициент шума и повысить граничную частоту для малошумящих и – выходную мощность, коэффициент усиления и граничную частоту для мощных транзисторов СВЧ.
Известен способ изготовления транзистора СВЧ с управляющим электродом T-образной конфигурации субмикронной длины (далее управляющий электрод), заключающийся в
– формировании на полупроводниковой подложке активной области полупроводникового прибора,
– формировании электродов, образующих омические контакты, посредством метода литографии и травления и последующего напыления металла или системы металлов,
– нанесении вспомогательного слоя из диэлектрического слоя и металлического слоя,
– формировании субмикронной щели в этом слое,
– с последующим формированием в этой щели управляющего электрода посредством оптической литографии,
в котором с целью уменьшения длины управляющего электрода субмикронная щель в вспомогательном слое формируется за счет зазора между двумя маскирующими металлическими слоями, который образуется в результате селективного химического травления открытых от фоторезистивного слоя участков первого металлического слоя с одновременным подтравом его под фоторезистивный слой на требуемую глубину, повторного нанесения на диэлектрический слой металлического слоя, “взрыва” фоторезистивного слоя и последующего плазмохимического травления диэлектрического слоя через зазор,
– при этом T-образная конфигурация управляющего электрода формируется за счет использования материалов маскирующего вспомогательного слоя и металла управляющего электрода [1].
В качестве маскирующего металлического слоя вспомогательного слоя и материала управляющего электрода используется один и тот же металл – золото (Аu), с подслоем ванадия(V), хрома (Сr) или титана (Ti) в первом случае и комбинация золота с тем же материалом в качестве подслоя и верхнего маскирующего слоя в случае управляющего электрода
Уменьшение длины управляющего электрода в совокупности с использованием T-образной конфигурации его сечения позволило снизить электрическое сопротивление и, как следствие, повысить выходную мощность и коэффициент усиления транзистора СВЧ.
Однако присущие данному транзистору СВЧ большие общие внутренние паразитные емкости, в том числе паразитные емкости управляющего электрода, не позволяют значительно увеличить выходную мощность и коэффициент усиления.
Данный способ изготовления транзистора является сложным.
Более того, как результат последнего – низкая воспроизводимость выходных параметров и низкий процент выхода годных.
Известен способ изготовления мощного транзистора СВЧ с управляющим электродом (затвор) типа барьера Шотки также T-образной конфигурации субмикронной длины, заключающийся в
– формировании на лицевой стороне полупроводниковой пластины топологии транзистора с помощью электронной и фотолитографии,
– напылении металла или системы металлов электродов, в том числе управляющего электрода (затвор) типа барьера Шотки,
– нанесении и травлении маскирующего диэлектрического слоя,
– осаждении золота гальваническим методом,
– утонении полупроводниковой пластины до заданной толщины менее 30 мкм,
– травлении в полупроводниковой пластине сквозных заземляющих отверстий для выводов транзистора,
– осаждении на обратной стороне полупроводниковой пластины интегрального теплоотвода из золота заданной толщины гальваническим методом,
в котором с целью снижения теплового сопротивления
– перед утонением полупроводниковой пластины на ее лицевой стороне вне топологии транзистора формируют канавку заданной глубиной и шириной для задания размера кристалла транзистора, а после утонения полупроводниковой пластины формируют канавку на ее обратной стороне непосредственно под канавкой на лицевой стороне и с той же заданной глубиной при соотношении их ширины 3:2 соответственно посредством метода фотолитографии и травления [2].
Значительное снижение теплового сопротивления данного транзистора, порядка десяти процентов, позволило, как следствие этого, повысить коэффициент усиления и выходную мощность.
Однако присущие данному транзистору, равно как и описанному в первом аналоге, большая общая внутренняя паразитная емкость, в том числе паразитные емкости управляющего электрода T-образной конфигурации, не позволяют еще более существенно повысить выходную мощность и коэффициент усиления транзистора СВЧ.
Известен способ изготовления транзистора СВЧ с управляющим электродом также T-образной конфигурации субмикронной длины, заключающийся в
– формировании на лицевой стороне полуизолирующей полупроводниковой пластины с активным слоем заданной структуры пары электродов транзистора, образующих омические контакты, посредством метода литографии и травления и последующего напыления металла или системы металлов,
– формировании канала транзистора посредством поэтапного травления:
на первом – жидкостного химического травления с целью удаления нарушенного поверхностного слоя,
на втором – сухого травления в высокочастотной плазме смеси газов треххлористого бора и гексафторида серы,
– нанесении маскирующего диэлектрического слоя нитрида кремния,
– формировании в маскирующем диэлектрическом слое субмикронной щели для последующего формирования в ней основания управляющего электрода посредством электронной литографии и травления,
– формировании топологии управляющего электрода методом электронной литографии,
– формировании в каждой субмикронной щели управляющего электрода посредством напыления системы металлов титан – платина – золото, при этом конфигурация его основания повторяет конфигурацию субмикронной щели [3 – прототип],
в котором с целью снижения паразитных емкостей управляющего электрода указанную субмикронную щель формируют с переменным поперечным сечением, уменьшающимся по ее высоте от широкой верхней части, примыкающей к шляпке управляющего электрода, к узкой нижней части, примыкающей к каналу транзистора.
Это осуществляют посредством поэтапного травления маскирующего диэлектрического слоя нитрида кремния:
– на первом – осуществляют жидкостное химическое травление в буферном оксидном травителе, который обеспечивает реализацию только изотропного травления, в результате которого происходит боковое подтравливание на глубину примерно 30-40 процентов исходной толщины маскирующего диэлектрического слоя нитрида кремния и тем самым обеспечивается значительное расширение поперечного сечения верхней части субмикронной щели относительно заданного электронной литографией,
– на втором – сухое травление в высокочастотной плазме четырехфтористого углерода, которое обеспечивает реализацию только анизотропного травления – вертикального согласно заданного электронной литографией.
В результате формируется субмикронная щель и соответственно основание управляющего электрода (затвор) T-образной конфигурации субмикронной длины, имеющее в поперечном сечении широкую верхнюю часть, примыкающую к шляпке T-образной конфигурации управляющего электрода, и узкую нижнюю часть, примыкающую к каналу транзистора.
Возможность данного способа формировать субмикронную щель с переменным поперечным сечением и соответственно и основания управляющего электрода, что тем самым позволило значительно снизить его паразитные емкости, порядка двадцати процентов, и соответственно снизить общую внутреннюю паразитную емкость транзистора и, как следствие, – повысить выходную мощность и коэффициент усиления транзистора СВЧ.
Однако данный способ изготовления транзистора СВЧ с управляющим электродом T-образной конфигурации субмикронной длины и прежде всего с точки зрения реализации предложенной конструкции управляющего электрода, а именно поэтапное формирование переменного поперечного сечения субмикронной щели и указанными технологическими режимами:
во-первых, не позволяет обеспечить плавность геометрических размеров субмикронной щели по высоте и соответственно – плавность геометрических размеров по высоте основания управляющего электрода и, как следствие, ограничивает дальнейшее снижение паразитных емкостей упомянутого управляющего электрода и соответственно общей внутренней паразитной емкости транзистора и соответственно – выходной мощности и коэффициента усиления;
во-вторых, является достаточно сложным, что в том числе определяет низкую воспроизводимость выходных параметров и соответственно низкий процент выхода годных.
Кроме того, отличается низкой механической прочностью – стабильностью.
Техническим результатом заявленного способа изготовления транзистора СВЧ с управляющим электродом T-образной конфигурации субмикронной длины является повышение выходной мощности и коэффициента усиления, повышение воспроизводимости указанных выходных параметров и соответственно выхода годных, упрощение и снижение трудоемкости изготовления.
Указанный технический результат достигается заявленным способом изготовления транзистора СВЧ с управляющим электродом T-образной конфигурации субмикронной длины, включающим
– формирование на лицевой стороне полуизолирующей полупроводниковой пластины с активным слоем заданной структуры пары электродов транзистора, образующих омические контакты, посредством метода литографии, травления и последующего напыления металла или системы металлов,
– формирование канала транзистора посредством электронной литографии и травления,
– нанесение маскирующего диэлектрического слоя,
– формирование в маскирующем диэлектрическом слое субмикронной щели посредством электронной литографии и травления, при этом субмикронную щель формируют с переменным поперечным сечением, уменьшающимся по ее высоте от широкой верхней части, примыкающей к шляпке упомянутого управляющего электрода к узкой нижней части, примыкающей к каналу транзистора,
– формирование топологии упомянутого управляющего электрода методом электронной литографии,
– формирование в субмикронной щели упомянутого управляющего электрода посредством напыления металла или системы металлов, при этом конфигурация его основания повторяет конфигурацию субмикронной щели.
в котором
– при формировании в маскирующем диэлектрическом слое субмикронной щели с переменным поперечным сечением, уменьшающимся по ее высоте, посредством электронной литографии и травления, травление маскирующего диэлектрического слоя осуществляют в одном едином технологическом процессе в высокочастотной плазме следующего состава: гексафторид серы, кислород, гелий при следующем соотношении компонентов, об.ч.:
| Гексафторид серы |
12,0-18,0 |
| Кислород |
1,6-2,4 |
| Гелий |
12,0-18,0 |
и мощности разряда 8-10 Вт, при этом поперечное сечение широкой верхней части, примыкающей к шляпке упомянутого управляющего электрода, и узкой нижней части, примыкающей к каналу транзистора, определяют из выражения:
LB – LH=к2Н,
где LB – поперечное сечение широкой верхней части субмикронной щели, примыкающей к шляпке упомянутого управляющего электрода транзистора,
LH – поперечное сечение узкой нижней части субмикронной щели, примыкающей к каналу транзистора,
к – коэффициент, равный (0,8-1,2),
Н – высота субмикронной щели.
Изготавливают, например, полевой транзистор СВЧ с затвором типа барьера Шотки T-образной конфигурации субмикронной длины, при этом в качестве полуизолирующей полупроводниковой пластины берут пластину, выполненную из полупроводникового материала группы AIIIBV, например арсенида галлия, управляющим электродом служит упомянутый затвор полевого транзистора СВЧ.
Заявленная совокупность существенных признаков способа изготовления транзистора СВЧ с управляющим электродом T-образной конфигурации субмикронной длины позволит, а именно:
во-первых, максимально возможно оптимизировать площадь поперечного сечения основания управляющего электрода и тем самым обеспечить:
– максимальное снижение паразитных емкостей управляющего электрода и, следовательно, общей внутренней паразитной емкости транзистора и, как следствие, повышение выходной мощности и коэффициента усиления,
– максимально возможную высокую механическую прочность и, как следствие, – повышение выхода годных;
во-вторых, возможность формирования субмикронной щели с переменным поперечным сечением, уменьшающимся по ее высоте, от широкой верхней части, примыкающей к шляпке управляющего электрода, к узкой нижней части, примыкающей к каналу транзистора, в едином технологическом процессе (в отличие от многоступенчатого технологического процесса, используемого в способе прототипа) и тем самым обеспечит:
– значительное упрощение способа изготовления,
– снижение трудоемкости изготовления,
– повышение воспроизводимости выходных параметров и соответственно выхода годных.
Последнее, прежде всего благодаря возможности значительного повышения контроля технологического процесса и, прежде всего, вследствие полного исключения из упомянутого технологического процесса трудно контролируемого жидкостного химического травления.
Травление маскирующего диэлектрического слоя в высокочастотной плазме состава гексафторид серы, кислород, гелий менее 12, 1,6 и 12 об.ч. соответственно и мощности разряда менее 8 Вт, так же как и более 18, 2,4 и 18 об.ч. соответственно и мощности более 10 Вт неэффективно, так как не обеспечивает оптимальной структуры основания управляющего электрода транзистора.
Следует еще раз особо подчеркнуть актуальность достижения вышеуказанной оптимизации конструкционных параметров управляющего электрода, а именно поперечного сечения и его высоты и соответственно выходных параметров транзистора, поскольку с одной стороны чрезмерное уменьшение высоты управляющего электрода приводит к увеличению общей внутренней паразитной емкости, а с другой стороны чрезмерное увеличение – к снижению механической прочности транзистора СВЧ.
Итак, совокупность существенных признаков заявленного способа изготовления транзистора СВЧ с управляющим электродом T-образной конфигурации субмикронной длины в полной мере обеспечит достижение заявленного технического результата, а именно – повышение выходной мощности и коэффициента усиления, повышение воспроизводимости указанных выходных параметров и соответственно выхода годных, упрощение и снижение трудоемкости изготовления.
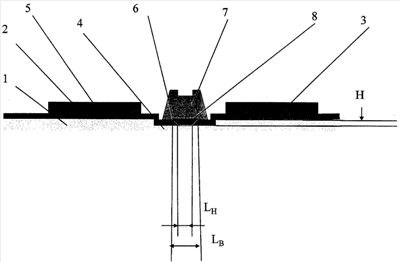
Изобретение поясняется чертежом, где дан разрез фрагмента топологии транзистора СВЧ с управляющим электродом T-образной конфигурации субмикронной длины, где
– лицевая сторона полуизолирующей полупроводниковой пластины с активным слоем заданной структуры – 1,
– пара электродов транзистора, образующих омические контакты – 2 и 3 соответственно,
– канал транзистора – 4,
– маскирующий диэлектрический слой – 5,
– субмикронная щель – 6 в маскирующем диэлектрическом слое,
– шляпка и основание упомянутого управляющего электрода – 7 и 8 соответственно.
Примеры конкретного выполнения.
Рассмотрим реализацию заявленного способа на примере изготовления транзистора СВЧ с управляющим электродом (затвор) типа барьера Шотки T-образной конфигурации субмикронной длины.
Пример 1.
Способ включает следующую последовательность технологических операций и режимов их осуществления:
– формируют на лицевой стороне полуизолирующей полупроводниковой пластины 1, выполненной из арсенида галлия (GaAs) с активными слоями: GaAs n+ типа концентрацией 5×1018 толщиной 500А, AlGaAs концентрацией 2×1018 толщиной 200A, InGaAs не легированный толщиной 30 A, GaAs буферный нелегированный толщиной 4000 А электроды истока 2 и стока 3, образующие омические контакты, посредством метода литографии и травления и последующего напыления прямой последовательности системы металлов, например, сплава золото – германий, никель и золото;
– далее формируют канал 4 транзистора электронной литографией и последующим травлением в NH4OH: Н2О2: H2O,
– далее наносят маскирующий диэлектрический слой 5, например слой нитрида кремния,
– далее формируют в маскирующем диэлектрическом слое 5 субмикронную щель 6 посредством электронной литографии и последующего травления в одном едином технологическом процессе маскирующего диэлектрического слоя 5 в высокочастотной плазме состава гексафторид серы, кислород, гелий при их соотношении 15:2:15 соответственно и мощности разряда 9 Вт,
– далее формируют топологию шляпки 7 и основания 8 управляющего электрода методом электронной литографии,
– далее формируют в субмикронной щели 6 управляющий электрод 7 напылением в вакууме системы металлов титан – алюминий – титан, при этом конфигурация его основания 8 повторяет конфигурацию субмикронной щели.
Примеры 2-5.
Аналогично примеру один были изготовлены образцы, но при других технологических режимах, как указанных в формуле изобретения, так и выходящих за ее пределы, при этом каждый тип образца включает десять полевых транзисторов СВЧ с управляющим электродом (затвор) типа барьера Шотки T-образной конфигурации.
На изготовленных образцах:
а) проведен визуальный анализ с помощью микроскопа LEICA INM на предмет воспроизводимости геометрических размеров транзистора,
б) измерена выходная мощность транзистора СВЧ (Рвых /мм),
в) измерен коэффициент усиления (Ку max),
г) определен выход годных (выход годных оценивали по воспроизводимости геометрических размеров управляющего электрода).
Данные сведены в таблицу.
Как видно из таблицы, образцы полевых транзисторов СВЧ с управляющим электродом (затвор) типа барьера Шотки T-образной конфигурации субмикронной длины (примеры 1-3) имеют
– выходную мощность порядка 800- 900 мВт/мм,
– коэффициент усиления (Kymax) порядка 11,5-12 дБ,
– воспроизводимость геометрических размеров транзистора порядка 90 процентов (в отличие от 70 процентов – прототипа).
Таким образом, заявленный способ изготовления транзистора СВЧ с управляющим электродом T-образной конфигурации субмикронной длины обеспечит:
во-первых, повышение выходной мощности до 900 мВт/мм,
во-вторых, повышение коэффициент усиления (Ку max) до 12 дБ;
в-третьих, повышение воспроизводимости на 20 процентов и соответственно выхода годных, в том числе благодаря повышению механической прочности;
в-четвертых, значительное упрощение и снижение трудоемкости изготовления.
Транзистор СВЧ с управляющим электродом T-образной конфигурации субмикронной длины, изготовленный согласно заявленному способу, найдет широкое применение в качестве активного элемента в гибридных, гибридно-монолитных и монолитных интегральных схемах усилителей мощности различного назначения.
Источники информации
1. Патент РФ 2192069 МПК H01L 21/338, приоритет 2000.07.10, опубл. 2002.10.27.
2. Патент РФ 2285976 МПК H01L 21/335, приоритет 06.05.2005, опубл.
3. Jong- Won Lim and gr. Fabrication and characteristics of 0,12 m AlGaAs/InGaAs/GaAs. pseudomorphic HEMT using a silicon nitride assisted process. Semicond. Sci. Technol. 19 (2004) 1416-1421 – прототип.

Формула изобретения
1. Способ изготовления транзистора СВЧ с управляющим электродом Т-образной конфигурации субмикронной длины, включающий формирование на лицевой стороне полуизолирующей полупроводниковой пластины с активным слоем заданной структуры пары электродов транзистора, образующих омические контакты, посредством метода литографии, травления и последующего напыления металла или системы металлов, формирование канала транзистора посредством электронной литографии и травления, нанесение маскирующего диэлектрического слоя, формирование в маскирующем диэлектрическом слое субмикронной щели посредством электронной литографии и травления, при этом субмикронную щель формируют с переменным поперечным сечением, уменьшающимся по ее высоте от широкой верхней части, примыкающей к шляпке упомянутого управляющего электрода, к узкой нижней части, примыкающей к каналу транзистора, формирование топологии упомянутого управляющего электрода методом электронной литографии, формирование в субмикронной щели упомянутого управляющего электрода посредством напыления металла или системы металлов, при этом конфигурация его основания повторяет конфигурацию субмикронной щели, отличающийся тем, что при формировании в маскирующем диэлектрическом слое субмикронной щели с переменным поперечным сечением, уменьшающимся по ее высоте, посредством электронной литографии и травления травление маскирующего диэлектрического слоя осуществляют в одном едином технологическом процессе в высокочастотной плазме следующего состава – гексафторид серы, кислород, гелий при следующем соотношении компонентов, об.ч.:
| Гексафторид серы |
12,0-18,0 |
| Кислород |
1,6-2,4 |
| Гелий |
12,0-18,0 |
и мощности разряда 8-10 Вт, при этом поперечное сечение широкой верхней части, примыкающей к шляпке упомянутого управляющего электрода, и узкой нижней части, примыкающей к каналу транзистора, определяют из выражения: LB-LH=к2Н, где LB – поперечное сечение широкой верхней части субмикронной щели, примыкающей к шляпке упомянутого управляющего электрода транзистора; LH – поперечное сечение узкой нижней части субмикронной щели, примыкающей к каналу транзистора; к – коэффициент, равный (0,8-1,2); Н – высота субмикронной щели.
2. Способ изготовления транзистора СВЧ с управляющим электродом Т-образной конфигурации субмикронной длины по п.1, отличающийся тем, что изготавливают, например, полевой транзистор с затвором типа барьера Шотки Т-образной конфигурации субмикронной длины, при этом в качестве полуизолирующей полупроводниковой пластины берут пластину, выполненную из полупроводникового материала группы АIIIBV, например арсенида галлия, управляющим электродом служит упомянутый затвор полевого транзистора.
РИСУНКИ
|