|
|
(21), (22) Заявка: 2009104517/09, 10.02.2009
(24) Дата начала отсчета срока действия патента:
10.02.2009
(46) Опубликовано: 27.05.2010
(56) Список документов, цитированных в отчете о поиске:
RU 2194330 С1, 10.12.1992. SU 930428 A1, 23.06.1982. SU 16587771 A1, 15.06.1992. US 7012488 B1, 14.03.2006. FR 2266294 A, 24.10.1975.
Адрес для переписки:
141190, Московская обл., г. Фрязино, ул. Вокзальная, 2А, ФГУП “Научно-производственное предприятие “Исток”
|
(72) Автор(ы):
Королев Александр Николаевич (RU), Лямзин Вадим Михайлович (RU), Мамонтов Алексей Викторович (RU), Симонов Карл Георгиевич (RU)
(73) Патентообладатель(и):
Федеральное государственное унитарное предприятие “Научно-производственное предприятие “Исток” (ФГУП “НПП “Исток”) (RU)
|
(54) СВЧ-ПРИБОР КЛИСТРОННОГО ТИПА (ВАРИАНТЫ)
(57) Реферат:
Изобретение относится к радиоэлектронике, в частности к электровакуумным СВЧ-приборам, предназначенным для получения СВЧ-мощности на двух кратных частотах, и может быть использовано, например, в радиолокации, радиопротиводействии и в других областях техники. Предлагается СВЧ-прибор клистронного типа, в котором коаксиальный двухзазорный выходной резонатор (ВР) настроен на противофазный вид колебаний с рабочей частотой и на синфазный вид колебаний с рабочей частотой 2 . Вывод СВЧ-энергии связан с ВР с помощью двух петель связи, расположенных относительно друг друга под заданным углом. В другом варианте изобретения вывод СВЧ-энергии связан с ВР с помощью одной петли связи, плоскость которой расположена под заданным углом относительно торцевой плоскости пролетной трубы ВР, и дополнительного проводника, соединенного с держателем центральной пролетной трубы ВР. Изобретение позволяет при подаче на СВЧ-прибор входного СВЧ-сигнала с частотой получать на его выходе СВЧ-колебания на двух кратных частотах и 2 одновременно, что расширяет функциональные возможности СВЧ-прибора. При этом величина СВЧ-мощности на выходе СВЧ-прибора на частотах и 2 существенно превышает величину СВЧ-мощности, поданной на вход СВЧ-прибора. 2 н. и 3 з.п. ф-лы, 10 ил.
Изобретение относится к радиоэлектронике, в частности к электровакуумным СВЧ-приборам, предназначенным для получения СВЧ-мощности на двух кратных частотах, и может быть использовано, например, в радиолокации, радиопротиводействии и в других областях техники.
Известно, что в электровакуумных СВЧ-приборах О-типа, например в усилительных клистронах при группировке электронного потока, создаются сгустки электронного тока с частотой повторения, равной частоте со входного СВЧ-сигнала, подаваемого на СВЧ-прибор, и длительностью около 0,1 периода повторения, причем сгустки электронного тока содержат широкий спектр гармоник тока. Сгруппированные электронные сгустки, выйдя из группирователя электронных сгустков клистрона, попадают в высокодобротный выходной резонатор, настроенный на рабочую частоту . В выходном резонаторе происходит отбор энергии от сгруппированного электронного потока, которая в виде выходного СВЧ-сигнала частоты передается через вывод СВЧ-энергии в нагрузку. Таким образом, на выходе обычного клистрона получают усиленную СВЧ-мощность на одной рабочей частоте .
Известен СВЧ-прибор клистронного типа, содержащий электронную пушку, входной, промежуточные и выходной однозазорные резонаторы, настроенные на рабочую частоту , и, по крайней мере, один дополнительный двухзазорный резонатор, расположенный в трубе дрейфа между резонаторами рабочей частоты, а также коллектор, ввод и вывод СВЧ-энергии [1]. В дополнительном двухзазорном резонаторе (который входит в состав группирователя электронных сгустков СВЧ-прибора) взаимодействие электронного потока с СВЧ-полями резонатора осуществляется последовательно в двух высокочастотных (ВЧ) зазорах, что повышает эффективность взаимодействия СВЧ-поля с электронным пучком по сравнению с однозазорным резонатором. Дополнительный двухзазорный резонатор настроен на кратные частоты и 2 , соответствующие противофазному и синфазному видам колебаний. Вследствие этого на электронный поток в двухзазорном резонаторе воздействует СВЧ-напряжение, близкое к пилообразному, что приводит к более эффективной группировке электронного потока. В таком двухзазорном резонаторе рабочим видом колебаний является противофазный вид колебаний на рабочей частоте , а синфазный вид колебаний на частоте 2 используется только для более эффективной группировки электронного потока. В выходном однозазорном резонаторе, настроенном на рабочую частоту , происходит отбор энергии от эффективно сгруппированного электронного потока, которая через вывод СВЧ-энергии передается в нагрузку. Таким образом, в известном СВЧ-приборе усиленная мощность передается в нагрузку только на рабочей частоте , что ограничивает область его применения. Для получения СВЧ-мощности двух кратных частот и 2 необходимо использовать два СВЧ-прибора клистронного типа, один из которых работает на частоте , а второй – на частоте, равной 2 . Кроме того, при использовании в аппаратуре двух СВЧ-приборов с разными рабочими частотами необходимо вводить в аппаратуру дополнительные устройства для фазировки выходных сигналов этих СВЧ-приборов.
Известен умножительный клистрон, содержащий электронную пушку, резонаторы с пролетными трубами, коллектор, а также устройство для ввода СВЧ-энергии и устройство для вывода СВЧ-энергии [21. В таком клистроне сгруппированные электронные сгустки, выйдя из группирующего резонатора, настроенного на частоту , попадают в выходной резонатор, настроенный на частоту n (где n=2, 3, ). В выходном резонаторе происходит отбор энергии от сгруппированного электронного потока, которая в виде выходного СВЧ-сигнала частоты n передается через вывод СВЧ-энергии в нагрузку. Таким образом, на выходе умножительного клистрона получают СВЧ-мощность только на одной из частот, кратных .
Известен СВЧ-прибор клистронного типа, содержащий электронную пушку, цилиндрические резонаторы с пролетными трубами, коллектор, а также устройство для ввода СВЧ-энергии и устройство для вывода СВЧ-энергии [3]. Входной и промежуточные резонаторы рабочей частоты , образующие группирователь электронных сгустков СВЧ-прибора, выполнены однозазорными, а выходной резонатор выполнен двухзазорным. Двухзазорный выходной резонатор содержит расположенные соосно друг другу центральную пролетную трубу, прикрепленную к боковой стенке резонатора с помощью расположенной между его торцевыми стенками проводящей перегородки, в которой выполнена щель связи, и две крайние пролетные трубы, закрепленные в противоположных торцевых стенках цилиндрического двухзазорного выходного резонатора и отделенные от центральной пролетной трубы высокочастотными зазорами.
Устройство для вывода СВЧ-энергии содержит последовательно соединенные пассивный резонатор (в виде отрезка прямоугольного волновода) и выходной волновод, связанные друг с другом через окно связи в их общей стенке. Пассивный резонатор связан также с двухзазорным выходным резонатором СВЧ-прибора через окно связи в боковой стенке цилиндрического двухзазорного выходного резонатора, расположенное между проводящей перегородкой и торцевой стенкой этого резонатора, размещенной со стороны коллектора СВЧ-прибора. Использование в СВЧ-приборе пассивного резонатора, связанного с двухзазорным выходным резонатором, позволяет дополнительно расширить полосу СВЧ-прибора. Двухзазорный выходной резонатор СВЧ-прибора настроен на два основных вида колебаний (противофазный и синфазный) с близкими частотами. При подаче на вход СВЧ-прибора входного СВЧ-сигнала с частотой в двухзазорном выходном резонаторе СВЧ-прибора возбуждаются СВЧ-колебания на частоте входного СВЧ-сигнала, при этом усиленная мощность выводится из СВЧ-прибора также только на этой рабочей частоте .
Известен СВЧ-прибор клистронного типа (прототип), содержащий электронную пушку, последовательно и соосно расположенные вдоль продольной оси СВЧ-прибора цилиндрические резонаторы с пролетными трубами, коллектор, а также ввод и вывод СВЧ-энергии, выполненные в виде отрезков коаксиальных линий передачи и установленные с внешней стороны входного и выходного резонаторов соответственно [4]. Цилиндрические входной и промежуточные резонаторы, образующие многорезонаторный группирователь электронных сгустков СВЧ-прибора, а также цилиндрический выходной резонатор выполнены двухзазорными и настроены на противофазный вид колебаний с рабочей частотой . Цилиндрический двухзазорный выходной резонатор содержит расположенные соосно продольной оси СВЧ-прибора первую и вторую пролетные трубы, прикрепленные к стенкам выходного резонатора, расположенным со стороны группирователя электронных сгустков и со стороны коллектора соответственно, и соосно установленную между первой и второй пролетными трубами и отделенную от них высокочастотными зазорами центральную пролетную трубу, закрепленную в выходном резонаторе с помощью проводящего держателя, расположенного перпендикулярно продольной оси СВЧ-прибора. Выходной резонатор связан с коаксиальной линией передачи вывода СВЧ-энергии с помощью размещенной в этом резонаторе петли связи, причем один конец петли связи соединен с центральным проводником коаксиальной линии передачи вывода СВЧ-энергии, а второй конец петли связи соединен с боковой стенкой выходного резонатора через проводящий держатель, на котором закреплена центральная пролетная труба.
При подаче на вход СВЧ-прибора входного СВЧ-сигнала с частотой в двухзазорном выходном резонаторе СВЧ-прибора возбуждаются СВЧ-колебания на частоте входного СВЧ-сигнала , при этом усиленная мощность выводится из СВЧ-прибора также только на этой рабочей частоте .
Задачей изобретения является создание СВЧ-прибора клистронного типа, обеспечивающего при подаче на вход СВЧ-прибора СВЧ-сигнала с частотой , получение на его выходе СВЧ-колебаний одновременно на двух кратных частотах и 2 .
В первом варианте изобретения предлагается СВЧ-прибор клистронного типа, содержащий электронную пушку, многорезонаторный группирователь электронных сгустков, двухзазорный выходной резонатор, коллектор, ввод СВЧ-энергии и вывод СВЧ-энергии, причем выходной резонатор содержит расположенные соосно продольной оси СВЧ-прибора первую и вторую пролетные трубы, размещенные в выходном резонаторе со стороны группирователя электронных сгустков и со стороны коллектора соответственно, и соосно установленную между первой и второй пролетными трубами и отделенную от них высокочастотными зазорами центральную пролетную трубу, закрепленную в выходном резонаторе с помощью, по крайней мере, одного проводящего держателя, расположенного перпендикулярно продольной оси СВЧ-прибора, вывод СВЧ-энергии выполнен в виде отрезка коаксиальной линии передачи, которая расположена перпендикулярно боковой стенке выходного резонатора, внешний проводник коаксиальной линии соединен с боковой стенкой выходного резонатора, а центральный проводник коаксиальной линии введен в выходной резонатор через отверстие в этой боковой стенке, при этом вывод СВЧ-энергии связан с выходным резонатором с помощью размещенной в этом резонаторе первой петли связи, один конец которой соединен с центральным проводником коаксиальной линии вывода СВЧ-энергии, а второй конец первой петли связи соединен с боковой стенкой выходного резонатора, с которой соединен внешний проводник коаксиальной линии передачи вывода СВЧ-энергии, при этом выходной резонатор настроен одновременно на противофазный вид колебаний с рабочей частотой и на синфазный вид колебаний с рабочей частотой 2 , при этом выходной резонатор выполнен в виде коаксиального резонатора, продольная ось которого расположена перпендикулярно продольной оси СВЧ-прибора, причем размещенные в выходном резонаторе, по крайней мере, один проводящий держатель и центральная пролетная труба образуют внутренний проводник коаксиального резонатора, внешний проводник коаксиального резонатора выполнен в виде проводящей трубы прямоугольного или круглого поперечного сечения, расположенной соосно внутреннему проводнику коаксиального резонатора, на противоположных концах внешнего проводника коаксиального резонатора параллельно продольной оси СВЧ-прибора расположены торцевые стенки выходного резонатора, в выходном резонаторе размещена вторая петля связи, один конец которой соединен с центральным проводником коаксиальной линии вывода СВЧ-энергии, а второй конец второй петли связи соединен с боковой стенкой выходного резонатора, при этом угол между плоскостью, в которой расположена первая петля связи, и плоскостью, в которой расположена вторая петля связи, составляет
=90±15°.
В предлагаемом СВЧ-приборе плоскость первой петли, предназначенной для отвода мощности на частоте , перпендикулярна оси СВЧ-прибора, а плоскость второй петли, предназначенной для отвода мощности на частоте 2 , параллельна оси СВЧ-прибора.
В предлагаемом СВЧ-приборе ось коаксиальной линии вывода СВЧ-энергии расположена в средней плоскости продольного сечения выходного резонатора, перпендикулярной продольной оси СВЧ-прибора, при этом расстояние от оси коаксиальной линии вывода СВЧ-энергии до ближайшей торцевой стенки выходного резонатора составляет
Z=(0,25±0,05)H,
где H – расстояние между торцевыми стенками выходного резонатора.
Во втором варианте изобретения предлагается СВЧ-прибор клистронного типа, содержащий электронную пушку, многорезонаторный группирователь электронных сгустков, двухзазорный выходной резонатор, коллектор, ввод СВЧ-энергии и вывод СВЧ-энергии, причем выходной резонатор содержит расположенные соосно продольной оси СВЧ-прибора первую и вторую пролетные трубы, размещенные в выходном резонаторе со стороны группирователя электронных сгустков и со стороны коллектора соответственно, и соосно установленную между первой и второй пролетными трубами и отделенную от них высокочастотными зазорами центральную пролетную трубу, закрепленную в выходном резонаторе с помощью, по крайней мере, одного проводящего держателя, расположенного перпендикулярно продольной оси СВЧ-прибора, вывод СВЧ-энергии выполнен в виде отрезка коаксиальной линии передачи, которая расположена перпендикулярно боковой стенке выходного резонатора, внешний проводник коаксиальной линии соединен с боковой стенкой выходного резонатора, а центральный проводник коаксиальной линии введен в выходной резонатор через отверстие в этой боковой стенке, при этом вывод СВЧ-энергии связан с выходным резонатором с помощью размещенной в этом резонаторе петли связи, один конец которой соединен с центральным проводником коаксиальной линии вывода СВЧ-энергии, а второй конец петли связи соединен с боковой стенкой выходного резонатора, с которой соединен внешний проводник коаксиальной линии передачи вывода СВЧ-энергии, при этом выходной резонатор настроен одновременно на противофазный вид колебаний с рабочей частотой и на синфазный вид колебаний с рабочей частотой 2 , при этом выходной резонатор выполнен в виде коаксиального резонатора, продольная ось которого расположена перпендикулярно продольной оси СВЧ-прибора, причем размещенные в выходном резонаторе, по крайней мере, один проводящий держатель и центральная пролетная труба образуют внутренний проводник коаксиального резонатора, внешний проводник коаксиального резонатора выполнен в виде проводящей трубы прямоугольного или круглого поперечного сечения, расположенной соосно внутреннему проводнику коаксиального резонатора, на противоположных концах внешнего проводника коаксиального резонатора параллельно продольной оси СВЧ-прибора расположены торцевые стенки выходного резонатора, в выходном резонаторе размещен дополнительный проводник, один конец которого соединен с центральным проводником коаксиальной линии вывода СВЧ-энергии, а второй конец дополнительного проводника соединен с одним из проводящих держателей, при этом угол между плоскостью, в которой расположена петля связи, и плоскостью, совпадающей с торцевой поверхностью пролетной трубы, выбирается в интервале значений 0< 90°.
В предлагаемом СВЧ-приборе ось коаксиальной линии вывода СВЧ-энергии расположена в средней плоскости продольного сечения выходного резонатора, перпендикулярной продольной оси СВЧ-прибора, равноудаленно от торцевых стенок выходного резонатора, при этом угол между плоскостью, в которой расположена петля связи, и плоскостью, совпадающей с торцевой поверхностью пролетной трубы, составляет =90°, а расстояние от места соединения дополнительного проводника с проводящим держателем до расположенной со стороны проводящего держателя торцевой стенки выходного резонатора составляет
X=(0,5±0,05)L,
где L – расстояние от продольной оси СВЧ-прибора до расположенной со стороны проводящего держателя торцевой стенки выходного резонатора.
В обоих вариантах предлагаемого изобретения двухзазорный выходной резонатор СВЧ-прибора настроен на противофазный вид колебаний с рабочей частотой и на синфазный вид колебаний с рабочей частотой 2 . Таким образом, при подаче на вход СВЧ-прибора входного сигнала с частотой в двухзазорном выходном резонаторе одновременно возникают СВЧ-колебания двух основных видов колебаний при разнесении их частот на октаву. Вследствие этого в двухзазорном выходном резонаторе происходит взаимодействие сгруппированного электронного потока с СВЧ-полями двух основных видов колебаний этого резонатора одновременно, то есть отбор мощности от электронного потока происходит одновременно на двух видах колебаний (на двух кратных частотах и 2 , а не на одной частоте , как в известных конструкциях СВЧ-приборов), что повышает эффективность отбора мощности от электронного потока. Настройка противофазного вида колебаний двухзазорного выходного резонатора на частоту , а синфазного вида колебаний – на частоту 2 позволяет создать условия для оптимального взаимодействия электронного потока с СВЧ-полями этих видов колебаний двухзазорного выходного резонатора и, следовательно, для оптимального отбора СВЧ-мощности от электронного потока на этих двух видах колебаний одновременно. При этом величина СВЧ-мощности, полученной на выходе СВЧ-прибора на частотах и 2 , существенно превышает величину СВЧ-мощности, поданной на вход СВЧ-прибора, что позволяет повысить КПД СВЧ-прибора.
Выполнение выходного резонатора в виде размещенного перпендикулярно продольной оси СВЧ-прибора коаксиального резонатора, в котором внутренний проводник коаксиального резонатора состоит из центральной пролетной трубы и, по крайней мере, одного проводящего держателя, а его внешний проводник выполнен в виде проводящей трубы прямоугольного или круглого поперечного сечения, расположенной соосно внутреннему проводнику коаксиального резонатора и снабженной на противоположных концах торцевыми стенками, позволяет осуществить точную настройку резонатора на частоту противофазного вида колебаний путем изменения длины проводящего держателя (а следовательно, и длины выходного резонатора) и настройку на частоту 2 синфазного вида колебаний путем изменения поперечных размеров этого резонатора.
В первом варианте изобретения размещение в выходном резонаторе не одной, а двух петель связи, соединенных с центральным проводником коаксиальной линии вывода СВЧ-энергии, обеспечивает вывод мощности из этого резонатора одновременно на двух кратных частотах и 2 , причем угол между плоскостями петель связи составляет 90±15°, то есть выбирается в пределах в пределах от 75° до 105°. В этом случае мощности на частотах и 2 поступают в одну и ту же коаксиальную линию вывода СВЧ-энергии без применения дополнительных устройств фазировки. При этом максимальное значение мощности, поступающей в вывод СВЧ-энергии, будет достигаться при условии, когда мощность на частоте отводится петлей, плоскость которой перпендикулярна оси СВЧ-прибора, а мощность на частоте 2 отводится петлей, плоскость которой параллельна оси СВЧ-прибора ( =90°).
Выбор угла между двумя петлями менее величины 75°, равно как и выбор угла между петлями более величины 105°, приводит к существенному увеличению мощности либо на синфазном, либо на противофазном видах колебаний и, соответственно, к существенному уменьшению мощности либо на противофазном, либо на синфазном видах колебаний соответственно, что является нежелательным, так как разница между значениями мощностей синфазного и противофазного видов колебаний возрастает и в предельном случае может привести к выводу мощности только на одной частоте или 2 .
В коаксиальном выходном резонаторе максимум магнитного поля для противофазного вида колебаний находится у торцевой стенки резонатора, а максимум магнитного поля для синфазного вида колебаний находится в плоскости среднего поперечного сечения резонатора. Поэтому для обеспечения одинаковой связи с синфазным и противофазным видами колебаний ось коаксиальной линии вывода СВЧ-энергии должна быть расположена в средней плоскости продольного сечения выходного резонатора, перпендикулярной продольной оси СВЧ-прибора, при этом расстояние от оси коаксиальной линии вывода СВЧ-энергии до ближайшей торцевой стенки выходного резонатора должно составлять Z=0,25 H (где H – расстояние между торцевыми стенками выходного резонатора), но, учитывая возможные технологические разбросы при изготовлении резонатора, Z должно составлять (0,25±0,05)H, то есть выбирается в пределах от 0,2H до 0,3H.
При перемещении центрального проводника коаксиальной линии вывода СВЧ-энергии в сторону ближайшей торцевой стенки выходного резонатора в коаксиальной линии будет увеличиваться мощность противофазного вида колебаний и уменьшаться мощность синфазного вида колебаний. При перемещении центрального проводника коаксиальной линии вывода СВЧ-энергии в противоположную сторону (в сторону удаленной торцевой стенки резонатора) будет уменьшаться мощность противофазного вида колебаний и увеличиваться мощность синфазного вида колебаний. То есть в зависимости от поставленной задачи, можно регулировать значения мощностей на частотах и 2 . Уровень выводимой из выходного резонатора мощности можно также регулировать, изменяя площадь петель связи.
Во втором варианте изобретения в выходном резонаторе размещены соединенные с центральным проводником коаксиальной линии вывода СВЧ-энергии петля связи и дополнительный проводник, соединенный вторым концом с одним из проводящих держателей, что также обеспечивает вывод мощности из этого резонатора одновременно на двух кратных частотах и 2 .
Вывод мощности из выходного резонатора в коаксиальную линию вывода СВЧ-энергии на синфазном виде колебаний, то есть на частоте 2 , осуществляется петлей. В этом случае угол между плоскостью, в которой расположена петля связи, и плоскостью, совпадающей с торцевой поверхностью пролетной трубы, выбирается в интервале значений 0< 90°, так как только при такой ориентации плоскости петли связи магнитное поле синфазного вида колебаний в выходном резонаторе всегда будет пересекать плоскость петли связи, что обеспечивает вывод СВЧ-мощности в коаксиальную линию на частоте 2 . При этом уровень выводимой из выходного резонатора мощности будет максимальным при =90° и минимальным – при , близким к 0°, поскольку при =0° магнитное поле синфазного вида колебаний не будет пересекать плоскость петли связи, и СВЧ-мощность не будет выводиться в коаксиальную линию на частоте 2 . Уровень выводимой из выходного резонатора мощности можно также регулировать, изменяя площадь петли связи.
Вывод СВЧ-мощности на противофазном виде колебаний, то есть на частоте , осуществляется через дополнительный проводник, соединяющий центральный проводник коаксиальной линии вывода СВЧ-энергии с одним из проводящих держателей выходного резонатора, так как по проводящему держателю на противофазном виде колебаний течет СВЧ-ток, часть которого отводится с помощью дополнительного проводника в коаксиальную линию вывода СВЧ-энергии (при этом на синфазном виде колебаний протекание СВЧ-тока по проводящему держателю практически отсутствует). Уровень СВЧ-мощности, отводимой на противофазном виде колебаний с помощью дополнительного проводника, определяется местом подключения дополнительного проводника к проводящему держателю. При этом уровень выводимой из выходного резонатора мощности на противофазном виде колебаний будет максимальным, когда расстояние от места соединения дополнительного проводника с проводящим держателем до расположенной со стороны проводящего держателя торцевой стенки выходного резонатора составляет X=0,5L (где L – расстояние от продольной оси СВЧ-прибора до расположенной со стороны проводящего держателя торцевой стенки выходного резонатора), но учитывая возможные технологические разбросы при изготовлении резонатора, X должно составлять (0,5±0,05)L, то есть выбирается в пределах от 0,45L до 0,55L.
Для вывода максимального уровня СВЧ-мощности одновременно на частотах и 2 , то есть на обоих видах колебаний, ось коаксиальной линии вывода СВЧ-энергии должна быть расположена в средней плоскости продольного сечения выходного резонатора, перпендикулярной продольной оси СВЧ-прибора, равноудаленно от торцевых стенок выходного резонатора, при этом угол между плоскостью, в которой расположена петля связи, и плоскостью, совпадающей с торцевой поверхностью пролетной трубы, должен составлять =90°, а расстояние (с учетом технологических разбросов) от места соединения дополнительного проводника с проводящим держателем до расположенной со стороны проводящего держателя торцевой стенки выходного резонатора должно составлять
X=(0,5±0,05)L,
где L – расстояние от продольной оси СВЧ-прибора до расположенной со стороны проводящего держателя торцевой стенки выходного резонатора.
Таким образом, оба варианта предлагаемого изобретения позволяют создать СВЧ-прибор клистронного типа, обеспечивающего при подаче на вход СВЧ-прибора СВЧ-сигнала с частотой , получение на его выходе СВЧ-колебаний одновременно на двух кратных частотах и 2 в одном общем выводе СВЧ-энергии, что невозможно реализовать ни на одном из известных СВЧ-приборах клистронного типа. При этом, в зависимости от поставленных задач, можно регулировать соотношение выходных мощностей на частотах и 2 , изменяя конфигурацию и/или размеры элементов связи (петель связи в первом и втором вариантах изобретения) или место подключения элемента связи (дополнительного проводника втором варианте изобретения). В предлагаемом СВЧ-приборе не требуется применение дополнительных устройств для фазировки выходных СВЧ-колебаний на частотах и 2 , так как в предлагаемом СВЧ-приборе осуществляется автоматическая фазировка этих СВЧ-колебаний.
Это позволяет расширить функциональные возможности СВЧ-прибора клистронного типа (как низкого, так и высокого уровня мощности) и обеспечить использование такого прибора во многих областях техники.
Изобретение поясняется чертежами.
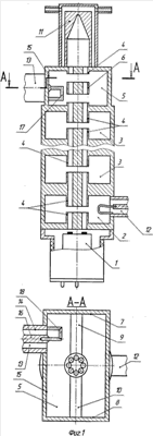
На фиг.1 показан предлагаемый СВЧ-прибор клистронного типа (продольное и поперечное сечения), содержащий двухзазорный выходной резонатор с двумя петлями связи (первый вариант изобретения).
На фиг.2 показан двухзазорный выходной резонатор с двумя петлями связи (вид со стороны вывода СВЧ-энергии, продольное и поперечное сечения) для предлагаемого СВЧ-прибора клистронного типа по первому варианту изобретения, который изображен на фиг.1.
На фиг.3 показана аксонометрическая проекция двухзазорного коаксиального выходного резонатора с двумя петлями связи, изображенного на фиг.2.
На фиг.4 показана аксонометрическая проекция двухзазорного коаксиального выходного резонатора с двумя петлями связи, внешний проводник которого выполнен в виде проводящей трубы круглого поперечного сечения.
На фиг.5 показан предлагаемый СВЧ-прибор клистронного типа (продольное и поперечное сечения), содержащий двухзазорный выходной резонатор с одной петлей связи и одним дополнительным проводником (второй вариант изобретения).
На фиг.6 показан двухзазорный выходной резонатор с одной петлей связи и одним дополнительным проводником (вид со стороны вывода СВЧ-энергии, продольное и поперечное сечения) для предлагаемого СВЧ-прибора клистронного типа по второму варианту изобретения, который изображен на фиг.5.
На фиг.7 показана аксонометрическая проекция двухзазорного коаксиального выходного резонатора с одной петлей связи и одним дополнительным проводником, изображенного на фиг.6.
На фиг.8 показана аксонометрическая проекция двухзазорного коаксиального выходного резонатора с одной петлей связи и одним дополнительным проводником, внешний проводник которого выполнен в виде проводящей трубы круглого поперечного сечения.
На фиг.9 приведены временные диаграммы распределения СВЧ-напряжений U1 и U2 соответственно в первом и втором ВЧ зазорах двухзазорного выходного резонатора для противофазного вида колебаний с частотой и для синфазного вида колебаний с частотой 2 .
На фиг.10 приведены временные диаграммы распределения СВЧ-напряжений U1 и U2 соответственно в первом и втором ВЧ зазорах двухзазорного выходного резонатора для противофазного вида колебаний с частотой 2 и для синфазного вида колебаний с частотой .
Предлагаемый СВЧ-прибор клистронного типа по первому варианту изобретения, одна из возможных конструкций которого показана на фиг.1, содержит электронную пушку 1, входной резонатор 2, промежуточные резонаторы 3 (образующие в совокупности с резонатором 2 группирователь электронных сгустков) с пролетными трубами 4 и двухзазорный коаксиальный выходной резонатор 5 с двумя боковыми пролетными трубами 4 и центральной полетной трубой 6, прикрепленной к торцевым стенкам 7, 8 резонатора 5 с помощью держателей 9, 10. СВЧ-прибор содержит также коллектор 11, а также установленный с внешней стороны входного резонатора 2 ввод СВЧ-энергии в виде отрезка коаксиальной линии передачи 12 и установленный с внешней стороны выходного резонатора 5 вывод СВЧ-энергии в виде отрезка коаксиальной линии передачи 13. Внешний проводник 14 коаксиальной линии передачи 13 соединен с боковой стенкой 15 выходного резонатора 5, а центральный проводник 16 коаксиальной линии 13 введен в выходной резонатор 5 через отверстие в его боковой стенке 15. Вывод СВЧ-энергии связан с выходным резонатором 5 с помощью размещенных в выходном резонаторе 5 первой 17 и второй 18 петель связи, первые концы которых соединены с центральным проводником 16 коаксиальной лини 13 вывода СВЧ-энергии, а вторые концы петель связи 17, 18 соединены с боковой стенкой 15 выходного резонатора 5. При этом первая 17 и вторая 18 петли связи размещены в разных плоскостях, расположенных друг относительно друга под углом , равным 90°.
Конструкция двухзазорного коаксиального выходного резонатора 5 для СВЧ-прибора, изображенного на фиг.1, показана на фиг.2. Плоскость второй петли связи 18, предназначенной для отвода мощности на частоте , перпендикулярна продольной оси СВЧ-прибора, а плоскость первой петли связи 17, предназначенной для отвода мощности на частоте 2 , параллельна продольной оси СВЧ-прибора. Коаксиальная линия 13 вывода СВЧ-энергии установлена перпендикулярно боковой стенке 15 выходного резонатора 5, при этом расстояние Z от оси центрального проводника 16 коаксиальной линии 13 вывода СВЧ-энергии до ближайшей торцевой стенки 7 выходного резонатора 4 составляет Z=0,25 Н, где H – расстояние между торцевыми стенками 7, 8 выходного резонатора 5. При таком расположении петель связи 17, 18 в выходном резонаторе 5 достигаются одинаковые значения мощностей на частотах и 2 , которые из выходного резонатора 5 поступают в коаксиальную линию 13 вывода СВЧ-энергии. Аксонометрическая проекция двухзазорного коаксиального выходного резонатора 5, изображенного на фиг.2, показана на фиг.3.
На фиг.1, фиг.2 и фиг.3 показан двухзазорный коаксиальный выходной резонатор 5, внешний проводник которого выполнен в виде проводящей трубы прямоугольного сечения. Возможен также вариант конструкции двухзазорного коаксиального выходного резонатора 5, внешний проводник которого выполнен в виде проводящей трубы круглого поперечного сечения. Аксонометрическая проекция такого двухзазорного коаксиального выходного резонатора 5 показана на фиг.4.
Предлагаемый СВЧ-прибор клистронного типа по второму варианту изобретения, одна из возможных конструкций которого показана на фиг.5, также содержит двухзазорный коаксиальный выходной резонатор 5 с двумя боковыми пролетными трубами 4 и центральной полетной трубой 6, прикрепленной к торцевым стенкам 7, 8 резонатора 5 с помощью держателей 9, 10. Вывод СВЧ-энергии в виде отрезка коаксиальной линии передачи 13, внешний проводник 14 которой соединен с боковой стенкой 15 выходного резонатора 5, а центральный проводник 16 коаксиальной линии 13 введен в выходной резонатор 5 через отверстие в его боковой стенке 15. Вывод СВЧ-энергии связан с выходным резонатором 5 с помощью размещенных в выходном резонаторе 5 петли связи 17 и дополнительного проводника 19, первые концы которых соединены с центральным проводником 16 коаксиальной линии 13 вывода СВЧ-энергии. Второй конец петли связи 17 соединен с боковой стенкой 15 выходного резонатора 5, а второй конец дополнительного проводника соединен с проводящим держателем 9.
Конструкция двухзазорного коаксиального выходного резонатора 5 для СВЧ-прибора, изображенного на фиг.5, показана на фиг.6. Плоскость петли связи 17, предназначенной для отвода мощности на частоте 2 , параллельна продольной оси СВЧ-прибора и перпендикулярна ( =90°) торцевым поверхностям пролетных труб 4 и 6. Коаксиальная линия 13 вывода СВЧ-энергии установлена перпендикулярно боковой стенке 15 выходного резонатора 5, при этом ось коаксиальной линии 13 расположена в средней плоскости продольного сечения выходного резонатора 5, перпендикулярной продольной оси СВЧ-прибора, равноудаленно от торцевых стенок 7, 8 выходного резонатора 5, при этом расстояние от места соединения дополнительного проводника 19 с проводящим держателем 9 до торцевой стенки 7 выходного резонатора 5 составляет X=0,5 L, где L – расстояние от продольной оси СВЧ-прибора до расположенной со стороны проводящего держателя торцевой стенки 7 выходного резонатора 5.
При таком расположении петли связи 17 и дополнительного проводника 19 в выходном резонаторе 5 достигается максимальное значение мощности, поступающей в коаксиальную линию 13 вывода СВЧ-энергии из выходного резонатора 5. Аксонометрическая проекция двухзазорного коаксиального выходного резонатора 5, изображенного на фиг.6, показана на фиг.7.
На фиг.5, фиг.6 и фиг.7 показан двухзазорный коаксиальный выходной резонатор 5, внешний проводник которого выполнен в виде проводящей трубы прямоугольного сечения. Возможен также вариант конструкции двухзазорного коаксиального выходного резонатора 5, внешний проводник которого выполнен в виде проводящей трубы круглого поперечного сечения. Аксонометрическая проекция такого двухзазорного коаксиального выходного резонатора 5 показана на фиг.8.
Предлагаемый СВЧ-прибор клистронного типа по первому варианту изобретения, конструкция которого показана на фиг.1, работает следующим образом.
Электронный поток, сформированный электронной пушкой 1, проходя входной резонатор 2 СВЧ-прибора, модулируется по скорости с частотой входного СВЧ-сигнала , подаваемого на коаксиальную линию передачи 12 ввода СВЧ-энергии, в результате чего осуществляется группировка электронного потока по плотности. При прохождении электронного потока через последующие резонаторы 3 группирователя электронных сгустков происходит дальнейшая группировка электронов, в результате чего образуются сильно сгруппированные электронные сгустки с частотой повторения . Далее электронные сгустки поступают в двухзазорный выходной резонатор 5. В первом ВЧ зазоре двухзазорного выходного резонатора 5 каждый электронный сгусток попадает в тормозящее электрическое СВЧ-поле, то есть в отрицательные фазы СВЧ-напряжения, противофазного и синфазного видов колебаний. Подбором параметров двухзазорного выходного резонатора 5 обеспечивают настройку его противофазного вида колебаний на частоту , а синфазного вида колебаний – на частоту 2 . При этом расстояние между первым и вторым ВЧ зазорами двухзазорного выходного резонатора 4 выбирают таким образом, чтобы каждый электронный сгусток во втором ВЧ зазоре резонатора попал в тормозящее электрическое СВЧ-поле противофазного вида колебаний. При указанной настройке двухзазорного выходного резонатора каждый электронный сгусток во втором ВЧ зазоре автоматически попадает в тормозящее электрическое СВЧ-поле синфазного вида колебаний. Таким образом, в первом и втором ВЧ зазорах двухзазорного выходного резонатора электронные сгустки всегда попадают в тормозящую фазу электрических СВЧ-полей противофазного и синфазного видов колебаний, что приводит к эффективному отбору энергии от электронного потока СВЧ-полями противофазного и синфазного видов колебаний одновременно.
Эти результаты поясняются диаграммами, приведенными на фиг.9, на которых показано распределение в двухзазорном выходном резонаторе СВЧ-напряжений противофазного вида колебаний Uпр.ф.1 и Uпр.ф.2 с частотой и синфазного вида колебаний Uс.ф.1 и Uс.ф.2 с частотой 2 соответственно в первом и втором ВЧ зазорах в зависимости от времени t, а также показано положение электронного сгустка 20. Из указанных временных диаграмм видно, что в обоих ВЧ зазорах электронные сгустки всегда попадают в тормозящую фазу электрического СВЧ-поля.
При обратной настройке, когда противофазный вид колебаний двухзазорного выходного резонатора настроен на частоту 2 , а синфазный вид колебаний – на частоту , каждый электронный сгусток 20 попадает в тормозящее электрическое СВЧ-поле синфазного вида колебание в первом и во втором ВЧ зазорах двухзазорного выходного резонатора 5, то есть электронный сгусток отдает энергию СВЧ-полю в этих ВЧ зазорах. Для противофазного вида колебаний двухзазорного выходного резонатора электронный сгусток в первом ВЧ зазоре резонатора попадает в тормозящее электрическое СВЧ-поле, то есть также отдает энергию СВЧ-полю этого ВЧ зазора. При этом во втором ВЧ зазоре электронный сгусток попадает в ускоряющее электрическое СВЧ-поле, то есть отбирает энергию от СВЧ-поля резонатора, что снижает эффективность работы СВЧ-прибора. Эти результаты поясняются приведенными на фиг.10 временными диаграммами распределения в двухзазорном выходном резонаторе 5 СВЧ-напряжений противофазного вида колебаний Uпр.ф.1 и Uпр.ф.2 с частотой 2 и синфазного вида колебаний Uс.ф.1 и Uс.ф.2 с частотой соответственно в первом и втором ВЧ зазорах.
Таким образом (как видно из фиг.9 и фиг.10), эффективный отбор энергии от электронного сгустка происходит только тогда, когда противофазный вид колебаний двухзазорного выходного резонатора настроен на частоту (частоту повторения электронных сгустков), а синфазный вид колебаний настроен на частоту 2 .
Из двухзазорного выходного резонатора 5 СВЧ-энергия поступает в коаксиальную линию передачи 13 вывода СВЧ-энергии, а затем в нагрузку. При этом к коаксиальной линии передачи 13 подсоединены две петли связи 17 и 18, обеспечивающие связь этой линии 13 с двухзазорным выходным резонатором 5. Заданное расположение петель связи 17 и 18 в выходном резонаторе 5 и их взаимная ориентация обеспечивают вывод СВЧ-мощности из выходного резонатора 5 на синфазном (посредством петли связи 17) и противофазном (посредством петли связи 18) видах колебаний одновременно.
Предлагаемый СВЧ-прибор клистронного типа по второму варианту изобретения, конструкция которого показана на фиг.5, работает аналогичным образом. В этом варианте изобретения к коаксиальной линии передачи 13 вывода СВЧ-энергии подсоединены петля связи 17 и дополнительный проводник 19. При этом петля связи 17 обеспечивает вывод СВЧ-мощности из выходного резонатора 5 на синфазном виде колебаний с частотой 2 , а дополнительный проводник 19 обеспечивает вывод СВЧ-мощности на противофазном виде колебаний с частотой .
Таким образом, предлагаемый СВЧ-прибор клистронного типа (по первому и второму вариантам изобретения) позволяет при подаче на его вход СВЧ-сигнала с частотой получать на выходе СВЧ-колебания на двух кратных частотах и 2 одновременно, что расширяет функциональные возможности СВЧ-прибора. При этом величина СВЧ-мощности, полученной на выходе СВЧ-прибора на частотах и 2 , существенно превышает величину СВЧ-мощности, поданной на вход СВЧ-прибора, что позволяет повысить КПД СВЧ-прибора.
Источники информации
1. Авторское свидетельство СССР 1658771, МПК: H01J 25/10, публ. 15.06.1992 г.
2. Лебедев И.В. Техника и приборы СВЧ. Том 2. М.: Высшая школа, 1972, с.152-152.
3. Патент США 4284922, МПК: H01J 25/10, публ. 18.08.1981 г.
4. Патент РФ 2194330, МПК: H01J 25/10, публ. 10.12.1992 г.
Формула изобретения
1. СВЧ-прибор клистронного типа, содержащий электронную пушку, многорезонаторный группирователь электронных сгустков, двухзазорный выходной резонатор, коллектор, ввод СВЧ-энергии и вывод СВЧ-энергии, причем выходной резонатор содержит расположенные соосно продольной оси СВЧ-прибора первую и вторую пролетные трубы, размещенные в выходном резонаторе со стороны группирователя электронных сгустков и со стороны коллектора соответственно, и соосно установленную между первой и второй пролетными трубами и отделенную от них высокочастотными зазорами центральную пролетную трубу, закрепленную в выходном резонаторе с помощью, по крайней мере, одного проводящего держателя, расположенного перпендикулярно продольной оси СВЧ-прибора, вывод СВЧ-энергии выполнен в виде отрезка коаксиальной линии передачи, которая расположена перпендикулярно боковой стенке выходного резонатора, внешний проводник коаксиальной линии соединен с боковой стенкой выходного резонатора, а центральный проводник коаксиальной линии введен в выходной резонатор через отверстие в этой боковой стенке, при этом вывод СВЧ-энергии связан с выходным резонатором с помощью размещенной в этом резонаторе первой петли связи, один конец которой соединен с центральным проводником коаксиальной линии вывода СВЧ-энергии, а второй конец первой петли связи соединен с боковой стенкой выходного резонатора, с которой соединен внешний проводник коаксиальной линии передачи вывода СВЧ-энергии, отличающийся тем, что выходной резонатор настроен одновременно на противофазный вид колебаний с рабочей частотой и на синфазный вид колебаний с рабочей частотой 2 , при этом выходной резонатор выполнен в виде коаксиального резонатора, продольная ось которого расположена перпендикулярно продольной оси СВЧ-прибора, причем размещенные в выходном резонаторе, по крайней мере, один проводящий держатель и центральная пролетная труба образуют внутренний проводник коаксиального резонатора, внешний проводник коаксиального резонатора выполнен в виде проводящей трубы прямоугольного или круглого поперечного сечения, расположенной соосно внутреннему проводнику коаксиального резонатора, на противоположных концах внешнего проводника коаксиального резонатора параллельно продольной оси СВЧ-прибора расположены торцевые стенки выходного резонатора, в выходном резонаторе размещена вторая петля связи, один конец которой соединен с центральным проводником коаксиальной линии вывода СВЧ-энергии, а второй конец второй петли связи соединен с боковой стенкой выходного резонатора, при этом угол между плоскостью, в которой расположена первая петля связи, и плоскостью, в которой расположена вторая петля связи, составляет =90°±15°.
2. СВЧ-прибор по п.1, отличающийся тем, что плоскость первой петли связи, предназначенной для отвода мощности на частоте , перпендикулярна продольной оси СВЧ-прибора, а плоскость второй петли связи, предназначенной для отвода мощности на частоте 2 , параллельна продольной оси СВЧ-прибора.
3. СВЧ-прибор по п.1, отличающийся тем, что ось коаксиальной линии вывода СВЧ-энергии расположена в средней плоскости продольного сечения выходного резонатора, перпендикулярной продольной оси СВЧ-прибора, при этом расстояние от оси коаксиальной линии вывода СВЧ-энергии до ближайшей торцевой стенки выходного резонатора составляет Z=(0,25±0,05)H, где Н – расстояние между торцевыми стенками выходного резонатора.
4. СВЧ-прибор клистронного типа, содержащий электронную пушку, многорезонаторный группирователь электронных сгустков, двухзазорный выходной резонатор, коллектор, ввод СВЧ-энергии и вывод СВЧ-энергии, причем выходной резонатор содержит расположенные соосно продольной оси СВЧ-прибора первую и вторую пролетные трубы, размещенные в выходном резонаторе со стороны группирователя электронных сгустков и со стороны коллектора соответственно, и соосно установленную между первой и второй пролетными трубами и отделенную от них высокочастотными зазорами центральную пролетную трубу, закрепленную в выходном резонаторе с помощью, по крайней мере, одного проводящего держателя, расположенного перпендикулярно продольной оси СВЧ-прибора, вывод СВЧ-энергии выполнен в виде отрезка коаксиальной линии передачи, которая расположена перпендикулярно боковой стенке выходного резонатора, внешний проводник коаксиальной линии соединен с боковой стенкой выходного резонатора, а центральный проводник коаксиальной линии введен в выходной резонатор через отверстие в этой боковой стенке, при этом вывод СВЧ-энергии связан с выходным резонатором с помощью размещенной в этом резонаторе петли связи, один конец которой соединен с центральным проводником коаксиальной линии вывода СВЧ-энергии, а второй конец петли связи соединен с боковой стенкой выходного резонатора, с которой соединен внешний проводник коаксиальной линии передачи вывода СВЧ-энергии, отличающийся тем, что выходной резонатор настроен одновременно на противофазный вид колебаний с рабочей частотой и на синфазный вид колебаний с рабочей частотой 2 , при этом выходной резонатор выполнен в виде коаксиального резонатора, продольная ось которого расположена перпендикулярно продольной оси СВЧ-прибора, причем размещенные в выходном резонаторе, по крайней мере, один проводящий держатель и центральная пролетная труба образуют внутренний проводник коаксиального резонатора, внешний проводник коаксиального резонатора выполнен в виде проводящей трубы прямоугольного или круглого поперечного сечения, расположенной соосно внутреннему проводнику коаксиального резонатора, на противоположных концах внешнего проводника коаксиального резонатора параллельно продольной оси СВЧ-прибора расположены торцевые стенки выходного резонатора, в выходном резонаторе размещен дополнительный проводник, один конец которого соединен с центральным проводником коаксиальной линии вывода СВЧ-энергии, а второй конец дополнительного проводника соединен с одним из проводящих держателей, при этом угол между плоскостью, в которой расположена петля связи, и плоскостью, совпадающей с торцевой поверхностью пролетной трубы, выбирается в интервале значений 0°< <90°.
5. СВЧ-прибор по п.4, отличающийся тем, что ось коаксиальной линии вывода СВЧ-энергии расположена в средней плоскости продольного сечения выходного резонатора, перпендикулярной продольной оси СВЧ-прибора, равноудаленно от торцевых стенок выходного резонатора, при этом угол между плоскостью, в которой расположена петля связи, и плоскостью, совпадающей с торцевой поверхностью пролетной трубы, составляет =90°, а расстояние от места соединения дополнительного проводника с проводящим держателем до расположенной со стороны проводящего держателя торцевой стенки выходного резонатора составляет X=(0,5±0,05)L, где L – расстояние от продольной оси СВЧ-прибора до расположенной со стороны проводящего держателя торцевой стенки выходного резонатора.
РИСУНКИ
TK4A – Поправки к публикациям сведений об изобретениях в бюллетенях “Изобретения (заявки и патенты)” и “Изобретения. Полезные модели”
Напечатано: (57) 4. …, при этом угол … выбирается в интервале значений 0°< <90°.
Следует читать: (57) 4. …, при этом угол … выбирается в интервале значений 0°< 90°.
Номер и год публикации бюллетеня: 15-2010
Код раздела: FG4A
Извещение опубликовано: 10.08.2010 БИ: 22/2010
|
|