|
|
(21), (22) Заявка: 2008113393/28, 22.09.2006
(24) Дата начала отсчета срока действия патента:
22.09.2006
(30) Конвенционный приоритет:
11.10.2005 FR 0510622
(43) Дата публикации заявки: 20.10.2009
(46) Опубликовано: 27.05.2010
(56) Список документов, цитированных в отчете о поиске:
US 4153347 A, 08.05.1979. FR 1037166 A, 15.09.1953. US 5980039 A, 09.11.1999. RU 93037421 A, 10.01.1996.
(85) Дата перевода заявки PCT на национальную фазу:
07.04.2008
(86) Заявка PCT:
FR 2006/002178 20060922
(87) Публикация PCT:
WO 2007/042633 20070419
Адрес для переписки:
129090, Москва, ул. Б.Спасская, 25, стр.3, ООО “Юридическая фирма Городисский и Партнеры”, пат.пов. С.А.Дорофееву, рег. 146
|
(72) Автор(ы):
ПАНИССЕ Клод (FR)
(73) Патентообладатель(и):
ОКСИБИС ЭКСАЛЬТО САС (FR)
|
(54) ОЧКИ СО СМЕННЫМИ ДУЖКАМИ
(57) Реферат:
Изобретение относится к офтальмологическим средствам и направлено на создание очков, в которых пользователь может самостоятельно легко произвести замену дужек, и в которых ось шарнира дужек не имеет тенденции к развинчиванию. Этот результат обеспечивается за счет того, что в очках, образованных оптической или солнечной лицевой стороной, имеющих или не имеющих оправу и содержащих две сменные дужки, каждая из которых связана с лицевой стороной или с оправой посредством штифтового замка и соответствующего шарнирного соединения, шарнирное соединение каждой из дужек образовано, по крайней мере, одной осью, перпендикулярно расположенной в соответствующей продольной прорези, выполненной на свободном конце дужки, при этом указанная ось установлена с возможностью защелкивания в эластично деформируемом вырезе, выполненном в штифтовых пластинах, выходящих из штифтового замка, форма и размер которых практически соответствуют форме и размерам прорези в дужке, и наоборот. 8 з.п. ф-лы, 10 ил.
Настоящее изобретение касается очков, имеющих оптическую или солнечную лицевую сторону, которая может содержать оправу и две сменных дужки, каждая из которых связана с лицевой стороной штифтом и шарниром.
Известно, что обычно ось шарнира дужек очков образована винтом, соединяющим между собой две части шарнирного узла, образующих шарнир.
Одна из проблем, присущих такой конструкции, состоит в том, что указанный винт, образующий ось шарнира, имеет тенденцию к развинчиванию и требует периодического завинчивания, причем развинчивание винта ведет к потере дужки.
Данная проблема становится особенно острой, когда пользователь, не прибегая к услугам специалиста, пытается самостоятельно осуществить замену дужек.
Настоящее изобретение имеет задачей устранить указанные недостатки. Для решения задачи предлагаются очки, имеющие оптическую или солнечную лицевую сторону, выполненные с оправой или без оправы и содержащие две сменных дужки, каждая из которых связана с лицевой стороной или оправой штифтовым замком и соответствующим шарниром, отличающиеся тем, что шарнир каждой из дужек образован, по меньшей мере, одной осью, расположенной перпендикулярно в соответствующей продольной прорези, выполненной на конце свободной дужки, при этом указанная ось выполнена с возможностью защелкиваться в эластично деформируемом пазу, выполненном в штифтовой пластине, выходящей из штифтового замка, по форме и размерам строго соответствующей дужке, для обеспечения скольжения штифтовой пластины штифтового замка в прорези дужки, а также поворота указанной дужки на шарнирной оси и ее удержания в стабильном положении в раскрытой позиции для обеспечения ее шарнирного поворота без винта, что делает дужки легко заменяемыми.
Такие очки позволяют получить ряд преимуществ, а именно: отсутствие винтов, что исключает развинчивание; возможность изготовления литьем под давлением пластического материала, из которого изготовлены детали шарнира без промежуточных деталей; монтаж и демонтаж дужки простым движением руки без инструмента; бесконечная взаимозаменяемость дужек в любых комбинациях цветов и форм по желанию пользователя.
Изобретение касается также характеристик, которые будут понятны из нижеследующего описания, которые могут быть рассмотрены как по отдельности, так и во всех возможных технических комбинациях.
В дальнейшем изобретение поясняется нижеследующим описанием, не являющимся ограничительным, со ссылками на сопровождающие чертежи, в числе которых:
фиг.1 изображает общий вид пар очков, образованных лицевой стороной, окруженной, по меньшей мере, частично, оправой, и две боковых дужки, которые связаны между собой шарнирным соединением, в соответствии с первым вариантом осуществления изобретения;
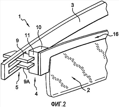
фиг.2 представляет укрупненное детальное изображение шарнирного соединения по фиг.1;
фиг.3 представляет укрупненную часть очков с отверстиями в зоне шарнира на конце лицевой части и на конце соответствующей дужки перед монтажом одной в другую;
фиг.4 изображает шарнирную зону очков по фиг.3 в положении дужки на штифтовом замке перед защелкиванием;
фиг.5 изображает шарнирную зону очков по фиг.4 после защелкивания дужки в штифтовом замке;
фиг.6 изображает шарнирное соединение по предыдущим чертежам после защелкивания дужки в ее открытом положении;
фиг.7 изображает шарнирное соединение по предыдущим чертежам после защелкивания дужки в ее закрытом положении;
фиг.8 изображает аксонометрию штифтового замка шарнирного соединения по изобретению;
фиг.9 изображает аксонометрию крайней части дужки с зоной шарнирного соединения, дополнительной к штифтовому замку по фиг.8;
фиг.10 изображает вид в аксонометрии собранного шарнирного соединения, содержащего штифтовой замок по фиг.8 и крайней части дужки по фиг.9.
Очки 1, изображенные на чертежах, имеют оптическую или солнечную лицевую сторону 2, выполнены с оправой или без оправы и содержат две заменяемых дужки 3, каждая из которых связана с лицевой стороной 2 или с оправой 16 с помощью штифтового замка 4 и соответствующего шарнира 5.
В соответствии с изобретением шарнир 5 каждой из дужек 3 образован, по меньшей мере, одной осью 6, 6А, размещенной перпендикулярно соответствующей продольной прорези 7, 7А, выполненной на свободном конце дужки 3, при этом указанная ось 6, 6А выполнена с возможностью защелкиваться в эластично деформируемом вырезе 8, 8А, выполненном в штифтовой пластине 9, выходящей из штифтового замка 4 и по форме и размерам строго соответствующей форме и размерам прорези 7 дужки 3. Таким образом, обеспечивается скольжение штифтовой пластины 9, 9А штифтового замка 4 в прорези 7, 7А дужки 3, а также поворот на шарнирной оси 6, 6А указанной дужки 3 и ее удержание в стабильном положении в раскрытой позиции для обеспечения шарнирного поворота без винта, что делает дужки легко заменяемыми.
Очевидно, что и возможна инверсия, то есть прорезь 7 может быть выполнена в штифтовом замке 4, а штифтовые пластины 9 на дужке 3.
Предпочтительно в соответствии с представленным вариантом выполнения, чтобы шарнирное соединение 5 каждой из дужек 3 было образовано двумя перпендикулярными осями 6, 6А, размещенными в одинаковом месте в двух соответствующих продольных прорезях 7, 7А, идентичных и параллельных между собой, выполненных в дужке 3, при этом указанные оси 6, 6А эластично защелкиваются в двух вырезах 8, 8А, выполненных в двух направляющих штифтовых пластинах 9, 9А, идентичных и параллельных между собой, выходящих из штифтового замка 4 и соответствующих форме и размерам обеих прорезей 7, 7А дужек 3, в которых они перемещаются.
В соответствии с настоящим вариантом выполнения, представленным в качестве примера, направляющие штифтовые пластины 9, 9А штифтового замка 4 и соответствующие прорези 7, 7А дужек 3 выполнены параллелепипедной прямоугольной формы, и их размеры, в частности, их относительные толщины «е», «е’» имеют практически одинаковые значения с допуском при изготовлении для получения тугого соединения.
Как показано на фиг.3 и 4, размер «d» между осью 6, 6А дужки 3 и задней частью прорези 7, 7А в направлении штифтового замка 4 меньше размера «d’» между вырезом 8, 8А того же замка 4 и задней частью пяты 10 упомянутого замка, при этом при подходе выреза 8 штифтового замка 4 к оси 6, 6А дужки 3 для защелкивания, пята 10 штифтового замка опирается в направлении силы F в зоне около крайней части прорези 7, 7А дужки 3, чтобы силой F обеспечить защелкивание для последующего свободного перемещения деталей между собой при использовании.
В соответствии с рассматриваемым примером выполнения направляющие штифтовые пластины 9, 9А переходят в упор 11 параллелепипедной формы, являющийся частью штифтового замка 4, при этом упор 11 имеет два отверстия, предназначенные для двух средств фиксации 14 непосредственно к оптической или солнечной лицевой части 14.
Упомянутые средства фиксации выполнены в виде заклепки или винта.
В соответствии с вариантом выполнения, представленным на фиг.1 и 2, направляющие штифтовые пластины 9, 9А установлены в штифтовом замке 4 в процессе одной операции литья под давлением пластического материала совместно с оправой 16.
Предпочтительно, чтобы прорези 7, 7А дужек 3, а также шарнирные оси 6, 6А, пересекающие их, выполнялись в процессе одной операции литья под давлением с упомянутыми дужками 3.
В соответствии с другой характеристикой изобретения вырезы 8, 8А, выполненные в направляющих штифтовых пластинах 9, 9А штифтового замка 4, образованы частью кольцевого сечения, диаметр которого строго равен шарнирной оси 6, 6А дужки 3, с которой он взаимодействует, и открытой частью, ограниченной выступами 14, 15, размещенными между собой на расстоянии, меньшем диаметра осей 6, 6А, для обеспечения удержания эластичным защелкиванием осей 6, 6А в вырезах 8, 8А.
Предпочтительно, чтобы дужки 3 и штифтовые замки 4 были выполнены из пластического материала.
Предпочтительно, в связи с хорошими полученными результатами, использовать в качестве пластических материалов гриламид из группы полиамидов.
Таким образом, в соответствии с представленным изобретением стоимость производства значительно уменьшается благодаря уменьшения коэффициента трения между элементами, а также в связи с тем, что в шарнирном соединении отсутствуют винты, обеспечивая сменяемость сломанной дужки, а также возможность изменения цвета оправы очков для обеспечения их оригинальности.
Изобретение может использоваться также в очках со стеклами 2 с отверстиями для крепления непосредственно в них штифтовых замков 4, а также в очках с оправой 16, где штифтовые замки 4 крепятся непосредственно на оправе 16 или на дужках 3.
Формула изобретения
1. Очки, имеющие оптическую или солнечную лицевую сторону (2), выполненные с оправой (16) или без оправы и содержащие две сменные дужки (3), каждая из которых связана с лицевой стороной (2) или с оправой (16) штифтовым замком (4) и соответствующим шарниром (5), отличающиеся тем, что шарнир (5) каждой из дужек (3) состоит из двух осей (6, 6А), размещенных перпендикулярно в двух соответствующих продольных прорезях (7, 7А), выполненных на одном конце свободной дужки (3), при этом указанные оси (6, 6А) установлены с возможностью защелкивания в двух эластично деформируемых вырезах (8, 8А), выполненных в двух штифтовых пластинах (9, 9А), выходящих из штифтового замка (4), форма и размер которых, по существу, соответствует форме и размерам прорезей (7, 7А) дужки (3) для обеспечения скольжения штифтовых пластин (9, 9А) штифтового замка (4) в прорезях (7, 7А) дужки (3), а также дополнительного обеспечения направления дужки (3) шарнирными осями (6, 6А) в ходе ее поворота и удерживания ее в стабильном положении в состоянии раскрытия, для получения безвинтового шарнира, облегчающего смену дужек.
2. Очки по п.1, отличающиеся тем, что две перпендикулярные оси (6, 6А), образующие шарнир (5), размещены на одной линии в двух соответствующих продольных прорезях (7, 7А), идентичных и параллельных между собой, при этом указанные оси (6, 6А) эластично заклиниваются в двух вырезах (8, 8А), выполненных в двух идентичных и параллельных между собой направляющих штифтовых пластинах (9, 9А), выходящих из штифтового замка (4), формы и размер которых, по существу, соответствуют форме и размерам двух прорезей (7, 7А) дужки (3), в которых они перемещаются.
3. Очки по п.2, отличающиеся тем, что направляющие штифтовые пластины (9, 9А) штифтового замка (4) и соответствующей прорези (7, 7А) дужек (3) выполнены прямоугольной параллелепипедной формы, размеры которых, в частности, их соответствующие толщины «е», «е » имеют практически одинаковые величины с допуском для получения скользящей посадки.
4. Очки по одному из пп.1-3, отличающиеся тем, что расстояние «d» между осью (6, 6А) дужки (3) и задней частью ее прорези (7, 7А) в направлении штифтового замка (4) является меньшим, чем расстояние «d’» между вырезом (8, 8А) того же штифтового замка (4) и задней частью пяты (10) указанного замка, при этом, когда вырез (8, 8А) штифтового замка (4) находится у оси (6, 6А) дужки (3) для их защелкивания, пята (10) штифтового замка (4) попадает на опорную поверхность (3) в задней части прорези (7, 7А) дужки (3) таким образом, чтобы воздействовать на последнюю с силой (F), необходимой для их защелкивания и последующего свободного перемещения деталей между собой при использовании.
5. Очки по одному из пп.1-3, отличающиеся тем, что штифтовые направляющие пластины (9, 9А) переходят в упор (11), по существу, параллелепипедной формы, совместно образуя штифтовой замок (4), при этом упомянутый упор (11) имеет два отверстия (12, 13) для прохода двух средств крепления для непосредственного крепления на оптической или солнечной лицевой стороне (2).
6. Очки по одному из пп.1-3, отличающиеся тем, что направляющие пластины (9, 9А) выходят из штифтового замка (4), полученного вместе с оправой (16) за одну операцию литья под давлением пластического материала.
7. Очки по одному из пп.1-3, отличающиеся тем, что прорези (7, 7А) дужек (3), а также оси шарниров (6, 6А), которые их пересекают, преимущественно выполнены за одну операцию литья под давлением указанных дужек (3).
8. Очки по одному из пп.1-3, отличающиеся тем, что вырезы (8, 8А), выполненные в направляющих штифтовых пластинах (9, 9А) штифтового замка (4), частично образованы частями кольцевого сечения, имеющими диаметр, практически равный диаметру шарнирной оси (6, 6А) дужки (3), с которым он взаимодействует, и частично образованы открытой частью, ограниченной двумя выступами (14, 15), размещенными между собой на расстоянии, меньшем диаметра осей (6, 6А), таким образом, чтобы обеспечить соединение эластичным защелкиванием осей (6, 6А) в вырезах (8, 8А).
9. Очки по одному из пп.1-3, отличающиеся тем, что дужки (3) и штифтовые замки (4) выполнены из пластического материала.
РИСУНКИ
|
|